JP6654792B2 - 防振装置 - Google Patents

防振装置 Download PDF

Info

Publication number
JP6654792B2
JP6654792B2 JP2014125196A JP2014125196A JP6654792B2 JP 6654792 B2 JP6654792 B2 JP 6654792B2 JP 2014125196 A JP2014125196 A JP 2014125196A JP 2014125196 A JP2014125196 A JP 2014125196A JP 6654792 B2 JP6654792 B2 JP 6654792B2
Authority
JP
Japan
Prior art keywords
liquid
restriction passage
vibration
flow
liquid chamber
Prior art date
Legal status (The legal status is an assumption and is not a legal conclusion. Google has not performed a legal analysis and makes no representation as to the accuracy of the status listed.)
Expired - Fee Related
Application number
JP2014125196A
Other languages
English (en)
Other versions
JP2016003726A (ja
Inventor
植木 哲
哲 植木
Current Assignee (The listed assignees may be inaccurate. Google has not performed a legal analysis and makes no representation or warranty as to the accuracy of the list.)
Bridgestone Corp
Original Assignee
Bridgestone Corp
Priority date (The priority date is an assumption and is not a legal conclusion. Google has not performed a legal analysis and makes no representation as to the accuracy of the date listed.)
Filing date
Publication date
Application filed by Bridgestone Corp filed Critical Bridgestone Corp
Priority to JP2014125196A priority Critical patent/JP6654792B2/ja
Publication of JP2016003726A publication Critical patent/JP2016003726A/ja
Application granted granted Critical
Publication of JP6654792B2 publication Critical patent/JP6654792B2/ja
Expired - Fee Related legal-status Critical Current
Anticipated expiration legal-status Critical

Links

Images

Landscapes

  • Combined Devices Of Dampers And Springs (AREA)

Description

本発明は、例えば自動車や産業機械等に適用され、エンジン等の振動発生部の振動を吸収および減衰する防振装置に関する。
従来から、この種の防振装置として、例えば下記特許文献1記載の構成が知られている。この防振装置は、振動発生部および振動受部のうちの一方に連結される筒状の第1取付け部材、および他方に連結される第2取付け部材と、これらの両取付け部材を連結する弾性体と、液体が封入される第1取付け部材内の液室を、第1液室および第2液室に仕切る仕切り部材と、を備えている。仕切り部材には、両液室を互いに連通する制限通路が形成されている。制限通路は、第1振動の入力に対して共振を生じさせる第1制限通路と、振幅が前記第1振動の振幅よりも大きい第2振動の入力に対して共振を生じさせる第2制限通路と、を備えている。仕切り部材には、プランジャ部材が設けられている。
この防振装置では、振動が入力されたときにプランジャ部材を移動させて第1制限通路を開閉することで、両液室の間で液体が流通する制限通路を切り替える。これにより、第1振動の入力時には液体が第1制限通路を流通し、第2振動の入力時には液体が第2制限通路を流通する。
特開2007−120598号公報
しかしながら、前記従来の防振装置には、構造の簡素化、製造の容易化について改善の余地がある。
本発明は、前述した事情に鑑みてなされたものであって、構造の簡素化および製造の簡便化を図ることができる防振装置を提供することを目的とする。
前記課題を解決するために、本発明は以下の手段を提案している。
本発明に係る防振装置は、振動発生部および振動受部のうちの一方に連結される筒状の第1取付け部材、および他方に連結される第2取付け部材と、これらの両取付け部材を連結する弾性体と、液体が封入される前記第1取付け部材内の液室を、第1液室および第2液室に仕切る仕切り部材と、を備え、前記第1液室および前記第2液室のうちの少なくとも一方は、前記弾性体を壁面の一部に有し、前記仕切り部材には、前記第1液室と前記第2液室とを連通する制限通路が形成され、前記制限通路として、第1振動の入力に対して共振を生じさせる第1制限通路と、振幅が前記第1振動の振幅よりも大きい第2振動の入力に対して共振を生じさせる第2制限通路と、を備え、前記第1制限通路には、前記仕切り部材に固定され、前記第1制限通路内を、前記第1液室および前記第2液室のうちの一方から他方に向かう第1側に向けて流通して整流された液体の流れを流速に応じて抑制する流体ダイオードと、前記第1制限通路を閉塞する弾性薄膜と、が設けられ、前記第2振動が入力されたときに、液体が前記第1液室と前記第2液室との間で前記第1制限通路を通して前記弾性薄膜を変形させながら流通可能であることを特徴とする。
この場合、振動が入力されると、第1取付け部材と第2取付け部材とが、弾性体を弾性変形させながら相対的に変位する。このとき液体が、第1液室と第2液室との間で、第1制限通路を通して流通しようとする。
ここで、第1振動が入力された場合、第1振動の振幅に応じ、単位時間あたりに少量の液体が第1制限通路内に流入しようとする。その結果、第1制限通路内を流通する液体の流速の上昇が抑制される。したがって、この防振装置のような、第1制限通路に流体ダイオードが設けられているような構成であっても、液体が流れの向きによらず第1制限通路内を円滑に流通する。このとき液体は、その液圧に基づいて弾性薄膜を弾性変形させ、液圧を、弾性薄膜を挟んだ反対側に位置する他の液体に伝達させて第1制限通路内を流通する。これにより、液体に、第1制限通路を積極的に流通させることが可能になり、第1制限通路内で共振を生じさせて第1振動を吸収および減衰することができる。
一方、第2振動が入力された場合、第2振動の振幅に応じ、単位時間あたりに多量の液体が第1制限通路内に流入しようとする。その結果、第1制限通路内を流通する液体の流速が高められる。すると、第1制限通路を通して第1液室と第2液室との間を往来する液体のうち、第1制限通路内を第1側に向かう液体の流れが流体ダイオードによって抑制される。その結果、第1制限通路を通して第1液室と第2液室との間を液体が往来するときに、第1側に向けて流通する液体よりも、第1側の反対側である第2側に向けて流通する液体が第1制限通路内を円滑に流通し、弾性薄膜が第2側に向けて弾性変形する。第2振動が入力され続けて液体が第1制限通路を繰り返し往来すると、弾性薄膜の第2側に向けた変形量が徐々に大きくなり、弾性薄膜が徐々に第2側に向けて変形し難くなる。したがって、例えば、液体が第1制限通路を第2側に向けて流通しようとするときに、弾性薄膜に、この弾性薄膜に対して第1側に位置する液体の液圧が作用しても、弾性薄膜が第2側に向けて変形し難くなり、弾性薄膜に対して第1側に位置する液体の液圧が第2側に位置する液体に伝達され難くなる。その結果、第1制限通路を通した液体の流通が阻害される。これにより、第1制限通路を通して液体を流通させ難くして、第2制限通路を通して液体を流通させ易くすることができる。このとき、第2制限通路内を液体が流通することで第2制限通路内で共振を生じさせ、第2振動を吸収および減衰することができる。
以上のように、前記従来技術のようなプランジャ部材を仕切り部材に設けるのに代えて、第1制限通路に流体ダイオードおよび弾性薄膜を設けることで、第1振動および第2振動の両方を吸収および減衰させることができる。これにより、防振装置の構造の簡素化および製造の簡便化を図ることができる。
前記第1制限通路には、前記弾性薄膜が、前記第1側の反対側である第2側に向けて変形したときに、前記弾性薄膜の更なる前記第2側に向けた変形を規制するストッパが設けられていてもよい。
この場合、第1制限通路にストッパが設けられているので、ストッパにより弾性薄膜の変形量を精度良く規制することができる。これにより、第2振動が入力されたときに、第1制限通路を通した液体の流通を高精度に阻害することができる。
前記弾性薄膜は、前記第1制限通路の流路軸方向に沿った縦断面視において、前記流路軸方向に凸となっていてもよい。
この場合、弾性薄膜が、前記縦断面視において、前記流路軸方向に凸となっているので、弾性薄膜を、この弾性薄膜の形状に基づいて、前記流路軸方向に容易に変形させることができる。したがって、例えば、第1振動が入力されたときに、第1制限通路を流通する液体の液圧によって弾性薄膜を確実に変形させることができる。これにより、液体に第1制限通路内を円滑に流通させることができる。
本発明によれば、構造の簡素化および製造の簡便化を図ることができる。
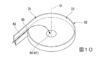
本発明の第1実施形態に係る防振装置の縦断面図である。 図1に示す防振装置を構成する仕切り部材に設けられた流体ダイオードの拡大図である。 図1に示す防振装置の模式図である。 図1に示す防振装置の模式図であって、アイドル振動が入力された場合における液体の流れを説明する図である。 図1に示す防振装置の模式図であって、シェイク振動が入力された場合における液体の流れを説明する図である。 本発明の第2実施形態に係る防振装置の模式図である。 本発明の第3実施形態に係る防振装置の模式図である。 本発明の第4実施形態に係る防振装置の縦断面図である。 図8に示すA−A断面矢視図である。 図8に示す防振装置を構成する仕切り部材に設けられた渦室の模式図であって、整流路から流入される液体の流速が低い場合における液体の流れを説明する図である。 図8に示す防振装置を構成する仕切り部材に設けられた渦室の模式図であって、整流路から流入される液体の流速が高い場合における液体の流れを説明する図である。 図8に示す防振装置を構成する仕切り部材に設けられた渦室の模式図であって、連通孔から流入される液体の流れを説明する図である。
(第1実施形態)
以下、本発明に係る防振装置の第1実施形態を、図1から図5を参照しながら説明する。
この防振装置10は、図1から図3に示すように、振動発生部および振動受部のうちのいずれか一方に連結される筒状の第1取付け部材11、および他方に連結される第2取付け部材12と、これらの両取付け部材11、12同士を互いに連結する弾性体13と、液体Lが封入される第1取付け部材11内の液室を、弾性体13を壁面の一部に有する主液室(第1液室)14、および副液室(第2液室)15に仕切る仕切り部材16と、を備えている。
図示の例では、第2取付け部材12は柱状に形成されるとともに、弾性体13は筒状に形成され、第1取付け部材11、第2取付け部材12および弾性体13は、共通軸と同軸に配設されている。以下、この共通軸を軸線(第1取付け部材の軸線、第1制限通路の流路軸)Oといい、軸線O方向に沿う主液室14側を一方側といい、副液室15側を他方側といい、軸線Oに直交する方向を径方向(第1制限通路の径方向)といい、軸線O回りに周回する方向を周方向(第1制限通路の周方向)という。
なお、この防振装置10が例えば自動車に装着される場合には、第2取付け部材12が振動発生部としてのエンジンに連結される一方、第1取付け部材11が図示しないブラケットを介して振動受部としての車体に連結され、エンジンの振動が車体に伝達するのを抑える。この防振装置10は、第1取付け部材11の前記液室に、例えばエチレングリコール、水、シリコーンオイル等の液体Lが封入された液体封入型である。
第1取付け部材11は、軸線O方向に沿って、一方側に位置する一方側外筒体21と、他方側に位置する他方側外筒体22と、を備えている。
一方側外筒体21における一方側の端部には、前記弾性体13が液密状態で連結されていて、この弾性体13により一方側外筒体21の一方側の開口部が閉塞されている。一方側外筒体21のうち、他方側の端部21aは、他の部分より大径に形成されている。そして、一方側外筒体21の内部が前記主液室14となっている。主液室14の液圧は、振動の入力時に、弾性体13が変形してこの主液室14の内容積が変化することで変動する。なお一方側外筒体21において、弾性体13が連結された部分に対して他方側から連なる部分には、全周にわたって連続して延びる環状溝21bが形成されている。
他方側外筒体22における他方側の端部には、ダイヤフラム17が液密状態で連結されていて、このダイヤフラム17により他方側外筒体22における他方側の開口部が閉塞されている。他方側外筒体22のうち、一方側の端部22aは、他の部分より大径に形成されていて、前記一方側外筒体21における他方側の端部21a内に嵌合されている。また他方側外筒体22内には、仕切り部材16が嵌合されていて、他方側外筒体22の内部のうち、仕切り部材16とダイヤフラム17との間に位置する部分が、前記副液室15となっている。副液室15は、ダイヤフラム17を壁面の一部としており、ダイヤフラム17が変形することにより拡縮する。なお他方側外筒体22は、ダイヤフラム17と一体に形成されたゴム膜によって、ほぼ全域にわたって被覆されている。
第2取付け部材12における一方側の端面には、軸線Oと同軸に雌ねじ部12aが形成されている。第2取付け部材12は、第1取付け部材11から一方側に突出している。第2取付け部材12には、径方向の外側に向けて突出し、かつ全周にわたって連続して延びるフランジ部12bが形成されている。フランジ部12bは、第1取付け部材11における一方側の端縁から一方側に離れている。
弾性体13は、弾性変形可能な例えばゴム材料等で形成され、一方側から他方側に向かうに従い漸次拡径された筒状に形成されている。弾性体13のうち、一方側の端部が、第2取付け部材12に連結され、他方側の端部が、第1取付け部材11に連結されている。なお、第1取付け部材11の一方側外筒体21の内周面は、弾性体13と一体に形成されたゴム膜により、ほぼ全域にわたって覆われている。
仕切り部材16は、本体部16aと、嵌合部16bと、を備えている。本体部16aは、軸線Oと同軸に配置された有底筒状に形成され、第1取付け部材11内に嵌合されている。本体部16aには、径方向の外側に向けて突出するフランジ部16cが設けられている。フランジ部16cは、本体部16aにおける一方側の端部に設けられている。フランジ部16cは、他方側外筒体22の一方側の端部22a内に配置されている。
嵌合部16bは、軸線Oと同軸に配置された柱状に形成され、本体部16a内に嵌合されている。嵌合部16bにおいて一方側を向く端面は、本体部16aにおいて一方側を向く端面と面一になっている。
仕切り部材16には、主液室14と副液室15とを連通する制限通路31、32が形成されている。制限通路31、32として、第1制限通路31(アイドルオリフィス)と、第2制限通路32(シェイクオリフィス)と、が備えられている。
第2制限通路32は、仕切り部材16の外周部に設けられている。第2制限通路32は、全長にわたって本体部16aに設けられている。第2制限通路32の流路断面積は、第2制限通路32の全長にわたって同等となっている。
第1制限通路31は、仕切り部材16内において第2制限通路32から独立していて、流路が兼用されていない。第1制限通路31は、仕切り部材16において外周部よりも径方向の内側に位置する部分に形成されている。
第1制限通路31は、軸線O方向に延び、仕切り部材16における軸線O方向の両端面に各別に開口している。第1制限通路31は、軸線O方向に沿って直線状に延び、軸線Oと同軸の円柱状に形成されている。第1制限通路31の流路軸は、軸線O上に位置している。この第1制限通路31では、液体Lが、軸線O方向の前記他方側に向けて流通することで主液室14から副液室15に向かい、軸線O方向の前記一方側に向けて流通することで、副液室15から主液室14に向かう。
第1制限通路31には、流体ダイオード33と、弾性薄膜34と、ストッパ35と、が設けられている。
流体ダイオード33は、第1制限通路31を一方側(第1側)に向けて流通する液体Lの流れを流速に応じて抑制する。流体ダイオード33は、第1制限通路31を他方側(第2側)に向けて流通する液体Lの流れを流速によらず許容する。
図1および図2に示すように、流体ダイオード33は、第1制限通路31内に設けられている。流体ダイオード33には、変流突部36が備えられている。変流突部36は、第1制限通路31の内周面に設けられていて、第1制限通路31内を流通する液体Lの流れを変化させる。変流突部36は、第1制限通路31の内周面から径方向の内側に向けて突出し、第1制限通路31内を、軸線O方向に流通する液体Lの流れを変化させる。
変流突部36は、第1制限通路31内を流通する液体Lを、この変流突部36の表面に沿って流動させることで、この液体Lの流れを曲げさせる。変流突部36は、例えば樹脂材料などにより、液体Lの流れに受けたときに変形しない程度の剛性を具備する剛性体として、仕切り部材16と一体に形成されていて、本実施形態では、嵌合部16bに一体に形成されている。
第1制限通路31および変流突部36は、軸線Oおよび変流突部36を通る縦断面視(第1制限通路の流路軸方向に沿った縦断面視)において、軸線Oに対して対称形状を呈している。第1制限通路31および変流突部36は、前記縦断面視において、軸線Oを基準として線対称となっている。変流突部36は、周方向の全周にわたって配置されていて、図示の例では、周方向の全周にわたって連続して延びている。
変流突部36は、軸線O方向に延びる筒状、図示の例では円筒状に形成されている。変流突部36における軸線O方向の一端部は、第1制限通路31の内周面に連結された基端部(固定端)とされ、軸線O方向の他端部は、第1制限通路31の内周面に非連結とされた突端部(自由端)とされている。変流突部36の突端部は、軸線O方向の両側に向けて開口する通過孔37の内周縁部を形成している。図示の例では、変流突部36の突端部側の開口部の全体が通過孔37とされていて、変流突部36の突端部は、通過孔37の内周縁部の全体を構成している。
変流突部36の外周面は、基端部から突端部に向かうに従い漸次、縮径していて、前記縦断面視において、軸線Oに対して直線状に傾斜している。本実施形態では、変流突部36の内周面も、基端部から突端部に向かうに従い漸次、縮径していて、変流突部36の全体が、基端部から突端部に向かうに従い漸次、縮径している。変流突部36は、一方側から他方側に向かうに従い漸次、縮径している。
変流突部36は、第1制限通路31内を変流空間38と通過空間39とに区画している。
変流空間38は、内部に流入する液体Lの流れを変化させる。変流突部36は、第1制限通路31の内周面との間に変流空間38を形成している。変流空間38は、変流突部36の外周面と第1制限通路31の内周面との間に形成されている。変流突部36の外周面は、変流空間38を画成する画成面であり、この画成面は、前記縦断面視において軸線Oに対して傾斜している。
変流空間38は、軸線Oと同軸の環状に形成され、他方側に向けて開口している。前記縦断面視において、変流空間38の径方向に沿った空間幅は、他方側から一方側に向かうに従い漸次、小さくなっている。変流空間38の底面は、他方側を向くとともに変流突部36の外周面と第1制限通路31の内周面とを連結している。前記縦断面視において、変流空間38の底面は、一方側に向けて凹となる凹曲面状に形成されている。
通過空間39は、内部に流入する液体Lを通過させる。通過空間39は、前記通過孔37を備えている。通過空間39は、変流突部36の内周面により形成され、変流突部36の内部の全体によって構成されている。通過空間39は、軸線Oと同軸の錐台状、図示の例では円錐台状に形成され、軸線O方向の両側に向けて開口している。通過空間39は、他方側から一方側に向かうに従い漸次、拡径している。
弾性薄膜34およびストッパ35は、流体ダイオード33に対して軸線O方向にずらされている。弾性薄膜34およびストッパ35は、流体ダイオード33に対して他方側に配置されていて、本実施形態では、本体部16aに設けられている。
弾性薄膜34は、第1制限通路31を閉塞している。弾性薄膜34は、この防振装置10に振動が入力されていない状態(以下、「未入力状態」という)で、前記縦断面視において、軸線O方向に凸となっている。弾性薄膜34は、軸線O方向に弾性変形可能に形成されている。
ストッパ35は、弾性薄膜34が他方側に向けて変形したときに、弾性薄膜34の更なる他方側に向けた変形を規制し、弾性薄膜34の他方側に向けた変形量を規制する。ストッパ35は、弾性薄膜34に対して他方側に配置されている。ストッパ35は、前記縦断面視において、第1制限通路31を、軸線Oに直交する方向に横断している。ストッパ35には、複数の流通孔35aが設けられている。流通孔35aは、ストッパ35を軸線O方向に貫通している。
第1制限通路31は、アイドル振動(例えば、周波数が18Hz〜30Hz、振幅が±0.5mm以下)の入力に対して液柱共振を生じさせる。一方、第2制限通路32は、シェイク振動(例えば、周波数が14Hz以下、振幅が±0.5mmより大きい)の入力に対して液柱共振を生じさせる。シェイク振動(シェイク振動)の周波数は、アイドル振動(アイドル振動)の周波数よりも低い。シェイク振動の振幅は、アイドル振動の振幅よりも大きい。
なお各制限通路31、32は、例えば流路長や流路断面積などに基づいて、それぞれ対応する振動が入力されて内部を液体Lが流通するときに液柱共振が生じるように設定(チューニング)することができる。第1制限通路31の共振周波数は、アイドル振動の周波数と同等となっている。第2制限通路32の共振周波数は、シェイク振動の周波数と同等となっている。
未入力状態において、第1制限通路31の流通抵抗は、第2制限通路32の流通抵抗よりも小さくなっている。この防振装置10では、振動が入力された直後には、液体Lが、第2制限通路32よりも第1制限通路31を積極的に流通しようとする。なお、各制限通路31、32の流通抵抗は、流路長や流路断面積などに基づいて調整することができる。
次に、前記防振装置10の作用について説明する。
防振装置10に、振動発生部から軸線O方向の振動が入力されると、両取付け部材11、12が弾性体13を弾性変形させながら相対的に変位して主液室14の液圧が変動する。すると液体Lが、主液室14と副液室15との間を往来しようとする。このとき、主液室14内および副液室15内の液体Lは、両制限通路31、32のうち、流通抵抗が小さい第1制限通路31を流通しようとする。
ここで、アイドル振動の振幅はシェイク振動に比べ振幅が小さく、アイドル振動の入力時に第1制限通路31および第2制限通路32へ流入する液体Lの流速は、シェイク振動の入力時の液体Lの流速よりも小さくなる。
すなわち図4に示すように、軸線O方向にアイドル振動が入力されると、このアイドル振動の振幅に応じ、単位時間あたりに少量の液体Lが第1制限通路31内に流入しようとする。その結果、第1制限通路31内を流通する液体Lの流速の上昇が抑制される。
したがって、この防振装置10のような、第1制限通路31に流体ダイオード33が設けられているような構成であっても、液体Lが流れの向きによらず第1制限通路31内を円滑に流通する。本実施形態では、液体Lが第1制限通路31内を他方側に向けて流通するとき、および一方側に向けて流通するときのいずれの場合であっても、この液体Lが、第1制限通路31のうち、流体ダイオード33が位置する部分に到達したときに、液体Lは単に通過空間39を軸線O方向に通過する。
なお、アイドル振動が入力された場合であって、液体Lが第1制限通路31内を流通するときには、第1制限通路31内において流体ダイオード33に到達する直前の液体Lの流速と、流体ダイオード33を通過した直後の液体Lの流速と、が等しく、または僅かに異なっていて、これらの液体Lの流速差は実質的に見受けられない。ここで、液体Lの流速差には、例えば、液体Lの流速の最大値同士の差分などを採用することができる。
ところで、第1制限通路31内を流通する液体Lは、その液圧に基づいて弾性薄膜34を弾性変形させ、液圧を、弾性薄膜34を挟んだ反対側に位置する他の液体Lに伝達させて第1制限通路31内を流通する。これにより、液体Lに、第1制限通路31を積極的に流通させることが可能になり、第1制限通路31内で共振を生じさせてアイドル振動を吸収および減衰することができる。
本実施形態では、弾性薄膜34が、前記縦断面視において、軸線O方向に凸となっているので、弾性薄膜34を、この弾性薄膜34の形状に基づいて、軸線O方向に容易に変形させることができる。したがって、例えば、アイドル振動が入力されたときに、第1制限通路31を流通する液体Lの液圧によって弾性薄膜34を確実に変形させることができる。これにより、液体Lに第1制限通路31内を円滑に流通させることができる。
一方、図5に示すように、軸線O方向にシェイク振動が入力されると、このシェイク振動の振幅に応じて、単位時間当たりに多量の液体Lが主液室14から第1制限通路31内に流入しようとする。その結果、第1制限通路31内を流通する液体Lの流速が一定以上に高められる。
シェイク振動が入力された場合であって、主液室14から第1制限通路31に他方側に向けて流入した液体Lが、流体ダイオード33に到達したときには、液体Lが、通過空間39内を軸線O方向に通過した後、通過孔37から流出する。その結果、このように第1制限通路31を他方側に向けて流通する液体Lの流れは、流速が一定以上に高められていても許容され、液体Lは、第1制限通路31を他方側に向けて円滑に流通して副液室15内に流入する。なお、副液室15内に液体Lが流入したり、副液室15内から液体Lが流出したりして、副液室15内の液体Lが増減しても、ダイヤフラム17が変形することで副液室15の容積も増減し、副液室15内は大気圧に保持される。
これに対して図2および図5に示すように、副液室15から第1制限通路31に一方側に向けて流入した液体Lが、流体ダイオード33に到達したときには、この液体Lのうち、第1制限通路31内の径方向の内側を流通するものは、通過孔37を通過して通過空間39に流入し、この通過空間39を軸線O方向に通過する。一方、液体Lのうち、第1制限通路31内の径方向の外側を流通するものは、変流空間38に流入する。この液体Lは、変流突部36の表面に沿って変流突部36の突端部側に向かうことで、流れを径方向に変化させられる。なおこのとき、変流突部36は、変流空間38内に流入する液体Lの流れを、変流突部36の外周面に沿うように変化させることで、この液体Lを、周方向に延びる円周を旋回軸として旋回させること等ができる。
その結果、例えば、通過孔37を軸線O方向に通過しようとする液体Lと、変流突部36により流れを変化させられた液体Lと、が衝突することによるエネルギー損失などを起因として、液体Lの圧力損失が高められる。なお液体Lの圧力損失の要因としては、液体Lの粘性抵抗や、液体Lの流れを変化させ旋回流を形成することによるエネルギー損失、液体Lと変流突部36との間の摩擦によるエネルギー損失なども挙げられる。
ここでこの防振装置10では、第1制限通路31および変流突部36が、前記縦断面視において、軸線Oに対して対称形状を呈しているので、この縦断面視において径方向の両外側に位置する部分を流通する各液体Lの流れが、変流突部36によって、軸線Oに対して対称に変化させられる。そして、このように流れを変化させられた液体Lが、通過孔37を軸線O方向に通過しようとする液体Lに対して、径方向の両外側から衝突することから、液体Lの圧力損失が効果的に高められる。
以上より、第1制限通路31を一方側に向けて流通する液体Lの流速が一定以上に高められていると液体Lの圧力損失が高められ、その結果、第1制限通路31を一方側に向けて流通する液体Lの流れが抑制される。
この防振装置10では、シェイク振動が入力されたときに、第1制限通路31を通して主液室14と副液室15との間を往来する液体Lのうち、第1制限通路31内を一方側に向かう液体Lの流れが流体ダイオード33によって抑制される。その結果、第1制限通路31を通して主液室14と副液室15との間を液体Lが往来するときに、一方側に向けて流通する液体Lよりも、他方側に向けて流通する液体Lが第1制限通路31内を円滑に流通し、弾性薄膜34が他方側に向けて弾性変形する。
シェイク振動が入力され続けて液体Lが第1制限通路31を繰り返し往来すると、図5に示すように、弾性薄膜34の他方側に向けた変形量が、ストッパ35により規制されるまで徐々に大きくなり、弾性薄膜34が徐々に他方側に向けて変形し難くなる。したがって、例えば、液体Lが第1制限通路31を他方側に向けて流通しようとするときに、弾性薄膜34に、この弾性薄膜34に対して一方側に位置する液体Lの液圧が作用しても、弾性薄膜34が他方側に向けて変形し難くなり、弾性薄膜34に対して一方側に位置する液体Lの液圧が他方側に位置する液体Lに伝達され難くなる。その結果、第1制限通路31を通した液体Lの流通が阻害される。これにより、第1制限通路31を通して液体Lを流通させ難くして、第2制限通路32を通して液体Lを流通させ易くすることができる。このとき、第2制限通路32内を液体Lが流通することで第2制限通路32内で共振を生じさせ、シェイク振動を吸収および減衰することができる。
なお、シェイク振動の入力が停止されると、弾性薄膜34は、例えば弾性薄膜34の弾性復元力に基づいて、未入力状態における形状に復元変形する。
以上説明したように、本実施形態に係る防振装置10によれば、前記従来技術のようなプランジャ部材を仕切り部材16に設けるのに代えて、第1制限通路31に流体ダイオード33および弾性薄膜34を設けることで、アイドル振動およびシェイク振動の両方を吸収および減衰させることができる。これにより、防振装置10の構造の簡素化および製造の簡便化を図ることができる。
また、第1制限通路31にストッパ35が設けられているので、ストッパ35により弾性薄膜34の変形量を精度良く規制することができる。これにより、シェイク振動が入力されたときに、第1制限通路31を通した液体Lの流通を高精度に阻害することができる。
(第2実施形態)
次に、本発明に係る第2実施形態の防振装置40を、図6を参照して説明する。
なお、この第2実施形態においては、第1実施形態における構成要素と同一の部分については同一の符号を付し、その説明を省略し、異なる点についてのみ説明する。
この防振装置40では、弾性薄膜34およびストッパ35を、流体ダイオード33に対して他方側に配置するのに代えて、一方側に配置している。
この防振装置40においても、第1実施形態に係る防振装置40と同様の作用効果を奏することができる。
(第3実施形態)
次に、本発明に係る第3実施形態の防振装置50を、図7を参照して説明する。
なお、この第3実施形態においては、第1実施形態における構成要素と同一の部分については同一の符号を付し、その説明を省略し、異なる点についてのみ説明する。
この防振装置50では、流体ダイオード33に、第1制限通路31を一方側に向けて流通する液体Lの流れを流速に応じて抑制させるのに代えて、第1制限通路31を他方側(第1側)に向けて流通する液体Lの流れを流速に応じて抑制させる。また流体ダイオード33に、第1制限通路31を他方側に向けて流通する液体Lの流れを流速によらず許容させるのに代えて、第1制限通路31を一方側(第2側)に向けて流通する液体Lの流れを流速によらず許容させる。さらにストッパ35に、弾性薄膜34の他方側に向けた変形量を規制させるのに代えて、弾性薄膜34の一方側に向けた変形量を規制させる。
この防振装置50における変流突部36は、第1実施形態に係る防振装置10を構成する変流突部36を、軸線O方向に反転させた形状をなす。ストッパ35は、弾性薄膜34に対して一方側に位置している。
この防振装置50では、シェイク振動が入力され、第1制限通路31内を流通する液体Lの流速が高められたときに、第1制限通路31を通して主液室14と副液室15との間を往来する液体Lのうち、第1制限通路31内を他方側に向かう液体Lの流れが流体ダイオード33によって抑制される。これにより、第1制限通路31を通して主液室14と副液室15との間を液体Lが往来するときに、他方側に向かう液体Lよりも一方側に向かう液体Lが第1制限通路31内を円滑に通過し、弾性薄膜34が一方側に向けて弾性変形させられる。
シェイク振動が入力され続けて液体Lが第1制限通路31を繰り返し往来すると、弾性薄膜34の一方側に向けた変形量が徐々に大きくなり、弾性薄膜34が徐々に一方側に向けて変形し難くなる。したがって、例えば、液体Lが第1制限通路31を一方側に向けて流通しようとするときに、弾性薄膜34に、この弾性薄膜34に対して他方側に位置する液体Lの液圧が作用しても、弾性薄膜34が一方側に向けて変形し難くなり、弾性薄膜34に対して他方側に位置する液体Lの液圧が一方側に位置する液体Lに伝達され難くなる。その結果、第1制限通路31を通した液体Lの流通が阻害される。これにより、第1制限通路31を通して液体Lを流通させ難くして、第2制限通路32を通して液体Lを流通させ易くすることができる。
(第4実施形態)
次に、本発明に係る第4実施形態の防振装置60を、図8から図12を参照して説明する。
なお、この第4実施形態においては、第1実施形態における構成要素と同一の部分については同一の符号を付し、その説明を省略し、異なる点についてのみ説明する。
この防振装置60では、図8に示すように、流体ダイオード33を、第1制限通路31内に設けるのに代えて、流体ダイオード33に、第1制限通路31の一部を構成させている。第1制限通路31は、流体ダイオード33と、接続路61と、により構成されている。流体ダイオード33は、副液室15に直接、連通している。接続路61は、主液室14に直接、連通していて、流体ダイオード33と主液室14とを接続している。
図8および図9に示すように、流体ダイオード33は、渦室62と、整流路63と、連通孔64と、を備えている。
渦室62は、主液室14および副液室15のうち、一方に整流路63を通して連通し、他方に連通孔64を通して連通している。本実施形態では、渦室62は、整流路63を通して副液室15に連通し、連通孔64を通して主液室14に連通している。渦室62は、整流路63から流入する液体Lの流速に応じて液体Lの旋回流を形成し、この液体Lを連通孔64から流出させる。渦室62は、軸線Oと同軸に配置されている。渦室62は、軸線O方向から見た平面視において、円形状に形成されている。
整流路63は、仕切り部材16において副液室15に露出する外面から渦室62内に、周方向(渦室の周方向)に向けて開口している。整流路63は、軸線Oに直交する直交面に沿う方向に直線状に延在している。整流路63は、渦室62の内周面から、この内周面の接線方向に沿って延在している。整流路63から渦室62の内周面に開口する整流開口65を通して渦室62に流入された液体Lは、渦室62の内周面に沿って流動することで旋回する。
連通孔64は、渦室62において軸線O方向を向く端面から渦室62内に、軸線O方向(渦室の軸線方向)に向けて開口している。連通孔64は、前記平面視において円形状に形成されている。連通孔64は、軸線O(渦室の軸線)上に、図示の例では軸線Oと同軸に配置されている。つまり連通孔64の開口軸と、整流開口65の開口軸と、は互いにずらされていて、連通孔64および整流開口65は、渦室62の壁面に向けて開口している。
図8に示すように、接続路61は、連通孔64から軸線O方向の一方側に向けて延びている。接続路61は、前記平面視において連通孔64と同等の形状でかつ同等の大きさに形成されている。接続路61は、軸線O方向に延在し、軸線Oと同軸に配置されている。接続路61のうち、他方側の開口端部が連通孔64を通して渦室62内に開口していて、一方側の開口端部が直接、主液室14内に開口している。
接続路61内には、前記弾性薄膜34および前記ストッパ35が設けられている。ストッパ35は、弾性薄膜34の第2側に向けた変形を規制する。
前記第1制限通路31では、例えば、接続路61の共振周波数や整流路63の共振周波数をアイドル振動の周波数と同等とすることで、アイドル振動の入力に対して液柱共振を生じさせることができる。
次に、前記防振装置60の作用について説明する。
この防振装置60では、流体ダイオード33が、第1制限通路31内を、副液室15から主液室14に向かう第1側に向けて流通する液体Lの流れを流速に応じて抑制する。
すなわち、この防振装置60に軸線O方向にアイドル振動が入力され、第1制限通路31内を流通する液体Lの流速の上昇が抑制された場合において、副液室15内の液体Lが第1側に向けて第1制限通路31を流通するときには、図10に2点鎖線で示すように、整流路63から渦室62内に流入する液体Lが、渦室62内を旋回することなく流動し、連通孔64から流出される。これにより、液体Lの圧力損失の上昇を抑え、液体Lが渦室62内を円滑に流通する。
また、この防振装置60に軸線O方向にシェイク振動が入力され、第1制限通路31内を流通する液体Lの流速が一定以上に高められた場合において、副液室15内の液体Lが第1側に向けて第1制限通路31を流通するときには、液体Lは、整流路63を流通することで前記接線方向に整流された後、整流開口65から渦室62内に流入する。すると液体Lは、図11に2点鎖線で示すように、渦室62内で旋回する。すなわち液体Lが、整流開口65から渦室62に流入するときに、液体Lの流速が高められていると、この液体Lが、渦室62内を直進して渦室62の内周面(壁面)に到達し、この内周面に沿って流れを変化させられる。
その結果、例えば、液体Lの粘性抵抗や、旋回流を形成することによるエネルギー損失、液体Lと渦室62の壁面との間の摩擦によるエネルギー損失などを起因として、液体Lの圧力損失が高められる。このとき、液体Lの流速の上昇に伴って渦室62内に流入する液体Lの流量が顕著に上昇すると、渦室62内に流入した液体Lにより形成された旋回流で渦室62内が満たされる。この状態で、さらに液体Lが渦室62内に流入しようとする場合、液体Lの圧力損失を大きく確保することができる。なお、渦室62内で旋回させられた液体Lは、連通孔64から流出される。
以上より、第1制限通路31を第1側に向けて流通する液体Lの流速が一定以上に高められていると液体Lの圧力損失が高められ、その結果、第1制限通路31を第1側に向けて流通する液体Lの流れが抑制される。
一方、この防振装置60では、流体ダイオード33が、第1制限通路31内を、主液室14から副液室15に向かう第2側に向けて流通する液体Lの流れを流速によらず許容する。
すなわち、この防振装置60に軸線O方向に振動が入力され、主液室14内の液体Lが第2側に向けて第1制限通路31を流通するときには、液体Lが、接続路61を通して連通孔64から渦室62内に流入する。渦室62内に流入した液体Lは、アイドル振動が入力されて液体Lの流速の上昇が抑制された場合、およびシェイク振動が入力される液体Lの流速が一定以上に高められた場合のいずれであっても、図12に2点鎖線で示すように、渦室62内で旋回することなく渦室62内を通過して、整流路63から流出する。その結果、液体Lの圧力損失の上昇が抑えられ、液体Lが第1制限通路31を円滑に流通する。
以上より、アイドル振動が入力され、第1制限通路31内を流通する液体Lの流速の上昇が抑制された場合には、第1制限通路31を第1側に向けて流通する液体Lも第2側に向けて流通する液体Lも、第1制限通路31を円滑に流通する。これにより、液体Lに、第1制限通路31を積極的に流通させることが可能になり、第1制限通路31内で共振を生じさせてアイドル振動を吸収および減衰することができる。
一方、シェイク振動が入力され、第1制限通路31内を流通する液体Lの流速が一定以上に高められた場合には、第1制限通路31内を第1側に向かう液体Lの流れが流体ダイオード33によって抑制されることから、第1側に向かう液体Lよりも第2側に向かう液体Lが第1制限通路31内を円滑に通過する。したがって、シェイク振動が入力されて液体Lが第1制限通路31を往来すると、弾性薄膜34が第2側に向けて弾性変形させられる。シェイク振動が入力され続けて液体Lが第1制限通路31を繰り返し往来した結果、弾性薄膜34の第2側に向けた変形量が大きくなると、第1制限通路31を通した液体Lの流通が阻害される。これにより、第1制限通路31を通して液体Lを流通させ難くして、第2制限通路32を通して液体Lを流通させ易くすることができる。このとき、第2制限通路32内を液体Lが流通することで第2制限通路32内で共振を生じさせ、シェイク振動を吸収および減衰することができる。
なお、本発明の技術的範囲は前記実施形態に限定されるものではなく、本発明の趣旨を逸脱しない範囲において種々の変更を加えることが可能である。
例えば、ストッパ35がなくてもよい。
前記実施形態では、弾性薄膜34が、前記縦断面視において、軸線O方向に凸となっているが、本発明はこれに限られない。例えば弾性薄膜34が、前記縦断面視において直線状に延びていてもよい。
また前記実施形態では、第1制限通路31がアイドル振動の入力に対して共振を生じさせ、第2制限通路32がシェイク振動の入力に対して共振を生じさせたが、本発明はこれに限られない。本発明は、第1振動の入力に対して共振を生じさせる第1制限通路31と、振幅が第1振動の振幅よりも大きい第2振動の入力に対して共振を生じさせる第2制限通路32と、を備えた他の構成に適宜変更することができる。例えば、第1制限通路31が、アイドル振動よりも周波数が高い振動、高周波振動に対して共振を生じさせてもよい。
また流体ダイオード33は、前記実施形態に示した構成に限られない。流体ダイオード33は、第1制限通路31内を第1側に向けて流通する液体Lの流れを流速に応じて抑制する他の構成に適宜変更可能であり、流量依存性および方向依存性がある他の形態に変更してもよい。
また前記実施形態では、仕切り部材16が、第1取付け部材11内の液室を、弾性体13を壁面の一部に有する主液室14および副液室15に仕切るが、本発明はこれに限られない。例えば、前記ダイヤフラムを設けるのに代えて、弾性体を軸線方向に一対設けて、副液室を設けるのに代えて、弾性体を壁面の一部に有する受圧液室を設けてもよい。
つまり仕切り部材が、液体が封入される第1取付け部材内の液室を、第1液室および第2液室に仕切り、第1液室および第2液室の両液室のうちの少なくとも1つが、弾性体を壁面の一部に有する他の構成に適宜変更してもよい。
また前記実施形態では、エンジンを第2取付け部材12に接続し、第1取付け部材11を車体に接続しているが、逆に接続するように構成してもよい。
さらに、本発明に係る防振装置10は、車両のエンジンマウントに限定されるものではなく、エンジンマウント以外に適用することも可能である。例えば、建設機械に搭載された発電機のマウントにも適用することも可能であり、或いは、工場等に設置される機械のマウントにも適用することも可能である。
その他、本発明の趣旨に逸脱しない範囲で、前記実施形態における構成要素を周知の構成要素に置き換えることは適宜可能であり、また、前記した変形例を適宜組み合わせてもよい。
10 防振装置
11 第1取付け部材
12 第2取付け部材
13 弾性体
14 主液室(第1液室)
15 副液室(第2液室)
16 仕切り部材
31 第1制限通路
32 第2制限通路
33 流体ダイオード
34 弾性薄膜
35 ストッパ
L 液体

Claims (3)

  1. 振動発生部および振動受部のうちの一方に連結される筒状の第1取付け部材、および他方に連結される第2取付け部材と、
    これらの両取付け部材を連結する弾性体と、
    液体が封入される前記第1取付け部材内の液室を、第1液室および第2液室に仕切る仕切り部材と、を備え、
    前記第1液室および前記第2液室のうちの少なくとも一方は、前記弾性体を壁面の一部に有し、
    前記仕切り部材には、前記第1液室と前記第2液室とを連通する制限通路が形成され、
    前記制限通路として、
    第1振動の入力に対して共振を生じさせる第1制限通路と、
    振幅が前記第1振動の振幅よりも大きい第2振動の入力に対して共振を生じさせる第2制限通路と、を備え、
    前記第1制限通路には、前記仕切り部材に固定され、前記第1制限通路内を、前記第1液室および前記第2液室のうちの一方から他方に向かう第1側に向けて流通して整流された液体の流れを流速に応じて抑制する流体ダイオードと、前記第1制限通路を閉塞する弾性薄膜と、が設けられ、
    前記第2振動が入力されたときに、液体が前記第1液室と前記第2液室との間で前記第1制限通路を通して前記弾性薄膜を変形させながら流通可能であることを特徴とする防振装置。
  2. 前記第1制限通路には、前記弾性薄膜が、前記第1側の反対側である第2側に向けて変形したときに、前記弾性薄膜の更なる前記第2側に向けた変形を規制するストッパが設けられていることを特徴とする請求項1記載の防振装置。
  3. 前記弾性薄膜は、前記第1制限通路の流路軸方向に沿った縦断面視において、前記流路軸方向に凸となっていることを特徴とする請求項1または2に記載の防振装置。
JP2014125196A 2014-06-18 2014-06-18 防振装置 Expired - Fee Related JP6654792B2 (ja)

Priority Applications (1)

Application Number Priority Date Filing Date Title
JP2014125196A JP6654792B2 (ja) 2014-06-18 2014-06-18 防振装置

Applications Claiming Priority (1)

Application Number Priority Date Filing Date Title
JP2014125196A JP6654792B2 (ja) 2014-06-18 2014-06-18 防振装置

Publications (2)

Publication Number Publication Date
JP2016003726A JP2016003726A (ja) 2016-01-12
JP6654792B2 true JP6654792B2 (ja) 2020-02-26

Family

ID=55223150

Family Applications (1)

Application Number Title Priority Date Filing Date
JP2014125196A Expired - Fee Related JP6654792B2 (ja) 2014-06-18 2014-06-18 防振装置

Country Status (1)

Country Link
JP (1) JP6654792B2 (ja)

Family Cites Families (6)

* Cited by examiner, † Cited by third party
Publication number Priority date Publication date Assignee Title
JPH0754131B2 (ja) * 1984-09-07 1995-06-07 株式会社ブリヂストン 防振装置
JPS61156749U (ja) * 1985-03-20 1986-09-29
JPH01229132A (ja) * 1988-03-09 1989-09-12 Tokai Rubber Ind Ltd 流体封入式マウント装置
JP4378249B2 (ja) * 2004-09-02 2009-12-02 倉敷化工株式会社 液体封入式防振マウント装置
JP4740776B2 (ja) * 2006-01-20 2011-08-03 東洋ゴム工業株式会社 液封入式防振装置
JP2010025149A (ja) * 2008-07-15 2010-02-04 Toyota Motor Corp 液体封入式防振装置

Also Published As

Publication number Publication date
JP2016003726A (ja) 2016-01-12

Similar Documents

Publication Publication Date Title
JP6245646B2 (ja) 防振装置
JP6196682B2 (ja) 防振装置
CN106133384B (zh) 隔振装置
JP6300407B2 (ja) 防振装置
JP6300406B2 (ja) 防振装置
US9772003B2 (en) Vibration damping device
JP6265562B2 (ja) 防振装置
JPWO2015068449A1 (ja) 防振装置
US10047819B2 (en) Vibration-damping device
JP6355242B2 (ja) 防振装置
EP3006771B1 (en) Vibration damping device
US10578187B2 (en) Vibration isolation device
JP7346189B2 (ja) 防振装置
JP6654792B2 (ja) 防振装置
JP6155122B2 (ja) 防振装置

Legal Events

Date Code Title Description
A621 Written request for application examination

Free format text: JAPANESE INTERMEDIATE CODE: A621

Effective date: 20170510

A977 Report on retrieval

Free format text: JAPANESE INTERMEDIATE CODE: A971007

Effective date: 20180309

A131 Notification of reasons for refusal

Free format text: JAPANESE INTERMEDIATE CODE: A131

Effective date: 20180320

A521 Request for written amendment filed

Free format text: JAPANESE INTERMEDIATE CODE: A523

Effective date: 20180511

A131 Notification of reasons for refusal

Free format text: JAPANESE INTERMEDIATE CODE: A131

Effective date: 20180911

RD03 Notification of appointment of power of attorney

Free format text: JAPANESE INTERMEDIATE CODE: A7423

Effective date: 20181019

A521 Request for written amendment filed

Free format text: JAPANESE INTERMEDIATE CODE: A523

Effective date: 20181107

A02 Decision of refusal

Free format text: JAPANESE INTERMEDIATE CODE: A02

Effective date: 20190312

A521 Request for written amendment filed

Free format text: JAPANESE INTERMEDIATE CODE: A523

Effective date: 20190606

A911 Transfer to examiner for re-examination before appeal (zenchi)

Free format text: JAPANESE INTERMEDIATE CODE: A911

Effective date: 20190614

A912 Re-examination (zenchi) completed and case transferred to appeal board

Free format text: JAPANESE INTERMEDIATE CODE: A912

Effective date: 20190816

A61 First payment of annual fees (during grant procedure)

Free format text: JAPANESE INTERMEDIATE CODE: A61

Effective date: 20200131

R150 Certificate of patent or registration of utility model

Ref document number: 6654792

Country of ref document: JP

Free format text: JAPANESE INTERMEDIATE CODE: R150

S111 Request for change of ownership or part of ownership

Free format text: JAPANESE INTERMEDIATE CODE: R313111

R350 Written notification of registration of transfer

Free format text: JAPANESE INTERMEDIATE CODE: R350

R250 Receipt of annual fees

Free format text: JAPANESE INTERMEDIATE CODE: R250

LAPS Cancellation because of no payment of annual fees