JP6596281B2 - バッテリターミナル - Google Patents

バッテリターミナル Download PDF

Info

Publication number
JP6596281B2
JP6596281B2 JP2015181548A JP2015181548A JP6596281B2 JP 6596281 B2 JP6596281 B2 JP 6596281B2 JP 2015181548 A JP2015181548 A JP 2015181548A JP 2015181548 A JP2015181548 A JP 2015181548A JP 6596281 B2 JP6596281 B2 JP 6596281B2
Authority
JP
Japan
Prior art keywords
tightening
bolt
nut
pair
portions
Prior art date
Legal status (The legal status is an assumption and is not a legal conclusion. Google has not performed a legal analysis and makes no representation as to the accuracy of the status listed.)
Active
Application number
JP2015181548A
Other languages
English (en)
Other versions
JP2017059338A (ja
Inventor
隆広 塙
Current Assignee (The listed assignees may be inaccurate. Google has not performed a legal analysis and makes no representation or warranty as to the accuracy of the list.)
Subaru Corp
Original Assignee
Subaru Corp
Priority date (The priority date is an assumption and is not a legal conclusion. Google has not performed a legal analysis and makes no representation as to the accuracy of the date listed.)
Filing date
Publication date
Application filed by Subaru Corp filed Critical Subaru Corp
Priority to JP2015181548A priority Critical patent/JP6596281B2/ja
Publication of JP2017059338A publication Critical patent/JP2017059338A/ja
Application granted granted Critical
Publication of JP6596281B2 publication Critical patent/JP6596281B2/ja
Active legal-status Critical Current
Anticipated expiration legal-status Critical

Links

Images

Classifications

    • YGENERAL TAGGING OF NEW TECHNOLOGICAL DEVELOPMENTS; GENERAL TAGGING OF CROSS-SECTIONAL TECHNOLOGIES SPANNING OVER SEVERAL SECTIONS OF THE IPC; TECHNICAL SUBJECTS COVERED BY FORMER USPC CROSS-REFERENCE ART COLLECTIONS [XRACs] AND DIGESTS
    • Y02TECHNOLOGIES OR APPLICATIONS FOR MITIGATION OR ADAPTATION AGAINST CLIMATE CHANGE
    • Y02EREDUCTION OF GREENHOUSE GAS [GHG] EMISSIONS, RELATED TO ENERGY GENERATION, TRANSMISSION OR DISTRIBUTION
    • Y02E60/00Enabling technologies; Technologies with a potential or indirect contribution to GHG emissions mitigation
    • Y02E60/10Energy storage using batteries

Landscapes

  • Connection Of Batteries Or Terminals (AREA)
  • Connections By Means Of Piercing Elements, Nuts, Or Screws (AREA)

Description

本発明は、バッテリターミナル、特に、バッテリポストの周りを囲む電極保持部を縮径および拡径する締付部開閉構造を備えるバッテリターミナルに関する。
従来、バッテリポストの周りを囲む有端略環状の電極保持部および該電極保持部の両端から突出する一対の締付部を備えたターミナル本体と、ボルト(第1締結具)と、ナット(第2締結具)と、を備え、ボルトおよびナットを用いて一対の締付部を接近させて電極保持部を縮径させるバッテリターミナルが知られている。
例えば、特許文献1には、電極保持部および一対の締付部を備えたターミナル本体と、ボルトと、ナットと、を備え、さらに、ボルトとナットの間に、これらとは別体の締付部材を備えたバッテリターミナルが記載されている。
特許文献1に記載されたバッテリターミナルでは、ボルトとナットとの間に、別途、締付部材を介在させることにより、ボルトを締付けた場合には、一対の締付部を接近させ、ボルトを緩めた場合には、一対の締付部を離間させることができる。
実用新案登録第2593283号公報
しかし、特許文献1に記載されたバッテリターミナルでは、電極保持部の縮径に際し、締付部材を別途用いる必要があるため、部品点数が増加してしまい、取付け作業が煩雑になるという問題があった。
本発明は、上記課題に鑑みてなされたものであって、部品点数を増加することなく、電極保持部を縮径および拡径することができるバッテリターミナルを提供することを目的とする。
記目的を達成するために、本発明に係るバッテリターミナルは、バッテリポストの周りを囲む有端略環状の電極保持部および該電極保持部の両端からそれぞれ延出した一対の締付部を有するターミナル本体と、前記一対の締付部の間に挿入されるボルトと、該ボルトと螺合可能なナットと、を備え、螺合状態での前記ナットに対する前記ボルトの進退移動によって、前記一対の締付部を接近、離間させる締付部開閉構造を備えるバッテリターミナルにおいて、前記締付部開閉構造は、前記締付部と前記ナットとのそれぞれにおいて互いに対向する部分に形成されており、前記ボルトの進退移動の際に互いに当接状態を保つ締付部側当接部およびナット側当接部からなり、前記締付部側当接部および前記ナット側当接部は、前記ボルトの進移動によって前記一対の締付部を接近方向に移動させ、前記ボルトの退移動によって前記一対の締付部を離間方向に移動させる形状を備え、前記ナット側当接部は、前記ナットの両側からテーパ状に広がる内面および外面を有し、前記締付部側当接部は、前記ナット側当接部の前記内面と摺接可能な締付片と、前記ナット側当接部の前記外面と摺接可能な離隔片と、を有することを特徴とする。
これによると、締付部開閉構造によって、一対の締付部を互いに接近させて電極保持部を強制的に縮径させることができるとともに、一対の締付部を互いに離間させて電極保持部を強制的に拡径させることができる。また、締付部開閉構造は、締付部とナットとの互いに対向する部分にそれぞれ形成されているため、部品点数が少なく、取付け作業が容易である。さらに、締結具として汎用性の高いボルトを用いることで、コストを低減することができる。
また、ボルトは、一対の締付部の間に挿入され、電極保持部にバッテリポストを挿入する方向と、ボルトの挿入方向とが同一方向であるため、取付け作業性に優れている。また、ボルトを緩めることで、電極保持部を拡径できるので、取外し作業が容易になり、取外し作業においてバッテリポストが削れて傷づくのを防止することができる。また、これによると、ボルトを進移動させた場合に、締付部側当接部の締付片をナット側当接部の内面に摺接させて各締付部を接近させることができる。また、ボルトを退移動させた場合に、締付部側当接部の離隔片をナット側当接部の外面に摺接させて各締付部を離間させることができる。
また、請求項2に記載のバッテリターミナルは、上記の発明において、前記ボルトは、前記一対の締付部の間で軸中心に回転可能となるように前記ターミナル本体に取付けられることを特徴とする。
これによると、ボルトがターミナル本体に取付けられているため、組み付け作業が容易である。また、ボルトの退移動により一対の締付部をナットから離隔させることができるので、取外し作業が容易である。
また、請求項に記載のバッテリターミナルは、上記の発明において、前記ナットは、前記電極保持部の軸方向となる上下方向において前記一対の締付部の下方に配置され、前記一対の締付部は、互いに対向する一対のボルト当接部を有し、前記締付片は、前記一対のボルト当接部の対向内側端から下方へ突出し、前記離隔片は、前記一対のボルト当接部の対向外側端から下方へ突出することを特徴とする。

これによると、ボルト当接部によって締付部とボルトとの接触面積を広くし、ボルトの軸力を締付片と離隔片とに適切に作用させることができる。
本発明に係るバッテリターミナルによれば、部品点数を増加することなく、電極保持部を縮径および拡径することができる。
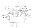
本発明に係るバッテリターミナルの斜視図。 図1に示すバッテリターミナルの分解斜視図。 図1に示すターミナル本体およびボルトの側面図。 図1に示すバッテリターミナルの正面図。 バッテリターミナルにおいてボルトを締付けた状態を示す正面図。 バッテリターミナルにおいてボルトを緩めた状態を示す正面図。 バッテリターミナルの他の例を示す分解斜視図。
図1は、本発明に係るバッテリターミナル1の斜視図であり、図2は、バッテリターミナル1の分解斜視図である。バッテリターミナル1は、バッテリポスト2に取付けられるターミナル本体10と、ボルト(第1締結具)30と、ナット(第2締結具)40と、を備える。
ターミナル本体10は、バッテリポスト2に取付けられる電極保持部11と、電極保持部11から延出する一対の締付部12とを有する。
電極保持部11は、断面が略C字状である有端略環状であって、バッテリポスト2の外周を取り囲むように筒状に延びている。
一対の締付部12は、電極保持部11の両端(略C字状の断面における両開放端)のそれぞれから径方向外方へ延出しており、電極保持部11の軸方向(すなわち、バッテリポストの軸方向)となる高さ方向(上下方向)に直交する幅方向において互いに対向している。各締付部12は、電極保持部11と連なる連結部21と、連結部21の先端に設けられるボルト当接部22と、ボルト当接部22と連なって形成される締付部側当接部25とを有する。
図2及び図3に示すように、各連結部21は、板状であって、電極保持部11の各開放端から締付部12の延出方向(高さ方向および幅方向と直交する奥行方向)へ延びており、電極保持部11の上端から径外方へ延出する上端縁21aと、電極保持部11の下端から該上端縁21aの先端へ向かって傾斜して延びる下端縁21bとによって形成された略三角形状をなす。
ボルト当接部22は、連結部21の先端に形成されており、高さ方向に対して直交する方向へ広がる平板状をなす。各ボルト当接部22は、幅方向において並設されており、奥行方向へ延びる内端(対向内側端)22aおよび外端(対向外側端)22bを有する。各ボルト当接部22の内端22aであって幅方向において互いに対向する面には、後述する連動部材35を嵌入するための凹溝27が形成されている。
締付部側当接部25は、後述するナット側当接部42とともに、締付部開閉構造を構成する部位である。締付部側当接部25は、締付片23と、離隔片24とを有する。
締付片23は、各締付部12を閉方向、すなわち、互いに接近する方向へ移動させるための部位である。締付片23は、ボルト当接部22の内端22aから下方へ突出し、かつ内端22aに沿って奥行方向へ延びる板状をなす。
離隔片24は、各締付部12を開方向、すなわち、互いに離間する方向へ移動させるための部位である。離隔片24は、ボルト当接部22の外端22bから下方へ突出し、かつ外端22bに沿って奥行方向へ延びる板状をなす。各離隔片24の下端24aは、幅方向内側に向かって屈曲している。
ボルト30は、一対の締付部20の間に挿入されて、ナット40と螺合するものである。本実施形態においてボルト30は、頭部31の下方に円形のフランジ32を有するフランジ付ボルトである。ボルト30の周面であって、フランジ32と螺子部(締結軸)33との間には、周方向に沿って凹溝34が形成されている。
ボルト30は、連動部材35を介してターミナル本体10の一対の締付部20に取付けられる。本実施形態において連動部材35は、C字状のリング部材であり、該リング部材は、ボルト30の凹溝34と、各締付部12の凹溝27との間に嵌装される。これにより、ボルト30と各締付部12とは、上下方向における相対移動が規制される。また、該リング部材は、各締付部12の接近にともなって縮径し、各締付部12が離間すると自身の復元力により拡径する。
ナット40は、雌螺子部41と、ナット側当接部(締結具側当接部)42とを有する。雌螺子部41は、柱状であって、その軸心が位置する中央部に挿入孔(螺子孔)を有する。
ナット側当接部42は、挿入孔を囲むナット40の両側に対を成すように形成されており、両側から上方(ボルト30を挿入する側)に向かってテーパ状に広がる内面42aおよび外面42bを有する。本実施形態において、雌螺子部41は四角柱状であり、一対のナット側当接部42は、雌螺子部41の周面において互いに対向する両側面からテーパ状に広がっている。
図1、図3および図4に示すように、ナット側当接部42と各締付部12のボルト当接部22とを上下方向において対向させた状態において、各締付片23は、ナット側当接部42の内面42aと摺接可能であり、各離隔片24は、ナット側当接部42の外面42bと摺接可能である。なお、図3では、ナット40を仮想線で示している。特に、ナット側当接部42の内面42aおよび外面42bは、各締付片23の下端23aが奥行方向の全域に亘って内面42aと摺接可能となり、各離隔片24の下端24aが奥行方向の全域に亘って外面42bと摺接可能となるような表面形状であることが好ましい。
次に、上述したバッテリターミナル1のバッテリポスト2への取付け工程を説明する。
まず、ナット40のナット側当接部42が各締付部12と対向するように、ナット40を一対の締付部12の下方へ配置した状態で、ターミナル本体10の電極保持部11をターミナルポスト2に取付ける(図4参照)。このとき、ボルト30は、一部がナット40の雌螺子部41に螺合されているが、一対の締付部12とナット40とは互いに離間している。
ボルト30を締付けて相対的に進移動させる(下方へ移動させる)と、ボルト30の移動に連動して一対の締付部12が下方へ移動する(図5参照)。すると、ナット側当接部42の内面42aに、締付部側当接部25の締付片23が当接し、さらにボルト30を締付けると、締付片23は、内面42aに沿って摺接しながら下方へ移動する。このとき、各締付片23は、ナット側当接部42の内面42aによって互いに接近する方向へ押圧される。
これにより、一対の締付部12は互いに接近するように変位し、電極保持部11の両端の間の距離が縮まって、電極保持部11が縮径し、バッテリポスト2に密着する。
次に、バッテリターミナル1の取外し工程を説明する。
図5に示す締付状態にあるボルト30を緩めて退移動させる(上方へ移動させる)と、ボルト30の移動に連動して一対の締付部12が上方へ移動する。すると、ナット側当接部42の外面42bに当接した各締付部12の離隔片24は、外面42bに沿って摺接しながら上方へ移動する(図6参照)。このとき、各離隔片24は、ナット側当接部42の外面42bによって互いに離間する方向へ押圧され、これにより、一対の締付部12は互いに離間するように変位する。その結果、電極保持部11の両端の間の距離が広がり、電極保持部11が拡径する。
なお、本実施形態において各締付部12は、ナット側当接部42と離隔片24とによる締付部開構造(電極保持部11を拡径させる構造)に加え、連動部材35の復元力によって互いに離間するように変位する。
上述のとおり、本実施形態のバッテリターミナル1は、締付部側当接部25とナット側当接部42とによる締付部開閉構造によって、一対の締付部12を互いに接近、離間させて電極保持部11を強制的に縮径、拡径させることができる。
従来のバッテリターミナルであって、締付部開閉構造のうち、締付部閉構造(電極保持部を縮径させる構造)のみを有するバッテリターミナルでは、電極保持部の縮径状態が維持されると、経時劣化によって各締付部の復元性が低下し、ボルトを緩めた際に、各締付部が離間せず、バッテリポストから電極保持部を容易に外すことができない。このような状態において、作業者が無理やり電極保持部を取り外そうとすると、バッテリポストが傷ついて摩耗が生じてしまう。
本実施形態のバッテリターミナル1では、ボルト30を緩めた際に、締付部側当接部25の離隔片24をナット側当接部42の外面42bに沿って移動させることで、各締付部12を離間させることができる。そのため、バッテリポスト2を傷つけることなく、バッテリポスト2から電極保持部11を容易に取り外すことができる。
また、本実施形態のバッテリターミナル1において、締付部開閉構造は、各締付部12とナット40とにおいて、互いに対向する部分にそれぞれ形成されており、ターミナル本体10、ボルト30およびナット40以外に、各締付部12を接近、離間させるための複雑な形状を有する部材を別途必要としない。そのため、本実施形態のバッテリターミナル1は、部品点数が少なく、取付け作業が容易である。
さらに、ボルト30は、一対の締付部12の間で軸中心に回転可能となるように、連動部材35を介してターミナル本体10に取付けられており、ボルト30の一部をナット40に螺合した状態で、バッテリポスト2に電極保持部11を嵌装させることができるため、組み付けが容易である。また、ボルト30を緩めた場合には、ボルト30とともに一対の締付部12をナット40から離間させることができるので、取外し作業やナット40の交換を容易に行うことができる。
また、各締付部12は、ボルト30と広面積で接触可能なボルト当接部22を有しているため、ボルト30の軸力を締付片23と離隔片24とに適切に作用させ、各締付部12を接近、離間させることができる。さらに、締付片23と離隔片24とは奥行方向へ延びており、その下端23a,24aは、奥行方向の全域に亘ってナット側当接部42に当接されるので、締付部側当接部25とナット側当接部42との接触面積が広くなり、ボルト30の軸力を締付部開閉構造へ効率よく伝達することができる。
また、ボルト30の締付方向(ターミナル本体10に対するボルト30の進退移動方向)が、バッテリポスト2の軸方向(電極保持部11の軸方向)と同一方向となっているため、ボルト30の締緩作業がしやすく、作業性に優れている。バッテリポストの軸方向に対して直交する方向(幅方向)からボルトを締結する場合、締付部の閉構造を簡易にすることができるが、ボルトの締緩作業の際に、電動工具等がバッテリポストや周辺部品と干渉してしまい、作業性が低下してしまう。また、バッテリポストの軸方向に対して傾斜する方向からボルトを締結する場合、ボルトの締付力(軸力)によって電極保持部を縮径するための十分な固縛力を得ることが難しくなり、ボルトが緩みやすくなる。本実施形態のバッテリターミナル1では、かかる事態をなくしてボルト30の緩みを防止することができるとともに、ボルト30の締緩作業がしやすく、作業性に優れている。
なお、本発明は上述した実施形態に限定されるものではなく、発明の趣旨を逸脱しない範囲で種々の変更が可能である。例えば、締付片23とナット側当接部42の内面42aとの接触面積を広くするために、締付片23の下端23aの表面を内面42aと密接可能な傾斜面状にしてもよい。
また、図7に示すように、バッテリターミナル1は、ボルト30に代えて、締結軸51とレバー52(締結軸51を軸方向へ移動させる移動手段)とを有する第1連結具50を備える構成であってもよい。図7に示す例において、第1連結具50は、カム機構を有するカムクランプであって、締結軸51と、締結軸51の上端に基端部が連結されたレバー52と、締結軸51の上部に取付けられ、レバー52の基端部と当接した状態で締結軸51に沿って移動可能なプレート53と、プレート53の下方に位置して締結軸51に螺合された、オプションとしての調整螺子54とを有している。レバー52の基端部には、カムシャフト56と、カム57とからなるカム機構が設けられている。なお、図7において第1連結具50と係合する第2連結具40は、図1〜6に示すナット40と同様の構成であるため、ここでは説明を省略する。第1締結具50は、締結軸51が第2連結具40の挿入孔に係合した状態において、レバー52を下方へ移動させる(プレート53を押し下げる)ことにより、各締付部12を接近させることができ、レバー53を上方へ移動させる(図7において仮想線で示す状態にする)ことにより、各締付部12を離間させることができる。
以上、本発明者によってなされた発明を適用した実施形態について説明したが、この実施形態による本発明の開示の一部をなす論述および図面により、本発明が限定されることはない。すなわち、この実施形態に基づいて当業者等によりなされる他の実施形態、実施例および運用技術等は全て本発明の範疇に含まれることは勿論であることを付け加えておく。
1 バッテリターミナル
2 バッテリポスト
10 ターミナル本体
11 電極保持部
12 締付部
22 ボルト当接部
23 締付片
24 離隔片
25 締付部側当接部
30 ボルト(第1締結具)
40 ナット(第2締結具)
41 雌螺子部
42 ナット側当接部(締結具側当接部)
42a ナット側当接部の内面
42b ナット側当接部の外面
50 第1締結具

Claims (3)

  1. バッテリポストの周りを囲む有端略環状の電極保持部および該電極保持部の両端からそれぞれ延出した一対の締付部を有するターミナル本体と、前記一対の締付部の間に挿入されるボルトと、該ボルトと螺合可能なナットと、を備え、螺合状態での前記ナットに対する前記ボルトの進退移動によって、前記一対の締付部を接近、離間させる締付部開閉構造を備えるバッテリターミナルにおいて、
    前記締付部開閉構造は、
    前記締付部と前記ナットとのそれぞれにおいて互いに対向する部分に形成されており、前記ボルトの進退移動の際に互いに当接状態を保つ締付部側当接部およびナット側当接部からなり、
    前記締付部側当接部および前記ナット側当接部は、
    前記ボルトの進移動によって前記一対の締付部を接近方向に移動させ、前記ボルトの退移動によって前記一対の締付部を離間方向に移動させる形状を備え
    前記ナット側当接部は、前記ナットの両側からテーパ状に広がる内面および外面を有し、
    前記締付部側当接部は、前記ナット側当接部の前記内面と摺接可能な締付片と、前記ナット側当接部の前記外面と摺接可能な離隔片と、を有することを特徴とするバッテリターミナル。
  2. 前記ボルトは、前記一対の締付部の間で軸中心に回転可能となるように前記ターミナル本体に取付けられることを特徴とする請求項に記載のバッテリターミナル。
  3. 前記ナットは、前記電極保持部の軸方向となる上下方向において前記一対の締付部の下方に配置され、
    前記一対の締付部は、互いに対向する一対のボルト当接部を有し、
    前記締付片は、前記一対のボルト当接部の対向内側端から下方へ突出し、
    前記離隔片は、前記一対のボルト当接部の対向外側端から下方へ突出することを特徴とする請求項1または2に記載のバッテリターミナル。
JP2015181548A 2015-09-15 2015-09-15 バッテリターミナル Active JP6596281B2 (ja)

Priority Applications (1)

Application Number Priority Date Filing Date Title
JP2015181548A JP6596281B2 (ja) 2015-09-15 2015-09-15 バッテリターミナル

Applications Claiming Priority (1)

Application Number Priority Date Filing Date Title
JP2015181548A JP6596281B2 (ja) 2015-09-15 2015-09-15 バッテリターミナル

Publications (2)

Publication Number Publication Date
JP2017059338A JP2017059338A (ja) 2017-03-23
JP6596281B2 true JP6596281B2 (ja) 2019-10-23

Family

ID=58391004

Family Applications (1)

Application Number Title Priority Date Filing Date
JP2015181548A Active JP6596281B2 (ja) 2015-09-15 2015-09-15 バッテリターミナル

Country Status (1)

Country Link
JP (1) JP6596281B2 (ja)

Families Citing this family (6)

* Cited by examiner, † Cited by third party
Publication number Priority date Publication date Assignee Title
CN110473994B (zh) * 2018-05-10 2022-11-18 上海海拉电子有限公司 一种车载蓄电池的电瓶栓
CN108749577B (zh) * 2018-06-29 2020-07-24 安徽江淮汽车集团股份有限公司 蓄电池接头盖罩组件
CN212626084U (zh) * 2020-07-31 2021-02-26 长春捷翼汽车零部件有限公司 一种电瓶栓端子
CN114759316B (zh) * 2022-05-07 2024-03-08 浙江天能电池江苏新能源有限公司 一种实现一次对中进行极柱帽拆除并铣极柱的方法
DE102023203243A1 (de) * 2023-03-21 2024-09-26 Continental Automotive Technologies GmbH Spanneinrichtung für eine Batteriepolklemme und Batteriepolklemme
DE202023105481U1 (de) * 2023-09-20 2025-01-09 WAGO Verwaltungsgesellschaft mit beschränkter Haftung Batterieanschlussklemme und Vorrichtung mit einem Batteriepol und einer Batterieanschlussklemme

Family Cites Families (7)

* Cited by examiner, † Cited by third party
Publication number Priority date Publication date Assignee Title
JPS567278U (ja) * 1979-06-29 1981-01-22
ES2071144T3 (es) * 1990-04-07 1995-06-16 Hausen Auto Kabel Gmbh & Co Kg Borne de conexion para acumulador o similar.
JP3265983B2 (ja) * 1996-04-22 2002-03-18 矢崎総業株式会社 バッテリターミナル
JP3180723B2 (ja) * 1997-07-01 2001-06-25 住友電装株式会社 バッテリーターミナル
JP3180722B2 (ja) * 1997-07-01 2001-06-25 住友電装株式会社 バッテリーターミナル
JP4082561B2 (ja) * 2001-12-19 2008-04-30 矢崎総業株式会社 バッテリーターミナル
CN105009327B (zh) * 2013-02-20 2017-12-08 古河电气工业株式会社 蓄电池极柱端子的固定结构

Also Published As

Publication number Publication date
JP2017059338A (ja) 2017-03-23

Similar Documents

Publication Publication Date Title
JP6596281B2 (ja) バッテリターミナル
EP2940362B1 (en) Bell and spigot type pipe joint, mounting and dismounting methods thereof, mounting clamp and dismounting tool
EP0171752B1 (en) Apparatus for mounting a wheel cap
JP2013024423A (ja) 回転防止機能を有する機能要素および該機能要素とシート金属部材とを備える部品アセンブリ
KR20120127501A (ko) 클램프 보조 부재 및 그 클램프 보조 부재를 구비한 절삭 공구
JP2009115166A (ja) 締結装置
US20240416492A1 (en) Torque rod press tools, systems, and methods
KR102304628B1 (ko) 클램프 장치의 클램프 암의 착탈 장치
TW201311378A (zh) 動力工具用岩心鑽頭組
JP2019090301A (ja) シールドセグメント用継手部材
KR200485251Y1 (ko) 관 연결장치
KR20140050376A (ko) 방전가공용 전극을 고정하는 지그결합체 및 이를 이용한 방전가공용 전극과 nc가공장치용 지그의 결합구조
KR20140104884A (ko) 방전가공용 전극을 고정하는 지그결합체 및 이를 이용한 방전가공용 전극과 nc가공장치용 지그의 결합구조
JP6213325B2 (ja) 雄螺子
JP4942424B2 (ja) 回転工具の着脱装置
JP2012017838A (ja) ガスステー用ボールジョイント
JPWO2010089894A1 (ja) 差込ワッシャー
KR101520479B1 (ko) 방전가공용 전극을 고정하는 지그결합체 및 이를 이용한 방전가공용 전극과 방전가공장치용 지그의 결합구조
CN103711781A (zh) 螺柱铆接结构
JP2016136056A (ja) ナットの脱落防止機構
JP5903090B2 (ja) 自在電線接続体
JP2003311568A (ja) 締結装置
JP6618742B2 (ja) ブレード固定構造
JP5455075B2 (ja) 押輪用心出し具
JP2013124701A (ja) ナット及びナット締め付け具

Legal Events

Date Code Title Description
A621 Written request for application examination

Free format text: JAPANESE INTERMEDIATE CODE: A621

Effective date: 20180621

A131 Notification of reasons for refusal

Free format text: JAPANESE INTERMEDIATE CODE: A131

Effective date: 20190521

A977 Report on retrieval

Free format text: JAPANESE INTERMEDIATE CODE: A971007

Effective date: 20190522

A521 Request for written amendment filed

Free format text: JAPANESE INTERMEDIATE CODE: A523

Effective date: 20190719

TRDD Decision of grant or rejection written
A01 Written decision to grant a patent or to grant a registration (utility model)

Free format text: JAPANESE INTERMEDIATE CODE: A01

Effective date: 20190903

A61 First payment of annual fees (during grant procedure)

Free format text: JAPANESE INTERMEDIATE CODE: A61

Effective date: 20190930

R150 Certificate of patent or registration of utility model

Ref document number: 6596281

Country of ref document: JP

Free format text: JAPANESE INTERMEDIATE CODE: R150

R250 Receipt of annual fees

Free format text: JAPANESE INTERMEDIATE CODE: R250

R250 Receipt of annual fees

Free format text: JAPANESE INTERMEDIATE CODE: R250

R250 Receipt of annual fees

Free format text: JAPANESE INTERMEDIATE CODE: R250

R250 Receipt of annual fees

Free format text: JAPANESE INTERMEDIATE CODE: R250