JP6589822B2 - 洗車機 - Google Patents

洗車機 Download PDF

Info

Publication number
JP6589822B2
JP6589822B2 JP2016215496A JP2016215496A JP6589822B2 JP 6589822 B2 JP6589822 B2 JP 6589822B2 JP 2016215496 A JP2016215496 A JP 2016215496A JP 2016215496 A JP2016215496 A JP 2016215496A JP 6589822 B2 JP6589822 B2 JP 6589822B2
Authority
JP
Japan
Prior art keywords
car wash
wash machine
base
wall
roller
Prior art date
Legal status (The legal status is an assumption and is not a legal conclusion. Google has not performed a legal analysis and makes no representation as to the accuracy of the status listed.)
Active
Application number
JP2016215496A
Other languages
English (en)
Other versions
JP2018070069A (ja
Inventor
淳盛 西濱
淳盛 西濱
Current Assignee (The listed assignees may be inaccurate. Google has not performed a legal analysis and makes no representation or warranty as to the accuracy of the list.)
Daifuku Co Ltd
Original Assignee
Daifuku Co Ltd
Priority date (The priority date is an assumption and is not a legal conclusion. Google has not performed a legal analysis and makes no representation as to the accuracy of the date listed.)
Filing date
Publication date
Application filed by Daifuku Co Ltd filed Critical Daifuku Co Ltd
Priority to JP2016215496A priority Critical patent/JP6589822B2/ja
Publication of JP2018070069A publication Critical patent/JP2018070069A/ja
Application granted granted Critical
Publication of JP6589822B2 publication Critical patent/JP6589822B2/ja
Active legal-status Critical Current
Anticipated expiration legal-status Critical

Links

Images

Landscapes

  • Vehicle Cleaning, Maintenance, Repair, Refitting, And Outriggers (AREA)

Description

本発明は、前後方向に延びるガイドレールに案内される洗車具を備えた洗車機に関する。
給油所等に設置される従来の洗車機は特許文献1に開示されている。この洗車機は地面に立設して被洗浄車両を跨ぐ門型の洗車機本体を備えている。洗車機本体は前後方向に並設された一対のフレームを有し、前後のフレームの上部には左右一対のガイドレールが橋架される。
ガイドレールはモータ駆動される複数の車輪を有した走行体を前後方向に案内する。走行体には噴射ノズル(洗車具)が設けられ、噴射ノズルから高圧水や洗剤を噴射して被洗浄車両の洗浄が行われる。
特開2011−156991号公報
しかしながら、上記従来の洗車機によると、ガイドレール内で車輪の滑りが生じて噴射ノズルが所望の位置に配置されず、洗浄力が低下する問題があった。
本発明は、洗浄力を向上できる洗車機を提供することを目的とする。
上記目的を達成するために本発明は、被洗浄車両を跨ぐ洗車機本体と、前記洗車機本体の上部に配された前後方向に延びる左右一対のガイドレールと、前記洗車機本体に支持される前後一対のスプロケットと、一方の前記スプロケットに連結される案内モータと、前記スプロケットに巻回されるチェーンと、前記チェーンに取り付けられる基台と、前記基台に軸支して前記ガイドレール上を転動する複数のローラと、前記基台に取り付けられて被洗浄車両の洗浄または乾燥を行う洗車具とを備え、前記チェーンが前記基台の左右の端部の片方のみに取り付けられ、前記ガイドレールにより覆われることを特徴とする。
また、本発明は上記構成の洗車機であって、前記基台に取り付けて前後方向に延びるアームを備えるとともに、前記洗車具が前記洗車機本体の入口面から突出する前記アームの先端に取り付けられ、前記ローラが前記基台の前記入口面側の端部のみに配される左右一対の下ローラと、前記基台の前記入口面の反対側の端部のみに配される左右一対の上ローラとを有し、前記ガイドレールの上壁の下面を前記上ローラが転動して下壁の上面を前記下ローラが転動することを特徴とする。
また、本発明は上記構成の洗車機であって、前記ガイドレールが前記上壁の一端と前記下壁の一端とを連結する第1側壁を有するとともに、前記ローラが前記第1側壁の内面を転動するサイドローラを有し、前記上壁が所定位置に配される開口部と、前記開口部を開閉する蓋部とを有することを特徴とする。
また、本発明は上記構成の洗車機であって、洗車時に前記洗車具が前記入口面に接近した待機位置と前記入口面から離れた終端位置との間を移動し、前記洗車具が前記終端位置に配された際に、前記上ローラが前記開口部に対して前記入口面の反対側に配されることを特徴とする。
また、本発明は上記構成の洗車機であって、少なくとも一方の前記ガイドレールが前記第1側壁に対向して前記サイドローラが転動する第2側壁を有し、複数の前記サイドローラが前記基台の左右方向の前記チェーンと同じ側のみに前後方向に並設して配されることを特徴とする。
また、本発明は上記構成の洗車機であって、前記ガイドレールが前記下壁の他端から下方に延びたL字状の支持部を有し、前記下壁と前記支持部の底壁との間に前記基台と反対方向に移動する前記チェーンを配したことを特徴とする。
また、本発明は上記構成の洗車機であって、前記支持部の底壁上に前後方向に延びる樹脂板を設けたことを特徴とする。
本発明の洗車機によると、洗車具を取り付けた基台にガイドレール上を転動するローラが軸支され、基台の左右の端部の片方のみに取り付けられるチェーンがガイドレールにより覆われる。これにより、チェーンの周回により基台が前後方向に案内され、確実に洗車具を所望の位置に配置することができる。従って、洗車機の洗浄力を向上することができる。また、チェーンが左右の片方のみに取り付けられるため、部品点数を削減することができる。さらに、チェーンをガイドレールで覆うので、チェーンに対する汚れの付着を防止できる。
本発明の実施形態の洗車機を示す側面図 本発明の実施形態の洗車機を示す斜視図 本発明の実施形態の洗車機を示す上面図 図3のA−A断面図 本発明の実施形態の洗車機の基台の概略側面図 本発明の実施形態の洗車機により被洗浄車両を洗車する状態を示す側面図 本発明の実施形態の洗車機により被洗浄車両を洗車する状態を示す側面図 本発明の実施形態の洗車機により被洗浄車両を洗車する状態を示す側面図 本発明の実施形態の洗車機により被洗浄車両を洗車する状態を示す側面図 本発明の実施形態の洗車機により被洗浄車両を洗車する状態を示す側面図 本発明の実施形態の洗車機により被洗浄車両を洗車する状態を示す側面図
以下に図面を参照して本発明の実施形態を説明する。図1、図2は本発明の一実施形態の洗車機WAを示す側面図及び正面図である。洗車機WAはリモートパネル7及び洗車機本体1を備えている。
リモートパネル7は被洗浄車両CAの進入経路S上に配される。被洗浄車両CAはリモートパネル7の面前で停車し、ユーザは被洗浄車両CA内からリモートパネル7の操作によって洗車条件の設定を行う。
リモートパネル7に設けたボタンにより、シャンプー、ワックス掛け、撥水コート等に使用する液剤を用いた洗車条件を設定することができる。また、フロントガード有り、フェンダーポール有り、サイドミラー有り、リヤワイパ有り、ルーフキャリア有り等の装備品の設定もすることができる。
洗車機本体1は左右の対向する2つのスタンド部90と、スタンド部90の上端を連結する天井部91とを有し、被洗浄車両CAを跨ぐ門型に形成される。地面G上には左右一対の走行レール2が敷設され、スタンド部90の底面に設けた車輪3が走行レール2上に配される。これにより、洗車機本体1は走行レール2上に立設し、走行モータ(不図示)の駆動により走行レール2上を走行して被洗浄車両CAに対して前後に移動する。
スタンド部90には洗剤やワックス等の各種液剤を貯液した複数の貯液タンク(不図示)を収納するタンク収納部30が配される。タンク収納部30の上方には市水及び各貯液タンクからの液剤を分配する分配配管部31が設けられる。分配配管部31には浄水ノズル11、浄水ノズル13、洗剤ノズル12、洗剤ノズル15、撥水コートノズル14、ワックスノズル16がそれぞれ電磁弁(不図示)を介して導出される。
浄水ノズル11、浄水ノズル13は洗車機本体1の手前側及び奥側にそれぞれ配され、被洗浄車両CAに対して市水を噴射する。洗剤ノズル12、洗剤ノズル15は洗車機本体1の手前側及び奥側にそれぞれ配され、被洗浄車両CAに対してシャンプーなどの液体を噴射する。撥水コートノズル14及びワックスノズル16は洗車機本体1の出口面1bに配される。撥水コートノズル14は被洗浄車両CAに対して撥水コート剤の液体を噴射する。ワックスノズル16は被洗浄車両CAに対して液体のワックスを噴射する。
洗車機本体1の一方のスタンド部90の入口面1aには操作パネル8が配される。操作パネル8はリモートパネル7と同様の操作ボタン(不図示)を備え、洗車条件を設定する。
洗車機本体1には気流を発生して被洗浄車両CAを乾燥させるブロア20が設けられる。ブロア20にはサイド送風ノズル22及びトップ送風ノズル23が接続される。サイド送風ノズル22は被洗浄車両CAの側面に向けて送風し、トップ送風ノズル23は被洗浄車両CAの上面に向けて送風する。
洗車機本体1には被洗浄車両CA上に摺動してブラッシングするトップブラシ4、サイドブラシ5及びロッカーブラシ6から成る複数の回転ブラシが設けられる。トップブラシ4は被洗浄車両CAの上面を洗浄し、サイドブラシ5は被洗浄車両CAの側面及び後面を洗浄し、ロッカーブラシ6は被洗浄車両CAの側面下部を洗浄する。
洗車機本体1の両側のスタンド部90の入口面1aには形状センサ9が設けられている。形状センサ9は光電センサや超音波センサ等から成り、洗車機本体1に進入する被洗浄車両CAの外面形状を検知する。また、洗車機本体1には報知部(不図示)が設けられる。報知部はスピーカやディスプレイから成り、音声や表示による報知を行う。
洗車機本体1の天井面1cには上面洗浄装置52が設けられる。図3は洗車機本体1の上面図を示し、図4は図3のA−A断面図を示す。
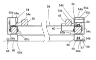
上面洗浄装置52はガイドレール54、基台58、アーム55及び噴射部53を有している。ガイドレール54は前後方向に延びて洗車機本体1の天井面1cに左右一対設けられる。ガイドレール54は上壁54a、側壁54c、54d、下壁54b及び支持部66を有し、縦断面形状がS字型に形成される。
上壁54aと下壁54bとは平行に配され、側壁54cにより上壁54aの外側の一端と下壁54bの外側の一端とが連結される。側壁54dは上壁54aの他端から垂下され、側壁54cに対向して平行に配される。側壁54dと下壁54bとの間には開口部54eが設けられる。
支持部66は下壁54bの他端から下方に延びてL字状に形成される。支持部66の底壁66aをネジ68により洗車機本体1にネジ止めし、ガイドレール54が固定される。底壁66a上にはネジ68の側方に前後方向に延びる樹脂板67が設けられる。
また、一方(被洗浄車両CAの進入方向から見て右側)の上壁54aには蓋部54gにより塞がれた開口部54f(図5参照)が設けられる。
アーム55は前後方向に延びて左右一対設けられ、洗車機本体1の入口面1aから突出して下方に向かって傾斜して屈曲する。両アーム55は出口面1b側を基台58により連結され、入口面1a側を噴射部53により連結される。
噴射部53はアーム55の下方に屈曲した先端部に取り付けられるカバー57により覆われる。カバー57の上面は傾斜面57a(図1参照)により形成される。これにより、カバー57上に積雪し難くなり、降雪時でもアーム55を円滑に移動させることができる。
噴射部53の下面には左右方向に複数の噴射ノズル59(洗車具)及び噴射ノズル60(洗車具)が並設されている。噴射ノズル59、噴射ノズル60はホース(不図示)を介して分配配管部31に接続され、高圧水W1(図6参照)や泡状の泡状液剤W2(図10参照)等の洗浄液を噴射可能に形成されている。
基台58には上ローラ65a、下ローラ65b及びサイドローラ65cが軸支される。上ローラ65aは水平な回転軸を有して基台58の上面に取り付けられ、ガイドレール54の上壁54aの下面上を転動する。下ローラ65bは水平な回転軸を有して基台58の下面に取り付けられ、ガイドレール54の下壁54bの上面上を転動する。
上ローラ65aは基台58の入口面1aの反対側の端部のみに左右一対設けられる。下ローラ65bは基台58の入口面1a側の端部のみに左右一対設けられる。これにより、上ローラ65a及び下ローラ65bを削減し、アーム55及び噴射部53の自重により入口面1a側を下方に加重される基台58を支持することができる。
サイドローラ65cは鉛直な回転軸を有して基台58の上面に取り付けられ、側壁54cの内面上及び側壁54dの内面上を転動する。また、サイドローラ65cは基台58の左右の端部の片方のみに前後方向に並設して配される。
図5は基台58の駆動装置の概略側面図を示している。ガイドレール54間には水平な回転軸を有した前後一対のスプロケット61a、61bが配される。出口面1b側のスプロケット61aは洗車機本体1に設置した案内モータ63(図3参照)のモータ軸63aに連結される。入口面1a側のスプロケット61bは洗車機本体1に支持される。
スプロケット61a及びスプロケット61bには基台58を取り付けられたチェーン64が巻回される。案内モータ63が駆動されるとチェーン64が周回し、基台58がガイドレール54の案内により前後方向に移動する。
チェーン64は基台58の左右の端部の片方のサイドローラ65cと同じ側のみに配される。これにより、チェーン64の基台58と同じ方向に移動する運び側(上側)がガイドレール54の上壁54a、下壁54b及び側壁54cにより覆われる。また、チェーン64の基台58と反対方向に移動する戻り側(下側)がガイドレール54の下壁54b及び支持部66により覆われる。このため、チェーン64に対する汚れの付着を低減することができる。また、支持部66の底壁66a上の樹脂板67によってチェーン64が伸びた際に底壁66aとの接触による摺動摩耗を防止することができる。
また、チェーン64とサイドローラ65cとが基台58の左右方向の同じ側に配されるため、サイドローラ65cがチェーン64に近接する。このため、基台58を安定して前後に案内することができる。
また、上ローラ65a及びサイドローラ65cは基台58から取り外して開口部54fを介して容易に交換することができる。下ローラ65bは基台58から取り外して開口部54e(図4参照)を介して容易に交換することができる。この時、上ローラ65a及び下ローラ65bが前後の一方のみに配されるため、基台58の入口面1a側を持ち上げて下ローラ65bを容易に取り出すことができる。
案内モータ63が駆動されるとアーム55が前後方向に移動する。これにより、アーム55の先端に設けられる噴射部53は洗車機本体1に近接する待機位置S1(図6参照)と、洗車機本体1から被洗浄車両CAの後方に向かってアーム55が伸びた終端位置S2(図7参照)との間を移動する。
噴射部53が終端位置S2に配された際に、上ローラ65aが開口部54fに対して出口面1b側(入口面1aの反対側)に配される。このため、上ローラ65aが上壁54aと蓋部54gとの段差を通らないので、基台58を円滑に移動できる。なお、上ローラ65aの交換時には洗車スタッフの所定の操作により終端位置S2を超えて噴射部53を移動させることができる。
上記構成の洗車機WAにおいて、ユーザが運転して被洗浄車両CAをリモートパネル7の面前で停車させ、被洗浄車両CAの洗車条件の設定を被洗浄車両CA内から行う。洗車条件を設定した後、ユーザは洗車機本体1により洗車が開始可能な位置まで被洗浄車両CAを移動させる。
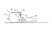
図6〜図11は上面洗浄装置52により被洗浄車両CAを洗車する状態を示す側面図である。図6に示すように、被洗浄車両CAが所定の洗車開始位置T1に配されると、噴射ノズル59から高圧水W1が噴射される第1往路工程が開始する。第1往路工程の開始時に噴射部53は待機位置S1に配される。
この時、噴射ノズル59は噴射ノズル60と一体に左右方向に揺動しながら、高圧水W1を下方に向けて噴射する。そして、図7に示すように、アーム55が伸長して噴射部53が矢印D1の方向に被洗浄車両CAの後方に向かって移動する。
噴射ノズル59が終端位置S2まで移動すると、図8示すように洗車機本体1は洗車開始位置T1から矢印D2の方向に被洗浄車両CAの後方に向かって移動する。この時、形状センサ9により被洗浄車両CAの形状が検知される。
噴射ノズル59を洗車機本体1から離れた終端位置S2に配した後に形状センサ9による検知を行うため、形状センサ9に対して検知時の高圧水W1の付着を低減できる。これにより、形状センサ9による誤検知を防止することができる。
図9示すように、形状センサ9により被洗浄車両CAの後端位置が検知されると、洗車機本体1は停止して洗車終了位置T2に配される。
洗車機本体1は洗車終了位置T2で反転し、図10に示すように矢印D3の方向に被洗浄車両CAの前方に向かって移動して第1復路工程が行われる。第1復路工程では噴射ノズル60は左右方向に揺動しながら、噴射ノズル60から泡状の泡状液剤W2が噴射される。
図11示すように、洗車機本体1は洗車終了位置T2から洗車開始位置T1まで移動した後に停止する。この間、噴射ノズル60は洗車機本体1から離れた終端位置S2に配された状態で泡状の泡状液剤W2を噴射し、被洗浄車両CA上に泡状液剤W2が後方から徐々に塗布される。このため、泡状液剤W2の塗布の進行が洗車機本体1に遮られずに周囲から容易に視認することができ、泡洗浄の演出効果を発揮することができる。
そして、洗車機本体1が洗車開始位置T1で停止すると、噴射ノズル60は泡状の泡状液剤W2の噴射を続けながら矢印D4の方向に終端位置S2から待機位置S1へ移動する。これにより、被洗浄車両CAの上面及び側面が泡状の泡状液剤W2で覆われる。
噴射ノズル60が待機位置S1まで移動すると、第1復路工程が終了する。なお、第1往路工程及び第1復路工程では各回転ブラシは停止状態を維持している。
第1復路工程が終了すると、洗車機本体1が反転して被洗浄車両CAの後方に向かって移動して第2往路工程が行われる。第2往路工程では噴射部53からの噴射を停止して各回転ブラシを駆動させるとともに、送風ノズルから送風して乾燥を行う。
本実施形態によると、噴射ノズル59、60(洗車具)を取り付けた基台58にガイドレール54上を転動するローラ(65a、65b、65c)が軸支され、基台58の左右の端部の片方のみに取り付けられるチェーン64がガイドレール54により覆われる。これにより、チェーン64の周回により基台が前後方向に案内され、確実に噴射ノズル59、60を所望の位置に配置することができる。従って、洗車機WAの洗浄力を向上することができる。また、チェーン64が左右の片方のみに取り付けられるため、部品点数を削減することができる。さらに、チェーン64をガイドレール54で覆うので、チェーンに対する汚れの付着を防止できる。
また、噴射部53が洗車機本体1の入口面1aから突出するアーム55の先端に取り付けられる。下ローラ65bが基台58の入口面1a側の端部のみに配されるとともに、上ローラ65aが基台58の出口面1b(入口面1aの反対側)の端部のみに配される。これにより、出口面1b側に配される上ローラ65aと入口面1a側に配される下ローラ65bで基台58を支持でき、部品点数を削減して洗車機WAのコストを削減できる。また、基台58を持ち上げて下ローラ65bを容易に交換することができる。
また、ガイドレール54の上壁54aが所定位置に配される開口部54fと、開口部54fを開閉する蓋部54gとを有する。これにより、上ローラ65a及びサイドローラ65cを容易に交換し、洗車機WAのメンテナンス性を向上することができる。
また、洗車時に噴射部53が入口面1aに接近した待機位置S1と入口面1aから離れた終端位置S2との間を移動する。そして、噴射部53が終端位置S2に配された際に、上ローラ65aが開口部54fに対して入口面1aの反対側に配される。このため、上ローラ65aが上壁54aと蓋部54gとの間に形成される段差を通らないので、基台58を円滑に移動できる。
また、一方のガイドレール54が側壁54c(第1側壁)に対向する側壁54d(第2側壁)を有し、複数のサイドローラ65cが基台58の左右方向の片側のみに前後方向に並設して配される。これにより、サイドローラ65cが左右の片側のみで基台58を前後方向に案内でき、部品点数を削減できる。なお、サイドローラ65cを基台58の左右の両端部に設けてもよい。
また、チェーン64とサイドローラ65cとが基台58の左右方向の同じ側に配される。これにより、サイドローラ65cとチェーン64とが近接し、基台58を安定して前後に案内することができる。
また、ガイドレール54が下壁54bの他端から下方に延びたL字状の支持部66を有し、下壁54bと支持部66の底壁66aとの間に基台58と反対方向に移動するチェーン64を配した。これにより、ガイドレール54の強度を向上できるとともに、チェーン64の戻り側をガイドレール54により容易に覆うことができる。
また、支持部66の底壁66a上に前後方向に延びる樹脂板67を設けた。これにより、チェーン64が伸びて底壁66aに接触しても、円滑にチェーン64が移動できるとともに、チェーン64の摺動摩耗を防止することができる
本実施形態において、回転ブラシによる洗浄を省略し、噴射ノズル59及び噴射ノズル60のみにより被洗浄車両CAの洗浄を行ってもよい。この場合、地面Gに固定された洗車機本体1にガイドレール54を設けた洗車機WAであってもよい。
また、洗車具として噴射ノズル59及び噴射ノズル60に替えて送風ノズルを前後に移動可能に設けてもよい。
本発明によると、前後方向に延びるガイドレールに案内される洗車具を備えた洗車機に利用することができる。
1 洗車機本体
1a 入口面
1b 出口面
1c 天井面
2 走行レール
3 車輪
4 トップブラシ
5 サイドブラシ
6 ロッカーブラシ
7 リモートパネル
8 操作パネル
9 形状センサ
52 上面洗浄装置
53 噴射部
54 ガイドレール
54a 上壁
54b 下壁
54c 側壁(第1側壁)
54d 側壁(第2側壁)
54e 開口部
54f 開口部
54g 蓋部
55 アーム
57 カバー
58 基台
59、60 噴射ノズル
59a、60a 噴射口
61a、61b スプロケット
63 案内モータ
64 チェーン
65a 上ローラ
65b 下ローラ
65c サイドローラ
66 支持部
66a 底壁
67 樹脂板
68 ネジ
90 スタンド部
91 天井部
CA 被洗浄車両
G 地面
R 走行路
S1 待機位置
S2 終端位置
WA 洗車機
W1 高圧水
W2 泡状液剤

Claims (7)

  1. 被洗浄車両を跨ぐ洗車機本体と、前記洗車機本体の上部に配された前後方向に延びる左右一対のガイドレールと、前記洗車機本体に支持される前後一対のスプロケットと、一方の前記スプロケットに連結される案内モータと、前記スプロケットに巻回されるチェーンと、前記チェーンに取り付けられる基台と、前記基台に軸支して前記ガイドレール上を転動する複数のローラと、前記基台に取り付けられて被洗浄車両の洗浄または乾燥を行う洗車具とを備え、前記チェーンが前記基台の左右の端部の片方のみに取り付けられ、前記ガイドレールにより覆われることを特徴とする洗車機。
  2. 前記基台に取り付けて前後方向に延びるアームを備えるとともに、前記洗車具が前記洗車機本体の入口面から突出する前記アームの先端に取り付けられ、前記ローラが前記基台の前記入口面側の端部のみに配される左右一対の下ローラと、前記基台の前記入口面の反対側の端部のみに配される左右一対の上ローラとを有し、前記ガイドレールの上壁の下面を前記上ローラが転動して下壁の上面を前記下ローラが転動することを特徴とする請求項1に記載の洗車機。
  3. 前記ガイドレールが前記上壁の一端と前記下壁の一端とを連結する第1側壁を有するとともに、前記ローラが前記第1側壁の内面を転動するサイドローラを有し、前記上壁が所定位置に配される開口部と、前記開口部を開閉する蓋部とを有することを特徴とする請求項2に記載の洗車機。
  4. 洗車時に前記洗車具が前記入口面に接近した待機位置と前記入口面から離れた終端位置との間を移動し、前記洗車具が前記終端位置に配された際に、前記上ローラが前記開口部に対して前記入口面の反対側に配されることを特徴とする請求項3に記載の洗車機。
  5. 少なくとも一方の前記ガイドレールが前記第1側壁に対向して前記サイドローラが転動する第2側壁を有し、複数の前記サイドローラが前記基台の左右方向の前記チェーンと同じ側のみに前後方向に並設して配されることを特徴とする請求項3または請求項4に記載の洗車機。
  6. 前記ガイドレールが前記下壁の他端から下方に延びたL字状の支持部を有し、前記下壁と前記支持部の底壁との間に前記基台と反対方向に移動する前記チェーンを配したことを特徴とする請求項3〜請求項5のいずれかに記載の洗車機。
  7. 前記支持部の底壁上に前後方向に延びる樹脂板を設けたことを特徴とする請求項6に記載の洗車機。
JP2016215496A 2016-11-02 2016-11-02 洗車機 Active JP6589822B2 (ja)

Priority Applications (1)

Application Number Priority Date Filing Date Title
JP2016215496A JP6589822B2 (ja) 2016-11-02 2016-11-02 洗車機

Applications Claiming Priority (1)

Application Number Priority Date Filing Date Title
JP2016215496A JP6589822B2 (ja) 2016-11-02 2016-11-02 洗車機

Publications (2)

Publication Number Publication Date
JP2018070069A JP2018070069A (ja) 2018-05-10
JP6589822B2 true JP6589822B2 (ja) 2019-10-16

Family

ID=62112400

Family Applications (1)

Application Number Title Priority Date Filing Date
JP2016215496A Active JP6589822B2 (ja) 2016-11-02 2016-11-02 洗車機

Country Status (1)

Country Link
JP (1) JP6589822B2 (ja)

Families Citing this family (3)

* Cited by examiner, † Cited by third party
Publication number Priority date Publication date Assignee Title
JP7251933B2 (ja) * 2018-08-01 2023-04-04 エムケー精工株式会社 洗車機
JP7191582B2 (ja) * 2018-08-08 2022-12-19 エムケー精工株式会社 洗車機
JP7198014B2 (ja) * 2018-08-08 2022-12-28 エムケー精工株式会社 洗車機

Family Cites Families (5)

* Cited by examiner, † Cited by third party
Publication number Priority date Publication date Assignee Title
JPH0315194Y2 (ja) * 1985-04-11 1991-04-03
JPH0939746A (ja) * 1995-07-26 1997-02-10 Nissei Build Kogyo Co Ltd 洗車装置
JP2002116118A (ja) * 2000-10-10 2002-04-19 Meidensha Corp ピットカバー装置
JP2006111043A (ja) * 2004-10-12 2006-04-27 Inoue Noboru 洗車装置
JP4618102B2 (ja) * 2005-11-11 2011-01-26 株式会社ダイフク 洗車機

Also Published As

Publication number Publication date
JP2018070069A (ja) 2018-05-10

Similar Documents

Publication Publication Date Title
JP5240224B2 (ja) 洗車機および洗車方法
JP6589822B2 (ja) 洗車機
JP6620717B2 (ja) 洗車機及び洗車方法
JP7056601B2 (ja) 洗車機
JP6269395B2 (ja) 洗車機
JP2014024460A (ja) 洗車機
JP5783102B2 (ja) 洗車機
JP6627719B2 (ja) 発泡装置及び発泡装置を備えた洗車機
JP2015147488A (ja) 洗車機
JP7047551B2 (ja) 洗車機
JP6673297B2 (ja) 洗車機
JP6819644B2 (ja) 洗車機
JP5724882B2 (ja) 洗車機
JP6658456B2 (ja) 洗車機及び洗車方法
JP6264263B2 (ja) 洗車機及び洗車方法
JP5464120B2 (ja) 洗車機
JP6265159B2 (ja) 洗車機
JP2022046154A (ja) 洗車機
JP6900926B2 (ja) 洗車機
JP6582886B2 (ja) 洗車機及び洗車方法
JP6493139B2 (ja) 洗車機
JP5594280B2 (ja) 洗車機
JP2013166449A (ja) 洗車機
JP5861585B2 (ja) 洗車機
JP5640765B2 (ja) 洗車機

Legal Events

Date Code Title Description
A621 Written request for application examination

Free format text: JAPANESE INTERMEDIATE CODE: A621

Effective date: 20181108

A977 Report on retrieval

Free format text: JAPANESE INTERMEDIATE CODE: A971007

Effective date: 20190807

TRDD Decision of grant or rejection written
A01 Written decision to grant a patent or to grant a registration (utility model)

Free format text: JAPANESE INTERMEDIATE CODE: A01

Effective date: 20190820

A61 First payment of annual fees (during grant procedure)

Free format text: JAPANESE INTERMEDIATE CODE: A61

Effective date: 20190902

R150 Certificate of patent or registration of utility model

Ref document number: 6589822

Country of ref document: JP

Free format text: JAPANESE INTERMEDIATE CODE: R150

R250 Receipt of annual fees

Free format text: JAPANESE INTERMEDIATE CODE: R250

R250 Receipt of annual fees

Free format text: JAPANESE INTERMEDIATE CODE: R250

R250 Receipt of annual fees

Free format text: JAPANESE INTERMEDIATE CODE: R250

R250 Receipt of annual fees

Free format text: JAPANESE INTERMEDIATE CODE: R250