JP6527770B2 - ガス燃料供給用のレギュレータ - Google Patents

ガス燃料供給用のレギュレータ Download PDF

Info

Publication number
JP6527770B2
JP6527770B2 JP2015140664A JP2015140664A JP6527770B2 JP 6527770 B2 JP6527770 B2 JP 6527770B2 JP 2015140664 A JP2015140664 A JP 2015140664A JP 2015140664 A JP2015140664 A JP 2015140664A JP 6527770 B2 JP6527770 B2 JP 6527770B2
Authority
JP
Japan
Prior art keywords
valve
valve body
holding
regulator
holding member
Prior art date
Legal status (The legal status is an assumption and is not a legal conclusion. Google has not performed a legal analysis and makes no representation as to the accuracy of the status listed.)
Active
Application number
JP2015140664A
Other languages
English (en)
Other versions
JP2017020456A (ja
Inventor
行夫 石田
行夫 石田
雅則 矢崎
雅則 矢崎
Current Assignee (The listed assignees may be inaccurate. Google has not performed a legal analysis and makes no representation or warranty as to the accuracy of the list.)
Nikki Co Ltd
Original Assignee
Nikki Co Ltd
Priority date (The priority date is an assumption and is not a legal conclusion. Google has not performed a legal analysis and makes no representation as to the accuracy of the date listed.)
Filing date
Publication date
Application filed by Nikki Co Ltd filed Critical Nikki Co Ltd
Priority to JP2015140664A priority Critical patent/JP6527770B2/ja
Priority to US15/209,736 priority patent/US10120395B2/en
Publication of JP2017020456A publication Critical patent/JP2017020456A/ja
Application granted granted Critical
Publication of JP6527770B2 publication Critical patent/JP6527770B2/ja
Active legal-status Critical Current
Anticipated expiration legal-status Critical

Links

Images

Classifications

    • GPHYSICS
    • G05CONTROLLING; REGULATING
    • G05DSYSTEMS FOR CONTROLLING OR REGULATING NON-ELECTRIC VARIABLES
    • G05D16/00Control of fluid pressure
    • G05D16/04Control of fluid pressure without auxiliary power
    • G05D16/06Control of fluid pressure without auxiliary power the sensing element being a flexible membrane, yielding to pressure, e.g. diaphragm, bellows, capsule
    • G05D16/063Control of fluid pressure without auxiliary power the sensing element being a flexible membrane, yielding to pressure, e.g. diaphragm, bellows, capsule the sensing element being a membrane
    • G05D16/0675Control of fluid pressure without auxiliary power the sensing element being a flexible membrane, yielding to pressure, e.g. diaphragm, bellows, capsule the sensing element being a membrane the membrane acting on the obturator through a lever
    • G05D16/0683Control of fluid pressure without auxiliary power the sensing element being a flexible membrane, yielding to pressure, e.g. diaphragm, bellows, capsule the sensing element being a membrane the membrane acting on the obturator through a lever using a spring-loaded membrane
    • G05D16/0688Control of fluid pressure without auxiliary power the sensing element being a flexible membrane, yielding to pressure, e.g. diaphragm, bellows, capsule the sensing element being a membrane the membrane acting on the obturator through a lever using a spring-loaded membrane characterised by the form of the obturator
    • FMECHANICAL ENGINEERING; LIGHTING; HEATING; WEAPONS; BLASTING
    • F02COMBUSTION ENGINES; HOT-GAS OR COMBUSTION-PRODUCT ENGINE PLANTS
    • F02MSUPPLYING COMBUSTION ENGINES IN GENERAL WITH COMBUSTIBLE MIXTURES OR CONSTITUENTS THEREOF
    • F02M21/00Apparatus for supplying engines with non-liquid fuels, e.g. gaseous fuels stored in liquid form
    • F02M21/02Apparatus for supplying engines with non-liquid fuels, e.g. gaseous fuels stored in liquid form for gaseous fuels
    • F02M21/0218Details on the gaseous fuel supply system, e.g. tanks, valves, pipes, pumps, rails, injectors or mixers
    • F02M21/023Valves; Pressure or flow regulators in the fuel supply or return system
    • F02M21/0239Pressure or flow regulators therefor
    • FMECHANICAL ENGINEERING; LIGHTING; HEATING; WEAPONS; BLASTING
    • F16ENGINEERING ELEMENTS AND UNITS; GENERAL MEASURES FOR PRODUCING AND MAINTAINING EFFECTIVE FUNCTIONING OF MACHINES OR INSTALLATIONS; THERMAL INSULATION IN GENERAL
    • F16KVALVES; TAPS; COCKS; ACTUATING-FLOATS; DEVICES FOR VENTING OR AERATING
    • F16K1/00Lift valves or globe valves, i.e. cut-off apparatus with closure members having at least a component of their opening and closing motion perpendicular to the closing faces
    • F16K1/16Lift valves or globe valves, i.e. cut-off apparatus with closure members having at least a component of their opening and closing motion perpendicular to the closing faces with pivoted closure-members
    • F16K1/18Lift valves or globe valves, i.e. cut-off apparatus with closure members having at least a component of their opening and closing motion perpendicular to the closing faces with pivoted closure-members with pivoted discs or flaps
    • F16K1/20Lift valves or globe valves, i.e. cut-off apparatus with closure members having at least a component of their opening and closing motion perpendicular to the closing faces with pivoted closure-members with pivoted discs or flaps with axis of rotation arranged externally of valve member
    • F16K1/2007Lift valves or globe valves, i.e. cut-off apparatus with closure members having at least a component of their opening and closing motion perpendicular to the closing faces with pivoted closure-members with pivoted discs or flaps with axis of rotation arranged externally of valve member specially adapted operating means therefor
    • FMECHANICAL ENGINEERING; LIGHTING; HEATING; WEAPONS; BLASTING
    • F16ENGINEERING ELEMENTS AND UNITS; GENERAL MEASURES FOR PRODUCING AND MAINTAINING EFFECTIVE FUNCTIONING OF MACHINES OR INSTALLATIONS; THERMAL INSULATION IN GENERAL
    • F16KVALVES; TAPS; COCKS; ACTUATING-FLOATS; DEVICES FOR VENTING OR AERATING
    • F16K1/00Lift valves or globe valves, i.e. cut-off apparatus with closure members having at least a component of their opening and closing motion perpendicular to the closing faces
    • F16K1/16Lift valves or globe valves, i.e. cut-off apparatus with closure members having at least a component of their opening and closing motion perpendicular to the closing faces with pivoted closure-members
    • F16K1/18Lift valves or globe valves, i.e. cut-off apparatus with closure members having at least a component of their opening and closing motion perpendicular to the closing faces with pivoted closure-members with pivoted discs or flaps
    • F16K1/20Lift valves or globe valves, i.e. cut-off apparatus with closure members having at least a component of their opening and closing motion perpendicular to the closing faces with pivoted closure-members with pivoted discs or flaps with axis of rotation arranged externally of valve member
    • F16K1/2042Special features or arrangements of the sealing
    • FMECHANICAL ENGINEERING; LIGHTING; HEATING; WEAPONS; BLASTING
    • F16ENGINEERING ELEMENTS AND UNITS; GENERAL MEASURES FOR PRODUCING AND MAINTAINING EFFECTIVE FUNCTIONING OF MACHINES OR INSTALLATIONS; THERMAL INSULATION IN GENERAL
    • F16KVALVES; TAPS; COCKS; ACTUATING-FLOATS; DEVICES FOR VENTING OR AERATING
    • F16K1/00Lift valves or globe valves, i.e. cut-off apparatus with closure members having at least a component of their opening and closing motion perpendicular to the closing faces
    • F16K1/32Details
    • F16K1/34Cutting-off parts, e.g. valve members, seats
    • F16K1/36Valve members
    • YGENERAL TAGGING OF NEW TECHNOLOGICAL DEVELOPMENTS; GENERAL TAGGING OF CROSS-SECTIONAL TECHNOLOGIES SPANNING OVER SEVERAL SECTIONS OF THE IPC; TECHNICAL SUBJECTS COVERED BY FORMER USPC CROSS-REFERENCE ART COLLECTIONS [XRACs] AND DIGESTS
    • Y02TECHNOLOGIES OR APPLICATIONS FOR MITIGATION OR ADAPTATION AGAINST CLIMATE CHANGE
    • Y02TCLIMATE CHANGE MITIGATION TECHNOLOGIES RELATED TO TRANSPORTATION
    • Y02T10/00Road transport of goods or passengers
    • Y02T10/10Internal combustion engine [ICE] based vehicles
    • Y02T10/30Use of alternative fuels, e.g. biofuels
    • YGENERAL TAGGING OF NEW TECHNOLOGICAL DEVELOPMENTS; GENERAL TAGGING OF CROSS-SECTIONAL TECHNOLOGIES SPANNING OVER SEVERAL SECTIONS OF THE IPC; TECHNICAL SUBJECTS COVERED BY FORMER USPC CROSS-REFERENCE ART COLLECTIONS [XRACs] AND DIGESTS
    • Y10TECHNICAL SUBJECTS COVERED BY FORMER USPC
    • Y10TTECHNICAL SUBJECTS COVERED BY FORMER US CLASSIFICATION
    • Y10T137/00Fluid handling
    • Y10T137/2496Self-proportioning or correlating systems
    • Y10T137/2559Self-controlled branched flow systems
    • Y10T137/2574Bypass or relief controlled by main line fluid condition
    • Y10T137/2605Pressure responsive
    • Y10T137/2607With pressure reducing inlet valve
    • Y10T137/261Relief port through common sensing means
    • YGENERAL TAGGING OF NEW TECHNOLOGICAL DEVELOPMENTS; GENERAL TAGGING OF CROSS-SECTIONAL TECHNOLOGIES SPANNING OVER SEVERAL SECTIONS OF THE IPC; TECHNICAL SUBJECTS COVERED BY FORMER USPC CROSS-REFERENCE ART COLLECTIONS [XRACs] AND DIGESTS
    • Y10TECHNICAL SUBJECTS COVERED BY FORMER USPC
    • Y10TTECHNICAL SUBJECTS COVERED BY FORMER US CLASSIFICATION
    • Y10T137/00Fluid handling
    • Y10T137/7722Line condition change responsive valves
    • Y10T137/7781With separate connected fluid reactor surface
    • Y10T137/7793With opening bias [e.g., pressure regulator]
    • Y10T137/7822Reactor surface closes chamber
    • Y10T137/783Reactor operatively connected to valve by mechanical movement
    • YGENERAL TAGGING OF NEW TECHNOLOGICAL DEVELOPMENTS; GENERAL TAGGING OF CROSS-SECTIONAL TECHNOLOGIES SPANNING OVER SEVERAL SECTIONS OF THE IPC; TECHNICAL SUBJECTS COVERED BY FORMER USPC CROSS-REFERENCE ART COLLECTIONS [XRACs] AND DIGESTS
    • Y10TECHNICAL SUBJECTS COVERED BY FORMER USPC
    • Y10TTECHNICAL SUBJECTS COVERED BY FORMER US CLASSIFICATION
    • Y10T137/00Fluid handling
    • Y10T137/7722Line condition change responsive valves
    • Y10T137/7781With separate connected fluid reactor surface
    • Y10T137/7793With opening bias [e.g., pressure regulator]
    • Y10T137/7831With mechanical movement between actuator and valve

Landscapes

  • Engineering & Computer Science (AREA)
  • General Engineering & Computer Science (AREA)
  • Mechanical Engineering (AREA)
  • Physics & Mathematics (AREA)
  • Chemical & Material Sciences (AREA)
  • Automation & Control Theory (AREA)
  • General Physics & Mathematics (AREA)
  • Fluid Mechanics (AREA)
  • Chemical Kinetics & Catalysis (AREA)
  • General Chemical & Material Sciences (AREA)
  • Oil, Petroleum & Natural Gas (AREA)
  • Combustion & Propulsion (AREA)
  • Control Of Fluid Pressure (AREA)

Description

本発明は、圧力容器から送出されたLPG(液化石油ガス)やCNG(圧縮天然ガス)のような高圧のガス燃料を所定圧力に減圧させてミキサまたはインジェクタに送出するために用いられるガス燃料供給用のレギュレータに関するものである。
従来、LPGやCNGなどのガス燃料をエンジンに供給する際に、圧力容器に充填した高圧で液状のガス燃料をレギュレータで大気圧程度の低圧に減圧調整し、これをミキサまたはインジェクタに送り、吸気管路からガスエンジンに供給している。
そして、前記レギュレータによるガス燃料の調圧制御は、例えば特開2003−232265号公報などに提示されており、図6に示すように、大気側に連通した背圧室1側とダイヤフラム2で区画された調圧室3への燃料導入口4に弁5を設置し、背圧室1側の大気圧に対応して設置された制御圧セットバネ6で荷重されたダイヤフラム2の往復変位動作をピン7により回動可能に支持された弁レバー8で伝達して弁5を開閉させることにより行っている。
ところで、このガス燃料供給用のレギュレータの弁5は、図7および図8に示すように、燃料導入口4の出口に設置された全体が筒状で頂部の開口縁を弁シート51とする弁座52と、前記弁シート51に密に接する円板状の当り面53を有する弁体54により構成され、製品の組立ごとにリーク量を管理した後、弁体54を前記弁座52側にピン7により回動可能に支持された弁レバー8に保持部材9を介して接着剤82により接着することにより支持するものである。
そのため、組み付け後の再組み付けや弁体54などの交換を行うと予め調整してあった弁体54と弁座52との相対関係が失われてしまい規定のシール性能が確保できなくなるという問題がある。
そこで、従来、例えば図8に示すように、前記弁体54への接触する底部を半円球とした保持部材9を使用して弁体54を保持部材9に対して自由接続(弁体54の中心において全周囲方向に傾動可能に取り付ける)として前記弁レバー8による弁体54の動きに応じて弁座52との相対的な傾きを自動補正させる弁5が提示されている。
しかしながら、前記自動調整式の弁5は、微少流量域、即ち、弁体54の開度が少ない状態において、弁体54の着座性の不安定が微少圧力の制御性を悪化させ、また、弁体54がフリー状態にあることから弁体54が不安定となり信頼性に欠けるなどの問題がある。
特開2003−232265号公報
本発明は、前記従来のガス燃料供給用のレギュレータの弁が有する問題点を解決して、弁体と弁座との相対位置関係を自動補正可能にするとともに弁体が常時安定した弁座への着座性を発揮することができるガス燃料供給用のレギュレータを提供することを課題とする。
前記課題を解決するためになされた本発明は、大気側に連通した背圧室側とダイヤフラムで区画された調圧室への燃料導入口に配置された円形筒状の弁座に当接する円形の弁体を保持する保持部材をピンにより回動可能に支持された弁レバーに連結し、前記背圧室側の大気圧に対応して設置された制御圧セットバネで荷重された前記ダイヤフラムの往復変位動作により生じる前記弁レバーの揺動により開閉する弁を有するガス燃料供給用のレギュレータにおいて、前記弁体を保持する保持部材が、前記弁体の頂面に接する底部を半円球にするとともに中心に前記弁体に形成した通孔に連通するとともに軸線方向の所定の位置に固定凹部を形成した保持部材本体と、全体が弾性材により形成された所定径を有する軸状で基端に係止部を突設させるとともに軸部の軸線方向所定位置に前記保持部材本体に形成した通孔に形成した固定凹部に嵌合する固定凸部を膨出した固着部材とからなり、前記互いに重ねた弁体と保持部材本体の中心において連通する通孔に前記固着部材を弁体の底面側から前記固定凸部が前記固定凹部に嵌合するまで差し込み、前記固着部材の前記係止部と前記固定凸部により前記弁体を保持部材に保持させていることを特徴とする。
本発明によると、保持部材は前記図9に示した従来例のように、前記保持部材本体の弁体への接触する底部を半円球としたことから弁体を保持部材に対して自由接続(弁体の中心において前周囲方向に傾動可能に取り付ける)として前記弁レバーによる弁体の動きに応じて弁座との相対的な傾きを自動補正させることができることはいうまでもなく、保持部材と弁体とが弾性を有する軸部材により互いに連結保持されているので弁座の弁シートに対して弁レバーが傾いた場合にも弁体は弾性を有する固着部材が軸線を曲げて保持部材の底部である球面に沿って稼働することで弁座の弁シートに着座した状態を保つことになる。
そのため、弁の開度が少ない状態において、弁体の着座性の不安定が微少圧力の制御性を悪化させ、また、弁体がフリー状態にあることから弁体が不安定となり信頼性に欠けるなどの従来の問題点が解消される。
更に、本発明において、前記固着部材の前記係止部の頂面に前記弁体の底面における前記弁座の弁シートへの着座面を覆う弾性材からなる膜体を一体的に拡設させた場合には、シール性の向上を図った弁体を安価に提供することができる。
本発明によれば、組み付け後の再組み付けや弁体などの交換を行っても調整してある弁体と弁座との相対関係を失うことがなく、規定のシール性能を確保することができるばかりか、常に、弁体の着座性が安定しており、信頼性に優れた弁を有するガス燃料供給用のレギュレータを提供することができるものである。
本発明に係る好ましい実施の形態を示す概略図。 図1に示した実施の形態の要部を示す部分拡大断面図。 図1に示した実施の形態において使用される弁及び保持部材を示すものであり、(a)は側面図、(b)は斜視図。 図1に示した実施の形態における使用状態における要部を示す説明図。 本発明の異なる実施の形態の要部を示す部分拡大断面図。 従来例を示す概略図。 図6に示した従来例に用いられる弁の側面図。 図6に示した従来例についての要部を示す拡大断面図。 異なる従来例についての要部を示す部分拡大断面。
以下に、本発明の好ましい実施の形態について図面を参照して詳細に説明する。
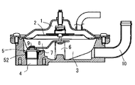
図1乃至図4は本発明である燃料供給装置の好ましい実施の形態を示すものであり、全体の構成は前記図6に示した従来例とほぼ同様で図1に示すように、大気側に連通した背圧室1側とダイヤフラム2で区画された調圧室3への燃料導入口4に弁5を設置し、背圧室1側の大気圧に対応して設置された制御圧セットバネ6で荷重されたダイヤフラム2の往復変位動作をピン7により回動可能に支持された弁レバー8で伝達して保持部材9を介して弁5を開閉させることにより前記弁5が配置される燃料導入口4から導入したLPG(液化石油ガス)、CNG(圧縮天然ガス)などのガス燃料を調圧室3で大気圧程度に減圧調整し、エンジンに供給する際に燃料出口10から排出してミキサまたはインジェクタに送り、吸気管路からガスエンジンに供給するものである。
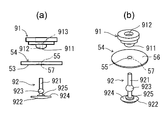
本実施の形態において最も特徴的である弁5は、図2および図3に示すように、燃料導入口4の出口に設置される全体が筒状で頂部の開口縁を弁シート51とする弁座52と、前記弁シート51に密に接する円板状の当り面53を有する弁体54を有し、特に、弁体54の中心には所定径を有する通孔55が貫通、形成されている。
また、前記弁体54を前記ダイヤフラム2の往復変位動作をピン7により回動可能に支持された弁レバー8に接続するための弁体54の保持部材9が、前記弁体54の頂面56に接して配置されるとともに前記弁レバー8に連結される保持部材本体91と、前記弁体54と保持部材本体91とを固着する固着部材92とから構成される。
前記保持部材本体91は、底部911を半円球にするとともに中心に前記弁体54に形成した通孔55に連通する通孔912が形成されているとともに通孔912における軸線方向の所定の位置に固定凹部913が形成されている。
一方、保持部材本体91と弁体54とを固着する固着部材92は、全体が例えば適宜硬質のNBR(ニトリルブタジエンゴム)のような耐油性、耐摩耗性、耐老化性、耐引裂性などに優れたゴム材のような弾性材により形成された所定径を有する軸状で軸部921の基端に皿状の係止部922を突設させるとともに軸部921の軸線方向所定位置に前記保持部材本体91の通孔912に形成した固定凹部913に嵌合する固定凸部923が膨出されている。
そして、互いに重ねた弁体54と保持部材本体91の中心において互いに連通する通孔55,912に固着部材92を弁体54の底面(当り面53)側から差し込み固定凸部923を固定凹部913に嵌合させ、弁体54を保持部材9に保持させる。
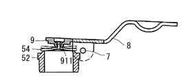
本発明によると、保持部材は前記図9に示した従来例のように、保持部材本体91の弁体54へ接触する底部911を半円球としたことから弁体54を保持部材9に対して自由接続(弁体54の中心において全周囲方向に傾動可能に取り付ける)として連結した弁レバー8による弁体54の動きに応じて弁座52との相対的な傾きを自動補正させることができることはいうまでもなく、保持部材本体91と弁体54とが弾性を有する固着部材92により互いに連結保持されている。
従って、図4に示すように、弁座52の弁シート51に対して弁レバー8が傾いた場合にも弁体54は弾性を有する固着部材92が軸線を曲げて保持部材本体91の底部911である球面に沿って稼働することで弁座52の弁シート51に着座した状態を保つことになる。
そのため、弁5の開度が少ない状態において、弁体54の着座性の不安定が微少圧力の制御性を悪化させ、また、弁体54がフリー状態にあることから生じる弁体54が不安定となり信頼性に欠けるなどの従来の問題点が解消される。
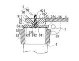
更に、本実施の形態では、固着部材92の係止部922の頂面924における軸部921の周囲に円柱状の拡張部925が形成されているとともに弁体54の当り面53に前記拡張部925が嵌挿される嵌挿凹部57が形成されており、両者が嵌合することで弁体54と固着部材92とがより一体的に固着されるようになっている。
尚、本実施の形態において、前記保持部材本体91と弁体54とを固着する固着部材92の硬度は、弁体54が弁座52に着座するときの弁体54と弁座52との傾き度(図示するα°)を生じた際に前記弁レバー8を付勢する制御圧セットバネ6の押し付け力によって完全着座するように屈曲可能且つ弁体54を弁座52に密着させることが可能な硬さと柔軟性が発揮可能な範囲に設定され、制御圧セットバネ6の荷重、固着部材92の軸径、弁体54の位置や弁レバー8の形状や取り付け位置などを考慮して設定される。
また、図5は本発明の異なる実施の形態を示すものであり、全体の構造及び作用・効果は前記図1乃至図4に示した実施の形態とほぼ同様であるが、固着部材92の係止部922の頂面924に弁体54の底面における弁座の弁シート51を覆う弾性材からなる膜体926が一体的に拡設されている。
本実施の形態では、シール性の向上を図った弁体を安価に提供することができる。
1 背圧室、2 ダイヤフラム、3 調圧室、4 燃料導入口、5 弁、6 制御圧セットバネ、7 ピン、8 弁レバー、9 保持部材、10 燃料出口、51 弁シート、52 弁座、53 当り面、54 弁体、55 通孔、56 頂面、57 嵌挿凹部、91 保持部材本体、92 固着部材、911 底部、912 通孔、913 固定凹部、921 軸部、922 係止部、923 固定凸部、924 頂面、925 拡張部

Claims (3)

  1. 大気側に連通した背圧室側とダイヤフラムで区画された調圧室への燃料導入口に配置された円形筒状の弁座に当接する円形の弁体を保持する保持部材をピンにより回動可能に支持された弁レバーに連結し、前記背圧室側の大気圧に対応して設置された制御圧セットバネで荷重された前記ダイヤフラムの往復変位動作により生じる前記弁レバーの揺動により開閉する弁を有するガス燃料供給用のレギュレータにおいて、前記弁体を保持する保持部材が、前記弁体の頂面に接する底部を半円球にするとともに中心に前記弁体に形成した通孔に連通するとともに軸線方向の所定の位置に固定凹部を形成した保持部材本体と、全体が弾性材により形成された所定径を有する軸状で基端に係止部を突設させるとともに軸部の軸線方向所定位置に前記保持部材本体に形成した通孔に形成した固定凹部に嵌合する固定凸部を膨出した固着部材とからなり、前記互いに重ねた弁体と保持部材本体の中心において連通する通孔に前記固着部材を弁体の底面側から前記固定凸部が前記固定凹部に嵌合するまで差し込み、前記固着部材の前記係止部と前記固定凸部により前記弁体を保持部材に保持させていることを特徴とするガス燃料供給用のレギュレータ。
  2. 前記固着部材の前記係止部の頂面に前記弁体の底面における前記弁座の弁シートへの着座面を覆う弾性材からなる膜体を一体的に拡設させたことを特徴とする請求項1記載のガス燃料供給用のレギュレータ。
  3. 前記弾性材が適宜硬質のゴム材により形成されていることを特徴とする請求項1または2記載のガス燃料供給用のレギュレータ。
JP2015140664A 2015-07-14 2015-07-14 ガス燃料供給用のレギュレータ Active JP6527770B2 (ja)

Priority Applications (2)

Application Number Priority Date Filing Date Title
JP2015140664A JP6527770B2 (ja) 2015-07-14 2015-07-14 ガス燃料供給用のレギュレータ
US15/209,736 US10120395B2 (en) 2015-07-14 2016-07-13 Gas-fuel-supply regulator

Applications Claiming Priority (1)

Application Number Priority Date Filing Date Title
JP2015140664A JP6527770B2 (ja) 2015-07-14 2015-07-14 ガス燃料供給用のレギュレータ

Publications (2)

Publication Number Publication Date
JP2017020456A JP2017020456A (ja) 2017-01-26
JP6527770B2 true JP6527770B2 (ja) 2019-06-05

Family

ID=57775781

Family Applications (1)

Application Number Title Priority Date Filing Date
JP2015140664A Active JP6527770B2 (ja) 2015-07-14 2015-07-14 ガス燃料供給用のレギュレータ

Country Status (2)

Country Link
US (1) US10120395B2 (ja)
JP (1) JP6527770B2 (ja)

Families Citing this family (4)

* Cited by examiner, † Cited by third party
Publication number Priority date Publication date Assignee Title
US10619744B2 (en) * 2016-05-25 2020-04-14 Swagelok Company Valve with self-aligning stem tip
EP3418635B1 (en) * 2017-06-20 2021-05-19 Honeywell Technologies Sarl Gas valve and gas control device
US11047501B2 (en) * 2017-07-14 2021-06-29 Robertshaw Controls Company Normally open gas valve
US11873915B1 (en) * 2021-12-30 2024-01-16 United States Of America As Represented By The Administrator Of Nasa Poppet valve with pivotable seal

Family Cites Families (11)

* Cited by examiner, † Cited by third party
Publication number Priority date Publication date Assignee Title
US1293227A (en) * 1916-05-27 1919-02-04 Arthur L Smyly Fluid-pressure governor.
US1618396A (en) * 1924-04-08 1927-02-22 Adolph Mueller Gas-pressure regulator
US1950120A (en) * 1931-05-23 1934-03-06 Garnet W Mckee Regulator
US2215419A (en) * 1936-03-20 1940-09-17 Sprague Meter Company Gas regulator
US2263581A (en) * 1940-01-22 1941-11-25 Reynolds Gas Regulator Company Gas regulator
US3339581A (en) * 1965-06-15 1967-09-05 Textron Inc Fluid pressure regulator valve
JPS533448B2 (ja) * 1974-01-12 1978-02-07
DE19509943A1 (de) * 1995-03-18 1996-09-19 Stihl Maschf Andreas Membranvergaser für einen Verbrennungsmotor
JP2003232265A (ja) 2002-02-12 2003-08-22 Nikki Co Ltd ガス燃料供給装置のレギュレータ
US7219689B2 (en) * 2004-11-09 2007-05-22 The Gsi Group, Inc. Automatically flushing water regulator for animal watering systems
US8695629B2 (en) * 2011-12-09 2014-04-15 Cheng-Sheng Hsiao Manually operable gas regulator

Also Published As

Publication number Publication date
US10120395B2 (en) 2018-11-06
US20170017244A1 (en) 2017-01-19
JP2017020456A (ja) 2017-01-26

Similar Documents

Publication Publication Date Title
JP6527770B2 (ja) ガス燃料供給用のレギュレータ
CN102042126B (zh) 气体燃料供给装置
EP2937544B1 (en) Bi-fuel engine
KR101238566B1 (ko) 가스 연료 공급 장치
CA2953094C (en) Structure and method for fastening ball seat for ball valve, trunnion-type ball valve, and hydrogen station using said valve
KR102024517B1 (ko) 트러니언형 볼 밸브
US10216202B2 (en) Pressure regulating valve
US10817002B2 (en) Gas valve and gas control device
JP2018156259A (ja) 圧力調整弁
JP2021025540A (ja) ボール弁
US20190145352A1 (en) Fuel supply device with inlet valve
EP1967727A3 (de) Kraftstoffinjektor mit einer verbesserten Ausführung eines Steuerventils zur Steuerung einer Düsennadel
JP2015210746A (ja) 減圧弁
JP2019015181A (ja) ガス燃料供給用のレギュレータ
US6811141B2 (en) Valve including vibration dampening means
KR200449630Y1 (ko) Lpg용기의 밸브어셈블리용 자동차단장치
JP4989676B2 (ja) 調圧弁
JP7112282B2 (ja) 流体制御弁
JP2021014847A (ja) 圧力調整装置及び燃料供給システム
SE0700180L (sv) Tankavluftningsventil
JP4393369B2 (ja) 圧力調整装置
JP2017157119A (ja) 圧力調整弁
KR101414534B1 (ko) 베이퍼라이저
JP2014229265A (ja) 圧力調整弁
KR20180052341A (ko) 밸브 블록

Legal Events

Date Code Title Description
A621 Written request for application examination

Free format text: JAPANESE INTERMEDIATE CODE: A621

Effective date: 20180703

A977 Report on retrieval

Free format text: JAPANESE INTERMEDIATE CODE: A971007

Effective date: 20190411

TRDD Decision of grant or rejection written
A01 Written decision to grant a patent or to grant a registration (utility model)

Free format text: JAPANESE INTERMEDIATE CODE: A01

Effective date: 20190417

A61 First payment of annual fees (during grant procedure)

Free format text: JAPANESE INTERMEDIATE CODE: A61

Effective date: 20190513

R150 Certificate of patent or registration of utility model

Ref document number: 6527770

Country of ref document: JP

Free format text: JAPANESE INTERMEDIATE CODE: R150

R250 Receipt of annual fees

Free format text: JAPANESE INTERMEDIATE CODE: R250

R250 Receipt of annual fees

Free format text: JAPANESE INTERMEDIATE CODE: R250

R250 Receipt of annual fees

Free format text: JAPANESE INTERMEDIATE CODE: R250

R250 Receipt of annual fees

Free format text: JAPANESE INTERMEDIATE CODE: R250

R250 Receipt of annual fees

Free format text: JAPANESE INTERMEDIATE CODE: R250