JP6444094B2 - 建築用パネルの接合構造および建物 - Google Patents

建築用パネルの接合構造および建物 Download PDF

Info

Publication number
JP6444094B2
JP6444094B2 JP2014162050A JP2014162050A JP6444094B2 JP 6444094 B2 JP6444094 B2 JP 6444094B2 JP 2014162050 A JP2014162050 A JP 2014162050A JP 2014162050 A JP2014162050 A JP 2014162050A JP 6444094 B2 JP6444094 B2 JP 6444094B2
Authority
JP
Japan
Prior art keywords
building
panel
floor
panels
adjacent
Prior art date
Legal status (The legal status is an assumption and is not a legal conclusion. Google has not performed a legal analysis and makes no representation as to the accuracy of the status listed.)
Active
Application number
JP2014162050A
Other languages
English (en)
Other versions
JP2016037772A (ja
Inventor
向山 孝美
孝美 向山
Current Assignee (The listed assignees may be inaccurate. Google has not performed a legal analysis and makes no representation or warranty as to the accuracy of the list.)
Misawa Homes Co Ltd
Original Assignee
Misawa Homes Co Ltd
Priority date (The priority date is an assumption and is not a legal conclusion. Google has not performed a legal analysis and makes no representation as to the accuracy of the date listed.)
Filing date
Publication date
Application filed by Misawa Homes Co Ltd filed Critical Misawa Homes Co Ltd
Priority to JP2014162050A priority Critical patent/JP6444094B2/ja
Publication of JP2016037772A publication Critical patent/JP2016037772A/ja
Application granted granted Critical
Publication of JP6444094B2 publication Critical patent/JP6444094B2/ja
Active legal-status Critical Current
Anticipated expiration legal-status Critical

Links

Images

Landscapes

  • Load-Bearing And Curtain Walls (AREA)
  • Joining Of Building Structures In Genera (AREA)

Description

本発明は、建築用パネルの接合構造および建物に関する。
住宅等の建物の構築においては、建物の工業化が進み、例えば、壁や床、屋根といった構成要素を予め工場にてパネル化しておき、施工現場でこれらの建築用パネルを組み立てることにより、建物を構築するといったパネル工法が知られている。
このようなパネル工法においては、従来、建築用パネル同士の接合方法として、接合すべき建築用パネルの接合面に接着剤を塗布しておき、建築用パネル相互からそれ自体抜け止め機能を備えたスクリュー釘を打ち込んで建築用パネル同士を圧締させて固定することによって接合する方法が採用されている(例えば、特許文献1参照)。このような建築用パネル同士の接合方法を採用すれば、接着剤の塗布工程と、スクリュー釘の打ち込み工程を行うだけで済むので、比較的容易に建物を建築することができる。
特開2010−216146号公報
ところで、例えば流通上の問題や気候の問題等を始めとする様々な要因で、建物を建築する際に接着剤を使用できない場合がある。そのため、接着剤を極力使用せずに建物を建築できるような技術の開発が望まれていた。
本発明の課題は、接着剤を極力使用せずに建築用パネル同士を接合することができるとともに、簡易に建物を建築できる建築用パネルの接合構造および建物を提供することを目的とする。
請求項1に記載の発明は、例えば図1〜図12に示すように、複数の建築用パネル3〜7を用いて建物1(30)を構築する際に、隣接する建築用パネル3〜7同士を接合金物2〜2,28で接合してなる建築用パネル3〜7の接合構造において、
前記隣接する建築用パネル3〜7のそれぞれにはスリット15が形成されており、
前記接合金物2〜2,28は、
前記隣接する建築用パネル3〜7それぞれのスリット15に差し込まれる差込板部25と、
前記差込板部25と一体形成されるとともに、当該差込板部25の差込方向と直交する方向に張り出す張出板部26と、
前記張出板部26と一体形成されるとともに、前記差込板部25の突出方向とは反対の方向に突出し、前記差込板部25が差し込まれる建築用パネル3〜7とは異なる建築用パネル3〜7に差し込まれる突出部位と、を備え
前記建築用パネル3〜7には、前記接合金物21〜23,28の前記張出板部26を収容する凹部16が形成されていることを特徴とする。
請求項1に記載の発明によれば、隣接する建築用パネル3〜7のそれぞれにはスリット15が形成されており、接合金物2〜2,28は、隣接する建築用パネル3〜7それぞれのスリット15に差し込まれる差込板部25と、差込板部25と一体形成されるとともに、当該差込板部25の差込方向と直交する方向に張り出す張出板部26と、を備えるので、差込板部25がスリット15に差し込まれることによって、隣接する建築用パネル3〜7は、当該建築用パネル3〜7同士が互いに近づく方向と、差込板部25の側面と直交する方向への移動が規制されることとなる。これによって、建物1(30)を建築する際に、接着剤を極力使用せずに建築用パネル3〜7同士を接合することができるとともに、簡易に建物1(30)を建築できる。
また、建築用パネル3〜7には、接合金物21〜23,28の張出板部26を収容する凹部16が形成されているので、凹部16に張出板部26を収容することによって、隣接する建築用パネル3〜7の接合箇所に、当該張出板部26による段差が生じなくなる。これによって、建物1(30)を建築する際に、張出板部26による段差を解消するための手段を採用する必要がなくなり、結果的に、建物1(30)の施工性を向上できる。
請求項2に記載の発明は、例えば図5,図6,図12に示すように、請求項1に記載の建築用パネル3〜7の接合構造において、
前記突出部位は、前記張出板部26の張出方向のうち少なくとも一方側に設けられていることを特徴とする。
請求項3に記載の発明は、請求項1又は2に記載の建築用パネル3〜7の接合構造において、
前記突出部位は、前記張出板部26に対して複数設けられており、
前記異なる建築用パネル3〜7は、前記差込板部25が差し込まれる前記建築用パネル3〜7に対して複数設けられており、
複数の前記突出部位は、複数の前記異なる建築用パネルのいずれかに差し込まれていることを特徴とする。
請求項4に記載の発明は、例えば図4〜図8に示すように、請求項1〜3のいずれか一項に記載の建築用パネル3〜7の接合構造において、
前記建築用パネル3〜7は、横框8と縦框9とが矩形枠状に組み立てられるとともに、矩形枠の内部に補助桟材10が組み付けられ、横框8と縦框9と補助桟材10との両面もしくは片面に面材11が貼設されてなる木質パネルであり、
前記スリット15は、前記建築用パネル3〜7のうち少なくとも前記横框8または前記縦框9に対して形成されていることを特徴とする。
請求項4に記載の発明によれば、スリット15は、建築用パネル3〜7のうち少なくとも横框8または縦框9に対して形成されているので、建築用パネル3〜7の中でも比較的構造強度の高い位置にスリット15を形成できる。これによって、例えば構造強度の低い部位にスリット15を形成し、当該部位を接合箇所とする場合に比して、構造的な安定性を得ることができる。
請求項5に記載の発明は、例えば図3〜図6,図8,図10に示すように、請求項1〜4のいずれか一項に記載の建築用パネル3〜7の接合構造において、
前記隣接する建築用パネルは、横方向に隣接する壁パネル4,4(6,6)であり、
前記スリット15は、前記隣接する壁パネル4,4(6,6)の上端面または/および下端面に跨って形成されており、
前記接合金物20〜24,28の前記差込板部25は、前記隣接する壁パネル4,4(6,6)に跨って形成された前記スリット15に対して差し込まれていることを特徴とする。
請求項5に記載の発明によれば、接合金物20〜24,28の差込板部25は、隣接する壁パネル4,4(6,6)に跨って形成されたスリット15に対して差し込まれているので、横方向に隣接する壁パネル4,4(6,6)は、当該壁パネル4,4(6,6)同士が互いに近づく方向と、差込板部25の側面と直交する方向への移動が規制されることとなる。これによって、接着剤を極力使用せずに、横方向に隣接する壁パネル4,4(6,6)同士を接合金物20〜24,28によって接合することができるとともに、簡易に建物1(30)を建築できる。
請求項6に記載の発明は、例えば図3,図5,図6,図8に示すように、請求項5に記載の建築用パネル3〜7の接合構造において、
前記隣接する壁パネル4,4(6,6)の下端面に形成された前記スリット15に対して、前記差込板部25が差し込まれる前記接合金物20〜24,28は、前記隣接する壁パネル4,4(6,6)が立設される他の前記建築用パネル(床パネル3,5)の上面に固定されていることを特徴とする。
請求項6に記載の発明によれば、隣接する壁パネル4,4(6,6)の下端面に形成されたスリット15に対して、差込板部25が差し込まれる接合金物20〜24,28は、隣接する壁パネル4,4(6,6)が立設される他の建築用パネル(床パネル3,5)の上面に固定されているので、隣接する壁パネル4,4(6,6)を、接合金物20〜24,28を介して他の建築用パネルの上面に確実に立設させることができる。
請求項7に記載の発明は、例えば図5〜図7に示すように、請求項1〜6のいずれか一項に記載の建築用パネル3〜7の接合構造において、
前記隣接する建築用パネルは、横方向に隣接する床パネル3,3(5,5)であり、
前記スリット15は、前記隣接する床パネル3,3(5,5)の側端面に跨って形成されており、
前記接合金物20〜24,28の前記差込板部25は、前記隣接する床パネル3,3(5,5)に跨って形成された前記スリット15に対して差し込まれていることを特徴とする。
請求項7に記載の発明によれば、接合金物20〜24,28の差込板部25は、隣接する床パネル3,3(5,5)に跨って形成されたスリット15に対して差し込まれているので、横方向に隣接する床パネル3,3(5,5)は、当該床パネル3,3(5,5)同士が互いに近づく方向と、差込板部25の側面と直交する方向への移動が規制されることとなる。これによって、接着剤を極力使用せずに、横方向に隣接する床パネル3,3(5,5)同士を接合金物20〜24,28によって接合することができるとともに、簡易に建物1(30)を建築できる。
請求項8に記載の発明は、例えば図5に示すように、請求項に記載の建築用パネル3〜7の接合構造において、
前記床パネル3(5)の下面には、前記隣接する床パネル3,3(5,5)の側端面に跨って形成された前記スリット15とは異なる他のスリット15が形成されており、
前記スリット15と前記他のスリット15は、前記床パネル3(5)における隅部に配置されており、
前記スリット15における差込口と前記他のスリット15における差込口は同一の方向に長く形成されていることを特徴とする。
請求項9に記載の発明は、例えば図5,に示すように、請求項1〜8のいずれか一項に記載の建築用パネル3〜7の接合構造において、
前記隣接する建築用パネルは、上下方向に隣接する壁パネル4(6)と床パネル3(5)とであり、
前記スリット15は、前記壁パネル4(6)の上端面と前記床パネル3(5)の下面のそれぞれに形成されており、
前記接合金物21,22の前記差込板部25は複数であり、それぞれの前記差込板部25が、前記壁パネル4(6)に形成された前記スリット15と、前記床パネル3(5)に形成された前記スリット15に差し込まれていることを特徴とする。
請求項9に記載の発明によれば、接合金物21,22の差込板部25は複数であり、それぞれの差込板部25が、壁パネル4(6)に形成されたスリット15と、床パネル3(5)に形成されたスリット15に差し込まれているので、上下方向に隣接する壁パネル4(6)と床パネル3(5)は、当該壁パネル4(6)と床パネル3(5)同士が互いに近づく方向と、差込板部25の側面と直交する方向への移動が規制されることとなる。これによって、接着剤を極力使用せずに、上下方向に隣接する壁パネル4(6)と床パネル3(5)同士を接合金物20〜24によって接合することができるとともに、簡易に建物1(30)を建築できる。
請求項10に記載の発明は、例えば図1〜図11に示すように、請求項1〜9のいずれか一項に記載の建築用パネル3〜7の接合構造が採用された建物30であって
複数階建てに構築された躯体を有しており、
前記躯体のうち最下階31は鉄骨造とされ、前記躯体のうち前記最下階31よりも上の階32は木造とされており、
前記木造とされた階32は、前記複数の建築用パネル5〜7によって構成されていることを特徴とする。
請求項10に記載の発明によれば、接着剤を極力使用せずに建築用パネル3〜7同士を接合することができるとともに、簡易に建築できる。さらに、複数階建てに構築された躯体のうち最下階31は鉄骨造とされているので、シロアリを始めとする様々な虫によって被害を受けやすい最下階31の虫害を抑えることができる。
また、最下階31よりも上の階32は木造とされ、かつ複数の建築用パネル5〜7によって構成されているので、接着剤を極力使用せずに建築用パネル5〜7同士を接合することができるとともに、簡易に、最下階31よりも上の階32を建築できる。
本発明によれば、接着剤を極力使用せずに建築用パネル同士を接合することができるとともに、簡易に建物を建築できる。
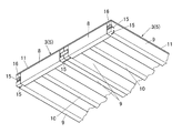
パネル工法によって建築される建物の施工例を示す斜視図である。 パネル工法によって建築される建物の一階部分および二階の床パネルの施工例を示す斜視図である。 壁パネル同士の接合形態を説明する図である。 壁パネル同士の上端部の接合形態を示す斜視図である。 一階から二階にかけてのパネル同士の接合形態を示す断面図である。 一階と二階との間の接合形態を示す断面図である。 床パネル同士の接合形態を示す斜視図である。 建物のコーナー部における接合形態を示す斜視図である。 接合金物の例を示す斜視図である。 接合金物の例を示す断面図である。 一階を鉄骨軸組工法で建築し、二階をパネル工法で建築した建物の施工例を示す図である。 図9に示す接合金物の変形例を示しており、(a)はその斜視図であり、(b)はその使用例である。
以下、図面を参照して本発明の実施の形態について説明する。
図1において符号1は、建物を示す。この建物1は、二階建ての住宅であり、複数の建築用パネル3〜7を用いるパネル工法によって建築されている。
パネル工法では、床パネル、壁パネル、小屋壁パネル、屋根パネル(図示せず)等の建築用パネルが用いられる。また、これら各種建築用パネルは、天候や作業者の技量に左右される可能性が高い現場施工ではなく、高品質で安定した性能を実現できる工場で生産されている。
また、各種建築用パネルは、主に木質パネルであり、横框8と縦框9とを矩形枠状に組み立てるとともに、矩形枠の内部に補助桟材10を縦横に組み付け、横框8と縦框9と補助桟材10との両面もしくは片面に面材11を貼設したものである。また、矩形枠の中空部に対しては、グラスウール等の断熱材(図示せず)が適宜充填される。
また、本実施の形態の建築用パネル3〜7は、後述するように、接合金物20〜24によって接合される。
なお、本実施の形態の建築用パネル3〜7は、木質の建築用パネルを採用したが、これに限られるものではなく、例えばコンクリート製や樹脂製の建築用パネルを採用してもよいし、これらを複合させた構造の建築用パネルを採用してもよい。
各建築用パネル3〜7を木質パネルとした場合、虫害対策は常に考慮されるべきものである。そのため、各建築用パネル3〜7を構成する横框8と縦框9と補助桟材10に、防虫用の薬剤を浸透させておくことが望ましい。
なお、防虫用の薬剤を浸透させる作業は、予め工場で行われるものとする。具体的には、工場で、材料となる木材に対して、回転するインサイジング刃物によって多数の微小孔を均一に形成し、当該多数の微小孔から薬剤を浸透させるようにする。また、横框8と縦框9と補助桟材10の防虫処理としては、上述の防虫用の薬剤を浸透させる方法以外にも、例えば薬剤を加圧注入する方法を採用してもよい。
そして、このように横框8と縦框9と補助桟材10に防虫用の薬剤が浸透していれば、シロアリを始めとする様々な虫(例えば、キクイムシ、シバンムシ等、また腐朽菌等による腐れも含む)による被害を低減できる。
これによって、虫害(虫による木材の食害)による建築用パネル3〜7の劣化を防ぐことができるので、主に接合金物20〜24で接合される建築用パネル3〜7同士の接合状態を良好に維持することができる。
建物1の躯体構造について概略的に説明すると、図5,図8に示すように、コンクリートの基礎2上に、台輪2dを介して一階の床パネル3が固定され、この一階の床パネル3上に、一階の壁パネル4が立設されている。さらに、その上に二階の床パネル5が設置され、この二階の床パネル5上に二階の壁パネル6が立設されている。二階の壁パネル6の上には、屋根の傾斜に対応する傾斜面を有する小屋壁パネル7が立設され、小屋壁パネル7の上に屋根パネルが設置される。
なお、各種パネル3〜7に対しては、予め工場等で取り付けておけるものは取り付けておく。すなわち、例えば予め工場等で、壁パネル4,6や小屋壁パネル7に対して外壁材や石膏ボード等の内壁材を取り付けたり、床パネル3,5に対して防虫シートを取り付けたりすることが行われる。
また、一階の床パネル3によって形成される一階の床の外周には半土台12が設けられており、外周壁を形成する一階の壁パネル4は、一階の床パネル3の横框8または縦框9と、半土台12の上に配置されている。
二階の床パネル5によって形成される二階の床の外周には胴差13(半胴差)が設けられている。すなわち、外周壁を形成する一階の壁パネル4の上には、胴差13と、二階の床パネル5の横框8または縦框9とが設置される。そして、外周壁を形成する二階の壁パネル6は、二階の床パネル5の横框8または縦框9と、胴差13の上に配置されている。
以上のような各種建築用パネル3〜7のうち、隣接する建築用パネル3〜7同士を接合する際は、図3〜図10に示すように、差込板部25と、張出板部26と、を備えた接合金物20,21,22,23,24が使用される。一方、各種建築用パネル3〜7には、接合金物20〜24の差込板部25に対応するスリット15が形成されている。
すなわち、各種建築用パネル3〜7のうち、隣接する建築用パネル3〜7のそれぞれにはスリット15が形成されている。そして、接合金物20〜24は、隣接する建築用パネル3〜7それぞれのスリット15に差し込まれる差込板部25と、差込板部25の差込方向と直交する方向に張り出す張出板部26と、を備える。また、差込板部25と張出板部26は一体形成されている。
より詳細に説明すると、スリット15は、建築用パネル3〜7のうち少なくとも横框8または縦框9に対して形成されている。
さらに、隣接する建築用パネル3〜7のうち少なくとも一方の建築用パネルの横框8または縦框9には、図4等に示すように、接合金物20〜24の張出板部26を収容する凹部16が形成されている。すなわち、凹部16は、張出板部26の寸法に対応して、縦横の寸法および深さ寸法が設定されている。したがって、張出板部26が凹部16に収容された状態においては、凹部16のある建築用パネルの端面と、凹部16に収容された張出板部26の表面とが略面一となっている。
そして、当該凹部16の底面(差込板部25の差込方向によっては天面)にスリット15が形成された状態となっている。
接合金物20は、他の接合金物21〜24の基本となる形態の接合金物であり、図4等に示すように、一つの差込板部25と、張出板部26とからなる。差込板部25と張出板部26は双方とも矩形板状に形成されている。
また、差込板部25は、張出板部26の中央部から、張出板部26と直交する方向に突出しており、接合金物20自体は、断面略T字状に形成されている。
接合金物21は、壁パネル4と床パネル5との接合に用いられるものであり、図5に示すように、二つの差込板部25と、張出板部26とからなる。
二つの差込板部25のうち一方の差込板部25は、張出板部26の中央部から突出しており、他方の差込板部25は、張出板部26の縁部に一体形成されて、一方の差込板部25とは反対の方向に突出している。
接合金物22は、壁パネル4と複数の床パネル5との接合に用いられるものであり、図6に示すように、三つの差込板部25と、張出板部26とからなる。
三つの差込板部25のうち一つは、張出板部26の中央部から突出しており、他の二つの差込板部25,25は、張出板部26の両側縁部のそれぞれに一体形成されて、一つの差込板部25とは反対の方向に突出している。
接合金物23は、図9に示すように、一つの差込板部25と、張出板部26と、複数のピン27とからなる。
複数のピン27は、張出板部26と一体的に形成され、差込板部25とは反対の方向に突出している。また、複数のピン27は、張出板部26の長さ方向一端部と他端部のそれぞれに配置されている。
隣接する建築用パネル3〜7を、当該接合金物23で接合する場合は、隣接する建築用パネル3〜7同士のそれぞれに、ピン27に対応する差込穴(図示せず)が適宜形成される。一方のピン27は、隣接する建築用パネル3〜7の一方に形成された差込穴に差し込まれ、他方のピン27は、他方の建築用パネルの差込穴に差し込まれる。
図12には、接合金物23の変形例として、一つの差込板部25と、張出板部26と、複数のピン27とからなる接合金物28が示されている。
複数のピン27は、張出板部26と一体的に形成され、差込板部25とは反対の方向に突出している。また、複数のピン27は、張出板部26の張出方向の両側(差込板部25の左右両側)に配置されている。さらに、これら複数のピン27は、張出板部26の長さ方向一端部と他端部のそれぞれに配置されているが(計四本)、これに限られるものではなく、張出板部26の張出方向の中央に一本ずつ配置されていてもよいし、より多くピン27が配置されていてもよい。
隣接する建築用パネル3〜7を、当該接合金物28で接合する場合は、隣接する建築用パネル3〜7同士のそれぞれに、ピン27に対応する差込穴27aが適宜形成される。図12に示す例では、張出板部26の張出方向の一方側にあるピン27は、隣接する一方の建築用パネル5に形成された差込穴27aに差し込まれ、張出板部26の張出方向の他方側にあるピン27は、隣接する他方の建築用パネル5に形成された差込穴27aに差し込まれる。
接合金物24は、図10に示すように、概略L字型の金物として形成されており、L字状に屈曲する差込板部25と、平面視L字状の張出板部26と、からなる。
接合金物24は、建物1のコーナーに設けられるものであり、図8に示す接合金物20に替えて、当該接合金物24を用いてもよい。その場合、コーナーを形成する隣接する建築用パネル3〜7には、L字状のスリット15が形成される。
なお、図示はしないが、平面視T字状に形成された接合金物や、平面視十字状に形成された接合金物、断面十字状に形成された接合金物等を用いてもよい。
また、いずれの接合金物20〜24,28であっても、張出板部26には、当該張出板部26を建築用パネル3〜7に取り付けるためのビスや釘を通すための複数の取付孔26aが形成されている。そして、接合金物20〜24,28は、ビスや釘によって、建築用パネル3〜7自体、もしくは建築用パネル3〜7が設置される対象(例えば図6に示す二階の床パネル5と壁パネル6との接合状態を参照)に対して固定される。
また、接合金物20〜24,28は、壁パネルの接合(壁パネル4同士、壁パネル6同士、床パネル3と壁パネル4、壁パネル4と床パネル5、床パネル5と壁パネル6)に用いられる場合には、差込板部25が上向きまたは下向きに配置され、張出板部26は横方向(水平方向)に配置される。
一方、接合金物20〜24,28が、床パネルの接合(床パネル3同士、床パネル5同士)に用いられる場合には、差込板部25は横方向(水平方向)に配置され、張出板部26は上下方向に配置される。
以下、建築用パネル3〜7の接合構造について、より具体的に説明する。
まず、図3,図4に示すように、前記隣接する建築用パネルが、一方の壁パネル4(6)と他方の壁パネル4(6)である場合について説明する。なお、一階においても、二階においても隣接する壁パネルの接合構造は同様であるため、以下では、一階の隣接する壁パネル4,4について説明し、二階の隣接する壁パネル6,6については省略する。
建物1の一階の壁(外壁・内壁)を構成する壁パネル4は、床パネル3の上面に、一直線状にまたは交差して複数配置される。
複数の壁パネル4が一直線状に配置される場合、スリット15は、図3,図4に示すように、隣接する壁パネル4,4の上端面および下端面に跨って形成される。
すなわち、本実施の形態においては、壁パネル4を構成する二本の縦框9の上端面および下端面のそれぞれにスリット15が形成されている。そして、二つの壁パネル4,4を隣接配置した時に、差込板部25の長さと略等しいスリット15が形成される。このようなスリット15に対して、接合金物20の差込板部25が、隣接する壁パネル4,4に跨るようにして差し込まれる。
複数の壁パネル4が交差して配置される場合においても、スリット15は、隣接する壁パネル4,4の上端面および下端面に跨って形成される。そして、接合金物20の差込板部25は、直交して隣接する壁パネル4,4に跨って差し込まれる(図8参照)。
さらに、接合金物20の張出板部26は、隣接する壁パネル4,4の上端面および下端面に跨って形成された凹部16に収容される。
なお、壁パネル4,4の交差部分には、図8に示すように寸法を調整するための調整材14が設けられる場合がある。スリット15や凹部16は、当該調整材14に対して形成されてもよい。
隣接する壁パネル4,4の下端面に形成されたスリット15に対して、差込板部25が差し込まれる接合金物20は、隣接する壁パネル4,4が立設される一階の床パネル3の上面に固定されている。
すなわち、壁パネル4を床パネル3(建物1外周の場合は半土台12を含んでもよい)の上面に立設する際は、接合金物20を、床パネル3の上面のうち、隣接する壁パネル4,4の下端面に跨って形成されるスリット15に対応する位置に予め固定しておく。そして、その接合金物20の位置に合わせて、隣接する壁パネル4,4を、当該隣接する壁パネル4,4のスリット15に差込板部25が差し込まれるようにして床パネル3の上面に設置する。
隣接する壁パネル4,4の上端面に形成されたスリット15に対して、差込板部25が差し込まれる接合金物20は、張出板部26が、隣接する壁パネル4,4に跨って形成された凹部16に収容される。
さらに、張出板部26に形成された複数の取付孔26aにビス・釘等の固定具が挿入され、壁パネル4側に打ち付けられて、接合金物20が隣接する壁パネル4,4の上端面に跨って固定される。
なお、隣接する壁パネル4,4同士を接合する接合金物は、図4に示すような平面視矩形状・断面T字状の接合金物20だけでなく、図9に示す接合金物23や、図10に示す接合金物24を採用してもよい。
すなわち、例えば隣接する壁パネル4,4の上端面に、図9に示す接合金物23を取り付けた場合、隣接する壁パネル4,4の上に設置される隣接する二階の床パネル5,5(建物1外周の場合は胴差13を含んでもよい)の下面に形成されるピン差込穴のそれぞれにピン27,27が差し込まれる。
また、交差する壁パネル4,4の交差部分の上端面に接合金物23を取り付けた場合、交差する壁パネル4,4の上に設置される二階の床パネル5(建物1外周の場合は胴差13を含んでもよい)の下面に形成されるピン差込穴のそれぞれにピン27が差し込まれる。
図10に示す接合金物24は、交差する壁パネル4,4の交差部分の上端面または下端面に設けられる。当該接合金物24を用いる場合は、交差する壁パネル4,4の交差部分の上端面または下端面には、L字状のスリット15および凹部16が形成される。
続いて、図7に示すように、前記隣接する建築用パネルが、一方の床パネル3(5)と他方の床パネル3(5)である場合について説明する。なお、一階においても、二階においても隣接する床パネルの接合構造は同様であるため、以下では、一階の隣接する床パネル3,3について説明し、二階の隣接する床パネル5,5については省略する。
建物1の一階を構成する複数の床パネル3は、台輪2dを介して基礎2上に設置されている。また、複数の床パネル3は、水平方向に隣接するようにして配置されている。
複数の床パネル3を水平方向に隣接させて配置する場合、スリット15は、図7に示すように、隣接する床パネル3,3の側端面に跨って形成されている。図7に示す例では、隣接する縦框9,9の端面にスリット15が跨って形成されているが、横框8,8同士が隣接する場合には、当該隣接する横框8,8に跨ってスリット15が形成されてもよい。
このようなスリット15に対して、接合金物20の差込板部25が、隣接する床パネル3,3に跨るようにして差し込まれる。さらに、張出板部26は、隣接する床パネル3,3の側端面に跨って形成された凹部16に収容されるとともに、ビス等の固定具によって隣接する床パネル3,3に跨って固定される。
なお、図示はしないが、水平方向に隣接する床パネル同士は、隣接する横框8同士や、隣接する縦框9同士、または隣接する横框8と縦框9同士を、ボルト・ナット等の固定具で固定してもよい。
続いて、図5,図6,図8に示すように、前記隣接する建築用パネルのうち一方が壁パネルであり、他方が床パネルである場合について説明する。
建物1の一階においては、一階の床パネル3および半土台12の上に、一階の壁パネル4が設置されている。すなわち、床パネル3と壁パネル4は上下方向に隣接した状態となっている。
これら床パネル3と壁パネル4は、接合金物20によって接合されるとともに、アンカーボルト2aによって連結されている。
接合金物20による接合は、上述したように、接合金物20を床パネル3(建物1外周の場合は半土台12を含んでもよい)の上面の所定位置に固定し、当該接合金物20の差込板部25を、壁パネル4側のスリット15に差し込むようにする。
アンカーボルト2aによる連結は、例えば図5に示すような形態となるように行われる。すなわち、例えば建物1外周の場合では、床パネル3と半土台12にボルト挿通孔(半割り状態)が形成され、当該ボルト挿通孔にアンカーボルト2aが挿通される。アンカーボルト2aは、床パネル3を貫通するとともに壁パネル4の下端部の横框8を貫通し、さらに当該横框8の上面よりも上方に突出しており、当該突出部分に、ナット2bおよび座金2cが設けられる。これによって、床パネル3と壁パネル4、さらに基礎2とが連結されている。
また、一階の壁パネル4の上には、二階の床パネル5が設置されている。建物1外周においては、壁パネル4の上に床パネル5および胴差13が設置されている。すなわち、壁パネル4と床パネル5は上下方向に隣接した状態となっている。これら壁パネル4と床パネル5は、接合金物21および接合金物22によって接合されるとともに、胴差ボルト13aによって連結されている。
さらに、二階の床パネル5の上には、二階の壁パネル6が設置されている。
建物1外周においては、床パネル5および胴差13の上に壁パネル6が立設されている。すなわち、床パネル5と壁パネル6は上下方向に隣接した状態となっている。これら床パネル5と壁パネル6は、接合金物20によって接合されるとともに、胴差ボルト13aによって連結されている。
接合金物21による接合は、図5に示すように、接合金物21の下向きの差込板部25を、壁パネル4の上端面に形成されたスリット15に差し込むとともに、張出板部26を、壁パネル4の上端面に形成された凹部16に収容して、ビス・釘等の固定具によって固定する。
そして、接合金物21の上向きの差込板部25を、床パネル5の下面に形成されたスリット15に差し込むようにして、床パネル5を壁パネル4の上に設置する。
図6に示す例では、壁パネル4の上に、二つの床パネル5の端部が載せられた状態となっている。
これを踏まえ、接合金物22による接合は、図6に示すように、接合金物21の下向きの差込板部25を、壁パネル4の上端面に形成されたスリット15に差し込むとともに、張出板部26を、壁パネル4の上端面に形成された凹部16に収容して、ビス・釘等の固定具によって固定する。
そして、接合金物22の一方の上向きの差込板部25を、一方の床パネル5の下面に形成されたスリット15に差し込むようにして、当該一方の床パネル5を壁パネル4の上に設置する。さらに、接合金物22の他方の上向きの差込板部25を、他方の床パネル5の下面に形成されたスリット15に差し込むようにして、当該他方の床パネル5を壁パネル4の上に設置する。
床パネル5と壁パネル6とを接合金物20で接合する形態は、一階の床パネル3と一階の壁パネル4とを接合金物20で接合する形態と同様であるため、説明は省略する。
一階の壁パネル4と、二階の床パネル5と、二階の壁パネル6は、胴差ボルト13aによって連結されている。
すなわち、建物1外周の場合では、図5に示すように、一階の壁パネル4の上端部にある横框8と、二階の床パネル5および胴差13と、二階の壁パネル6の下端部にある横框8には、ボルト挿通孔が形成されている。そして、当該ボルト挿通孔に胴差ボルト13aが挿通される。胴差ボルト13aは、下端部が、一階の壁パネル4の上端部にある横框8の下面よりも下方に突出し、上端部が、二階の壁パネル6の下端部にある横框8の上面よりも上方に突出する長さに設定されている。その突出部分のそれぞれに、ナット13bおよび座金13cが設けられる。これによって、一階の壁パネル4と、二階の床パネル5と、二階の壁パネル6とが連結されている。
アンカーボルト2aは、基礎2の上面に沿って複数点在するようにして設けられており、これに対応して、一階の床パネル3および一階の壁パネル4にはボルト挿通孔が形成されている。
胴差ボルト13aは、建物1の外周に沿って複数設けられている。
また、図8に示すように、アンカーボルト2aは、建物1のコーナー部分や建物1内部の壁が直交する部分等に重点的に設けられているものとする。さらに、胴差ボルト13aも、建物1のコーナー部分には重点的に設けられているものとする。
なお、ナット2b,13bの締付は、壁パネル4の面材11、壁パネル6の面材11のそれぞれに形成された作業用開口(図示せず)を利用して行われる。
二階の壁パネル6と小屋壁パネル7は、図示はしないが、互いの横框8を貫通するボルトによって連結されている。また、接合金物20〜24,28のいずれかを適宜使用してもよい。
また、二階の壁パネル6と小屋壁パネル7との間には、大梁や軒桁等の横材を適宜介在させてもよい。その場合も、二階の壁パネル6と、小屋壁パネル7、横材とがボルト連結されるものとする。
建物1には、以上のような建築用パネル3〜7同士の接合構造が採用されている。すなわち、建築用パネル3〜7同士の接合には、接着剤が使用されておらず、接合金物20〜24,28によって接合されている。
なお、建築用パネル3〜7の製造時には接着剤が使用されてはいるものの、現場の施工段階では接着剤は極力使用されていない。
また、図3等に示すように、接合金物20は、一つの壁パネル4(6)の四隅に対して設けられることになる。すなわち、四隅の接合金物20は、横方向に隣接する壁パネル4(6)や上下方向に隣接する床パネル3(5)に対して固定されるため、当該四隅の接合金物20が四隅に配置された状態にある壁パネル4(6)は、振動等が加わったとしても動きにくい状態となる。
床パネル3(5)の場合も同様に、一つの床パネル3(5)が、その四隅が接合金物20によって移動が抑えられた状態にあれば、振動等が加わったとしても動きにくい状態となる。
したがって、接着剤を極力使用せずに建築用パネル3〜7同士を接合することが可能となる。特に、建物1の施工完了後は、建物自体の自重も加味されるため、地震等によって建物1が振動したとしても、接合金物20〜24,28の差込板部25はスリット15から極めて外れにくい状態にあり、構造的にも安定する。
また、建物1の施工方法は、通常のパネル工法による建物の施工方法と同様であり、図2に示すように、下方から上方に向かって順次行われる。
すなわち、コンクリートの基礎2上に、台輪2dを介して一階の床パネル3を固定し、この一階の床パネル3上に、一階の壁パネル4を立設する。さらに、その上に二階の床パネル5を設置し、この二階の床パネル5上に二階の壁パネル6を立設する。そして、二階の壁パネル6の上に、小屋壁パネル7を立設し、小屋壁パネル7の上に屋根パネルを設置する。
また、各建築用パネル3〜7同士は、接合金物20〜24,28と、アンカーボルト2a、胴差ボルト13a等を用いて接合・連結される。
なお、上述のように、例えば予め工場等で、壁パネル4,6や小屋壁パネル7に対して外壁材や石膏ボード等の内壁材を取り付けたり、床パネル3,5に対して防虫シートを取り付けたりしておけば、現場での施工手間を省略できるので好ましい。
さらに、スリット15についても予め工場で形成しておくことが望ましい。接合金物20〜24,28も、予め取り付けておくことが可能な場合には、予め取り付けておくようにすることが好ましい。このようにスリット15を予め工場で形成したり、接合金物20〜24,28を予め取り付けたりすれば、現場での施工手間を省略することができるとともに、特別な技能を必要としないので、建物1の施工性の向上に貢献できる。
以上のようにして、接合金物20〜24,28を用いた建物1を施工することができる。
なお、図3,図5,図6,図8に示す例を始め、本実施の形態においては、壁パネル4,6の上下端部に接合金物20〜24,28を配置するものとしたが、これに限られるものではない。すなわち、接合金物20〜24,28によって、隣接する建築用パネル3〜7同士を接合する際に、当該隣接する建築用パネル3〜7の一端部同士を接合金物20〜24,28で接合した場合には、他端部同士を接合金物20〜24,28で接合しなくてもよい。
したがって、隣接する建築用パネル3〜7の一端部同士および他端部同士の双方を接合金物20〜24,28で接合するか、一端部同士だけを接合金物20〜24,28で接合するかは、適宜変更可能である。
特にアンカーボルト2aや胴差ボルト13aで隣接する建築用パネル3〜7同士が連結される場合には、一端部同士だけを接合金物20〜24,28で接合する方法を採用したとしても構造上の問題が生じることはないので、コストや施工性の面を考慮すれば好ましい。
また、以上のようにアンカーボルト2aや胴差ボルト13aで隣接する建築用パネル3〜7同士が連結される場合には、必ずしも、図7に示すように床パネル3,3(5,5)同士を接合金物20〜24,28で接合しなくてもよい。すなわち、アンカーボルト2aや胴差ボルト13aで隣接する建築用パネル3〜7同士が連結される場合は、床パネル3,5は、基礎2と壁パネル4との間、壁パネル4と壁パネル6との間に介在される。そのため、床パネル3,3(5,5)同士を接合金物20〜24,28で接合せずとも、これら床パネル3,4は、壁パネル4,6と連結されることになる。したがって、床パネル3,3(5,5)同士を隣接させる際は、必要に応じて接合金物20〜24,28を用いればよいものとする。
本実施の形態によれば、隣接する建築用パネル3〜7のそれぞれにはスリット15が形成されており、接合金物20〜24,28は、隣接する建築用パネル3〜7それぞれのスリット15に差し込まれる差込板部25と、差込板部25と一体形成されるとともに、当該差込板部25の差込方向と直交する方向に張り出す張出板部26と、を備えるので、差込板部25がスリット15に差し込まれることによって、隣接する建築用パネル3〜7は、当該建築用パネル3〜7同士が互いに近づく方向と、差込板部25の側面と直交する方向への移動が規制されることとなる。これによって、建物1を建築する際に、接着剤を極力使用せずに建築用パネル3〜7同士を接合することができるとともに、簡易に建物1を建築できる。
また、スリット15は、建築用パネル3〜7のうち少なくとも横框8または縦框9に対して形成されているので、建築用パネル3〜7の中でも比較的構造強度の高い位置にスリット15を形成できる。これによって、例えば構造強度の低い部位にスリット15を形成し、当該部位を接合箇所とする場合に比して、構造的な安定性を得ることができる。
また、隣接する建築用パネル3〜7のうち少なくとも一方の建築用パネル3〜7の横框8または縦框9には、接合金物20〜24,28の張出板部26を収容する凹部16が形成されているので、凹部16に張出板部26を収容することによって、隣接する建築用パネル3〜7の接合箇所に、当該張出板部26による段差が生じなくなる。これによって、建物1を建築する際に、張出板部26による段差を解消するための手段を採用する必要がなくなり、結果的に、建物1の施工性を向上できる。
また、接合金物20〜24,28の差込板部25は、隣接する壁パネル4,4(6,6)に跨って形成されたスリット15に対して差し込まれているので、横方向に隣接する壁パネル4,4(6,6)は、当該壁パネル4,4(6,6)同士が互いに近づく方向と、差込板部25の側面と直交する方向への移動が規制されることとなる。これによって、接着剤を極力使用せずに、横方向に隣接する壁パネル4,4(6,6)同士を接合金物20〜24,28によって接合することができるとともに、簡易に建物1を建築できる。
また、隣接する壁パネル4,4(6,6)の下端面に形成されたスリット15に対して、差込板部25が差し込まれる接合金物20〜24,28は、隣接する壁パネル4,4(6,6)が立設される他の建築用パネル(床パネル3,5)の上面に固定されているので、隣接する壁パネル4,4(6,6)を、接合金物20〜24,28を介して他の建築用パネルの上面に確実に立設させることができる。
また、接合金物20〜24,28の差込板部25は、隣接する床パネル3,3(5,5)に跨って形成されたスリット15に対して差し込まれるので、横方向に隣接する床パネル3,3(5,5)は、当該床パネル3,3(5,5)同士が互いに近づく方向と、差込板部25の側面と直交する方向への移動が規制されることとなる。これによって、接着剤を極力使用せずに、横方向に隣接する床パネル3,3(5,5)同士を接合金物20〜24,28によって接合することができるとともに、簡易に建物1を建築できる。
また、接合金物21,22の差込板部25は複数であり、それぞれの差込板部25が、壁パネル4(6)に形成されたスリット15と、床パネル3(5)に形成されたスリット15に差し込まれているので、上下方向に隣接する壁パネル4(6)と床パネル3(5)は、当該壁パネル4(6)と床パネル3(5)同士が互いに近づく方向と、差込板部25の側面と直交する方向への移動が規制されることとなる。これによって、接着剤を極力使用せずに、上下方向に隣接する壁パネル4(6)と床パネル3(5)同士を接合金物21,22によって接合することができるとともに、簡易に建物1を建築できる。
また、以上のような建築用パネル3〜7の接合構造を採用した建物1であれば、接着剤を極力使用せずに建築用パネル3〜7同士を接合することができるとともに、簡易に建築できる。
なお、本発明を適用可能な実施形態は、上述した実施形態に限定されることなく、本発明の趣旨を逸脱しない範囲で適宜変更可能である。以下、変形例について説明する。以下に挙げる変形例は可能な限り組み合わせてもよい。
〔変形例1〕
本変形例の建物30は、図11に示すように、複数階建てに構築された躯体を有しており、躯体のうち最下階31は鉄骨造とされ、躯体のうち最下階31よりも上の階32は木造とされている。そして、木造とされた階32は、複数の建築用パネル5〜7によって構成されている。
鉄骨造の最下階31は、複数の柱33と、複数の柱33の下端部間を連結する下梁34と、複数の柱33の上端部間を連結する上梁35と、によって構築されている。また、柱33と下梁34と上梁35とによって形成される複数の架構のいずれかにはブレース36が適宜設けられている。
本変形例の建物30によれば、複数階建てに構築された躯体のうち最下階31は鉄骨造とされているので、シロアリを始めとする様々な虫によって被害を受けやすい最下階31の虫害を抑えることができる。
また、最下階31よりも上の階32は木造とされ、かつ複数の建築用パネル5〜7によって構成されているので、接着剤を極力使用せずに建築用パネル5〜7同士を接合することができるとともに、簡易に、最下階31よりも上の階32を建築できる。
なお、本変形例では、木造とされた上の階32として複数の建築用パネル5〜7によって構成されるものとしたが(所謂パネル工法)、参考例として、当該上の階32をツーバイフォー構造や木造軸組構造等の各種木造工法を採用してもよい。この場合、虫害を抑えるために、上の階32を構成する木材には、上記実施形態で挙げた防虫用の薬剤が浸透しているものを採用することが望ましい。
〔変形例2〕
上記実施形態および変形例1において、木質パネルである建築用パネル3〜7や各種木造工法のための木材を使用するものとしたが、その原材料として、例えばラバーウッドが用いられている。当該ラバーウッドを用いる場合は、積層材として形成したものを用いることが望ましい。
ラバーウッドは、ゴムの樹液採取のために東南アジアで広く植林栽培されている。また、ラバーウッドは樹液が採取できなくなると、約25年毎に植樹しなおされるので、大量の原木を継続的、かつ安定して入手できる。
また、ラバーウッド同様に大量の原木を継続的、かつ安定して入手できる原材料であれば、建築用パネル3〜7や前記木材の原材料として使用可能である。
1 建物
2a アンカーボルト
2b ナット
3 一階の床パネル
4 一階の壁パネル
5 二階の床パネル
6 二階の壁パネル
8 横框
9 縦框
11 面材
12 半土台
13 胴差
13a 胴差ボルト
15 スリット
16 凹部
20 接合金物
21 接合金物
22 接合金物
25 差込板部
26 張出板部
30 建物

Claims (10)

  1. 複数の建築用パネルを用いて建物を構築する際に、隣接する建築用パネル同士を接合金物で接合してなる建築用パネルの接合構造において、
    前記隣接する建築用パネルのそれぞれにはスリットが形成されており、
    前記接合金物は、
    前記隣接する建築用パネルそれぞれのスリットに差し込まれる差込板部と、
    前記差込板部と一体形成されるとともに、当該差込板部の差込方向と直交する方向に張り出す張出板部と、
    前記張出板部と一体形成されるとともに、前記差込板部の突出方向とは反対の方向に突出し、前記差込板部が差し込まれる建築用パネルとは異なる建築用パネルに差し込まれる突出部位と、を備え
    前記建築用パネルには、前記接合金物の前記張出板部を収容する凹部が形成されていることを特徴とする建築用パネルの接合構造。
  2. 請求項1に記載の建築用パネルの接合構造において、
    前記突出部位は、前記張出板部の張出方向のうち少なくとも一方側に設けられていることを特徴とする建築用パネルの接合構造。
  3. 請求項1又は2に記載の建築用パネルの接合構造において、
    前記突出部位は、前記張出板部に対して複数設けられており、
    前記異なる建築用パネルは、前記差込板部が差し込まれる前記建築用パネルに対して複数設けられており、
    複数の前記突出部位は、複数の前記異なる建築用パネルのいずれかに差し込まれていることを特徴とする建築用パネルの接合構造。
  4. 請求項1〜3のいずれか一項に記載の建築用パネルの接合構造において、
    前記建築用パネルは、横框と縦框とが矩形枠状に組み立てられるとともに、矩形枠の内部に補助桟材が組み付けられ、横框と縦框と補助桟材との両面もしくは片面に面材が貼設されてなる木質パネルであり、
    前記スリットは、前記建築用パネルのうち少なくとも前記横框または前記縦框に対して形成されていることを特徴とする建築用パネルの接合構造。
  5. 請求項1〜4のいずれか一項に記載の建築用パネルの接合構造において、
    前記隣接する建築用パネルは、横方向に隣接する壁パネルであり、
    前記スリットは、前記隣接する壁パネルの上端面または/および下端面に跨って形成されており、
    前記接合金物の前記差込板部は、前記隣接する壁パネルに跨って形成された前記スリットに対して差し込まれていることを特徴とする建築用パネルの接合構造。
  6. 請求項5に記載の建築用パネルの接合構造において、
    前記隣接する壁パネルの下端面に形成された前記スリットに対して、前記差込板部が差し込まれる前記接合金物は、前記隣接する壁パネルが立設される他の前記建築用パネルの上面に固定されていることを特徴とする建築用パネルの接合構造。
  7. 請求項1〜6のいずれか一項に記載の建築用パネルの接合構造において、
    前記隣接する建築用パネルは、横方向に隣接する床パネルであり、
    前記スリットは、前記隣接する床パネルの側端面に跨って形成されており、
    前記接合金物の前記差込板部は、前記隣接する床パネルに跨って形成された前記スリットに対して差し込まれていることを特徴とする建築用パネルの接合構造。
  8. 請求項に記載の建築用パネルの接合構造において、
    前記床パネルの下面には、前記隣接する床パネルの側端面に跨って形成された前記スリットとは異なる他のスリットが形成されており、
    前記スリットと前記他のスリットは、前記床パネルにおける隅部に配置されており、
    前記スリットにおける差込口と前記他のスリットにおける差込口は同一の方向に長く形成されていることを特徴とする建築用パネルの接合構造。
  9. 請求項1〜8のいずれか一項に記載の建築用パネルの接合構造において、
    前記隣接する建築用パネルは、上下方向に隣接する壁パネルと床パネルとであり、
    前記スリットは、前記壁パネルの上端面と前記床パネルの下面のそれぞれに形成されており、
    前記接合金物の前記差込板部は複数であり、それぞれの前記差込板部が、前記壁パネルに形成された前記スリットと、前記床パネルに形成された前記スリットに差し込まれていることを特徴とする建築用パネルの接合構造
  10. 請求項1〜9のいずれか一項に記載の建築用パネルの接合構造が採用された建物であって
    複数階建てに構築された躯体を有しており、
    前記躯体のうち最下階は鉄骨造とされ、前記躯体のうち前記最下階よりも上の階は木造とされており、
    前記木造とされた階は、前記複数の建築用パネルによって構成されていることを特徴とする建物。
JP2014162050A 2014-08-08 2014-08-08 建築用パネルの接合構造および建物 Active JP6444094B2 (ja)

Priority Applications (1)

Application Number Priority Date Filing Date Title
JP2014162050A JP6444094B2 (ja) 2014-08-08 2014-08-08 建築用パネルの接合構造および建物

Applications Claiming Priority (1)

Application Number Priority Date Filing Date Title
JP2014162050A JP6444094B2 (ja) 2014-08-08 2014-08-08 建築用パネルの接合構造および建物

Publications (2)

Publication Number Publication Date
JP2016037772A JP2016037772A (ja) 2016-03-22
JP6444094B2 true JP6444094B2 (ja) 2018-12-26

Family

ID=55529089

Family Applications (1)

Application Number Title Priority Date Filing Date
JP2014162050A Active JP6444094B2 (ja) 2014-08-08 2014-08-08 建築用パネルの接合構造および建物

Country Status (1)

Country Link
JP (1) JP6444094B2 (ja)

Families Citing this family (1)

* Cited by examiner, † Cited by third party
Publication number Priority date Publication date Assignee Title
JP2021038590A (ja) * 2019-09-04 2021-03-11 株式会社茨城県南木造住宅センター 建材パネルおよびその建材パネルを用いて構築された構造体

Family Cites Families (7)

* Cited by examiner, † Cited by third party
Publication number Priority date Publication date Assignee Title
JPS6075515U (ja) * 1983-10-31 1985-05-27 ナショナル住宅産業株式会社 間仕切りパネルの並置構造
JP2503800Y2 (ja) * 1990-07-06 1996-07-03 ミサワホーム株式会社 パネルの接合構造
JP2002210712A (ja) * 2001-01-17 2002-07-30 Noda Corp 木質パネル
JP2005083187A (ja) * 2003-09-09 2005-03-31 Masaru Ogata 木造軸組工法や2×4工法とラーメン工法による混構造
JP3913264B2 (ja) * 2005-02-04 2007-05-09 康男 山本 防音室、プレハブ室、その組み立てキット、オーディオ室、パネル結合部材及び結合機構
JP2007040039A (ja) * 2005-08-05 2007-02-15 Takahashi Shinkichi Kenchiku Kenkyusho:Kk 横架材とパネルとの結合構造
JP2006214268A (ja) * 2006-03-23 2006-08-17 Lic:Kk 木造建築物の土台、柱および梁の組み付け方法

Also Published As

Publication number Publication date
JP2016037772A (ja) 2016-03-22

Similar Documents

Publication Publication Date Title
CN202031172U (zh) 木制建筑物
US10081938B2 (en) Modular construction system and method
JP2012241482A (ja) 組立家屋及びその組立方法
JP6595146B1 (ja) 建築物およびその建築工法
JP6444094B2 (ja) 建築用パネルの接合構造および建物
JP5159821B2 (ja) 木造軸組建築物における耐力壁構築方法
JP5714161B1 (ja) 壁パネルの接合構造及び壁パネルの接合方法
JP6427240B1 (ja) 屋内耐震構造物及びその組立方法
RU67127U1 (ru) Система соединения элементов пространственного каркаса здания
JP2017066666A (ja) 耐力壁パネル、及び耐力壁パネルシステム
JP2016180281A (ja) 家屋の外壁施工方法
JP2022061923A (ja) 壁面構造体、木造建物、及び、木造建物の建築方法
JP4039503B2 (ja) 木造建物
JPH06136833A (ja) 天井付き床パネル及びこれを備える部屋ユニット
US20050279051A1 (en) Structural wall framework
JP7143205B2 (ja) 耐震補強壁構造
JP3072284B2 (ja) 建築用金属フレームパネル体とその施工方法
JP2010077645A (ja) 木造建築物における接合構造
JPH0734538A (ja) 木造建築物
JP6163508B2 (ja) ログハウス
JP3168247B2 (ja) 耐震木造住宅
JP2002004464A (ja) 耐力壁の通気施工構造
JP3099307U (ja) 建物と建物用の継手
JP2016104958A (ja) 木造軸組における柱と横架材の接合構造
JP2004316127A (ja) 建物と建物の構築方法

Legal Events

Date Code Title Description
A621 Written request for application examination

Free format text: JAPANESE INTERMEDIATE CODE: A621

Effective date: 20170807

A977 Report on retrieval

Free format text: JAPANESE INTERMEDIATE CODE: A971007

Effective date: 20180417

A131 Notification of reasons for refusal

Free format text: JAPANESE INTERMEDIATE CODE: A131

Effective date: 20180626

A521 Request for written amendment filed

Free format text: JAPANESE INTERMEDIATE CODE: A523

Effective date: 20180827

TRDD Decision of grant or rejection written
A01 Written decision to grant a patent or to grant a registration (utility model)

Free format text: JAPANESE INTERMEDIATE CODE: A01

Effective date: 20181120

A61 First payment of annual fees (during grant procedure)

Free format text: JAPANESE INTERMEDIATE CODE: A61

Effective date: 20181127

R150 Certificate of patent or registration of utility model

Ref document number: 6444094

Country of ref document: JP

Free format text: JAPANESE INTERMEDIATE CODE: R150

R250 Receipt of annual fees

Free format text: JAPANESE INTERMEDIATE CODE: R250

R250 Receipt of annual fees

Free format text: JAPANESE INTERMEDIATE CODE: R250