JP6409552B2 - 押しボタンスイッチ - Google Patents

押しボタンスイッチ Download PDF

Info

Publication number
JP6409552B2
JP6409552B2 JP2014253499A JP2014253499A JP6409552B2 JP 6409552 B2 JP6409552 B2 JP 6409552B2 JP 2014253499 A JP2014253499 A JP 2014253499A JP 2014253499 A JP2014253499 A JP 2014253499A JP 6409552 B2 JP6409552 B2 JP 6409552B2
Authority
JP
Japan
Prior art keywords
movable contact
button switch
push button
plunger
piece
Prior art date
Legal status (The legal status is an assumption and is not a legal conclusion. Google has not performed a legal analysis and makes no representation as to the accuracy of the status listed.)
Active
Application number
JP2014253499A
Other languages
English (en)
Other versions
JP2016115550A (ja
Inventor
真美子 仲
真美子 仲
健志 長田
健志 長田
博章 藤野
博章 藤野
Current Assignee (The listed assignees may be inaccurate. Google has not performed a legal analysis and makes no representation or warranty as to the accuracy of the list.)
Omron Corp
Original Assignee
Omron Corp
Priority date (The priority date is an assumption and is not a legal conclusion. Google has not performed a legal analysis and makes no representation as to the accuracy of the date listed.)
Filing date
Publication date
Application filed by Omron Corp filed Critical Omron Corp
Priority to JP2014253499A priority Critical patent/JP6409552B2/ja
Priority to DE112015005625.4T priority patent/DE112015005625B4/de
Priority to US15/510,251 priority patent/US10056202B2/en
Priority to PCT/JP2015/083587 priority patent/WO2016098568A1/ja
Publication of JP2016115550A publication Critical patent/JP2016115550A/ja
Application granted granted Critical
Publication of JP6409552B2 publication Critical patent/JP6409552B2/ja
Active legal-status Critical Current
Anticipated expiration legal-status Critical

Links

Images

Classifications

    • HELECTRICITY
    • H01ELECTRIC ELEMENTS
    • H01HELECTRIC SWITCHES; RELAYS; SELECTORS; EMERGENCY PROTECTIVE DEVICES
    • H01H13/00Switches having rectilinearly-movable operating part or parts adapted for pushing or pulling in one direction only, e.g. push-button switch
    • H01H13/02Details
    • H01H13/12Movable parts; Contacts mounted thereon
    • H01H13/14Operating parts, e.g. push-button
    • HELECTRICITY
    • H01ELECTRIC ELEMENTS
    • H01HELECTRIC SWITCHES; RELAYS; SELECTORS; EMERGENCY PROTECTIVE DEVICES
    • H01H13/00Switches having rectilinearly-movable operating part or parts adapted for pushing or pulling in one direction only, e.g. push-button switch
    • H01H13/02Details
    • H01H13/12Movable parts; Contacts mounted thereon
    • H01H13/14Operating parts, e.g. push-button
    • H01H13/18Operating parts, e.g. push-button adapted for actuation at a limit or other predetermined position in the path of a body, the relative movement of switch and body being primarily for a purpose other than the actuation of the switch, e.g. door switch, limit switch, floor-levelling switch of a lift
    • HELECTRICITY
    • H01ELECTRIC ELEMENTS
    • H01HELECTRIC SWITCHES; RELAYS; SELECTORS; EMERGENCY PROTECTIVE DEVICES
    • H01H13/00Switches having rectilinearly-movable operating part or parts adapted for pushing or pulling in one direction only, e.g. push-button switch
    • H01H13/02Details
    • H01H13/04Cases; Covers
    • H01H13/06Dustproof, splashproof, drip-proof, waterproof or flameproof casings
    • HELECTRICITY
    • H01ELECTRIC ELEMENTS
    • H01HELECTRIC SWITCHES; RELAYS; SELECTORS; EMERGENCY PROTECTIVE DEVICES
    • H01H13/00Switches having rectilinearly-movable operating part or parts adapted for pushing or pulling in one direction only, e.g. push-button switch
    • H01H13/70Switches having rectilinearly-movable operating part or parts adapted for pushing or pulling in one direction only, e.g. push-button switch having a plurality of operating members associated with different sets of contacts, e.g. keyboard
    • HELECTRICITY
    • H01ELECTRIC ELEMENTS
    • H01HELECTRIC SWITCHES; RELAYS; SELECTORS; EMERGENCY PROTECTIVE DEVICES
    • H01H1/00Contacts
    • H01H1/12Contacts characterised by the manner in which co-operating contacts engage
    • H01H1/14Contacts characterised by the manner in which co-operating contacts engage by abutting
    • H01H1/24Contacts characterised by the manner in which co-operating contacts engage by abutting with resilient mounting
    • HELECTRICITY
    • H01ELECTRIC ELEMENTS
    • H01HELECTRIC SWITCHES; RELAYS; SELECTORS; EMERGENCY PROTECTIVE DEVICES
    • H01H2223/00Casings
    • H01H2223/044Protecting cover
    • HELECTRICITY
    • H01ELECTRIC ELEMENTS
    • H01HELECTRIC SWITCHES; RELAYS; SELECTORS; EMERGENCY PROTECTIVE DEVICES
    • H01H2235/00Springs
    • H01H2235/01Spiral spring
    • HELECTRICITY
    • H01ELECTRIC ELEMENTS
    • H01HELECTRIC SWITCHES; RELAYS; SELECTORS; EMERGENCY PROTECTIVE DEVICES
    • H01H9/00Details of switching devices, not covered by groups H01H1/00 - H01H7/00
    • H01H9/02Bases, casings, or covers
    • H01H9/04Dustproof, splashproof, drip-proof, waterproof, or flameproof casings

Landscapes

  • Push-Button Switches (AREA)
  • Switch Cases, Indication, And Locking (AREA)

Description

本願発明は押しボタンスイッチ、特に、多種多様な操作ができる押しボタンスイッチに関する。
従来、押しボタンスイッチとしては、例えば、ケースとケース中央付近に設けた固定接点端子と該固定接点端子と接離する第1及び第2の可動接点板を持った第1及び第2のスイッチがあり、該第1,第2のスイッチの間に前記固定接点端子と押えバネを介して、接離する第3の可動接点板から成る第3のスイッチがあり、前記ケースの両端に、突出,没入自在でかつ、第1,第2のスイッチを開閉する作動片(イ)と、第1,第2のスイッチをまたぐ様に、第3のスイッチの押えバネと接離する位置に配置されたオーバーハング状の作動片(ロ)が一体に形成された、第1,第2の作動棹から成り、第1,第2の作動棹がそれぞれ突出した時第1,第2のスイッチがそれぞれONし第1,第2の作動棹がそれぞれ没入した時第1,第2のスイッチがそれぞれOFFし、かつ第1,第2の作動棹が両方没入した時のみ第3のスイッチがONすることを特徴とする冷凍冷蔵庫用ドアスイッチがある(特許文献1参照)。
特開昭63−140279号公報
しかしながら、近年、冷凍冷蔵庫は、その大容量化と小型化とを両立するだけでなく、省エネの見地から断熱材の設置面積を確保できることが求められている。このため、冷凍冷蔵庫用ドアの開閉検知に使用されるドアスイッチにも小型化が求められている。
また、一般に、前記冷凍冷蔵庫用ドアではゴムパッキンが用いられているが、前記ゴムパッキンの経年劣化を考慮すると、ドア開閉の検出位置から押し込み位置に達するまでに長い操作ストロークが必要とされている。
特に、中級,高級機種の冷凍冷蔵庫で採用されている観音開きのドアに使用されるドアスイッチには、両方のドアが閉められた時のみに可動接点が固定接点にONとなるものがある(例えば、実開平04−095288号公報)。このような冷凍冷蔵庫用スイッチでは、可動接点を固定接点に所定の接点圧で接触させるために、プランジャを押し込み位置まで押し込もうとすると、前記可動接点を駆動するプランジャに長い操作ストロークを必要とし、ドアスイッチを小型化できないという問題点がある。
本発明に係る課題は、前記問題点に鑑み、小型で操作ストロークの長い押しボタンスイッチを提供することにある。
本発明に係る押しボタンスイッチは、前記課題を解決すべく、ベースとカバーとからなるハウジングと、前記カバーに押し下げ可能に取り付けられ、かつ、内向面から側方に突き出した操作腕部の先端に操作体を有する少なくとも1つのプランジャと、前記プランジャの押し下げ操作で駆動する可動接触片と、前記可動接触片に設けた可動接点と、前記可動接点に接離可能に配置された固定接点と、からなる押しボタンスイッチであって、前記可動接触片が、前記可動接点を設けた可動接点片と、前記可動接点片の少なくとも片側に配置され、かつ、前記可動接点片と一体に回動するように連結された操作舌片とを有し、前記プランジャの前記操作体で前記操作舌片を操作することにより、前記可動接点が固定接点に接離される構成としてある。
本発明によれば、可動接触片に、可動接点片と操作舌片とを一体に回動するように形成してあるので、数少ない部品点数で操作できる。このため、ハウジング内における内部構成部品の占有スペースを減らすことができ、押しボタンスイッチを小型化できる。
また、プランジャの内向面から側方に突き出した操作腕部で可動接触片の前記操作舌片を操作し、接点を開閉できる。このため、押しボタンスイッチを大型化することなく、長い操作ストロークを確保しつつ、前記操作腕部で前記可動接触片を操作できる。
本発明の実施形態としては、前記可動接触片が、前記可動接点を設けた前記可動接点片と、前記可動接点片の両側にそれぞれ配置され、かつ、一体に回動するように連結された前記操作舌片と、を有し、一対の前記プランジャで一対の前記操作舌片をそれぞれ操作することにより、前記可動接点が前記固定接点に接離される構成としてもよい。
本実施形態によれば、前述の効果に加え、小型形状を維持したままで、2つの検出物を1つの可動接点で検出できる押しボタンスイッチが得られる。
本発明の他の実施形態としては、前記可動接点片の両側の一方に前記操作舌片を配置した第1可動接触片と、前記第1可動接触片との間を仕切る仮想面を中心として鏡像関係となるように形成した第2可動接触片とを、前記ハウジング内に対称となるように配置し、一対の前記プランジャで、前記第1可動接触片の前記操作舌片と前記第2可動接触片の前記操作舌片とをそれぞれ操作することにより、前記第1可動接触片の第1可動接点と前記第2可動接触片の第2可動接点とが、第1固定接点および第2固定接点にそれぞれ接離される構成としてもよい。
本実施形態によれば、前述の効果に加え、小型形状を維持したままで、2つの検出物を個々に検出できる押しボタンスイッチが得られる。
本発明の別の実施形態としては、前述の第3可動接触片の両側に、前述の第1,第2可動接触片をそれぞれ配置してもよい。
本実施形態によれば、小型形状を維持したままで、より多くの多種多様な検出パターンを備えた押しボタンスイッチが得られる。
本発明の新たな実施形態としては、前記操作体が、前記操作舌片の表面上を円滑に摺動する操作面を有していてもよい。
本実施形態によれば、操作体を備えたプランジャによる操作が円滑になり、操作感触が向上する。
本発明の異なる実施形態としては、前記可動接触片を略U字形状に屈曲しておいてもよい。
本実施形態によれば、前記可動接触片の支点間距離が長くなるので、応力に対する疲労が少なくなり、耐久性が向上する。
本発明の他の実施形態としては、前記操作舌片を、前記プランジャに向けて迫り出すように屈曲しておいてもよい。
本実施形態によれば、前記プランジャの摺動操作が円滑になり、スムーズなスイッチ操作が可能になる。
本発明の別の実施形態としては、前記プランジャの押圧部が、前記ハウジングの表面と面一であってもよい。
本実施形態によれば、前記プランジャの押圧部が外部からの衝撃力で破損するおそれが低減するとともに、デザイン性が向上する。
本発明の異なる実施形態としては、一対の前記プランジャを、両者を仕切る仮想面を中心として鏡像関係となるように形成しておいてもよい。
本実施形態によれば、設計が容易になるとともに、多種多様の操作が可能な押しボタンスイッチが得られる。
本発明の新たな実施形態としては、一対の前記可動接触片を、両者を仕切る仮想面を中心として鏡像関係となるように形成しておいてもよい。
本実施形態によれば、設計が容易になるとともに、多種多様の操作が可能な押しボタンスイッチが得られるという効果がある。
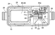
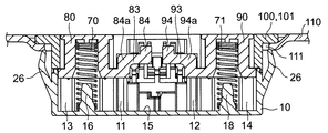
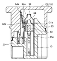
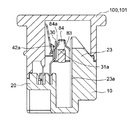
本発明に係る押しボタンスイッチの第1実施形態を示す全体斜視図である。 図1で示した押しボタンスイッチの分解斜視図である。 図1で示した押しボタンスイッチを異なる角度から視た分解斜視図である。 図1で示した押しボタンスイッチの側面断面図である。 図4から第1,第2プランジャを消去した側面断面図である。 図5から共通固定接点端子を消去した側面断面図である。 図1で示した押しボタンスイッチの水平断面図である。 図7と異なる位置で切断した押しボタンスイッチの水平断面図である。 図1で示した押しボタンスイッチからカバーを消去した平面図である。 図9の部分拡大図である。 図1で示した押しボタンスイッチの正面断面図である。 図11の部分拡大図である。 図1で示した押しボタンスイッチの動作途中を示す全体斜視図である。 図13の正面断面図である。 図1で示した押しボタンスイッチの動作後を示す全体斜視図である。 図15の正面断面図である。 図1で示した押しボタンスイッチの異なる動作後を示す全体斜視図である。 図17からカバーを消去した部分拡大斜視図である。 図1で示した押しボタンスイッチの別の動作後を示す全体斜視図である。 図19の側面断面図である。 図19からカバーを消去した斜視図である。 図21の部分拡大斜視図である。 図1で示した押しボタンスイッチの取付状態を示す斜視図である。 図23の側面断面図である。 図23の正面断面図である。 本発明に係る押しボタンスイッチの第2実施形態を示す全体斜視図である。 図26で示した押しボタンスイッチの分解斜視図である。 図26で示した押しボタンスイッチを異なる角度から視た分解斜視図である。 図26で示した押しボタンスイッチからカバーを消去した平面図である。 図26の部分拡大図である。 本発明に係る押しボタンスイッチの第3実施形態を示す全体斜視図である。 図31で示した押しボタンスイッチの分解斜視図である。 図31で示した押しボタンスイッチを異なる角度から視た分解斜視図である 図31で示した押しボタンスイッチからカバーを消去した平面図である。 図34の部分拡大図である。 前記第1,第2,第3実施形態に係る電磁継電器の開閉動作を示すタイムチャートである。 発明に係る押しボタンスイッチの第4実施形態を示す全体斜視図である 図37の正面断面図である。 図37で示した押しボタンスイッチの動作途中を示す全体斜視図である。 図37の正面断面図である。 図37で示した押しボタンスイッチの動作後を示す全体斜視図である。 図41の正面断面図である。 図37で示した押しボタンスイッチの分解斜視図である。 図37で示した押しボタンスイッチを異なる角度から視た分解斜視図である。 図37で示した押しボタンスイッチからカバーを消去した平面図である。 図45の部分拡大図である。
本発明に係る押しボタンスイッチの実施形態を図1ないし図46に基づいて説明する。
第1実施形態は、図1ないし図25に示すように、例えば、観音開きのドアを有する冷凍冷蔵庫に取り付けられる押しボタンスイッチである。前記押しボタンスイッチは、左ドアだけを閉じた状態、右ドアだけを閉じた状態、左右のドアを同時に閉じた状態、および、左右のドアを同時に開いた状態という4種類の開閉状態を検出できる。
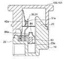
前記押しボタンスイッチは、図2および図3に示すように、大略、ベース10と、共通固定接点端子30と、第1,第2可動接点端子40,50と、第3可動接点端子60と、第1,第2復帰バネ70,71と、第1,第2プランジャ80,90と、カバー100と、で構成されている。
ベース10は、平面長方形の箱形状であり、その底面に突設した2つの仕切り壁11,12で3つの第1,第2,第3凹所13,14,15(図4)に仕切ってある。そして、前記仕切り壁11,12には、隣り合う前記第1,第2,第3凹所13,14,15を連通させるガイド溝11a,12a(図2)がそれぞれ設けられている。
前記第1凹所13には、その底面中央に後述する第1復帰バネ70を支持するための支持突部16を向けて突設してある。また、前記第1凹所13は、その内周面に位置決めリブ17を設けてある。前記位置決めリブ17は、後述する第1プランジャ80が摺動した際の摩擦抵抗を小さくするとともに、ガタツキの発生を防止するために設けられている。
前記第2凹所14にも、前記第1凹所13と同様、支持突部18および位置決めリブ17を設けてある。
前記第3凹所15は、その底面の対向する隅部のうち、奥側の隅部に設けた一段高い段部20(図11)に4つの端子孔21a,21b,21c,21d(図10)を並設し、コネクタ部22を形成してある。また、前記第3凹所15は、前記段部20に対向する内周面に沿って迫り出し部23を形成するとともに、位置決めリブ23aを上下方向に沿うように設けてある。
また、前記ベース10は、その開口部の外周縁部に沿って嵌合用段部24を設けてあるとともに、前記嵌合用段部24に係合爪部25を設けてある。また、前記ベース10は、短辺側の外側面に弾性爪部26,26をそれぞれ設けてある。
共通固定接点端子30は、その上辺縁部に沿って固定接点片31,32,33を所定のピッチで並設し、前記固定接点片31,32,33の内向面に固定接点31a,32a,33a(図10)をそれぞれ設けてある。そして、前記共通固定接点端子30の端子部34を、前記ベース10の端子孔21cに圧入して固定される。
第1可動接点端子40は、略U字形状に屈曲した可動接触片41を有し、その自由端部に可動接点片42および操作舌片43を並設し、かつ、一体に回動するように連結してある。また、前記可動接点片42には可動接点42aが設けられている。そして、第1可動接点端子40は、その端子部44を前記ベース10に設けた端子孔21aに圧入して固定される。
第2可動接点端子50は、前記可動接点端子40との間を仕切る仮想面を中心として鏡像の関係となるように形成されている。すなわち、両者は右手と左手のように互いに重ね合わすことができない立体形状を有している。このため、第2可動接点端子50は、前記可動接点端子40と同様に、略U字形状に屈曲した可動接触片51を有し、その自由端部に可動接点片52および操作舌片53を並設し、かつ、一体に回動するように連結してある。そして、前記可動接点片52には可動接点52aが設けられている。ついで、第2可動接点端子50は、その端子部54を前記ベース10に設けた端子孔21dに圧入して固定される。
第3可動接点端子60は、その上辺縁部から略U字形状に屈曲した可動接触片61を延在してある。そして、前記可動接触片61は、その自由端部から延在した可動接点片62の両側に、操作舌片63,64をそれぞれ配置し、かつ、一体に回動するように連結されている。ついで、前記第3可動接点端子60は、その端子部65を前記ベース10に設けた端子孔21bに圧入して固定される。
第1,第2復帰バネ70,71は、後述する第1,第2プランジャ80,90を元の位置に復帰させるバネ力を付与するために設けられたものである。そして、前記第1,第2復帰バネ70,71は、前記ベース10の支持突部16,18にそれぞれ挿通して位置決めされる。
第1プランジャ80は、その下端部に前記ベース10の第1凹所13内を摺動できる鍔部81を設けてあるとともに、その上端部に押圧部82を設けてある。また、前記第1プランジャ80は、前記鍔部81の内向面から略直角に屈曲した操作腕部83を延在してある。そして、前記操作腕部83は、その自由端部に操作体84を一体成形してあるとともに、その基部にガイド溝85を設けてある。前記操作体84は、図2に示すように、正面略台形を有し、その片側側面に操作面84aを有している。前記操作面84aは、前記操作舌片43,63を円滑に操作するためにテーパ面となっている。なお、前記操作面84aは、必ずしもこの形状に限らず、円弧面、例えば、放物線形状であってもよく、必要に応じて各種の形状から選択できることは勿論である。さらに、前記第1プランジャ80は、その底面に収納孔86を設けてある(図3)。
そして、第1プランジャ80の収納孔86に第1復帰バネ70を収納することにより、前記第1プランジャ80は前記第1復帰バネ70のバネ力で上方に付勢される。
第2プランジャ90は、前記第1プランジャ80との間を仕切る仮想面を中心として鏡像の関係となるように形成されている。すなわち、両者は右手と左手のように互いに重ね合わすことができない立体形状を有している。このため、第2プランジャ90は、前記第1プランジャ80と同様に、その下端部に前記ベース10の第2凹所14内を摺動可能な鍔部91を設けてあるとともに、その上端部に押圧部92を設けてある。また、前記第2プランジャ90は、前記鍔部91の内向面から略直角に屈曲した操作腕部93を延在してある。そして、前記操作腕部93は、その自由端部に操作体94を一体成形してあるとともに、その基部にガイド溝95を設けてある。前記操作体94は、図3に示すように、正面略台形を有し、その片側側面に操作面94aを有している。前記操作面94aは、前記操作舌片64,53を円滑に操作するためにテーパ面となっている。なお、前記操作面94aは、必ずしもこの形状に限らず、円弧面、例えば、放物線形状であってもよく、必要に応じて各種の形状から選択できることは勿論である。さらに、前記第2プランジャ90は、その底面に収納孔96を設けてある。
そして、第2プランジャ90の収納孔96に第2復帰バネ71を収納することにより、前記第2プランジャ90は前記第2復帰バネ71のバネ力で上方に付勢される。
カバー100は、前記ベース10に嵌合可能な平面形状を有する箱形状であり、その上面に面板101を一体成形してあるとともに、一対の環状仕切り壁102,103で一対の操作孔104,105を形成してある。このため、前記カバー100は、前記環状仕切り壁102,103で3つの空間、すなわち、操作孔104,105および中央凹所106(図3)に仕切られている。
また、前記カバー100は、前記環状仕切り壁102,103の対向する内向面にガイド溝102a,103aを設けてある。前記ガイド溝102a,103aは、前記ベース10のガイド溝11a,12aにそれぞれ連続するものである。そして、前記中央凹所106の隅部に抜け止めリブ107,107を設けてある。さらに、前記カバー100は、長辺側の一方の側面に前記操作孔104,105に連通する水抜き孔108a,108bを設けてある。ついで、前記カバー100は、その下方開口縁部に沿って、前記ベース10の係合爪部25に係合する係合孔109を設けてある。
次に、組立手順について説明する。
前記ベース10の端子孔21a,21b,21c,21dに、第1可動接点端子40の端子部44,第3可動接点端子60の端子部65,共通固定接点端子30の端子部34,第2可動接点端子50の端子部54をそれぞれ圧入する。このとき、共通固定接点端子30、および、第1,第2,第3可動接点端子40,50,60を前記ベースに10に組み付けると、前記可動接触片41,51,61自身のバネ力で、前記可動接点42a,52a,62aが固定接点31a,32a,33aにそれぞれ所定の圧力で接触する。
そして、前記ベース10の支持突部16,18に第1,第2復帰バネ70,71を挿通する。
一方、前記カバー100の操作孔104,105に第1,第2プランジャ80,90を下方側から組み付ける。そして、前記第1,第2プランジャ80,90の収納孔86,96内に前記第1,第2復帰バネ70,71を収納するように組み付け、前記ベース10の係合爪部25に前記カバー100の係合孔109を係合することにより、組立作業が完了する。
このとき、第1プランジャ80の操作体84が、第1可動接点端子40の操作舌片43および第3可動接点端子60の操作舌片63を押圧する。また、第2プランジャ90の操作体94が、第2可動接点端子50の操作舌片53および第3可動接点端子60の操作舌片64を押圧する。このため、可動接点42aが固定接点31aから開離し、可動接点52aが固定接点32aから開離するとともに、可動接点62aが固定接点33aから開離している。
なお、前記押しボタンスイッチは、図23ないし図25に示すように取付板110の取付孔111に、前記ベース10側から挿入することにより、弾性爪部26が内側に弾性変形した後、弾性復帰する。そして、前記弾性爪部26と前記カバー100の面板101とで、前記取付板110の取付孔111の開口縁部を挟持することにより、押しボタンスイッチが抜け止めされる。
特に、本実施形態では、前記取付孔111の開口縁部が1段低くなっている。このため、前記押しボタンスイッチを取り付けても、前記面板101と取付板110とが面一になる。この結果、外部からの衝撃力が前記押しボタンスイッチに作用する可能性が低くなり、故障しにくいだけでなく、デザインとして美麗になるという利点がある。
また、前記押しボタンスイッチは、冷蔵庫等に使用された場合であっても、防滴・防食品汁による短絡および復帰不良を防止するための下記のような防水構造を有している。
すなわち、第1,第2プランジャ80,90を収納した空間と、共通固定接点端子30等を収納した空間とは、前記ベース10の仕切り壁11,12と、前記カバー100の環状仕切り壁102,103とで仕切られている。このため、共通固定接点端子30等を配置した空間内に外部からの水滴,食品汁等が侵入,付着することを防止できる。
また、前記共通固定接点端子30等は、前記ベース10の底面から一段高い段部20に組み付けられている。このため、万一、前記ベース10の第3凹所15内に食品汁が浸入しても、固定接点31a,32a,33aに付着しにくい。
そして、第1,第2プランジャ80,90か復帰位置に復帰している場合には、第1,第2復帰バネのバネ力により、前記操作腕部83,93の基部が、前記カバー100の環状仕切り壁102,103の下端部に圧接している。このため、水等の侵入を効果的に防止できる。
さらに、前記第1,第2プランジャ80,90の押圧部82,92の外周縁部が円弧面であり、前記カバー100の操作孔104,105の内周面に線接触している。このため、水滴,食品汁の侵入を防止できる。特に、前記食品汁が前記押圧部82,92と前記操作孔104,105との隙間に溜まり、凝固しても、スイッチの開閉操作に伴って前記凝固状態が破壊され、正常動作するという利点がある。
ついで、前記カバー100には操作孔104,105に連通する水抜き孔108a,108bを設けてある。このため、前記操作孔104,105に水等が浸入しても、前記水抜き孔108a,108bを介して外部に流出させることができ、水等が内部深くに侵入することを防止できる。
また、前記第1,第2プランジャ80,90の操作腕部83,93は、略L字形状に屈曲している。このため、操作孔104,105内に進入した水は前記操作腕部83,93を伝って内部に侵入することがない。特に、図4および図5に示すように、前記操作腕部83,93の角部83a,93aが前記カバー100のガイド溝102a,103aにそれぞれ嵌合しているので、沿面距離が長くなり、水等がより一層浸入しにくくなるという利点がある。
次に、前記押しボタンスイッチの操作方法について説明する。
まず、操作前の復帰位置に第1,第2プランジャ80,90がある場合、図9および図10に示すように、第1プランジャ80の操作体84の操作面84aが、可動接触片41の操作舌片43と、可動接触片61の操作舌片63とを押圧している。また、第2プランジャ90の操作体94の操作面94aが、第2可動接点端子50の操作舌片53と、第3可動接点端子60の操作舌片64を押圧している。このため、可動接点42a,52a,62aは、固定接点31a,32a,33aからそれぞれ開離している。
そして、図13および図14に示すように、第1プランジャ80だけを押し下げると、操作体84が下降し、操作面84aが操作舌片43の表面を摺動することにより、前記操作舌片43に対する負荷が低減する。このため、可動接触片41が弾性復帰し、可動接点42aが固定接点31aに接触する。要するに、第1プランジャ80の押し込み方向に対して垂直方向に可動接触片41の可動接点42aが変位する。
さらに、図15および図16に示すように、前記第1プランジャ80を押し下げると、前記操作体84の操作面84aが操作舌片43から離れ、操作舌片43への負荷が全くなくなり、可動接点42aが固定接点31aに所定の圧力で接触する。
なお、前記第3可動接点端子60の可動接触片61は、その操作舌片64がプランジャ90の操作体94に位置規制されているので、可動接点62aが固定接点33aに接触することはない。
そして。前記第1プランジャ80に対する押し下げ操作を解除すると、第1復帰バネ70のバネ力で前記第1プランジャ80が押し戻され、元に位置に復帰する。このため、前記操作体84が上昇し、操作面84aが操作舌片43を押し戻し、可動接点42aが固定接点31aから開離する。
ついで、図17および図18に示すように、第2プランジャ90だけを押し下げると、操作体94が下降し、操作面94aが操作舌片53の表面を摺動することにより、操作舌片53に対する負荷が低減する。このため、可動接触片51が弾性復帰し、可動接点52aが固定接点32aに接触する。要するに、第2プランジャ90の押し込み方向に対して垂直方向に可動接触片51の可動接点52aが変位する。
さらに、前記第2プランジャ90を押し下げると、前記操作体94の操作面94aが操作舌片53から離れ、図18に示すように、前記操作体94から操作舌片53への負荷が全くなくなり、可動接点52aが固定接点32aに所定の圧力で接触する。
なお、前記第3可動接点端子60の可動接触片61は、その操作舌片63が第1プランジャ80の操作体84に位置規制されているので、可動接点62aが固定接点33aに接触することはない。
そして、前記第2プランジャ90に対する押し下げ操作を解除すると、第2復帰バネ71のバネ力で前記第2プランジャ90が押し戻され、元に位置に復帰する。このため、前記操作体94が上昇し、操作面94aが操作舌片53を押し戻し、可動接点52aが固定接点32aから開離する。
第1,第2プランジャを同時に押し下げると、図19ないし図22に示すように、操作体84,94が下降し、操作面84aが操作舌片43,63の表面を摺動するとともに、操作面94aが操作舌片64,53の表面を摺動し、操作舌片43,63,64,53に対する負荷が低減する。このため、可動接触片41,61,51が弾性復帰し、可動接点42a,62a,52aが固定接点31a,33a,32aにそれぞれ接触する。
さらに、前記第1,第2プランジャ80,90を更に押し下げると、前記操作体84,94の操作面84a,94aが操作舌片43,63,64,53から離れ、操作体84,94から可動接触片41,61,51への負荷が全くなくなり、可動接点42a,62a,52aが固定接点31a,33a,32aに所定の圧力でそれぞれ接触する。
そして、前記第1,第2プランジャ80,90に対する押し下げ操作を解除すると、第1,第2復帰バネ70,71のバネ力で前記第1,第2プランジャ80,90が押し戻され、元に位置に復帰する。このため、前記操作体84,94が上昇し、操作面84a,94aが操作舌片43,53および操作舌片63,64をそれぞれ押し戻し、可動接点42a,62a,52aが固定接点31a,33a,32aからそれぞれ開離する。
第2実施形態は、図26ないし図30に示すように、第3可動接点端子60を組み込んでいない点を除き、前述の第1実施形態と同一の基本構造を有している。このため、他は前述の第1実施形態と同様であるので、同一部分には同一番号を附して説明を省略する。
なお、本実施形態によれば、第1,第2プランジャ80,90を操作するだけで、可動接点42a,52aが固定接点31a,32aにそれぞれ接触する押しボタンスイッチが得られる。
第3実施形態は、図31ないし図35に示すように、第1,第2可動接点端子40,50を組み込んでいない点を除き、前述の第1実施形態と同一の基本構造を有している。このため、他は前述の第1実施形態と同様であるので、同一部分には同一番号を附して説明を省略する。
なお、本実施形態によれば、第1,第2プランジャ80,90を同時に操作した場合にのみ、可動接点62aが固定接点33aに接触する押しボタンスイッチが得られる。
前述の操作工程を理解しやすくするため、前記押しボタンスイッチを観音開きのドアを有する冷凍冷蔵庫に適用し、前記観音開きのドアの開閉検知を行った場合についてまとめたタイムチャートを図36に示す。
第4実施形態は、図37ないし図46に示すように、第1プランジャ80のみを有する押しボタンスイッチである。
本実施形態に係る押しボタンスイッチは、図43および図44に示すように、大略、ベース10と、共通固定接点端子30と、第1可動接点端子40と、第1復帰バネ70と、第1プランジャ80と、カバー100と、で構成されている。基本構造は前述の第1実施形態とほぼ同様であるので、同一部分には同一番号を附して説明を省略する。
操作前は、図37および図38に示すように、第1プランジャ80は復帰位置にあるので、操作体84が第1可動接点端子40の操作舌片43に圧接しており、可動接点42aが固定接点31aから開離している。
そして、図39および図40に示すように、前記第1プランジャ80を押し下げると、前記操作体84が下降し、操作面84aか操作舌片43の表面を摺動し、操作舌片43に対する負荷が低減する。このため、可動接触片41が弾性復帰し、可動接点42aが固定接点31aに接触する。
さらに、前記第1プランジャ80を押し下げると、図41および図42に示すように、前記操作体84が下降し、前記操作体84からの負荷が全くなくなり、可動接点42aが固定接点31aに所定の圧力で接触する。
ついで、前記第1プランジャ80に対する押し下げ操作を解除すると、第1復帰バネ70のバネ力で前記第1プランジャ80が押し戻され、元に位置に復帰する。このため、前記操作体84が上昇し、操作面84aが操作舌片43を押し戻し、可動接点42aが固定接点31aから開離する。
本実施形態によれば、共通部品を必要に応じて選択して組み合わせることにより、出力タイプが異なる押しボタンスイッチが得られる。このため、多種多様な商品を製造するための部品点数が実質的に少なくなり、部品の在庫管理が容易になるという利点がある。
本発明に係る押しボタンスイッチは、冷凍冷蔵庫に限らず、他の電気機器や建築物のドアに適用してもよいことは勿論である。
10 ベース10
11,12 仕切り壁
11a,12a ガイド溝
13 第1凹所
14 第2凹所
15 第3凹所
16 支持突部
17 位置決めリブ
18 支持突部
20 段部
21a,21b,21c,21d 端子孔
22 コネクタ部
23 迫り出し部
30 共通固定接点端子
31 第1固定接点片
31a 第1固定接点
32 第2固定接点片
32a 第2固定接点
33 第3固定接点片
33a 第1固定接点
34 端子部
40 第1可動接点端子
41 可動接触片
42 可動接点片
42a 可動接点
43 操作舌片
44 端子部
50 第2可動接点端子
51 可動接触片
52 可動接点片
52a 可動接点
53 操作舌片
54 端子部
60 第3可動接点端子
61 可動接触片
62 可動接点片
62a 可動接点
63,64 操作舌片
64 端子部
70 第1復帰バネ
71 第2復帰バネ
80 第1プランジャ
81 鍔部
82 押圧部
83 操作腕部
84 操作体
84a 操作面
85 ガイド溝
86 収納孔
90 第2プランジャ
91 鍔部
92 押圧部
93 操作腕部
94 操作体
94a 操作面
95 ガイド溝
96 収納孔
100 カバー
101 面板
102,103 環状仕切り壁部
102a,103a ガイド溝
104,105 操作孔
107 抜け止めリブ
108a 水抜き孔
108b 水抜き孔
110 取付板
111 取付孔

Claims (7)

  1. ベースとカバーとからなるハウジングと、
    前記カバーに押し下げ可能に取り付けられ、かつ、内向面から側方に突き出した操作腕部の先端に操作体を有する少なくとも1つのプランジャと、
    前記プランジャの押し下げ操作で駆動する可動接触片と、
    前記可動接触片に設けた可動接点と、
    前記可動接点に接離可能に配置された固定接点と、を備える押しボタンスイッチであって、
    前記可動接触片が、
    前記可動接点を設けた可動接点片と、
    前記可動接点片の側にそれぞれ配置され、かつ、前記可動接点片と一体に回動するように連結された操作舌片と
    を有し、
    一対の前記プランジャで一対の前記操作舌片をそれぞれ操作することにより、前記可動接点が前記固定接点に接離されることを特徴とする押しボタンスイッチ。
  2. 前記可動接点片の両側の一方に前記操作舌片を配置した第1可動接触片と、前記第1可動接触片との間を仕切る仮想面を中心として鏡像関係となるように形成した第2可動接触片とを、前記ハウジング内でかつ前記可動接触片の両側に対称となるようにそれぞれ配置し、一対の前記プランジャで、前記第1可動接触片の前記操作舌片と前記第2可動接触片の前記操作舌片とをそれぞれ操作することにより、前記第1可動接触片の第1可動接点と前記第2可動接触片の第2可動接点とが、第1固定接点および第2固定接点にそれぞれ接離されることを特徴とする請求項1に記載の押しボタンスイッチ。
  3. 前記操作体が、前記操作舌片の表面上を摺動する操作面を有することを特徴とする請求項1または2に記載の押しボタンスイッチ。
  4. 前記可動接触片が略U字形状に屈曲していることを特徴とする請求項1ないしのいずれか1項に記載の押しボタンスイッチ。
  5. 前記操作舌片が、前記プランジャに向けて迫り出すように屈曲していることを特徴とする請求項1ないしのいずれか1項に記載の押しボタンスイッチ。
  6. 前記プランジャの押圧部が、前記ハウジングの表面と面一であることを特徴とする請求項1ないしのいずれか1項に記載の押しボタンスイッチ。
  7. 一対の前記プランジャが、両者を仕切る仮想面を中心として鏡像関係となるように形成されていることを特徴とする請求項1ないしのいずれか1項に記載の押しボタンスイッチ。
JP2014253499A 2014-12-15 2014-12-15 押しボタンスイッチ Active JP6409552B2 (ja)

Priority Applications (4)

Application Number Priority Date Filing Date Title
JP2014253499A JP6409552B2 (ja) 2014-12-15 2014-12-15 押しボタンスイッチ
DE112015005625.4T DE112015005625B4 (de) 2014-12-15 2015-11-30 Druckschalter
US15/510,251 US10056202B2 (en) 2014-12-15 2015-11-30 Push button switch
PCT/JP2015/083587 WO2016098568A1 (ja) 2014-12-15 2015-11-30 押しボタンスイッチ

Applications Claiming Priority (1)

Application Number Priority Date Filing Date Title
JP2014253499A JP6409552B2 (ja) 2014-12-15 2014-12-15 押しボタンスイッチ

Publications (2)

Publication Number Publication Date
JP2016115550A JP2016115550A (ja) 2016-06-23
JP6409552B2 true JP6409552B2 (ja) 2018-10-24

Family

ID=56126465

Family Applications (1)

Application Number Title Priority Date Filing Date
JP2014253499A Active JP6409552B2 (ja) 2014-12-15 2014-12-15 押しボタンスイッチ

Country Status (4)

Country Link
US (1) US10056202B2 (ja)
JP (1) JP6409552B2 (ja)
DE (1) DE112015005625B4 (ja)
WO (1) WO2016098568A1 (ja)

Families Citing this family (18)

* Cited by examiner, † Cited by third party
Publication number Priority date Publication date Assignee Title
JP1560787S (ja) * 2016-02-29 2016-10-17
USD836570S1 (en) * 2017-12-20 2018-12-25 Juluen Enterprise Co., Ltd. Switch
US10141132B1 (en) * 2017-12-27 2018-11-27 Solteam Electronics (Dong Guan) Co., Ltd. Dual-actuator switch
USD874410S1 (en) * 2018-09-10 2020-02-04 Raffel Systems, Llc Switch
USD867310S1 (en) * 2018-09-10 2019-11-19 Raffel Systems, Llc Switch
US10925404B2 (en) 2019-04-01 2021-02-23 La-Z-Boy Incorporated Modular components for furniture members
USD897970S1 (en) * 2019-04-01 2020-10-06 La-Z-Boy Incorporated Mounting cradle with remote control device for motion furniture
USD897968S1 (en) * 2019-04-01 2020-10-06 La-Z-Boy Incorporated Control panel for motion furniture
USD909315S1 (en) * 2019-04-01 2021-02-02 La-Z-Boy Incorporated Remote control device for motion furniture
USD897969S1 (en) * 2019-04-01 2020-10-06 La-Z-Boy Incorporated Mounting cradle for remote control device for motion furniture
US10932379B2 (en) 2019-04-01 2021-02-23 La-Z-Boy Incorporated Furniture member having circuit board assembly
USD885351S1 (en) * 2019-04-04 2020-05-26 Raffel Systems, Llc Switch
USD885353S1 (en) * 2019-04-04 2020-05-26 Raffel Systems, Llc Switch
USD885352S1 (en) * 2019-04-04 2020-05-26 Raffel Systems, Llc Switch
USD911296S1 (en) * 2019-08-14 2021-02-23 Raffel Systems, Llc Switch
USD930598S1 (en) * 2020-08-24 2021-09-14 Timotion Technology Co., Ltd. Controller
USD933029S1 (en) * 2020-11-17 2021-10-12 Timotion Technology Co., Ltd. Furniture controller
USD929950S1 (en) * 2021-01-29 2021-09-07 Xiamen Raffle Systems Smart Technology Co., Ltd. Electric sofa controller

Family Cites Families (9)

* Cited by examiner, † Cited by third party
Publication number Priority date Publication date Assignee Title
US2713092A (en) * 1951-03-23 1955-07-12 Furnas Electric Co Push button switch assemblage
JPS59185676U (ja) * 1983-05-30 1984-12-10 松下電工株式会社 回路しや断器のテスト装置
JPS60164730U (ja) * 1984-04-11 1985-11-01 三洋電機株式会社 貯蔵庫用ドアスイツチ
JPH0532909Y2 (ja) * 1984-10-15 1993-08-23
JPH0752062B2 (ja) 1986-12-01 1995-06-05 松下冷機株式会社 冷凍冷蔵庫用ドアスイツチ
JPH0631620Y2 (ja) * 1989-08-21 1994-08-22 日本電気株式会社 キーボードスイッチ
DE10237282B4 (de) 2001-08-20 2022-11-10 Omron Corp. Schalter, Druckknopfschalter und Drehhebelschalter
JP4063007B2 (ja) * 2001-08-20 2008-03-19 オムロン株式会社 回動スイッチ
JP2006310226A (ja) * 2005-05-02 2006-11-09 Omron Corp マイクロスイッチ

Also Published As

Publication number Publication date
JP2016115550A (ja) 2016-06-23
US20170287657A1 (en) 2017-10-05
WO2016098568A1 (ja) 2016-06-23
DE112015005625B4 (de) 2023-12-28
DE112015005625T5 (de) 2017-09-07
US10056202B2 (en) 2018-08-21

Similar Documents

Publication Publication Date Title
JP6409552B2 (ja) 押しボタンスイッチ
EP3166121B1 (en) Electrical pushbutton switch
US8193461B2 (en) Electrical switch, particularly of microswitch design
WO2018168130A1 (ja) スイッチ
JP2016115551A (ja) 押しボタンスイッチ
EP2889886A1 (en) Electromagnetic relay
CN205159160U (zh) 开关装置以及开关装置组装体
CN103632877B (zh) 多方向开关装置
JP3172749U (ja) プッシュスイッチ
WO2015129158A1 (en) Switch module and wall switch
KR101150763B1 (ko) 푸쉬 스위치장치
US7518072B2 (en) Latch releasing device
CN104981119B (zh) 电子装置
JP4784708B1 (ja) スイッチ
JP2009245801A (ja) スライドスイッチ
JP4524247B2 (ja) スイッチ装置
EP2919253B1 (en) Electromagnetic relay
JP4725496B2 (ja) スイッチ
JP6128955B2 (ja) 切換え装置
JP4116308B2 (ja) プッシュ型スイッチ
JP2010033843A (ja) スライド操作型電気部品
JP3882251B2 (ja) プッシュ機構付スライドスイッチ
JP3198871U (ja) 対向接点スイッチ
JP3973650B2 (ja) 貯蔵庫用ドアスイッチ
JP2001093385A (ja) スライドスイッチ

Legal Events

Date Code Title Description
A621 Written request for application examination

Free format text: JAPANESE INTERMEDIATE CODE: A621

Effective date: 20170804

RD03 Notification of appointment of power of attorney

Free format text: JAPANESE INTERMEDIATE CODE: A7423

Effective date: 20171130

A131 Notification of reasons for refusal

Free format text: JAPANESE INTERMEDIATE CODE: A131

Effective date: 20180529

A521 Request for written amendment filed

Free format text: JAPANESE INTERMEDIATE CODE: A523

Effective date: 20180709

TRDD Decision of grant or rejection written
A01 Written decision to grant a patent or to grant a registration (utility model)

Free format text: JAPANESE INTERMEDIATE CODE: A01

Effective date: 20180828

A61 First payment of annual fees (during grant procedure)

Free format text: JAPANESE INTERMEDIATE CODE: A61

Effective date: 20180910

R150 Certificate of patent or registration of utility model

Ref document number: 6409552

Country of ref document: JP

Free format text: JAPANESE INTERMEDIATE CODE: R150