JP6364458B2 - 対流性及び放射性の各熱移行により乾燥機内のウェブの乾燥を調節する方法 - Google Patents

対流性及び放射性の各熱移行により乾燥機内のウェブの乾燥を調節する方法 Download PDF

Info

Publication number
JP6364458B2
JP6364458B2 JP2016160766A JP2016160766A JP6364458B2 JP 6364458 B2 JP6364458 B2 JP 6364458B2 JP 2016160766 A JP2016160766 A JP 2016160766A JP 2016160766 A JP2016160766 A JP 2016160766A JP 6364458 B2 JP6364458 B2 JP 6364458B2
Authority
JP
Japan
Prior art keywords
air
web
infrared
temperature
float
Prior art date
Legal status (The legal status is an assumption and is not a legal conclusion. Google has not performed a legal analysis and makes no representation as to the accuracy of the status listed.)
Active
Application number
JP2016160766A
Other languages
English (en)
Other versions
JP2016191550A (ja
Inventor
スティーブン・ジェイ・ザガー
マイケル・オー・ロシュロー
レス・ピーターソン
Current Assignee (The listed assignees may be inaccurate. Google has not performed a legal analysis and makes no representation or warranty as to the accuracy of the list.)
Durr Megtec LLC
Original Assignee
Babcock and Wilcox Megtec LLC
Priority date (The priority date is an assumption and is not a legal conclusion. Google has not performed a legal analysis and makes no representation as to the accuracy of the date listed.)
Filing date
Publication date
Application filed by Babcock and Wilcox Megtec LLC filed Critical Babcock and Wilcox Megtec LLC
Publication of JP2016191550A publication Critical patent/JP2016191550A/ja
Application granted granted Critical
Publication of JP6364458B2 publication Critical patent/JP6364458B2/ja
Active legal-status Critical Current
Anticipated expiration legal-status Critical

Links

Images

Classifications

    • FMECHANICAL ENGINEERING; LIGHTING; HEATING; WEAPONS; BLASTING
    • F26DRYING
    • F26BDRYING SOLID MATERIALS OR OBJECTS BY REMOVING LIQUID THEREFROM
    • F26B3/00Drying solid materials or objects by processes involving the application of heat
    • F26B3/28Drying solid materials or objects by processes involving the application of heat by radiation, e.g. from the sun
    • F26B3/30Drying solid materials or objects by processes involving the application of heat by radiation, e.g. from the sun from infrared-emitting elements
    • BPERFORMING OPERATIONS; TRANSPORTING
    • B41PRINTING; LINING MACHINES; TYPEWRITERS; STAMPS
    • B41FPRINTING MACHINES OR PRESSES
    • B41F23/00Devices for treating the surfaces of sheets, webs, or other articles in connection with printing
    • B41F23/04Devices for treating the surfaces of sheets, webs, or other articles in connection with printing by heat drying, by cooling, by applying powders
    • B41F23/0403Drying webs
    • B41F23/0406Drying webs by radiation
    • B41F23/0413Infrared dryers
    • FMECHANICAL ENGINEERING; LIGHTING; HEATING; WEAPONS; BLASTING
    • F26DRYING
    • F26BDRYING SOLID MATERIALS OR OBJECTS BY REMOVING LIQUID THEREFROM
    • F26B13/00Machines and apparatus for drying fabrics, fibres, yarns, or other materials in long lengths, with progressive movement
    • F26B13/10Arrangements for feeding, heating or supporting materials; Controlling movement, tension or position of materials
    • F26B13/101Supporting materials without tension, e.g. on or between foraminous belts
    • F26B13/104Supporting materials without tension, e.g. on or between foraminous belts supported by fluid jets only; Fluid blowing arrangements for flotation dryers, e.g. coanda nozzles
    • FMECHANICAL ENGINEERING; LIGHTING; HEATING; WEAPONS; BLASTING
    • F26DRYING
    • F26BDRYING SOLID MATERIALS OR OBJECTS BY REMOVING LIQUID THEREFROM
    • F26B3/00Drying solid materials or objects by processes involving the application of heat
    • F26B3/28Drying solid materials or objects by processes involving the application of heat by radiation, e.g. from the sun
    • F26B3/283Drying solid materials or objects by processes involving the application of heat by radiation, e.g. from the sun in combination with convection
    • YGENERAL TAGGING OF NEW TECHNOLOGICAL DEVELOPMENTS; GENERAL TAGGING OF CROSS-SECTIONAL TECHNOLOGIES SPANNING OVER SEVERAL SECTIONS OF THE IPC; TECHNICAL SUBJECTS COVERED BY FORMER USPC CROSS-REFERENCE ART COLLECTIONS [XRACs] AND DIGESTS
    • Y02TECHNOLOGIES OR APPLICATIONS FOR MITIGATION OR ADAPTATION AGAINST CLIMATE CHANGE
    • Y02PCLIMATE CHANGE MITIGATION TECHNOLOGIES IN THE PRODUCTION OR PROCESSING OF GOODS
    • Y02P70/00Climate change mitigation technologies in the production process for final industrial or consumer products
    • Y02P70/10Greenhouse gas [GHG] capture, material saving, heat recovery or other energy efficient measures, e.g. motor control, characterised by manufacturing processes, e.g. for rolling metal or metal working

Landscapes

  • Engineering & Computer Science (AREA)
  • Mechanical Engineering (AREA)
  • General Engineering & Computer Science (AREA)
  • Life Sciences & Earth Sciences (AREA)
  • Microbiology (AREA)
  • General Health & Medical Sciences (AREA)
  • Health & Medical Sciences (AREA)
  • Toxicology (AREA)
  • Textile Engineering (AREA)
  • Chemical & Material Sciences (AREA)
  • Combustion & Propulsion (AREA)
  • Drying Of Solid Materials (AREA)
  • Supply, Installation And Extraction Of Printed Sheets Or Plates (AREA)
  • Treatment Of Fiber Materials (AREA)

Description

本発明は2009年6月5日付で提出され、ここに参照することによりその記載内容を本発明の一部とする米国仮特許出願番号第61/184,353の優先権を主張するものである。
ここに記載する各実施例は、ウェブ、印刷済みウェブ、新聞用紙、フィルム材料あるいはプラスチックシート等の、一般に平坦で可撓性を有する連続材料の位置決め、乾燥または硬化に際して使用するエアフロートバーに関し、詳しくは、赤外線電球等の赤外光源と、ウェブ材料から溶剤を蒸発させ、乾燥及び又は硬化させる加速赤外加熱を増強する反射面及びレンズとをその圧力パッドエリアに含むエアフロートバーに関する。
赤外線電磁加熱(electromagnetic infrared heat)エネルギーを、ウェブ表面上に吹き付ける空気ジェットと併用すると、材料は急速にその表面から溶剤が蒸発され、乾燥及び又は硬化される。
米国特許第5,035,066(Wimberger)号には、Coandaタイプのエアフロートバーへの赤外線エミッタ一体化方法が記載される。赤外線エミッタを包囲するチャネルアセンブリを通して冷却用エアが送られる。チャネルアセンブリは水晶レンズを構成し、かくして赤外線波長範囲の電磁エネルギーはチャネルアセンブリを通過してウェブに到達する。ある実施例では冷却用エアはチャネルアセンブリ内で赤外線エミッタの周囲を通過した後、チャネルアセンブリを構成する水晶レンズの孔から放出される。当該構成では、赤外線エミッタ周囲を通過した冷却用エアをウェブ表面上に放出させて熱の幾分かを回収するが、エア流路は赤外線エミッタの冷却及びウェブ表面に衝突するエアへの熱回収の両用には最適化されない。水晶レンズの孔をエアが通過する従来構成では、赤外線エミッタ及び水晶レンズを有効冷却して熱劣化または汚れに抗してそれらの寿命を望ましく維持する最適流体接触は得られない。
加えて赤外線エミッタ、水晶レンズ及びリフレクタ反射面からの熱回収も最大化されない。また、赤外線エミッタ、水晶レンズ及びリフレクタは、溶剤の侵攻性蒸気、インク及び又はコーティング材等の液体及び、破断ウェブからのペーパーダストまたはチャー(chards)等のその他汚染物で汚染されないことが望ましい。レンズに関して議論したと同じ理由から、リフレクタが冷却され且つ汚染防止されることも望ましい。それらの汚染は、赤外線エネルギーを水晶レンズを通してウェブ表面に送る代わりに赤外線エミッタ及び水晶レンズの水晶材料に吸収させ、かくして乾燥及び伝熱の効率を低下させると共に、赤外線エミッタ及び水晶レンズの各材料の設計温度を容易に上昇させ得ることから熱劣化も促進させる。同様に、汚染はリフレクタの反射率を低下させて乾燥及び伝熱の各効率を低下させ、材料を熱劣化させる。
赤外線乾燥機業界では既知の如く、紙ウェブ等の可燃性材料の着火の恐れを無くすため、それらの可燃性材料を高温表面に接触させないことが望ましい。赤外線エミッタからの熱流束がウェブに届くのを妨害し、定置ウェブまたは破断ウェブの着火を防止する急速作動手段を有することが更に望ましい。米国特許番号第6,049,995号及び同第6,195,909号(Rogne他)には赤外線熱流束阻止手段が記載されるが、当該手段はウェブが被処理材料の着火温度以上の温度に露呈されていないことを確認する検出手段と能動機械手段とを要する。当業者には既知の如く、ドイツ国HanauのHeraeus Noblelight 社から入手可能な急速冷却用タングステンまたはカーボンフィラメントエミッタを使用することがしばしば望ましい。これら急速冷却用エミッタは、乾燥プロセスへのアップセット中にウェブが停止または破断した場合に停止赤外線熱流束及び関連する表面温度を可燃性材料の着火を回避するに十分低下させるに要する時間を最小化する。それら急速冷却要素を備える場合でさえ、エアフロートバーの露出表面を全時間に渡り可能な限り冷却し、ウェブの停止または破断が未検出のままアップセットされた場合でも可燃性材料が着火する恐れを防止することが望ましい。
赤外線エネルギー手段による材料乾燥業界では、材料への有効吸収熱量はエミッタ温度、材料への赤外光通路を画定するジオメトリ、被乾燥剤の吸収特性、を含むキーファクタの数に依存することも既知である。エミッタは、その温度下に被乾燥材の最大吸収波長に相当する波長範囲内で電磁エネルギー流束を最大放出するタイプのものを選択することが望ましい。コーティングウェブ材料は代表的にはベースウェブ基材と、固形物から成るコーティングと、水または有機溶剤等の溶剤とを含み、溶剤は乾燥される。これら各材料は、使用するエミッタタイプの選択上考慮すべき赤外線波長の関数としての赤外線吸収特性またはスペクトルを有する。
印刷等の場合において、コーティングまたはインクが基材の全ての領域に一様に付着しない場合がある。その場合はコーティングまたはインク配置部分への赤外線エネルギー流束を最大化する一方、未コーティング(未印刷)部分への当該エネルギー流れを最小化することが望ましい。コーティング済み及び未コーティングの各部分の位置は被乾燥製品毎に変化する。その使用に際し、被乾燥部分には乾燥用エネルギーを差し向け、乾燥不要部分へのエネルギーを制限する従来法の1例では、溶剤の高吸収波長に一致する高波長範囲の赤外線熱流束を提供し、乾燥済みの固形物及び基材の吸収波長の赤外線エネルギー放出量は最小となるエミッタの選択が要求される。別の従来法では、アクティブ化(賦活化)または非アクティブ化(非賦活化)させ得る1列配置した複数のエミッタランプが、被乾燥部分の物理的位置に略一致する赤外線エネルギーを放出する。印刷及び非印刷の各部分のパターンが広範囲に変化する移動連続ウェブを乾燥する場合、固定エミッタ列をアクティブ化及び非アクティブ化する当該方法では乾燥エネルギーを粗空間スケール的にしか配向させ得ない。赤外線エネルギーは多少とも非乾燥ウェブの長手方向に沿ったレーンで印加され得るため、ウェブ移動方向に沿った各印刷済み部分間の非印刷部分への乾燥熱を制限するニーズを満たさない。
米国仮特許出願番号第61/184353号明細書 米国特許第5035066号明細書 米国特許第6049995号明細書 米国特許第6195909号明細書 米国特許第3549070号明細書 米国特許出願公開第2005/223593号明細書 米国特許第7530179号明細書
ウェブへの付加的な対流性熱移行及び付加的なウェブフロート支持を提供しつつ、エミッタ、光学レンズ、リフレクタ表面への冷却を最大化する通路に冷却用エアを案内し、他方、エミッタ、レンズ及びリフレクタ各表面を先に説明した汚染からシールドすることにより、従来技術に勝る改良を提供することである。エアフロートバーの露出面は、ウェブまたはその他の被処理材料の着火の恐れを機械的シャッターまたはシールドを使用せずに最小化するべく、可能な最低温度に維持される。
本発明によれば、ウェブ乾燥機で使用するそれの如き、ウェブ加熱及び又は乾燥用の赤外線エアフロートバーが提供される。エアフロートバー要素は当業者に既知の数種のタイプからその設計形状を選択し得る。エアフロートバーの設計形状例は米国特許第3,549,070号及び米国公開第2005/223593号に教示されるが、本発明のエアフロートバー要素はこれら特定例に限定されるものでは無い。エアフロートバーには、赤外電磁放射を発生し、発生した赤外電磁放射をウェブに移行させる1つ以上の赤外線エミッタが一体化され、エミッタ及び関連するリフレクタ及びレンズの各要素の冷却プロセスにおいて対流加熱された対流エアがウェブに付加的熱を移行させる。
当業者には理解される如く、エアフロートバーは、1つ以上の列をなすエアフロートバー上にフロート状態下に支持したウェブに、エアジェット作用に基づく対流性熱及び又は質量移行を提供する。前記エアジェットに供給するエアは、電気抵抗コイル、ホットコイルまたはスチームコイル等の個別熱源または、乾燥機内の1つ以上のエアバーにエアを供給する配管内に位置付けたバ−ナにより加熱し得る。赤外線エアフロートバーの場合、冷却用エアは赤外線エミッタにより加熱され、かくして乾燥機内のウェブに対する対流熱移行及び質量移行を助長する媒体となる。
加熱された冷却用エアは対流によりウェブと接触し、熱移行を増長させる。ここで説明する各実施例では冷却用エアの通路及びエアの流れ質量は、冷却用エアが先に説明した如く要素を保護し且つウェブ材料の着火の恐れを回避するに十分な冷却を提供する一方、得冷却用エアからの、ウェブを加熱及び乾燥させるための利用可能エネルギー量を最大化するべく当該冷却用エア温度を最大化するように配置され及び調整される。更に、加熱した冷却用エア及びフロート用のエアジェットはウェブとエアフロートバーとの間部分に直噴され且つ混合され、ウェブをフロート状態下に支持しつつ熱を対流移行させる。
対流によりウェブと接触した混合エアは乾燥機のエア源に戻り、その一部が、1つ以上のエアフロートバーに再循環して供給され得る。再循環エア量が最大化すると乾燥機の動作エネルギー消費量が最小化される。再循環しない残余エアである排気の換気率は、乾燥率を最大化する乾燥機内温度が維持されるよう、乾燥機の当業者により設定され得る。水等の非可燃性溶剤の乾燥に際しては、再循環率は代表的には、エアフロートバーへの全対流乾燥用供給エアフローのしばしば50〜95%の高レベルに最大化され得る。可燃性溶剤の場合、換気率は、被乾燥溶剤(単数または複数の)の爆発下限界濃度よりも十分に低い、代表的には25%での乾燥機運転が要求される安全条件に適合するように最もしばしば設定される。好ましい実施例では1つ以上の赤外線エアフロートバーのノズルに供給するエアは赤外線エミッタ要素のみにより加熱され、つまり供給エア加熱用のその他個別のヒータは不要となり、空気取り扱い設備の空間及び部品コストが削減される。最も好ましい実施例では、乾燥機内の再循環エアを70〜95%の範囲に最大化することにより、赤外線エアフロートバーの各ノズルに供給する対流エアが、水ベースのコーティングやインクの乾燥に望ましい、好ましくは約65.5〜148.8℃(150〜300°F)の範囲の所望温度に加熱され得る。
別の実施例では赤外線エアフロートバーへの供給エアの流量及び温度を、被乾燥ウェブへの赤外線熱流束を補完する所望の対流熱流束が得られるよう調整する。これにより、ウェブ加熱用の熱を優先配向し、他方、当該ウェブ上の、印刷の場合における如き湿乾両部分の何れも乾燥させるユニークな手段が提供される。一定の赤外線エミッタ温度及び一定の対流エア速度及び温度下に乾燥する間、ウェブの湿潤部分は水等の溶剤を蒸発させるに要する蒸発性エネルギーにより実質的に冷却される。当業者にはよく知られるように、湿潤部分は、湿球温度にその温度が接近し、また一定乾燥率期間中は十分な液体が蒸発するまで略当該温度を維持する傾向を有し、前記蒸発率は減率乾燥期間により制限される。減率乾燥期間に入るとウェブ温度は蒸発冷却の減少に従い上昇する。
印刷の場合、ウェブはインクで厚く覆われた部分と僅かにまたは全く覆われない部分を有し得る。低被覆性部分は比較的乾燥され、乾燥機に入ったほぼ直後に減率乾燥機に入ることがある。従って、ウェブの当該部分の温度は比較的湿った部分と対照的に著しく上昇し、乾燥機出口位置では所望レベルを上回る温度に達することがある。これにより、ウェブ製品が損傷するのみならず当該部分を過熱させるエネルギー浪費を招き得る。
本明細書に記載する各実施例において、赤外線エアフロートバーの高い対流熱移行特性が、赤外線放射モードとの組み合わせにおいて適用され、かくして乾燥機出口位置での比較的湿った及び乾燥した各部分間のウェブ温度差が減少され得る。当該ウェブ温度差減少は、2つの熱伝達モード、即ち、対流及び放射の各熱伝達モード組み合わせ作用により達成される。熱移行業界の当業者には認識されるように、熱流束は前記2つのモードを介して同時作用し、各モードからの寄与は付加的または逆向きに作用する。つまり、物体を加熱する赤外線エネルギーは同時に対流により熱を損失する。本発明によれば、先に説明した2つの熱伝達モードを、非印刷部分等の比較的乾燥した部分の過熱が、先に説明した従来技術の制限無く回避または軽減するよう均衡される。
乾燥機に入るウェブは代表的にはエア温度よりも低温であるため、放射及び対流の両熱伝達モード下に有効利に追加加熱される。赤外線エネルギーがウェブを加熱し続けてウェブの、特に比較的乾燥した(低被覆性)部分の温度がその調整エア温度を超えると赤外線放射とは逆向の対流性熱移行が生じ、かくしてエアがウェブの当該部分を比較的低温に維持する。他方、湿った部分(高被覆性)部分は先に説明した蒸発性冷却効果によりもっと低温(調整エア温度以下)に維持される。結局、各熱伝達モードにより、湿潤部分の乾燥率が、放射及び対流の双方によるよりも増進される。エア温度を乾燥機における湿球温度の直上の温度に調節することで、本発明の赤外線及び対流組み合わせ乾燥特性による、高被覆部分の急速乾燥の促進と、低被覆部分のウェブ過熱傾向の緩和とが許容される。
従来技術では冷却用エアについての条件は、エミッタと、リフレクタ及びレンズ等の関連要素との温度を制限することのみであった。本発明によれば、先に説明した如くエアフロートバーへの供給エア温度がウェブの湿乾両部分における加熱バランスに一致させるべく調節される。冷却用エア温度を調整変数とすることが望ましいことから、エミッタ及び関連要素に対する冷却設備の実施例には設計条件が追加される。ここで説明する各実施例では、冷却用エアの流量及び通路に関し、エア温度の当該変数が考慮される。赤外線エアフロートバーの設計形状を更に詳しく説明すると、赤外線電磁エネルギー波はエミッタフィラメントから直線方向態様下に送られた後、移動するウェブに当たる。前記赤外線電子エネルギー波はフィラメント保持及び保護用のエミッタバルブケーシングを貫き、次いで平坦なレンズを通過する。エミッタバルブケーシング及びレンズの各材料は代表的には、赤外線電磁エネルギーの波長範囲を通す特性を持つ水晶材料である。赤外線電磁エネルギー波はまた、当該赤外線電子エネルギー波を反射するリフレクタ表面に間接態様下にエミッタから反射され、次いで平坦なレンズを通過した後、横断ウェブ上に衝突する。
赤外線エネルギー業界の当業者には知られる如く、電磁エネルギーの、伝達性材料に入るまたは反射表面に衝突する一部は吸収される。吸収されたエネルギーは伝達性または反射性材料の温度を上昇させ、その伝達または反射特性を劣化させ得、結局はウェブ到達エネルギーを低減させ、またエミッタ及びレンズ材料を早期損傷させ得る。このエネルギーをエア流れにおいて回収し、ウェブとの流体接触状態に持ち来せばウェブ加熱及び乾燥上有益である。エネルギーの回収及び冷却効率は、安定量エアと一様下に流体接触させる場合に最大化される。本発明の各実施例において前記エネルギーの回収及び冷却効率は、加圧下にエア分配手段を通してエアフロートバーに送られる全供給エアの5〜40%、好ましくは7〜15%をエミッタバルブと一様に流体接触させ、次いでリフレクタの表面との流体接触状況下に流路を一様に案内し、次いで、平坦なレンズの両面と一様に流体接触させることで達成され得ることが示された。前記冷却用エア流れは、最も好ましくはエアフロートバーへの全供給エアの7〜15%の範囲である。また、冷却用エアがエミッタバルブ、リフレクタ及びレンズの各表面と一様に流体接触することで、先に説明した溶剤及びその他材料による汚染が防止される。
本発明の1様相によれば、エアフロートバーに挿通または後付けするようになっているチャネルアセンブリであって、少なくとも1つの孔及び一対の両側部を有する底部によって画定される画室を有し、該画室が、赤外光源と、赤外光のリフレクタと、赤外光を通すレンズとを含むチャネルアセンブリが提供される。前記孔は、画室内の赤外光源、リフレクタ及びレンズの周囲の冷却用流体の流れを許容する。着脱自在のチャネルアセンブリは赤外線エミッタの交換及び加圧下の冷却用エア流れを最適レベルに設定可能とする形態を有する。かくして、チャネルアセンブリを取り外して赤外光源を交換または補修し、次いでチャネルアセンブリをエアフロートバー内に再挿入し、またはチャネルを取り外して新規チャネルアセンブリをエアフロートバー内に挿通可能である。
好ましい実施例において、冷却用エア流れの、少なくとも1つの孔を通しての設定は調節自在である。少なくとも1つの孔を通しての冷却用エア流れは、可動要素を固定要素に関して、これら可動及び固定の各要素の組み合わせ状態での前記孔の流れ面積を増大または減少させるよう調節することにより設定する。当該設定は、選択した材料の熱劣化を回避するべく供給エア温度が最大限に調整される設定下に、エミッタ及び関連要素が十分冷却されるよう、前記可動要素位置を調節することにより実施される。更には、冷却用エア流れは、ウェブ破断あるいはそうでなければ張力低下時にウェブと接触し得るレンズ及びエアフロートバー及びその他表面の表面温度をウェブ材料の着火温度以下、好ましくは約204.4℃(400°F)に維持するよう設定される。冷却用エア流れの実用範囲は、赤外線エアフロートバーに送られる全供給エアの5〜40%、最も好ましくは7〜15%である。
図1は本発明の1実施例に従う赤外線エアフロートバーの断面図である。 図2は図1の赤外線エアフロートバーの、赤外線エネルギー波を示す断面図である。 図3は図1の赤外線エアフロートバーの、エアフローパターンを示す断面図である。 図4は本発明に従うシングルサイドフロート式赤外線エアフォイルの断面図である。 図5は、本発明に従うシングルサイドフロート式赤外線ステップフォイルの断面図である。 図6A−6Dは、本発明の1実施例に従う種々の赤外線バー形態の略例示図である。 図7は、本発明の1実施例に従う、2つの赤外線光源を持つコアンダエアフロートバーの断面図である。 図8Aは、本発明の1実施例に従うエアバーのエアフロー調節機構を示す平面図である。 図8Bは、本発明の1実施例に従うエアバーのエアフロー調節機構を示す側面図である。 図8Cは、本発明の1実施例に従うエアバーのエアフロー調節機構を示す底面図である。 図8Dは、本発明の1実施例に従うエアバーのエアフロー調節機構を示す端面図である。 図9Aは、本発明の1実施例に従うエアバーのエアフロー調節機構を示す平面図である。 図9Bは、本発明の1実施例に従うエアバーのエアフロー調節機構を示す端面図である。 図10は、本発明の1実施例に従う乾燥機の、供給エア、再循環エア、排気エア、の各特徴部分を複数の赤外線エアフロートバーと組み合わせた状態での略ダイヤグラム図である。 図11は図10の乾燥機の、供給エア、再循環エア、排気エアの各流路を示す略ダイヤグラム図である。 図12は乾燥機の、供給エア、再循環エア、排気エアの各特徴部分を複数の赤外線エアフロートバーと組み合わせた状態での略ダイヤグラム図である。 図13は乾燥機の、供給エア、再循環エア、排気エアの各特徴部分をコントローラを備える複数の赤外線エアフロートバーと組み合わせた状態での略ダイヤグラム図である。
一般に、ここで説明するエアフロートバーはスロット(長孔)から放出される1つ以上の複数のプライマリエアジェットを有する。これら複数のプライマリエアジェットはウェブをフロート状態下に支持する圧力フィールドを創出する。プライマリエアジェット供給エアは随意的にはウェブ乾燥用の熱及び又は質量移行を増長さえするべく加熱され得る。取り外し自在のチャネルに収納したエミッタ、リフレクタ、レンズの各要素を冷却するエアは、同じサプライプレナムからプライマリフロートエアとして取り出し得、または別個のエア源からチャネルアセンブリに送管し得る。冷却用エアは、エミッタ、リフレクタ及び平坦な光学レンズと接触した後、1つ以上のセカンダリジェットを通して放出されて、前記平坦なレンズ表面を掃引すると共にウェブ及び溶媒材料とレンズとの接触を防止する。
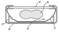
図1及び図2には本発明の好ましい実施例が示され、コアンダタイプのエアフロートバー要素(以下、エアバーとも称する)10が2つのプライマリフロートジェットと、第1プライマリフロートスロット12A及び第2プライマリフロートスロット12Bとを有している。図示の如く、第1プライマリフロートスロット12A及び第2プライマリフロートスロット12Bの好ましくは5〜40%、最も好ましくは15〜30%のセカンダリエアスロット14A及び14Bも設けられる。供給エアはエアバー10の底部18に位置付けた供給エアフィードインレット16(例えば、複数の楕円形孔)を介してエアバー10の供給エアプレナム15に入り、エアバーの長手方向に沿って斯界に既知の如く好適にフロートジェット分配されるべく配分される。赤外線要素が、サポートチャネル20を含むチャネルアセンブリとして構成され、前記サポートチャネル20がリフレクタ21を含み、該リフレクタ21が、ベースチャネルを貫く1つ以上の孔22にして、サポートチャネル20との正接点位置でリフレクタ21における相当する孔23と実質的に整列する孔22により、供給エアプレナム15または別個の冷却用エア源と流体連通する。各孔の流積の合計は、プライマリフロートスロット12A、12Bの面積、即ち、スロット長さ×スロット幅×スロット数の20〜100%に等しいことが好ましい。各孔の作用面積は、リフレクタ21の孔列をサポートチャネル20の相当する孔列と、完全整列状態から完全閉鎖状態までの範囲で整列させることにより調節し得、従って、冷却用エアフロー設定用の調節自在ダンパとして作用する。所望の整合を得るべくリフレクタをサポートチャネルに関してスライドさせる好適な機械的手段は当業者において容易に達成し得るものである。
図8A〜図8Dにはチャネルアセンブリの、赤外線エミッタ冷却用エアフローを調節可能とするスライド及び固定の各要素の好ましい実施例が示される。図8A及び図8Bには取り外し自在のサポートチャネル20内の、相当する好ましくは大きい孔22と整列し得る円形孔22aを備えるスライド調節要素27が示される。リフレクタ21には、相当するオーバーサイズの孔が、取り外し自在のサポートチャネル20の孔22と一致するように位置付けられる。スライド調節要素27は、リフレクタ21及びサポートチャネル20に関する孔22の開放面積がその完全同中心整合位置から減少する位置への当該要素27のスライド移動を許容する調節スロット27aを有する。図9A及び図9Bにはより好ましい実施例が示され、スライド調節要素27の孔22aとサポートチャネル20の孔22とはダイヤモンド形状を有し、かくして孔22の流積を減少させる場合にスライド調節要素を移動する際の微細流れ調節が許容される。リフレクタ21の孔23は長円形である。
サポートチャネル20は、分配部材24上に支持した底部材40と、内向きの終端部11A、11Bにおいて各終端する対向する側部材41A、41Bとを有する。サポートチャネル20の外側表面は側部材41A、41B間を跨ぎ、各端部11A、11Bは湾曲して、エアバー10の各側部7A、7Bの相当する各終端部と共に、プライマリフロートスロット12A、12Bであるところのコアンダスロットを画定する。サポートチャネル20はその中身と共にエアバー10からスライド移動可能であり、別のチャネルと、または、メンテナンスまたは内部のレンズ及びまたは電球交換後に同じチャネルと交換される。
孔開けプレート等の初期エア分配部材19をエアバー10内に設け、供給エアの一様分配を増長させ得る。この初期エア分配部材19の開放面積を約13%とするのが好適であることが分かった。スロットまたは孔を孔開けしたプレート等のセカンダリエア分配部材24を初期エア分配部材19の下流側に図示の如く位置決めし、同じくサポートチャネル20支持用に使用し得る。
サポートチャネル20はHeraeus Noblelight GmbH社より市販入手し得る赤外線エミッタ電球(以下エミッタとも称する)等の赤外光源30を含む。好ましくは平坦な水晶製レンズであるレンズ32を図示の如く赤外光源30の上方に位置決めし得る。前記レンズはエミッタを包囲し、他方、当該レンズを通しての赤外波長範囲の電磁エネルギーの通過及びエアバー10上方を浮動するウェブ50への到達(図2)を許容する。赤外光源30から放出された電磁エネルギーはレンズ32を通過してウェブ50上に直接放射される。サポートチャネル20内にはリフレクタ21も収納される。当該リフレクタは放物線形態を有し、ステンレス鋼またはアルミニューム等の好適な反射性材料から作製されることが好ましい。リフレクタ21は、レンズから赤外光源の下側に伸延してレンズ占有範囲を除く赤外光源を包囲し、かくして赤外光源からの放射は、図2に略示する如く、レンズを直接通過するかまたはリフレクタによりレンズ方向に反射され、最終的にはウェブ50上に放射される。
セカンダリエアスロット14A及び14Bは、レンズ32と、サポートチャネル20の内向きの終端部11A、11Bとの間の間隙((例えば0.025〜0.076mm)0.0010〜0.003インチ)により画定される。図3に略示する如く、入口16位置でエアバーに供給される供給エアは孔開けした初期エア分配部材19、孔開けしたセカンダリエア分配部材24、を各通過してプライマリフロートスロット12A、12Bから排出され、当該排出場所にウェブ50をフロート支持する圧力パッドまたは圧力フィールドを創出する。供給エアは、セカンダリエア分配部材24内の冷却用エア入口ジェット、サポートチャネル20の底部40、リフレクタ21、をも各通過し、リフレクタ21とレンズ32とにより画定される領域に入る。前記領域に入ったエアはかくしてエミッタ30、リフレクタ及びレンズを冷却する。これにより加熱されたエアはセカンダリエアスロット14A及び14Bの一方を通してサポートチャネル20から排出されてレンズ32表面を掃引し、かくしてウェブ及び溶媒材料及びその他デブリまたは汚染物とレンズ32との接触を防止する。当業者には認識される如く、エミッタ、リフレクタ及びレンズの各要素を冷却する流体は別個のエア源からチャネルアセンブリに送管され得る。
ある実施例ではレンズ32が省略され得、チャネルアセンブリから排出されるエアが仮想レンズとして使用され得、かくしてエミッタ30をウェブや恐らくは危険なデブリまたは汚染物から有効シールする。
図4には本発明の1実施例が例示され、エアバーがシングルサイド型フロートエアホイル(以下、エアホイルとも称する)10’とされている。本実施例では、ウェブ50に供給エアを放出する単一のプライマリフロートジェット12’と、取り外し自在のチャネルアセンブリ20’から冷却用エアを放出させる単一のセカンダリジェット14’とが設けられる。エアホイル10’は、図示実施例ではその上部部分を除き全体に矩形断面を有するヘッダにより部分的に画定される。ヘッダの各側部7A’、7B’は各上部フランジ部8A’、8B’において終端する。上部フランジ部8A’は垂直に関して好ましくは約65度傾斜され、ベント部13’位置で終端する。上部フランジ部8B’は対向する側部7A’方向に実質的に水平態様下に伸延する。ヘッダは、エアホイル10’の底部位置の、ガス源(図示せず)とガス受け用に連通する1つ以上の孔(図示せず)を介して受けるガス用のプレナムとして作用する。ヘッダは、ヘッダの各端部プレート位置のアライナ3を整合させることにより好適な配管上に位置決めされ、リテーナガスケット4によりシールされる。離間する複数の孔を有するディフューザプレートをヘッダ内に位置決めし、供給ガスの各スロット方向への一様配分化を助成させ得る。
ヘッダの上部フランジ部8A’及びベント部13’は、部材25の平坦部分23と共にエアホイルのプライマリフロートスロットを画定する。プライマリフロートスロット12’を出たエアはエアホイルのウィング35方向へのウェブ移動方向に流動し、前記ウィング35は直角下方に約1.27cm(約0.5インチ)伸延するフランジ34において終端する。次いで、エアはウェブ移動方向でウィングの上面に沿って移動し、かくしてウェブを支持する。図1の実施例における如く、取り外し自在の随意的なチャネルアセンブリ20が設けられ、リフレクタ21、レンズ32、赤外光源30が収納される。エアは、部材25の、チャネルアセンブリ20の底部40’の各孔23’と各整列する1つ以上の孔22’を通してチャネルアセンブリ20に入り、リフレクタ21、赤外光源30、レンズ32を冷却する。冷却用エア(かくして加熱された)はレンズ32と平坦な孔23との間の間隙を介してチャネルアセンブリ20から放出される。
図5には本発明の1実施例が番号10”で例示され、エアバーが、米国特許第7,530,179号に記載される如くシングルサイド型ステップホイルとされている。図4の実施例10’のエアホイルと同様、取り外し自在の随意的なチャネルアセンブリ20が設けられ、リフレクタ21、赤外光源30、レンズ32が収納される。図5及び図4の各実施例間の相違に関しては、図5の実施例ではプライマリフロートスロット12Aから離間され且つ下方にステップダウンさせて設けた第2セカンダリエアスロット14B’がウェブ50の浮動を補助する点が含まれる。セカンダリエアスロット14Bから放出されたエアはウェブと平行に移動する。プライマリフロートスロット12Aから放出されたエアはウェブ移動方向と平行方向で第2セカンダリエアスロット14B’のエアストリームに合流する。プライマリフロートスロットとセカンダリエアスロットとの間は、レンズ32の表面を含む全体に平坦なウェブサポート表面を構成する。ウェブ移動方向でのセカンダリエアスロットの下流側部分は第2ウェブサポート表面を構成し、当該表面はセカンダリエアスロット14B’から伸延して離れるに従い下方傾斜するウィング部を含む。前記第2ウェブサポート表面は随意的には第2レンズ332を含み得、当該第2レンズは、リフレクタ221、赤外光源300、レンズ332、を含む随意的な第2チャネルアセンブリ200の一部を構成する。ステップホイルの側部7Bは、供給エア(または別のエア源からのエア)のチャネルアセンブリへの流入及び先に説明した如きその内部のコンポーネンツの冷却を許容させる1つ以上の孔60を含み得る。
図7には更に他の実施例が示され、コアンダノズル内に2つのコアンダ放出スロット12A”、12B”を有している。図示した実施例では赤外光源30”が第1コアンダ放出スロット12A”の上流側でウェブ移動方向において位置決めされる。コアンダ放出スロット12A”により部分的に画定されるベント部材8A”が、赤外光源30”の周囲の流動及びそれによる当該赤外光源冷却を許容する1つ以上の孔を含む。レンズ32”は赤外光源30”の上方に位置決めされ得、電磁エネルギー透過性を有し、また設けられた場合は赤外光源30”を冷却するエアフローにより冷却される。あるいは、冷却用エアは仮想レンズとして機能し得ると共に赤外光源30”の冷却及びデブリ及び汚染物からの接触防止を維持する。第2赤外光源30A”を第2コアンダ放出スロット12B”の下流側でウェブ移動方向に位置決めし、上流側チャネルアセンブリと類似様式下に配置し得る。下流側チャネルアセンブリはレンズなしで示されるが、上流側チャネルアセンブリと同様に使用可能である。
図6A〜図6Dには移動するウェブ270に関する複数の赤外エアフロートバーの好適な構成が例示される。各エアバーは例示目的上のみのものであってここで説明する任意のエアバー実施例(例えば、コアンダ、エアホイル、ステップホイル等)を使用し得る。その他配列構成を用いても良い。
図6Aには移動ウェブ270の下方に位置決めした複数の赤外エアフロートバー272a〜272nが例示される。
図6Bには移動ウェブ270の上方に位置決めした複数の赤外エアフロートバー274a〜274nが例示される。
図6Cには移動ウェブ270を急速乾燥するための、移動ウェブ270の周囲に対向状態下に垂直方向に整列させた複数の赤外エアフロートバー276a〜276n及び複数の赤外エアフロートバー278a〜278nが例示される。
図6Dには、移動ウェブ270の周囲に交互対向状態下に垂直方向に整列させて移動ウェブ270に対する正弦曲線形状を創出する、複数の赤外エアフロートバー280a〜280n及び複数の赤外エアフロートバー282a〜282nが例示される。
図10〜図13には乾燥機エンクロージャ301内に配列した赤外エアフロートバーの好ましい実施例が例示され、前記乾燥機エンクロージャが、ウェブスロット305aから当該エンクロージャに入り、出口スロット305bから出るウェブ270を有し、該ウェブが、前記各赤外エアフロートバーにより創出される対流及び赤外放射組み合わせ加熱ゾーンにして、ウェブに赤外エネルギーを配向すると共にウェブ上に衝突する加熱供給エアジェット配分を取り扱う前記ゾーンを通して浮動状態下に移動する。エンクロージャ301はウェブとの流体接触に使用された加熱エアを収納し、この加熱エアの少なくとも一部分が、エアバーに再循環させるべく回収され得る。前記加熱エアの少なくとも一部は前記各実施例において説明した如くエンクロージャから排出される。
図10には乾燥機実施例300aが例示され、供給エア分配ヘッダ310aに取り付けられ且つ当該ヘッダと流体連通する複数の赤外エアフロートバー280a〜280nと、供給エア分配ヘッダ310bと流体連通する複数の赤外エアフロートバー282a〜282nとを含んでいる。赤外エアフロートバー280a〜280n及び282a〜282nと各供給エア分配ヘッダ310a及び310bとの間の流体連通はエアフィード開口315a〜315nを介して実施される。エアフィード開口315a〜315nは、乾燥機からの赤外エアフロートバーの脱着を容易化する分離ジョイント316a〜316nによりエアバーフィード入口16(図1)に接続され且つシールされる。分離ジョイント316a〜316nは、ガスケット材料、圧縮シート、あるいはその他の、フロート乾燥機設計形状業界の当業者には既知の類似手段によりシールされ得る。図11には図10に示され、ここで説明される乾燥機300aのエンクロージャ301内部のエアフロー要素により創出されるエアフローパスが例示される。ゾーンサプライファン320が、エンクロージャ301内部から加熱エアを収集し、収集した加熱エアを、随意的な熱源325を持つプレナム322内に加圧下に放出する。前記熱源はバ−ナ、高温水、蒸気あるいはサーマルオイル等の加熱媒体からの熱交換コイル、または好ましくは電熱ダクトヒータであり得る。
随意的な熱源325を通過した加熱エアはダクト326a及び326bを各介して各供給エア分配ヘッダ310a及び310bに配向される。随意的な熱源325は、仮にこれを設ける場合はエア温度制御ループ340により制御され得る。次いで加熱エアはエアフィード開口315a〜315nを通して赤外エアフロートバーに分配され、そこで赤外エアフロートバーの内側の各要素を冷却するために使用される。各赤外エアフロートバー内のエアフローパス及び冷却機能については先に説明されている。エミッタへの供給電力は、十分満足される状態下に製品を乾燥させるためのウェブ乾燥負荷に従いSCRと連通するユーザーインターフェースを介してオペレータが調節する。エアバーから放出されたエアはウェブと流体接触し、対流を介してウェブ270と熱及び質量交換する。この交換ステップ後、当該“使用済み”エアの少なくとも一部がサプライファン320の入口に戻される。ルームエアのある量がウェブのスロット305a及び305bを通してエンクロージャ301内に抜き出される。当該ルームエアに均衡する排気及びウェブからの任意の蒸発溶剤をエンクロージャ外に連続通気させる必要がある。
この目的上、別個の排気ファン331が、前記使用済みエアの少なくとも一部を排気ダクト332及びフロー制御ダンパ336を通して抜き出し且つ大気放出する。あるいは制御ダンパ336に代えて、排気ファン331に連結した可変速モータ及びドライブにより排気流量を制御し得る。乾燥機実施例300aの別個の排気ファン331は可燃性の揮発性溶剤材料の取り扱い上の安全性から及びまたは随意的熱源325として直火型燃料バ−ナを用いる場合に必要である。現場の規制に詳しい場合は理解される如く、権限を持つ当事者による設定条件に基づき、前記排気中の空気汚染材料用の排気フロー安全通気容積及び処理設備(図示せず)が要求され得る。
図12には水等の不燃性用材を乾燥する好ましい乾燥機実施例300bが例示され、ウェブの要求熱負荷に一致させるための、赤外エアフロートバーの提供するそれを上回る補助熱が不要化されている。ウェブ乾燥熱負荷条件が、各供給エア分配ヘッダ310a及び310b内の全エアフロートバー位置配置したエアフロートバーからの出力未満である場合、エアフロートバー取り付け用の1つ以上の位置に、アクティブ化した赤外エミッタの無いエアフロートバーを設け得、かくして乾燥機の連結出力負荷を低減させ得る。図12では供給エア分配ヘッダ310aには赤外エアフロートバーの全部は配置されないが、2つの非赤外線エアフロートバー281a及び281bが含まれる。これら非赤外線エアフロートバーはエアフロートバー設計業界の当業者にはよく知られた多数の形式のものであり得る。非赤外線エアフロートバーは乾燥機のウェブ出口端部付近に位置付けることが好ましく、ウェブがシングルサイドコーティングのものである場合は未コーティング側上に位置付けることが好ましい。エミッタへの供給電力は、十分満足な状態下に製品を乾燥させるためのウェブ乾燥負荷に従いSCRと連通するユーザーインターフェースを介してオペレータが調節する。供給エア温度は、排気ダクト330の通過排気量をダンパ手段335により調節して設定点を維持する制御ループ340により調整される。
図13にはインクまたはコーティングをウェブの底側に持つ、シングルサイドコーティングまたは印刷ウェブ用の好ましい実施例が例示される。エミッタ282a〜282nへの供給電力は、十分満足な状態下に製品を乾燥させるためのウェブ乾燥負荷に従いSCR342と連通するユーザーインターフェースを介してオペレータが調節する。エア温度は、SCR341に対する電力設定を調整し、それにより結局は、ウェブの未コーティング側に面する赤外エアフロートバー280a〜280nのエミッタへの電力を調整する制御ループ340aにより調整される。
図3に示す実施例を参照してエアフロートバーの動作を説明する。複数の赤外電磁エネルギー光線が、赤外光源が最高伝熱点、例えば、各放出スロット間位置に位置付けられることから乾燥能力を増大させ、レンズ32を直接または間接的に通過して赤外光源30から放出される。赤外乾燥エネルギーが伝達され、乾燥機内で処理中の移動ウェブを加熱する。赤外光の一部が放物線形態のリフレクタ21で反射され、レンズ32を通過し、ウェブ上に赤外乾燥エネルギーを付与し且つウェブを加熱する。赤外光源30から放出される赤外電磁エネルギー光線の波長は波長0.78〜1.2ミクロンの短波長、波長1.2〜4.0ミクロンの中波長、または波長4.0〜少なくとも10あるいはそれ以上のミクロン数の長波長であり得る。ある実施例では赤外光源30は最大エネルギー移行点位置に位置決めされる。
ウェブ浮動用の加圧エアが楕円形状の複数のエア入口16を通して赤外エアフロートバーに入りウェブを浮かせる。エア入口から入った加圧エアが点線矢印線(図3)で示す如く進行し、初期エア分配部材19の各孔を通過し、セカンダリエア分配部材24の各孔を通過し、チャネルアセンブリ20の側部材41A、41Bにより画定されるコアンダ曲線に沿ってコアンダ放出スロット12A及び12Bを通過し、レンズ32の上方表面に沿って内側に、次いで上方に流れ、かくして、ウェブ50を浮揚させると共に、ウェブから溶剤蒸気を奪取する。エアはチャネルアセンブリ20内部及び当該アセンブリ内部に配置した各要素周囲にも流動してそれら要素を冷却し、次いで最終的にレンズ32と側部材41A、41Bとの間の間隙を通して漏出し、レンズ32の外側表面上を掃引する。
直接及び間接の赤外エネルギー光線がウェブ50に衝突し、コアンダスロットの創出する圧力パッドを越える際にウェブを加熱し、かくしてウェブを乾燥させウェブから溶剤を蒸発させる。これが、エアの衝突流れと組み合わされて圧力パッド部分での熱伝達を最大化させる。
赤外光源30の出力は、赤外光源から伝達されるエネルギー出力量に全出力から無出力の範囲及びその間の任意の可変範囲が含まれるよう、SCRによる等して可変制御し得る。
ここで説明する各実施例によれば、エアフロートバーであって、ウェブへのフロート流れ及び熱伝達用の少なくとも1つのプライマリエアジェットと、ウェブ乾燥または加熱用の少なくとも1つの、一体化した赤外エミッタとを備え、かくして、少なくとも1つのセカンダリエアジェットと組み合わせた場合にウェブの加熱及び又は乾燥用の赤外エネルギーが最大利用される。少なくとも1つのセカンダリエアジェットには全エアの約5〜40%(好ましくは7〜15%)が供給され、当該供給エアは先ず、少なくとも1つの赤外エミッタを流体接触下に通過して加熱され、また好ましくはリフレクタと流体接触下に案内され、更に、赤外エネルギーを伝達し得るレンズと流体接触下に案内される。セカンダリエアジェットは、レンズ表面に対し実質平行流れ方向でレンズ表面との流体接触下に案内され、少なくとも1つのプライマリエアジェットとの組み合わせに於いて、フロート用エアの少なくとも一部を提供し、前記平行流れが、赤外エミッタ、リフレクタ及びレンズの各要素に、アップセット条件下においてさえも可燃性ウェブまたはコーティング材の着火を防止するに十分な冷却を提供する。最適量の冷却用エアが赤外エミッタ、リフレクタ及びレンズの各表面との接触状態下に案内されてこれら各要素の冷却を促進し、前記各表面と接触してそれら各表面により加温された冷却用エアから、対流によりウェブに質量流れ及び熱エネルギーが送られる。冷却用エアは前記各表面上をも案内され、かくして、前記各表面への乾燥用エンクロージャ内部の溶剤を含むエアのそれら表面への接触を防止し、かくしてその汚染を防止する。
以上の説明により、本発明の対流性及び放射性の各熱伝達モード組み合わせが、対流エア温度及び赤外エミッタ温度により実質的に個別に動作することを理解されよう。この特徴は、説明される各実施例において、低水分量域を過剰加熱することなく高水分領域を急速乾燥させる有益性のために使用され得る。ウェブを移動するそれら相違領域は、ヘビーなインク画像と低被覆性または未プリント領域とを並べて印刷する場合は一般的である。ここで記載する各実施例によれば、ヘビープリント領域が急速乾燥用の高い熱流束を要求し且つ蒸発による冷却効果により湿球温度またはその近辺温度を維持し、かくしてこれらヘビープリント領域が当該赤外エアフロートバーの提供する放射性及び高速の対流性の各熱伝達モードの双方により実質的に加熱されることになるという点で、湿潤領域加熱に際しての選択性が提供される。他方、殆ど被覆されないまたは未プリント領域は赤外エミッタからの赤外放射により温度上昇する傾向が有るが、乾燥機出口付近で対流エアで冷却され、かくして過熱が防止され得る。
電磁エネルギーは、ウェブ温度(代表的には約65.5〜148.8℃(150〜300°F))に比較してより高温(代表的には約1093.3℃(2000°F)以上)下に赤外光源要素から放出される。結局、非常に高いエミッタ温度が放射熱流束ポテンシャルを絶対温度の4乗に従い管理(dominates)するため、ウェブ温度上昇に従うウェブへの放射熱流束はシュテファンボルツマンの法則に従い比較的小さくなる。これに対し、対流性熱伝達はエア温度及びウェブ温度間の線形ポテンシャルにより駆動される。熱処理される所定ウェブ材料に関する乾燥運転中の最大ウェブ温度はウェブあるいはコーティングの品質低下を回避するために制限されることがある。インクまたはコーティング材料は、製造業者による最大仕様熱定格を超えて過熱されるとその機能や外観が劣化して脱色、脆化またはチョーク化することがある。同様に、ウェブ基材は、製造業者による最大仕様熱定格を超えて過熱されるとその機械的性能のみならず外観が劣化して脱色、脆化または歪曲変形することがある。
例えば、PET等のポリマーウェブ材料は、特に約93.3℃(200°F)以上の温度で軟化及び伸長して初期平坦ウェブを変形させ、波打ちまたは皺を生じ得る。紙ウェブは、隣接領域よりも水分量が数パーセント高いヘビーなコーティングまたは印刷領域に近接する、水分量が3%未満の過乾燥領域が吸湿収縮することで、同様の面外(out of plane)変形を生じ得る。板紙は一方の側面の水分量が他方側面のそれより数パーセント低いとカールする。また、紙や板紙材料は日焼けし易く、約176.7〜204.4℃(350〜400°F)の温度範囲では脆化し、結局は高温で燃焼する。ウェブ材料のプリンタ及びコンバータには、材料供給者、または乾燥試験、または製造処理に先立つ同一または類似材料での経験により提供される仕様に従い、これらの問題を回避しつつウェブを処理及びコーティングするための最大温度制限が設定される。ここで記載する各実施例によれば、エアの選択設定温度をウェブの最高温度(最大乾燥)領域での許容温度の直ぐ下の温度に設定すると、この最大乾燥領域の赤外加熱が対流性冷却により相殺され、当該領域の温度過剰が低減される。エア設定温度をウェブ最大温度より約−12.2〜10℃(10〜50°F)低下させることが、ウェブの温度過剰回避上有効であることが分かった。
別法として、エア選択温度を代表的には乾燥機内の湿球温度より約−1.1〜37.8℃(30〜100°F)高く(湿球温度は代表的には約82.2℃(180°F)以下)し且つ当該温度に制御すると、対流性流束ポテンシャルが減少及び逆転さえし、かくして、ウェブの最大乾燥領域内の温度がエア温度以上になると当該領域におけるウェブ加熱率が低下する。
前記最大乾燥領域における過熱を説明した如く制限するためには、赤外エアフロートバーにより提供される対流係数を、非フロート式赤外乾燥機で用いる従来型冷却用エアシステムにおけるそれを超えるよう、しかるべく増大させる必要がある。好適なエアバー熱対流伝熱係数は約10〜約40BTU/hr−ft2−Fの範囲である。好適なエアバースロットジェット速度は毎分約1500〜4800m(約5000〜約16000フィート)の範囲である。
ノズル供給エア温度は、エアバー用エア供給配管内に位置付けた電気抵抗コイル、ホットオイル、またはスチームコイル、またはバ−ナ等の個別熱源から制御下の熱入力を追加することにより調節され得る。好ましい実施例では個別の熱源は、放射性熱伝達モードによってはウェブ内に吸収されないエミッタからからの熱を再循環エアに回収させることで不要化される。それらの熱には、先に説明した如きエミッタ冷却用エアへの取り込み熱と、同様に、再循環エアがその上を流動する乾燥機内部のその他各表面の温度を上昇させる傾向のある漂遊赤外エネルギー(ウェブ以外の表面で反射するあるいはそうでなければ衝突する電磁波)からの回収熱と、先に説明した如く放射熱伝達モードにより供給エア温度以上に加熱されたウェブ部分からの熱とが含まれる。再循環エアに回収された熱は排気エア量をエアバー供給エアの約10%あるいはそれ未満に最小化し、かくして再循環エア温度を最大化することにより維持され得る。他方、エア温度を低下させたい場合は排気エア量を約30%あるいはそれ以上に増大させ、再循環流れ内で加熱させるべき周囲温度をより多く吸引させる。乾燥機業界では、可変速ドライブを備えるダンパーあるいはファンにより排気流れを調節して説明したエアフロー調節を達成し得ることはよく知られている。
前記調節は、オペレータによる手動で、または、エア温度を検出し、検出温度に従い排気流れを調節する閉ループコントローラにより成され得る。別の好ましい実施例ではエア温度を、少なくとも1つの赤外エミッタへの入力電力を閉ループコントローラを介して調節して調節する。最も好ましい実施例では、エア温度調節を主に乾燥機の排気温度が先に説明した如き所望温度となるよう設定して一次調節し、次いで、少なくとも1つのエミッタへのSCR供給電力の電力出力設定点を調節する閉ループコントローラを用いて当該少なくとも1つのエミッタへの電力を調節することにより制御する。
ある実施例では水ベースインクで印刷された紙ウェブを乾燥する。ウェブの予想湿球温度は約57.2℃(135°F)であり、対流エア設定温度は約76.7℃(170°F)とされた。各エミッタから未プリントウェブへの正味の放射性熱流束は6500BTU/hr−ft2、片面当たりの対流係数は25BTU/hr−ft2−Fであった。従って、対流性及び放射性の各加熱率の初期合計値は11500BTU/hr−ft2であり、ウェブ未プリント領域の対流性冷却により放射性熱流束がオフセットされたウェブの最終温度は〜約148.9℃(300°F)となる。エアフロートバーの対流エアによる寄与効果が無いと、初期加熱率が僅か6500BTU/hr−ft2となって低速加熱される結果、算出最終温度は紙の着火温度を十分上回る約426.7℃(800°F)となる。
好ましい乾燥機実施例では、赤外線エアフロートバーはウェブの各側で約20〜50cm(8〜20インチ)置きに配置され、ノズルエアジェットの毎分速度は約1500〜4800m(5000〜16000フィート)の範囲とされ、各エアバーに取り付けたエミッタ要素毎の約2.54cm(1インチ)当たりの全放出熱フラックスは、中波長カーボンエミッタでは100〜200ワット、近赤外線エミッタでは200〜400ワットである。紙基材上の水ベースコーティングに関してはエアの設定温度は約65.6〜121.1℃(150〜250°F)であることが好ましい。
3 アライナ
4 リテーナガスケット
7A 側部
7B 側部
10 エアバー
11A 終端部
12A 第1プライマリフロートスロット
12B 第2プライマリフロートスロット
14A セカンダリエアスロット
14B セカンダリエアスロット
15 供給エアプレナム
16 供給エアフィードインレット
18 底部
19 初期エア分配部材
20 チャネルアセンブリ
21 リフレクタ
22 孔
22a 円形孔
23 孔
24 セカンダリエア分配部材
27 スライド調節要素
27a 調節スロット
30 赤外光源
32 レンズ
34 フランジ
35 ウィング
40 底部材
41A 側部材
50 ウェブ
60 孔
200 第2チャネルアセンブリ
221 リフレクタ
270 ウェブ
272a〜272n 赤外エアフロートバー
276a〜276n 赤外エアフロートバー
278a〜278n 赤外エアフロートバー
280a〜280n 赤外エアフロートバー
281a 非赤外線エアフロートバー
282a〜282n 赤外エアフロートバー
300 赤外光源
300a 乾燥機
301 エンクロージャ
305a ウェブスロット
305b 出口スロット
310a 供給エア分配ヘッダ
310b 供給エア分配ヘッダ
315a〜315n エアフィード開口
316a〜316n 分離ジョイント
320 ゾーンサプライファン
325 熱源
326a ダクト
330 排気ダクト
331 排気ファン
332 第2レンズ
335 ダンパ手段
336 フロー制御ダンパ
340 エア温度制御ループ

Claims (3)

  1. 湿潤インク範囲を有する少なくとも一つの領域と湿潤インク範囲を伴わない少なくとも一つの領域とを有する印刷済み材料のウェブの乾燥を調節する方法であって、
    前記ウェブに対し対流エアを衝突させる工程にして、複数のエアジェットによる前記衝突させる対流エアにより創出された圧力フィールドにおいて前記ウェブに赤外線熱流束を同時に与えることを組み合わせた該工程と、
    前記衝突させる対流エアの温度を調節する工程にして、前記湿潤インク範囲を有する少なくとも一つの領域が赤外線エミッタ源及び前記対流エアによって加熱され、前記湿潤インク範囲を伴わない少なくとも一つの領域が前記赤外線エミッタ源によって加熱されると同時に前記対流エアによって冷却される該工程とを含み、
    前記赤外線熱流束は、放出スロット間に位置付けられる少なくとも一つの赤外線エミッタ源から放出され、前記放出スロットは、前記エアジェットを創出しかつ前記エアジェットを前記ウェブに衝突するように差し向け、前記ウェブの表面に対し前記圧力フィールドを創出し、
    乾燥エアは、82.2℃(180°F)未満の湿球温度を有し、
    前記エアジェットを、前記ウェブに衝突する前記乾燥空気の前記湿球温度より−1.1〜37.8℃(30〜100°F)高く調節する方法。
  2. 前記エアジェットは、毎分約1500〜4800m(毎分5000〜16000フィート)の速度でエアを排出する請求項に記載の方法。
  3. 前記ウェブはウェブ方向を有し、各赤外線エミッタ源からの前記赤外線熱流束は、約2.54cm(1インチ)当たり100〜200ワットで前記ウェブ方向を横切る請求項1に記載の方法。
JP2016160766A 2009-06-05 2016-08-18 対流性及び放射性の各熱移行により乾燥機内のウェブの乾燥を調節する方法 Active JP6364458B2 (ja)

Applications Claiming Priority (2)

Application Number Priority Date Filing Date Title
US18435309P 2009-06-05 2009-06-05
US61/184,353 2009-06-05

Related Parent Applications (1)

Application Number Title Priority Date Filing Date
JP2014090636A Division JP6434713B2 (ja) 2009-06-05 2014-04-24 対流性及び放射性の各熱移行により乾燥機内のウェブの乾燥を調節する方法

Publications (2)

Publication Number Publication Date
JP2016191550A JP2016191550A (ja) 2016-11-10
JP6364458B2 true JP6364458B2 (ja) 2018-07-25

Family

ID=43298112

Family Applications (6)

Application Number Title Priority Date Filing Date
JP2012514084A Active JP5670443B2 (ja) 2009-06-05 2010-06-02 改良された赤外線フロートバー
JP2013108824A Active JP5869520B2 (ja) 2009-06-05 2013-05-23 エアバー用のチャネルアセンブリ及びそのエアフロー設定方法
JP2014090636A Active JP6434713B2 (ja) 2009-06-05 2014-04-24 対流性及び放射性の各熱移行により乾燥機内のウェブの乾燥を調節する方法
JP2014250422A Active JP6002741B2 (ja) 2009-06-05 2014-12-10 改良された赤外線フロートバー
JP2016160766A Active JP6364458B2 (ja) 2009-06-05 2016-08-18 対流性及び放射性の各熱移行により乾燥機内のウェブの乾燥を調節する方法
JP2018130236A Active JP6641425B2 (ja) 2009-06-05 2018-07-09 対流性及び放射性の熱流束により乾燥機内のウェブの乾燥を調節する方法

Family Applications Before (4)

Application Number Title Priority Date Filing Date
JP2012514084A Active JP5670443B2 (ja) 2009-06-05 2010-06-02 改良された赤外線フロートバー
JP2013108824A Active JP5869520B2 (ja) 2009-06-05 2013-05-23 エアバー用のチャネルアセンブリ及びそのエアフロー設定方法
JP2014090636A Active JP6434713B2 (ja) 2009-06-05 2014-04-24 対流性及び放射性の各熱移行により乾燥機内のウェブの乾燥を調節する方法
JP2014250422A Active JP6002741B2 (ja) 2009-06-05 2014-12-10 改良された赤外線フロートバー

Family Applications After (1)

Application Number Title Priority Date Filing Date
JP2018130236A Active JP6641425B2 (ja) 2009-06-05 2018-07-09 対流性及び放射性の熱流束により乾燥機内のウェブの乾燥を調節する方法

Country Status (8)

Country Link
US (4) US9228779B2 (ja)
EP (4) EP2631069B1 (ja)
JP (6) JP5670443B2 (ja)
AU (1) AU2010256680B2 (ja)
CA (5) CA2976789C (ja)
ES (4) ES2651175T3 (ja)
TW (1) TW201102599A (ja)
WO (1) WO2010141587A1 (ja)

Families Citing this family (35)

* Cited by examiner, † Cited by third party
Publication number Priority date Publication date Assignee Title
GB0515754D0 (en) 2005-07-30 2005-09-07 Dyson Technology Ltd Drying apparatus
GB2428569B (en) 2005-07-30 2009-04-29 Dyson Technology Ltd Dryer
GB0515750D0 (en) 2005-07-30 2005-09-07 Dyson Technology Ltd Drying apparatus
GB0515749D0 (en) 2005-07-30 2005-09-07 Dyson Technology Ltd Drying apparatus
GB2434094A (en) 2006-01-12 2007-07-18 Dyson Technology Ltd Drying apparatus with sound-absorbing material
JP5184631B2 (ja) * 2008-06-02 2013-04-17 東京エレクトロン株式会社 流体加熱器、その製造方法、流体加熱器を備えた基板処理装置および基板処理方法
US9068775B2 (en) 2009-02-09 2015-06-30 Heat Technologies, Inc. Ultrasonic drying system and method
CA2976789C (en) 2009-06-05 2019-12-31 Megtec Systems, Inc. Method of drying a web of printed material
WO2012033728A1 (en) 2010-09-10 2012-03-15 Megtec Systems, Inc. Air bar arrangement for drying tissue on a belt
JP5772382B2 (ja) * 2011-08-16 2015-09-02 セイコーエプソン株式会社 記録装置
US8756830B2 (en) * 2012-10-11 2014-06-24 Eastman Kodak Company Dryer transporting moistened medium through heating liquid
DE102013104577B3 (de) * 2013-05-03 2014-07-24 Heraeus Noblelight Gmbh Vorrichtung zum Trocknen und Sintern metallhaltiger Tinte auf einem Substrat
WO2014194335A2 (en) * 2013-05-31 2014-12-04 Rosenberg Joe I V Process and apparatus for conversion of a coldset web printing press to a hybrid heatset and coldset printing press
EP3105060B1 (en) 2014-02-13 2020-04-08 Brown Manufacturing Group, Inc. Ink curing apparatus and method
WO2015137973A1 (en) 2014-03-14 2015-09-17 Hewlett-Packard Development Company, L. P. Drying media
US10488108B2 (en) * 2014-07-01 2019-11-26 Heat Technologies, Inc. Indirect acoustic drying system and method
WO2016014960A1 (en) 2014-07-24 2016-01-28 Heat Technologies, Inc. Acoustic-assisted heat and mass transfer device
JP6269373B2 (ja) * 2014-07-29 2018-01-31 日立金属株式会社 エナメル線の製造方法及び製造装置
US10327605B2 (en) * 2014-12-18 2019-06-25 Durr Megtec, Llc Air bar cleaning tool, system and method
PL3413707T3 (pl) * 2016-02-08 2025-02-03 Egg-Chick Automated Technologies Urządzenie i sposób wykrywania jaj odwróconych spodem do góry
JP6368436B2 (ja) 2016-03-28 2018-08-01 日本碍子株式会社 低温乾燥装置
KR102146530B1 (ko) * 2016-10-24 2020-08-20 주식회사 엘지화학 건조장치
EP3575719A4 (en) 2017-01-25 2020-10-21 Think Laboratory Co., Ltd. WATERPROOF SHEET SUBSTRATE SURFACE DRYING DEVICE, PRINTING DEVICE AND PRINTING PROCESS
US10723119B2 (en) * 2017-03-17 2020-07-28 Ricoh Company, Ltd. Dryer, printer, and treatment liquid applicator
DE102017129017A1 (de) * 2017-12-06 2019-06-06 Heraeus Noblelight Gmbh Verfahren zum Trocknen eines Substrats, Trocknermodul zur Durchführung des Verfahrens sowie Trocknersystem
CN112020431B (zh) * 2018-04-30 2023-08-18 金伯利-克拉克环球有限公司 采用低温、高速空气的空气干燥器
WO2020046356A1 (en) * 2018-08-31 2020-03-05 Hewlett-Packard Development Company, L.P. Power allocation in printing devices
CN110370798B (zh) * 2019-08-19 2020-11-13 浙江聚众柔印科技有限公司 一种印刷烘干设备用压力控温装置
CN110623557A (zh) * 2019-10-14 2019-12-31 中山智淘电器制造有限责任公司 一种电烧烤炉
CN211186916U (zh) * 2019-10-14 2020-08-07 中山智淘电器制造有限责任公司 一种远红外加热装置及具有其的电烧烤炉
MX2022014509A (es) * 2020-05-26 2022-12-13 Ball Corp Aparato y metodo para calentar contenedores o piezas de trabajo metalicas.
WO2022049470A1 (en) * 2020-09-02 2022-03-10 3M Innovative Properties Company Heated air nozzle
KR102341360B1 (ko) * 2020-12-01 2021-12-21 천병용 필라멘트 부양장치 및 이를 이용한 바이오 필라멘트 제조방법
CN113262170B (zh) * 2021-05-18 2022-09-27 常州市龙城晨光药化机械有限公司 一种片状药品智能加工设备及其加工方法
CN120027411B (zh) * 2025-04-18 2025-07-04 智翼博智能科技(苏州)有限公司 一种隔绝振动的气浮光源以及薄膜检测设备

Family Cites Families (120)

* Cited by examiner, † Cited by third party
Publication number Priority date Publication date Assignee Title
GB636767A (en) 1947-08-25 1950-05-03 Bernard Offen Apparatus for drying webs
US3040807A (en) 1959-11-04 1962-06-26 Industrial Nucleonics Corp Moisture balance correction system
DE1474239C3 (de) 1964-09-03 1979-10-25 Vits-Maschinenbau Gmbh, 4018 Langenfeld Verfahren und Einrichtung zur Stabilisierung der Lage unter Wirkung eines Blasmittels schwebend geführter Warenbahnen
US3460265A (en) 1967-02-14 1969-08-12 Horace L Smith Jr Methods of drying
US3499232A (en) 1967-11-13 1970-03-10 Eduard J Zimmermann Dryer having removable heating units
US3549070A (en) 1969-02-27 1970-12-22 Tec Systems Floatation of sheet materials
US3587177A (en) 1969-04-21 1971-06-28 Overly Inc Airfoil nozzle
US3590495A (en) 1969-05-02 1971-07-06 Goodyear Tire & Rubber Dryer or heater with shielding means
US3643342A (en) 1969-05-02 1972-02-22 Goodyear Tire & Rubber Dryer or heater with shielding means
US3675336A (en) 1969-07-17 1972-07-11 Weyerhaeuser Co Method for drying wood
US3640219A (en) 1969-08-04 1972-02-08 Burroughs Corp Method of dry preparation of relief printing plates
US3705676A (en) 1970-03-16 1972-12-12 Overly Inc Air foil conveyor
ZA711340B (en) 1970-03-19 1972-10-25 Wiggins Teape Res Dev Improvements in methods and apparatus for drying sheet material
US3763571A (en) 1970-04-27 1973-10-09 Vits Maschinenbau Gmbh Apparatus for contactless guiding of webs
FR2114934A5 (ja) 1970-12-04 1972-06-30 Polytype Ag
SE352121B (ja) 1971-06-01 1972-12-18 Polytype Ag
US3733461A (en) 1971-05-26 1973-05-15 Powell R Radiant heater
US3791049A (en) 1971-10-04 1974-02-12 Smitherm Industries Drying methods with moisture profile control
US3815254A (en) 1972-01-18 1974-06-11 W Mills Method and apparatus for controlling the amount of moisture removed from material
US3850224A (en) 1973-07-30 1974-11-26 Sherwood Refractories Process and apparatus for drying shell molds
US3873013A (en) 1973-10-04 1975-03-25 Tec Systems High velocity web floating air bar having center exhaust means
DE2351280B2 (de) 1973-10-12 1979-01-25 Babcock-Bsh Ag Vormals Buettner- Schilde-Haas Ag, 4150 Krefeld Prallstrahltrockner für bahnförmiges Gut
SU566099A2 (ru) 1973-12-24 1977-07-25 Барнаульский Научно-Исследовательский Институт Текстильной Промышленности Установка дл сушки длинномерных материалов
US3950650A (en) 1974-03-25 1976-04-13 Thermogenics Of New York, Inc. Ink curing and drying apparatus
US4015340A (en) 1975-08-20 1977-04-05 Tec Systems, Inc. Ultraviolet drying apparatus
US4021931A (en) 1975-11-21 1977-05-10 Midland-Ross Corporation Air circulating apparatus for floating material in web form
DE2556442C2 (de) * 1975-12-15 1984-09-06 Gerhardt, Hans-Joachim, Prof. M.Sc. Dipl.-Ing., 5100 Aachen Vorrichtung zur schwebend Führung von Warenbahnen
US4188731A (en) 1976-08-25 1980-02-19 Rauskolb Fred W Method and apparatus for eliminating wet streaks in fibrous sheets or webs by infra-red radiation
US4146974A (en) 1977-09-19 1979-04-03 Pray Robert W Drying apparatus
US4308984A (en) 1978-05-11 1982-01-05 Vits Maschinenbau Gmbh Jet-conveyor box for floatingly guiding a conveyed strip or sheet material
US4336279A (en) 1978-07-04 1982-06-22 Metzger Wesley A Apparatus and process for drying and curing coated substrates
US4201323A (en) 1978-10-12 1980-05-06 W. R. Grace & Co. High velocity web floating air bar having a recessed Coanda plate
US4197971A (en) 1978-10-12 1980-04-15 W. R. Grace & Co. High velocity web floating air bar having an internal passage for transverse air discharge slot means
US4197973A (en) 1978-10-12 1980-04-15 W. R. Grace & Co. High velocity web floating air bar having air flow straightening means for air discharge slot means
SE429770B (sv) 1978-12-06 1983-09-26 Flaekt Ab Anordning for torkning av banformigt material
JPS55108479A (en) 1979-02-08 1980-08-20 American Can Co Ultraviolet ray hardening ink and ink film hardening device
US4265384A (en) 1980-01-21 1981-05-05 W. R. Grace & Co. Air bar having asymmetrical inlet
US4359826A (en) 1980-03-21 1982-11-23 The Mead Corporation Drying system
DE3123008A1 (de) 1981-06-10 1983-01-05 Kerschgens Johann Josef Behandlungsgeraet fuer haar- und kopfhaut
US4434562A (en) * 1981-09-02 1984-03-06 American Screen Printing Equipment Company Curing apparatus and method
US4575952A (en) 1981-09-18 1986-03-18 M.E.G., S.A. Hot air dryer structure
US4586268A (en) 1982-02-19 1986-05-06 Vepa Aktiengesellschaft Heat treatment tunnel
US4425719A (en) 1982-03-15 1984-01-17 W. R. Grace & Co. Compact air bar assembly for contactless web support
US4494316A (en) * 1983-03-14 1985-01-22 Impact Systems, Inc. Apparatus for drying a moving web
DE3317714C2 (de) 1982-06-07 1991-05-08 Impact Systems, Inc., San Jose, Calif. Trockenvorrichtung für eine sich bewegende Materialbahn
SE8205095D0 (sv) 1982-09-08 1982-09-08 Infraroedteknik Ab Sett att vermebehandla en kontinuerlig materialbana, i synnerhet torkning av en pappersbana, och anordning for genomforande av settet
US4501072A (en) 1983-07-11 1985-02-26 Amjo, Inc. Dryer and printed material and the like
US4514913A (en) 1984-02-07 1985-05-07 Impact Systems, Inc. Apparatus for drying a moving web having movable dryer modules
US4615122A (en) 1984-04-09 1986-10-07 Kimberly-Clark Corporation Method for providing steam and hot air for hooded drying cylinders
US4594795A (en) 1984-10-23 1986-06-17 Erik Stephansen Air bearing support apparatus for drying a moving web
US4590685A (en) 1984-11-09 1986-05-27 Roth Reinhold C Method & apparatus for uniformly drying paper webs and the like
US4606137A (en) * 1985-03-28 1986-08-19 Thermo Electron Web Systems, Inc. Web dryer with control of air infiltration
DE3522695C1 (de) 1985-06-25 1987-01-15 Monforts Gmbh & Co A Infrarottrockner
US4698767A (en) 1985-08-14 1987-10-06 Electro Sprayer Systems, Inc. Apparatus and method for controlling infrared dryer for discreet articles
JPS62102899A (ja) 1985-10-30 1987-05-13 Ebara Infilco Co Ltd 有機性汚泥の乾燥方法
WO1987004739A1 (en) 1986-02-06 1987-08-13 Itronic Process Ab Arrangement for a process plant arranged for the heat treatment of strip-shaped products
SE458860B (sv) 1986-02-06 1989-05-16 Itronic Process Ab Anordning vid en foer vaermebehandling av banformiga alster anordnad behandlingsanlaeggning
FI75008C (fi) * 1986-03-14 1992-02-17 Valmet Oy Svaevtork och foerfarande foer effektivering av dess funktion.
US4638571A (en) 1986-04-02 1987-01-27 Cook William A Radio frequency nozzle bar dryer
US4773167A (en) 1986-05-19 1988-09-27 Amjo Infra Red Dryers, Inc. Heater
US4727655A (en) 1987-02-02 1988-03-01 Amjo Infra Red Dryers, Inc. Heat lamp assembly with air duct
FI77707C (fi) 1987-06-04 1989-04-10 Valmet Paper Machinery Inc Foerfarande foer kontaktloes torkning av en pappers- eller kartongbana.
US4785986A (en) 1987-06-11 1988-11-22 Advance Systems, Inc. Paper web handling apparatus having improved air bar with dimensional optimization
US4756091A (en) 1987-06-25 1988-07-12 Herbert Van Denend Hybrid high-velocity heated air/infra-red drying oven
FI77708C (fi) 1987-09-28 1989-04-10 Valmet Paper Machinery Inc Arrangemang av oevertrycksmunstycken avsett foer behandling av banor.
US4776107A (en) 1987-10-30 1988-10-11 Wolverine Corporation Web treatment system
FI78525C (fi) 1987-11-02 1989-08-10 Valmet Paper Machinery Inc Infratork.
US4809608A (en) 1987-11-03 1989-03-07 Kenneth Wolnick Infrared dryer for printing presses
WO1989004890A1 (en) 1987-11-26 1989-06-01 Valmet Oy Method and device in on-machine coating-drying of a paper web or equivalent
DE3811620A1 (de) 1988-04-07 1989-10-26 Vits Maschinenbau Gmbh Verfahren und vorrichtung zur waermebehandlung und/oder trocknung einer materialbahn im durchlauf
FI78756C (fi) 1988-04-25 1989-09-11 Valmet Paper Machinery Inc Foerfarande och anordning vid torkning av en roerlig bana.
US5092059A (en) 1988-06-07 1992-03-03 W. R. Grace & Co.-Conn. Infrared air float bar
US5035066A (en) 1988-06-07 1991-07-30 W. R. Grace & Co.-Conn. Ultraviolet air floatation bar
US4901449A (en) 1988-06-07 1990-02-20 W. R. Grace & Co.-Conn. Tri-flotation air bar
USD323571S (en) 1988-10-27 1992-01-28 W. R. Grace & Co.-Conn. Dryer for graphic arts
DE3939190A1 (de) 1989-01-25 1990-08-09 Baldwin Gegenheimer Gmbh Durchlauftrockner von rollenrotationsdruckmaschinen und betrieb eines derartigen durchlauftrockners bei fortdruck und beim zylinderwaschen mit laufender bahn
US5010659A (en) 1989-09-08 1991-04-30 W. R. Grace & Co.-Conn. Infrared drying system
US5099586A (en) 1989-09-08 1992-03-31 W. R. Grace & Co.-Conn. Reflector assembly for heating a substrate
US5156312A (en) 1989-12-29 1992-10-20 Somerset Technologies, Inc. Flotation nozzle for web handling equipment
US5395029A (en) * 1989-12-29 1995-03-07 Somerset Technologies, Inc. Flotation nozzle for web handling equipment
US5125170A (en) * 1990-04-11 1992-06-30 Worldwide Converting Machinery Flotation dryer nozzle
US5249373A (en) 1991-01-29 1993-10-05 W. R. Grace & Co.-Conn. Web threading system
SE468287B (sv) 1991-04-22 1992-12-07 Infraroedteknik Ab Saett resp anordning foer behandling av en kontinuerlig materialbana
US5272819A (en) 1991-05-16 1993-12-28 W. R. Grace & Co.-Conn. Moveable web slot
CA2078290A1 (en) 1991-10-24 1993-04-25 W.R. Grace & Co.-Conn. Combination infrared and air flotation dryer
US5462746A (en) * 1992-11-02 1995-10-31 Lts Lohmann Therapie-Systeme Gmbh & Co. Kg Patch for transdermal administration of volatile pharmaceutically active ingredients of chemically basic nature and a process for preparation
US5537925A (en) 1993-09-03 1996-07-23 Howard W. DeMoore Infra-red forced air dryer and extractor
US5377428A (en) 1993-09-14 1995-01-03 James River Corporation Of Virginia Temperature sensing dryer profile control
GB9323954D0 (en) 1993-11-19 1994-01-05 Spooner Ind Ltd Improvements relating to web drying
US5568693A (en) 1994-09-05 1996-10-29 Agfa-Gevaert N.V. Method and an apparatus for the processing of photographic sheet material
US5443539A (en) * 1994-09-08 1995-08-22 Westelaken; Christianus M. T. Particulate dryer
US5590480A (en) 1994-12-06 1997-01-07 W. R. Grace & Co.-Conn. combination air bar and hole bar flotation dryer
US5659972A (en) 1995-10-06 1997-08-26 Avery Dennison Corporation Apparatus and method for drying or curing web materials and coatings
US5638611A (en) 1995-10-18 1997-06-17 Voith Sulzer Papiermaschinen Gmbh Single-tier drying section tailored for compensating stretching and shrinking of paper web
DE19546265C2 (de) 1995-12-12 2000-11-23 Koenig & Bauer Ag Verfahren und Vorrichtung zum Zuführen einer bedruckten Papierbahn
DE19607397A1 (de) 1996-02-28 1997-09-04 Heidelberger Druckmasch Ag Vorrichtung und Verfahren zur Führung von bogenförmigem Material in einer Druckmaschine, insbesondere in einer Bogenrotations-Offsetdruckmaschine
US5737851A (en) 1996-03-01 1998-04-14 Congoleum Corporation Thermal processing unit for the preparation of plastisol-based floor coverings
DE19619547A1 (de) * 1996-05-15 1997-11-27 Vits Maschinenbau Gmbh Luftkissendüse und Vorrichtung zur Wärmebehandlung einer kontinuierlich bewegten Warenbahn mit Luftkissendüsen
US5694702A (en) 1997-01-06 1997-12-09 International Paper Company Enhancing cross-directional stretch and tensile energy absorption during paper manufacture
US5867920A (en) 1997-02-05 1999-02-09 Megtec Systems, Inc. High speed infrared/convection dryer
EP0948877A1 (de) 1997-10-27 1999-10-13 Heraeus Noblelight GmbH Sphäroidisch abstrahlender infrarot-strahler
US6210705B1 (en) * 1997-12-15 2001-04-03 Noven Pharmaceuticals, Nc. Compositions and methods for treatment of attention deficit disorder and attention deficit/hyperactivity disorder with methylphenidate
US6095047A (en) 1998-07-13 2000-08-01 Heidelberger Drukmaschinen Ag Web-fed rotary printing press with apparatus for diverting a wet printed web
US20030170195A1 (en) * 2000-01-10 2003-09-11 Noven Pharmaceuticals, Inc. Compositions and methods for drug delivery
US6049995A (en) 1999-04-20 2000-04-18 Megtec Systems, Inc. Infrared dryer with air purge shutter
FI106136B (fi) 1999-06-30 2000-11-30 Valmet Corp Leijukuivaimen suutinjärjestelmä ja menetelmä kuiturainan kuivattamiseksi
US6325896B1 (en) 1999-09-23 2001-12-04 Valmet-Karlstad Ab Apparatus for transferring a fast running fibrous web from a first location to a second location
DE19950066A1 (de) * 1999-10-16 2001-04-26 Lohmann Therapie Syst Lts Transdermales therapeutisches System mit einem Gehalt an Tulobuterol-hydrochlorid zur Verabreichung des Bronchodilatators Tulobuterol über die Haut
EP1134307B1 (en) 2000-03-16 2008-09-03 Kuraray Co., Ltd. Hollow fibers and manufacturing method of hollow fibers
DE10024099A1 (de) 2000-05-18 2001-11-22 Eltosch Torsten Schmidt Gmbh Trocknervorrichtung
US6877247B1 (en) 2000-08-25 2005-04-12 Demoore Howard W. Power saving automatic zoned dryer apparatus and method
US6651357B2 (en) * 2001-01-12 2003-11-25 Megtec Systems, Inc. Web dryer with fully integrated regenerative heat source and control thereof
US6732651B2 (en) 2002-03-22 2004-05-11 Oxy-Dry Corporation Printing press with infrared dryer safety system
JP2005193546A (ja) 2004-01-07 2005-07-21 Tohoku Ricoh Co Ltd 両面印刷装置
US7530179B2 (en) 2004-04-13 2009-05-12 Megtec Systems, Inc. Step air foil
JP2006223980A (ja) 2005-02-17 2006-08-31 Yamato Sanko Seisakusho:Kk 蒸気ジェット噴射装置及びそれを用いた濃縮粉砕乾燥装置
JP2007111873A (ja) 2005-10-18 2007-05-10 Mitsubishi Heavy Ind Ltd 印刷機の水性ニス乾燥装置及び印刷機
JP2007120777A (ja) 2005-10-25 2007-05-17 Sumitomo Metal Mining Co Ltd 2層フレキシブル基板用樹脂フィルムの乾燥保管方法及び加熱乾燥装置
JP4317195B2 (ja) 2006-03-08 2009-08-19 株式会社芝村熱利用開発 乾燥機
CA2976789C (en) 2009-06-05 2019-12-31 Megtec Systems, Inc. Method of drying a web of printed material

Also Published As

Publication number Publication date
JP2016191550A (ja) 2016-11-10
CA3032679A1 (en) 2010-12-09
EP2631069A1 (en) 2013-08-28
JP6641425B2 (ja) 2020-02-05
CA3032679C (en) 2022-11-08
CA2976789A1 (en) 2010-12-09
US20110131829A1 (en) 2011-06-09
JP6002741B2 (ja) 2016-10-05
EP2942196B8 (en) 2018-01-10
JP2015083385A (ja) 2015-04-30
ES2651175T3 (es) 2018-01-24
EP2857199B8 (en) 2018-01-10
AU2010256680A1 (en) 2011-11-17
EP2437941A4 (en) 2012-11-14
JP2014169858A (ja) 2014-09-18
JP5670443B2 (ja) 2015-02-18
AU2010256680B2 (en) 2013-04-18
EP2857199B1 (en) 2017-11-22
CA2904511C (en) 2019-03-19
CA2904511A1 (en) 2010-12-09
US20140250713A1 (en) 2014-09-11
EP2942196B1 (en) 2017-11-15
ES2538257T3 (es) 2015-06-18
US20130269204A1 (en) 2013-10-17
WO2010141587A1 (en) 2010-12-09
ES2651326T3 (es) 2018-01-25
EP2437941A1 (en) 2012-04-11
US10371443B2 (en) 2019-08-06
US10139159B2 (en) 2018-11-27
CA2759107C (en) 2017-10-03
TW201102599A (en) 2011-01-16
EP2631069B1 (en) 2014-11-05
JP2018169153A (ja) 2018-11-01
EP2437941B1 (en) 2015-03-18
CA2976789C (en) 2019-12-31
US9228779B2 (en) 2016-01-05
JP2013167439A (ja) 2013-08-29
EP2942196A1 (en) 2015-11-11
CA3172541A1 (en) 2010-12-09
ES2523835T3 (es) 2014-12-01
US9746235B2 (en) 2017-08-29
JP6434713B2 (ja) 2018-12-05
JP2012528750A (ja) 2012-11-15
EP2857199A1 (en) 2015-04-08
CA2759107A1 (en) 2010-12-09
US20130104414A1 (en) 2013-05-02
JP5869520B2 (ja) 2016-02-24

Similar Documents

Publication Publication Date Title
JP6364458B2 (ja) 対流性及び放射性の各熱移行により乾燥機内のウェブの乾燥を調節する方法
AU2011101450B4 (en) Improved infrared float bar
AU2013202509B2 (en) Improved infrared float bar

Legal Events

Date Code Title Description
A621 Written request for application examination

Free format text: JAPANESE INTERMEDIATE CODE: A621

Effective date: 20160920

A977 Report on retrieval

Free format text: JAPANESE INTERMEDIATE CODE: A971007

Effective date: 20170714

A131 Notification of reasons for refusal

Free format text: JAPANESE INTERMEDIATE CODE: A131

Effective date: 20170829

A601 Written request for extension of time

Free format text: JAPANESE INTERMEDIATE CODE: A601

Effective date: 20171122

A601 Written request for extension of time

Free format text: JAPANESE INTERMEDIATE CODE: A601

Effective date: 20180129

A521 Request for written amendment filed

Free format text: JAPANESE INTERMEDIATE CODE: A523

Effective date: 20180202

TRDD Decision of grant or rejection written
A01 Written decision to grant a patent or to grant a registration (utility model)

Free format text: JAPANESE INTERMEDIATE CODE: A01

Effective date: 20180605

A61 First payment of annual fees (during grant procedure)

Free format text: JAPANESE INTERMEDIATE CODE: A61

Effective date: 20180702

R150 Certificate of patent or registration of utility model

Ref document number: 6364458

Country of ref document: JP

Free format text: JAPANESE INTERMEDIATE CODE: R150

S111 Request for change of ownership or part of ownership

Free format text: JAPANESE INTERMEDIATE CODE: R313111

R350 Written notification of registration of transfer

Free format text: JAPANESE INTERMEDIATE CODE: R350

R250 Receipt of annual fees

Free format text: JAPANESE INTERMEDIATE CODE: R250

R250 Receipt of annual fees

Free format text: JAPANESE INTERMEDIATE CODE: R250

R250 Receipt of annual fees

Free format text: JAPANESE INTERMEDIATE CODE: R250

R250 Receipt of annual fees

Free format text: JAPANESE INTERMEDIATE CODE: R250

R250 Receipt of annual fees

Free format text: JAPANESE INTERMEDIATE CODE: R250