JP6329530B2 - 試薬を含む流体を注出するためのカートリッジ - Google Patents

試薬を含む流体を注出するためのカートリッジ Download PDF

Info

Publication number
JP6329530B2
JP6329530B2 JP2015510787A JP2015510787A JP6329530B2 JP 6329530 B2 JP6329530 B2 JP 6329530B2 JP 2015510787 A JP2015510787 A JP 2015510787A JP 2015510787 A JP2015510787 A JP 2015510787A JP 6329530 B2 JP6329530 B2 JP 6329530B2
Authority
JP
Japan
Prior art keywords
cartridge
operable
reservoir chamber
fluid
gas
Prior art date
Legal status (The legal status is an assumption and is not a legal conclusion. Google has not performed a legal analysis and makes no representation as to the accuracy of the status listed.)
Active
Application number
JP2015510787A
Other languages
English (en)
Other versions
JP2015519560A5 (ja
JP2015519560A (ja
Inventor
ブリュックナー,トルステン
コルタイ,ペーター
オラント,ノルベルト
シュピンケ,ユルゲン
タンギー,ローラン
Current Assignee (The listed assignees may be inaccurate. Google has not performed a legal analysis and makes no representation or warranty as to the accuracy of the list.)
F Hoffmann La Roche AG
Original Assignee
F Hoffmann La Roche AG
Priority date (The priority date is an assumption and is not a legal conclusion. Google has not performed a legal analysis and makes no representation as to the accuracy of the date listed.)
Filing date
Publication date
Application filed by F Hoffmann La Roche AG filed Critical F Hoffmann La Roche AG
Publication of JP2015519560A publication Critical patent/JP2015519560A/ja
Publication of JP2015519560A5 publication Critical patent/JP2015519560A5/ja
Application granted granted Critical
Publication of JP6329530B2 publication Critical patent/JP6329530B2/ja
Active legal-status Critical Current
Anticipated expiration legal-status Critical

Links

Images

Classifications

    • BPERFORMING OPERATIONS; TRANSPORTING
    • B01PHYSICAL OR CHEMICAL PROCESSES OR APPARATUS IN GENERAL
    • B01LCHEMICAL OR PHYSICAL LABORATORY APPARATUS FOR GENERAL USE
    • B01L3/00Containers or dishes for laboratory use, e.g. laboratory glassware; Droppers
    • B01L3/52Containers specially adapted for storing or dispensing a reagent
    • BPERFORMING OPERATIONS; TRANSPORTING
    • B01PHYSICAL OR CHEMICAL PROCESSES OR APPARATUS IN GENERAL
    • B01LCHEMICAL OR PHYSICAL LABORATORY APPARATUS FOR GENERAL USE
    • B01L3/00Containers or dishes for laboratory use, e.g. laboratory glassware; Droppers
    • B01L3/52Containers specially adapted for storing or dispensing a reagent
    • B01L3/523Containers specially adapted for storing or dispensing a reagent with means for closing or opening
    • BPERFORMING OPERATIONS; TRANSPORTING
    • B01PHYSICAL OR CHEMICAL PROCESSES OR APPARATUS IN GENERAL
    • B01LCHEMICAL OR PHYSICAL LABORATORY APPARATUS FOR GENERAL USE
    • B01L5/00Gas handling apparatus
    • GPHYSICS
    • G01MEASURING; TESTING
    • G01NINVESTIGATING OR ANALYSING MATERIALS BY DETERMINING THEIR CHEMICAL OR PHYSICAL PROPERTIES
    • G01N35/00Automatic analysis not limited to methods or materials provided for in any single one of groups G01N1/00 - G01N33/00; Handling materials therefor
    • G01N35/10Devices for transferring samples or any liquids to, in, or from, the analysis apparatus, e.g. suction devices, injection devices
    • G01N35/1002Reagent dispensers
    • BPERFORMING OPERATIONS; TRANSPORTING
    • B01PHYSICAL OR CHEMICAL PROCESSES OR APPARATUS IN GENERAL
    • B01LCHEMICAL OR PHYSICAL LABORATORY APPARATUS FOR GENERAL USE
    • B01L2200/00Solutions for specific problems relating to chemical or physical laboratory apparatus
    • B01L2200/06Fluid handling related problems
    • B01L2200/0684Venting, avoiding backpressure, avoid gas bubbles
    • BPERFORMING OPERATIONS; TRANSPORTING
    • B01PHYSICAL OR CHEMICAL PROCESSES OR APPARATUS IN GENERAL
    • B01LCHEMICAL OR PHYSICAL LABORATORY APPARATUS FOR GENERAL USE
    • B01L2200/00Solutions for specific problems relating to chemical or physical laboratory apparatus
    • B01L2200/14Process control and prevention of errors
    • B01L2200/141Preventing contamination, tampering
    • BPERFORMING OPERATIONS; TRANSPORTING
    • B01PHYSICAL OR CHEMICAL PROCESSES OR APPARATUS IN GENERAL
    • B01LCHEMICAL OR PHYSICAL LABORATORY APPARATUS FOR GENERAL USE
    • B01L2300/00Additional constructional details
    • B01L2300/04Closures and closing means
    • B01L2300/046Function or devices integrated in the closure
    • B01L2300/048Function or devices integrated in the closure enabling gas exchange, e.g. vents
    • BPERFORMING OPERATIONS; TRANSPORTING
    • B01PHYSICAL OR CHEMICAL PROCESSES OR APPARATUS IN GENERAL
    • B01LCHEMICAL OR PHYSICAL LABORATORY APPARATUS FOR GENERAL USE
    • B01L2300/00Additional constructional details
    • B01L2300/06Auxiliary integrated devices, integrated components
    • B01L2300/0681Filter
    • BPERFORMING OPERATIONS; TRANSPORTING
    • B01PHYSICAL OR CHEMICAL PROCESSES OR APPARATUS IN GENERAL
    • B01LCHEMICAL OR PHYSICAL LABORATORY APPARATUS FOR GENERAL USE
    • B01L2400/00Moving or stopping fluids
    • B01L2400/08Regulating or influencing the flow resistance
    • B01L2400/084Passive control of flow resistance
    • B01L2400/086Passive control of flow resistance using baffles or other fixed flow obstructions
    • YGENERAL TAGGING OF NEW TECHNOLOGICAL DEVELOPMENTS; GENERAL TAGGING OF CROSS-SECTIONAL TECHNOLOGIES SPANNING OVER SEVERAL SECTIONS OF THE IPC; TECHNICAL SUBJECTS COVERED BY FORMER USPC CROSS-REFERENCE ART COLLECTIONS [XRACs] AND DIGESTS
    • Y10TECHNICAL SUBJECTS COVERED BY FORMER USPC
    • Y10TTECHNICAL SUBJECTS COVERED BY FORMER US CLASSIFICATION
    • Y10T436/00Chemistry: analytical and immunological testing
    • Y10T436/11Automated chemical analysis

Landscapes

  • Health & Medical Sciences (AREA)
  • Chemical & Material Sciences (AREA)
  • Chemical Kinetics & Catalysis (AREA)
  • Clinical Laboratory Science (AREA)
  • Medicinal Chemistry (AREA)
  • General Health & Medical Sciences (AREA)
  • Physics & Mathematics (AREA)
  • General Physics & Mathematics (AREA)
  • Immunology (AREA)
  • Pathology (AREA)
  • Biochemistry (AREA)
  • Analytical Chemistry (AREA)
  • Life Sciences & Earth Sciences (AREA)
  • Automatic Analysis And Handling Materials Therefor (AREA)
  • Feeding, Discharge, Calcimining, Fusing, And Gas-Generation Devices (AREA)

Description

本発明は、試薬を含む流体の注出に関し、とりわけ、流体を注出するためのカートリッジに関する。
医療研究所では、一般に、体外診断が、生体サンプルについて実施されている。そのようなテストは、ピペットを使用して手動で実施することが可能であるか、または、自動分析器を使用して実施することが可能である。自動分析器は、生体サンプルに試薬を自動的に加えることが可能であり、分析中に、生体サンプルの1つまたは複数の物理的特性を測定することが可能である。自動分析器は、先行技術において知られている。例えば、欧州特許第EP1959257A2号は、複数の試薬カセットを保持するための試薬カセット保持メカニズムを含む自動分析器を開示している。
国際特許出願公開第WO2007/122387号は、試薬貯蔵部の中に含有されている試薬を注出するためのカートリッジを開示している。カートリッジは、試薬の上方に囲まれたガススペースを画定する貯蔵部を含む。カートリッジは、使用時に、ガススペースにガスが入ることを許すガスベントをさらに含む。ベント出口部は、貯蔵部のベースに位置付けされている。ベントは、貯蔵部の中に可能な限り低く設置されており、一定のヘッド圧で変位され得る試薬の体積が増加されるようになっている。WO2007/122387は、ベント出口部における気泡の発生が貯蔵部圧力の変動を引き起こし、気泡がベント出口部に形成されているときに圧力が上昇するということをさらに開示している。この効果は、試薬の上方のガススペースの体積を最小化することによって低減される。
本発明は、流体を注出するためのカートリッジ、自動分析器、および、自動分析器を用いて流体を注出する方法を、独立請求項の中に提供する。実施形態は、従属請求項の中に与えられている。
一態様では、本発明は、流体を注出するためのカートリッジを提供する。カートリッジは、流体を受け入れるために貯蔵部チャンバーを含む。また、貯蔵部チャンバーは、ベンチレーションガスを受け入れるように動作可能である。貯蔵部チャンバーは、ベンチレーションガスを受け入れるための入口部を含む。また、貯蔵部から流体を注出するための出口部が存在する。貯蔵部チャンバーの少なくとも一部分は、カートリッジが動作位置に設置されているときに、ベンチレーションガスで充填されるように動作可能である。入口部は、ベンチレーションガスで充填されるように動作可能な一部分の中に位置付けされている。流体は、試薬を含む。カートリッジは、入口部を通るガス拡散を制限するためのバッフル手段をさらに含む。貯蔵部チャンバーは、バッフル手段を介してベンチレーションガスを受け入れる。ベンチレーションガスは、貯蔵部の中のガスに直接的に提供されるので、貯蔵部チャンバーの中の圧力の変化を引き起こす気泡形成はない。この実施形態では、バッフル手段は、ベンチレーションガスで充填されるように動作可能である貯蔵部チャンバーの一部分に直接的にベンチレーションガスを提供する。したがって、本発明の実施形態は、カートリッジの外側と貯蔵部チャンバーの中のガスとの間に圧力の平衡が常に存在するという利点を有することが可能である。また、本発明の実施形態は、バッフル手段が、流体を損傷または劣化させ得る貯蔵部チャンバーの中へのガスの拡散を低減させるという利点を有する。また、貯蔵部チャンバーからのガスの拡散も低減されるので、バッフル手段は、貯蔵部チャンバーの中の流体の蒸発を低減させることが可能である。
本明細書で使用されているような制御装置は、1つまたは複数の他のデバイスの動作および/または機能を制御するためのデバイス、マシン、または装置を包含する。制御装置の例は、コンピューター、プロセッサー、埋め込み式システムまたは制御装置、プログラマブル論理制御装置、およびマイクロ制御装置を含むことが可能であるが、それに限定されない。本明細書で使用されているような「コンピューティングデバイス」または「コンピューター」は、プロセッサーを含む任意のデバイスを包含する。本明細書で使用されているような「プロセッサー」は、プログラムまたはマシン実行可能命令を実行することができる電子的なコンポーネントを包含する。
本明細書で使用されているような「コンピューター可読のストレージ媒体」は、コンピューティングデバイスのプロセッサーによって実行可能である命令を保存することができる任意の有形のストレージ媒体を包含する。コンピューター可読のストレージ媒体は、コンピューター可読の非一時的なストレージ媒体と呼ばれることがある。
「コンピューターメモリー」または「メモリー」は、コンピューター可読のストレージ媒体の例である。コンピューターメモリーは、プロセッサーまたは他の制御装置に直接的にアクセス可能な任意のメモリーである。「コンピューターストレージ」または「ストレージ」は、コンピューター可読のストレージ媒体の例である。コンピューターストレージは、任意の不揮発性のコンピューター可読のストレージ媒体である。
本明細書で使用されているような「ユーザーインターフェース」は、ユーザーまたはオペレーターが、コンピューターまたはコンピューターシステムとやりとりをすることを可能にするインターフェースである。
本明細書で使用されているような「ハードウェアインターフェース」は、プロセッサーまたは他の制御装置が、外部コンピューティングデバイスおよび/もしくは装置とやりとりをすること、ならびに/または、外部コンピューティングデバイスおよび/もしくは装置を制御することを可能にするインターフェースを包含する。ハードウェアインターフェースは、プロセッサーが、外部コンピューティングデバイスおよび/または装置に制御信号または命令を送信することを可能にすることができる。
一態様では、本発明は、流体を注出するためのカートリッジを提供する。カートリッジは、流体を受け入れるように、および、ベンチレーションガスを受け入れるように動作可能である貯蔵部チャンバーを含む。本明細書で使用されているようなベンチレーションガスは、貯蔵部チャンバーから流体が除去されるときに、貯蔵部チャンバーの外側と貯蔵部チャンバーの内側との間で圧力を等しくするために使用されるガスを包含する。貯蔵部チャンバーは、ベンチレーションガスを受け入れるための入口部、および、流体を注出するための出口部を含む。貯蔵部チャンバーの少なくとも一部分は、動作位置にあるときに、ベンチレーションガスで充填されるように動作可能である。入口部は、ベンチレーションガスで充填されるように動作可能な一部分の中に位置付けされている。換言すれば、カートリッジが動作位置にあるときに、ベンチレーションガスが、所定の場所において貯蔵部チャンバーに加えられ、その所定の場所には、ベンチレーションガスが既に存在しており、または、その所定の場所は、ベンチレーションガスで即座に充填される。流体は、試薬を含む。本明細書で使用されているような試薬は、化学反応もしくは生化学反応を引き起こすために化学システムに加えられるか、または、反応が起こっているかどうかを確かめるために加えられる物質もしくは化合物である。
カートリッジは、入口部を通るガス拡散を制限するためのバッフル手段をさらに含む。貯蔵部チャンバーは、バッフル手段を介してベンチレーションガスを受け入れるように動作可能である。本明細書で使用されているようなバッフル手段は、入口部へ到達するためにガスに特定の経路をたどらせる構造体を包含する。バッフル手段は、入口部へのおよび/または入口部からのガスの拡散を制限する手段を提供する。本明細書で使用されているようなそのようなガス拡散は、外への拡散から、カートリッジの中への、および/または、貯蔵部チャンバーの中に既に存在しているガスの中へのベンチレーションガスの拡散を指すことが可能である。この実施形態は、カートリッジの中の試薬の寿命を維持することが可能であるので有利であり得る。例えば、試薬に応じて、ベンチレーションガスの成分は、試薬が有効性を失うこと、または、その化学的な反応性を失うことを引き起こす可能性があり、貯蔵部チャンバーの内側のガスは、流体からの蒸気を含有することも可能である。バッフル手段は、入口部からの流体蒸気の拡散も制限する。これは、特定の試薬の濃度が変化することを防止するのを助けることが可能である。
別の実施形態では、カートリッジは、入口部をシールするためのキャップを含む。キャップは、入口部を開けるために、開位置へ移動させられるように動作可能であり得る。いくつかの実施形態では、キャップは、直接的に入口部をシールすることが可能であり、すなわち、キャップのシーリング効果は入口部にある。他の実施形態では、キャップは、バッフル、または、バッフルの一部分をシールする。これは、入口部を間接的にシールする。
いくつかの実施形態では、本明細書で使用されているようなキャップは、入口部を開閉させるように動作可能な機械的なパーツとすることが可能である。キャップの例は、プラスチックの取り外し可能なピース、1片のテープ、および、カートリッジと連動するように動作可能な機械的なパーツ(例えば、スクリューキャップなど)を含むことが可能である。
別の実施形態では、入口部は、ベンチレーションガスで充填されるように動作可能である貯蔵部チャンバーの一部分の中に、一定の圧力を維持するように動作可能である。圧力を一定の値に維持することは、より正確な流体の注出を可能にするので、この実施形態は有益であり得る。いくつかの実施形態では、入口部は、流体を注出するときに、ベンチレーションガスで充填されるように動作可能である貯蔵部チャンバーの一部分の中に、一定の圧力を維持するように動作可能である。
例えば、米国特許出願公開第2010/0015009A1号では、流体の中に沈められている入口部が開示されている。ガスは、入口部においてバブリングすることによって、カートリッジ貯蔵部の中へ進入する。このバブリングは、貯蔵部の中に小さい変動を引き起こす。これは、注出される流体の量の不安定につながり得る。とりわけ、流体の量がマイクロ流体の範囲の中にある場合に、本発明の実施形態は、より正確な流体の注出を提供することが可能である。
別の実施形態では、入口部は、貯蔵部チャンバーが、10パーセントから90パーセントの間で、流体で満たされている(好ましくは、20パーセントから80パーセントの間で、流体で満たされている)ときに、ベンチレーションガスで充填されるように動作可能である貯蔵部チャンバーの一部分の中に、一定の圧力を維持するように動作可能である。圧力を一定の値に維持することは、より正確な流体の注出を可能にするので、この実施形態は有益であり得る。
いくつかの実施形態では、カートリッジは、流体を貯蔵部チャンバーの中へ充填するために充填入口部を含むことが可能である。
いくつかの実施形態では、ベンチレーションガスは、通常の大気とすることが可能である。いくつかの実施形態では、バッフル手段は、大気に開放されている。
別の実施形態では、キャップは、入口部を開けるために、開位置へ移動させられるように動作可能である。キャップは、取り外し可能とすることができ、または、移動可能とすることができるが、カートリッジに固定される。
別の実施形態では、キャップは、閉位置へ移動させられるように動作可能である。例えば、これは、入口部を再シールするために有用であり得る。
別の実施形態では、キャップは、開位置から閉位置へ移動させられるように動作可能である。
別の実施形態では、キャップは、閉位置から開位置へ移動させられるように動作可能である。
別の実施形態では、カートリッジは、入口部をシールするためのキャップを含む。カートリッジは、キャップが開いているときに、バッフル手段の少なくとも一部分を形成するように動作可能である。動作位置へキャップを設置するキャップの取り外しが、バッフル手段の一部分を形成するので、この実施形態は有益であり得る。
別の実施形態では、カートリッジは、キャップを取り付けるためにねじ山を含む。バッフル手段は、ねじ山の中に形成される拡散経路を含む。例えば、拡散経路は、ねじ山の中へ成形されたチューブとすることが可能であり、または、ねじ山の表面の上に切り込まれ、もしくは成形されたチャネルとすることが可能である。この実施形態は、バッフル手段を提供し、それを既存の構造体の中へ一体化させるコスト効率の良い手段を提供するので、有益であり得る。
別の実施形態では、拡散経路は、ねじ山の中にチャネルである。カートリッジは、キャップの開口を所定の量に限定するためのキャップ拘束部をさらに含む。例えば、キャップ、および、カートリッジの一部分は、その上にタブまたはブロックをそれぞれ有することが可能である。キャップが、例えば、4分の1回転、2分の1回転、または4分の3回転だけ開いているときに、それは、キャップがさらに回転することを防止することが可能である。チャネルに沿う拡散が、予想可能であり、異なるカートリッジの間で差がないように、ねじ山を所定の量だけ開ける手段を提供することが可能であるので、この実施形態は有益であり得る。
別の実施形態では、バッフル手段は、カートリッジの外部表面の上に少なくとも部分的に形成されている。この実施形態は、バッフル手段をカートリッジの中へ一体化させる接触手段を提供することが可能であるので、有益であり得る。
別の実施形態では、バッフル手段は、外部表面の上に装着されているチューブを含む。
別の実施形態では、バッフル手段は、貯蔵部チャンバーの中に少なくとも部分的に形成されている。バッフル手段は、既存のカートリッジに加えることが可能であるので、または、バッフル手段は、特定の流体に合わせることが可能であるので、この実施形態は有益であり得る。例えば、いくつかの流体は、試薬を保存するために別のものよりも大きい拡散を制限するバッフル手段を必要とする可能性がある。
別の実施形態では、バッフル手段は、貯蔵部チャンバーの中に少なくとも部分的に位置付けされているチューブを含む。貯蔵部チャンバーの中のチューブの量は、カートリッジの製造の間に、容易に調節することが可能であるので、この実施形態は有益であり得る。
別の実施形態では、チューブは、開口部および入口部を含む。開口部は、大気またはガス供給部へ直接的に開放することが可能である。ガスフィルターが、入口部に存在することが可能である。
キャップは、例えば、ねじ山によって装着することが可能である。キャップが閉位置にあるときに、それは、入口部に押し付けており、入口部をシールしている。キャップが回して外されると、それは、入口部から離れて移動し、入口部を開ける。
別の実施形態では、チューブは、長さ対直径の比率が少なくとも2である。
別の実施形態では、チューブは、長さ対直径の比率が少なくとも100である。
別の実施形態では、カートリッジの少なくとも一部は、射出成形されている。バッフル手段は、その一部によって、少なくとも部分的に形成されている。
別の実施形態では、バッフル手段は、ガスフィルターを含む。いくつかの実施形態では、ガスフィルターは、入口部を通る拡散をさらに低減させることを助けることが可能であるので、有益であり得る。いくつかの実施形態では、ガスフィルターは、ガスだけを通すために、微小孔部を有することが可能であり、いくつかの実施形態では、フィルターは、疎水性とすることが可能である。他の実施形態では、ガスフィルターは、ポリテトラフルオロエチレン(PTFE)、炭素繊維、PTFEでコーティングされた炭素繊維、ポリマー繊維、またはフッ素ポリマー繊維の多孔性の形態とすることが可能である。
また、ガスフィルターが貯蔵部チャンバーの中の流体を保持することを助けることが可能であるという態様から、この実施形態は有益であり得る。
別の実施形態では、カートリッジは、流体をさらに含む。
別の実施形態では、流体は、血液型判定試薬を含む。
別の実施形態では、流体は、希釈剤を含む。
別の実施形態では、流体は、溶媒を含む。
別の実施形態では、流体は、触媒を含む。
別の実施形態では、流体は、抗体を含む。
別の実施形態では、流体は、酵素を含む。
別の実施形態では、流体は、組み換えタンパク質を含む。
別の実施形態では、流体は、ウィルス分離株を含む。
別の実施形態では、流体は、ウィルスを含む。
別の実施形態では、流体は、生物試薬を含む。
別の実施形態では、流体は、タンパク質を含む。
別の実施形態では、流体は、塩を含む。
別の実施形態では、流体は、洗浄剤を含む。
別の実施形態では、流体は、核酸を含む。
別の実施形態では、流体は、酸を含む。
別の実施形態では、流体は、塩基を含む。
別の実施形態では、流体は、分散剤を含む。本明細書で使用されているような分散剤は、流体の中に懸濁されている粒子または微粒子を包含する。
別の実施形態では、流体は、ラテックス粒子を含むことが可能である。
別の実施形態では、流体は、ナノ粒子を含むことが可能である。
別の実施形態では、流体は、磁性粒子を含むことが可能である。
別の実施形態では、カートリッジは、流体を注出するためにディスペンサーをさらに含む。ディスペンサーは、出口部から流体を受け入れるように動作可能である。いくつかの実施形態では、ディスペンサーは、マイクロ流体のディスペンサーとすることが可能である。他の実施形態では、ディスペンサーは、ノズルとするか、または、ノズルを含むことが可能である。例えば、ディスペンサーは、直線状のチューブとするか、または、直線状のチューブを含むことが可能であり、または、それは、1つまたは複数の弁がその中に含有されているノズルとするか、または、1つまたは複数の弁がその中に含有されているノズルを含むことが可能である。
別の実施形態では、ディスペンサーは、バッフル手段と独立した速度で流体を注出するように動作可能である。換言すれば、流体の注出は、バッフル手段によって、調整または制御されない。
例えば、米国特許出願第2011/030760A1号では、物質を制御可能に放出するための装置が開示されている。調整器エレメントは、装置の中へのガスのフローを制限し、流体の放出速度を効果的に制御する。それとは対照的に、本発明の実施形態は、バッフル手段と効果的に独立した速度で、流体を注出することが可能である。バッフル手段は、注出の速度に対して、そのような小さい効果を有することが可能であるので、効果は、注出される実際の体積よりも非常に小さい。これは、より正確な流体の注出を可能にすることができる。
別の実施形態では、ディスペンサーは、マイクロ流体のディスペンシングアッセンブリである。
別の実施形態では、ディスペンサーは、10μL未満の体積、500nL未満の体積、200nL未満の体積、100nL未満の体積、および、20nL未満の体積のうちのいずれか1つを注出するように動作可能である。
別の実施形態では、キャップは、カートリッジに取り付けられている。
別の実施形態では、キャップは、カートリッジから取り外されるように動作可能である。
別の実施形態では、キャップは、開位置と閉位置との間で移動可能であり、開位置にあるときに、キャップがバッフル手段を開ける。
別の態様では、本発明は、本発明の実施形態によるカートリッジを保持または受け入れるために自動分析器を提供する。自動分析器は、ディスペンサーを作動させるように動作可能なアクチュエーターアッセンブリを含む。自動分析器は、アクチュエーターアッセンブリの動作を制御するために制御装置をさらに含む。
ディスペンサーは、機械的に、空気圧式に、磁気的に、および/または電気的に作動させることが可能である。これは、実装形態、および、どのようにディスペンサーが構成されるかということに左右される。ある実施形態では、カートリッジは、自動分析器の中へ設置されるときに、動作位置になっている。
別の態様では、本発明は、自動分析器を用いて流体を注出する方法を提供する。方法は、カートリッジを提供するステップを含む。カートリッジは、貯蔵部チャンバーを含む。貯蔵部チャンバーは、流体で充填される。流体は、試薬を含む。貯蔵部チャンバーは、ベンチレーションガスを受け入れるための入口部、および、流体を注出するための出口部を含む。カートリッジは、入口部を通るガス拡散を制限するためにバッフル手段をさらに含む。カートリッジは、流体を注出するためにディスペンサーをさらに含む。方法は、自動分析器の中において動作位置にカートリッジを設置するステップをさらに含む。自動分析器は、ディスペンサーを作動させるためのアクチュエーターアッセンブリを含む。方法は、ディスペンサーを使用して、出口部から流体を受け入れるステップをさらに含む。方法は、流体を注出するためにアクチュエーターアッセンブリを動作させるステップをさらに含む。方法は、バッフル手段を介して入口部においてベンチレーションガスを受け入れるステップをさらに含む。方法は、貯蔵部チャンバーの少なくとも一部分をベンチレーションガスで充填するステップをさらに含む。入口部は、ベンチレーションガスで充填されるように動作可能な一部分の中に位置付けされている。
別の実施形態では、方法は、ベンチレーションガスとして空気を提供するために、バッフル手段からシールを除去するステップをさらに含む。
本発明の上述の実施形態のうちの1つまたは複数は、組み合わされた実施形態が互いに矛盾しない限り、組み合わせることが可能であるということが理解される。
以下では、本発明の実施形態が、単に例として、図面を参照して、非常に詳細に説明されている。
本発明の実施形態によるカートリッジ100を図示する図である。 本発明の実施形態による自動分析器200を図示する図である。 本発明の実施形態による方法を図示するフロー図である。 本発明のさらなる実施形態によるカートリッジを図示する図である。 図4に示されているカートリッジをさらに図示する図である。 本発明のさらなる実施形態によるカートリッジを図示する図である。 図6に示されているカートリッジをさらに図示し、図6に示されているカートリッジの外部表面の上の視点を提供する図である。 本発明のさらなる実施形態によるカートリッジを図示する図である。 図8に示されているカートリッジをさらに図示する図である。 本発明のさらなる実施形態によるカートリッジを図示する図である。
これらの図において、同様に付番されているエレメントは、均等エレメントであるか、または、同じ機能を実行するかのいずれかである。先に議論されてきたエレメントは、機能が均等である場合には、後出の図では必ずしも議論しない。
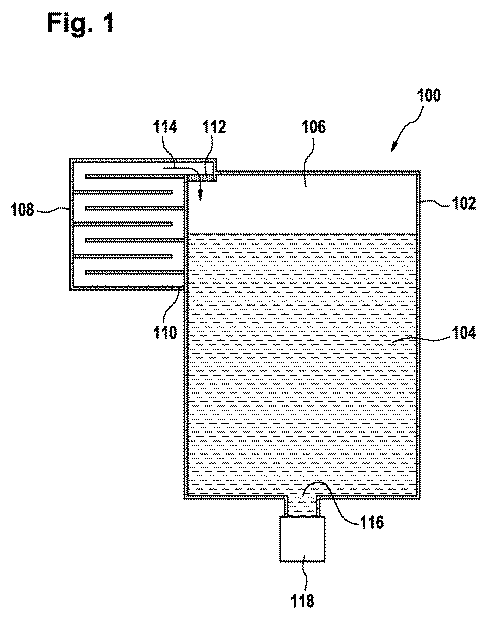
図1は、本発明の実施形態によるカートリッジ100を図示している。カートリッジ100は、流体104を保持するための貯蔵部チャンバー102を含む。貯蔵部チャンバー102は、流体104で部分的にだけ充填されている。貯蔵部チャンバー102の上部には、ガス106で充填される領域が存在している。貯蔵部チャンバー102に隣接しているのは、バッフル手段108である。この例では、バッフル手段108は、大気ベント部(vent−to−atmosphere)110を有している。バッフル手段を通って進行すると、随意的なガスフィルター112が存在しており、ガスフィルター112は、貯蔵部チャンバー102への入口部114をカバーしている。入口部114は、貯蔵部チャンバー102のガス充填部分106にベンチレーションガスを提供する。入口部114は、バッフル手段108に取り付けられている。流体104は、出口部116を介して貯蔵部チャンバー102を出ていく。この例では、随意的なディスペンサー118が存在している。この実施形態では、ディスペンサーは、流体をポンプ送りするためのメカニズムとすることが可能であるか、または、それは、単純に、流体を注出するためのノズルもしくはチューブとすることが可能である。
図2は、本発明の実施形態による自動分析器200を図示している。この自動分析器は、3つのカートリッジ202、202’、および202”を有するものとして示されている。カートリッジ202に接続されているアクチュエーターアッセンブリ204が存在している。カートリッジ202’に取り付けられているアクチュエーターアッセンブリ204’が存在している。カートリッジ202”に取り付けられているアクチュエーターアッセンブリ204”が存在している。アクチュエーター204、204’、204”は、カートリッジ202、202’、202”のディスペンサー118を作動させるためのものである。自動分析器200は、サンプルホルダー206とカートリッジ202、202’および202”との間に相対移動212を提供する相対移動手段210を有するものとして示されている。サンプルホルダー206は、生体サンプル208を含有するものとして示されている。カートリッジ202、202’、202”が使用され、1つまたは複数の流体を生体サンプル208に加えることが可能である。自動分析器200は、随意的に、測定システム214を含むことが可能である。測定システムは、生体サンプル208の物理量または物理的特性を測定するための1つまたは複数のセンサーを含むことが可能であり、例えば、測定システム214は、NMRシステム、光透過型または光反射型測定システム、電気化学センサーもしくは光学センサー、pHメーター、カメラシステム、またはクロマトグラフィーシステムを含むことが可能である。また、相対移動手段210は、サンプルホルダー206を測定システム214に移動させるように動作可能である。
カートリッジ202、202’、202”、および測定システム214の配置は、代表的なものである。また、測定システム214は、代替的に、サンプルホルダー206の一部とすることが可能である。いくつかの実施形態では、サンプルホルダー206は、固定位置にとどまっていることが可能であり、カートリッジ202、202’、202”は、移動することが可能である。アクチュエーションシステム204、204’、204”、および測定システム214は、コンピューターシステム220のハードウェアインターフェース222に接続されているものとして示されている。コンピューターシステム220は、自動分析器200のための制御装置として機能する。コンピューター220は、プロセッサー224を含有するものとしてさらに示されており、プロセッサー224は、ハードウェアインターフェース222を使用して、自動分析器200の動作および機能を制御することが可能である。プロセッサー224は、ユーザーインターフェース226、コンピューターストレージ228、およびコンピューターメモリー230にさらに接続されているものとして示されている。コンピューターストレージ228は、分析要求232を含有するものとして示されている。分析要求232は、生体サンプル208を分析するための要求を含有している。
コンピューターストレージ228は、測定システム214から受信されたセンサーデータ234をさらに含有するものとして示されている。コンピューターストレージ228は、センサーデータ234を使用して決定された分析結果236をさらに含有するものとして示されている。コンピューターメモリー230は、制御モジュール240を含有している。制御モジュール240は、コンピューター実行可能コードを含有しており、コンピューター実行可能コードは、プロセッサー224が自動分析器200の動作および機能を制御することを可能にする。例えば、制御モジュール240は、分析要求232を使用し、コマンドを発生させ、アクチュエーションシステム204、204’、204”、測定システム214、および相対移動システム210に発生および送信することが可能である。また、制御モジュール240は、センサーデータ234を使用して分析結果236を発生させることが可能である。
図3は、本発明の実施形態による方法を図示するフロー図を示している。第1に、ステップ300において、カートリッジが提供される。次に、ステップ302において、カートリッジが、自動分析器の中に設置され、カートリッジは、動作位置にある。次に、ステップ304において、流体は、ディスペンサーを使用して出口部から注出される(すなわち、受け入れられる)。次に、ステップ306において、アクチュエーターセンターは、流体を注出するように動作される。次に、ステップ308において、ベンチレーションガスが、バッフル手段を介して、流体貯蔵部の入口部において受け入れられる。最後に、ステップ310において、貯蔵部チャンバーの少なくとも一部分が、ベンチレーションガスで充填される。
図4および図5は、本発明によるカートリッジ400の代替的な実施形態を示している。図4および図5では、2つのカートリッジが、共通のハウジングの中へ一体化されている。このカートリッジ400の設計は、ねじ山404によって固定されるキャップ402を有している。貯蔵部チャンバー102は、キャップ402によってシールされる。ねじ山404の中に切り込まれるか、または成形されたチャネル406が存在している。図5に示されているように、キャップ402がわずかに開けられると、チャネル406は、大気ベント部110を形成する。ねじ山404の上部において、キャップ402とねじ山404との間のギャップが、入口部114を形成する。いくつかの実施形態では、ガスフィルターは、入口部14の開口部を横切って広がっていることが可能である。その位置は、図5において、500のマークを付けられている。キャップ402が閉められると、貯蔵部チャンバー102がシールされ、入口部114が閉められる。キャップ402が開けられると、ガスは、チャネル406の中へ拡散することが可能である。キャップ402が開けられる量は、キャップ402の上にストッパーを設置し、貯蔵部チャンバー102の上に対応するストッパーを設置することによって制御され、キャップ402が開けられ過ぎることを防止することが可能である。
図6および図7は、本発明のさらなる実施形態によるカートリッジ600を図示している。図6および図7では、2つのカートリッジが、共通のハウジングの中へ一体化されており、図6および図7に示されている実施形態では、チューブ602が使用されており、チューブ602は、貯蔵部チャンバー102の表面に取り付けられているか、または、貯蔵部チャンバー102の中へ成形されているか、もしくは、部分的に成形されているかのいずれかである。チューブ602は、大気ベント部110を有しており、カートリッジ600の外側にある曲がりくねった経路をたどる。次いで、チューブ602は、貯蔵部チャンバー102の入口部14に接続されている。
図8および図9は、本発明のさらなる実施形態によるカートリッジ800を図示しており、図8および図9において、2つのカートリッジが、共通のハウジングの中へ一体化されており、この例では、チューブ802への入口において装着されたガスフィルター112が存在している。チューブは、貯蔵部チャンバー102の中に位置付けされている。チューブは、キャップ402が装着されているねじ山の上部まで延在している。この実施形態では、ガスフィルター112は、流体がカートリッジ102を離れることを防止し、また、外部粒子または液体(例えば、ダスト粒子、または、凝縮水の液滴)が、チューブ802に進入し、チューブ802を詰まらせることを防止する。図9は、カートリッジ800のうちの1つの上で取り外されているガスフィルター12の例を示している。また、図9では、キャップ402も取り外されている。どのように、入口部114が、貯蔵部チャンバー102の中において、最も高い点で位置付けされているということを見ることが可能である。ガスフィルター112は、流体が貯蔵部チャンバー102を出ていくことを防止する。
図10は、カートリッジ100の別の例を示している。この例は、カートリッジ100の中へのガスの拡散を議論するために使用される。カートリッジ100は、貯蔵部チャンバー102を含み、貯蔵部チャンバー102は、流体104およびガス106で部分的に充填されている。この図では、バッフル手段は、チューブ108によって表されている。バッフル手段108は、大気ベント部110および入口部114を有しており、入口部114は、ガスの充填された領域106の中において、貯蔵部チャンバー102に進入する。1000のマークを付けられているラインは、バッフル手段108を通って入口部114へ拡散するガス分子を表している。
図10に示されているカートリッジは、貯蔵部チャンバー102の内側に、ガスおよび液体の両方を有している。チャンバーの外側は、大気条件になっている。これらの2つの領域は、チューブによって分離されている。カートリッジの中の液体は、大気ガスの中の分子によって、徐々に劣化させられる可能性がある。これらの分子は、拡散によって、周囲の環境からカートリッジの内側へ移動する。
チューブ直径および長さをどのように規定するかということについての計算が詳述され、液体の化学的な特性の速過ぎる破壊を防止するために、これらのパラメーターをどのように選択するかということについて明示している。
基本的に、チューブ108が長くなればなるほど、および、細くなればなるほど、カートリッジの内側の分子1000の拡散は遅くなる。一般的パラメーター(本明細書で、インピーダンスと称される)が規定され、それは、計算を実施するために使用され、その計算は、カートリッジが同じ環境において開けられたままである場合に、特定の時間の間、カートリッジが使用可能であることとなるということを保証する。Zは、チャネルを横切る分子1000の濃度差と分子フラックスとの間の比率に、カートリッジの中に拡散する分子1000の拡散定数Dを乗じたとものして規定される。
このインピーダンスは、長くて丸いチューブに関して容易に計算することが可能であり、基準として使用される。
そのような計算を行うために、環境からの分子による汚染または劣化に起因して、液体がそれ以上は使用可能でなくなる条件を規定または決定することが必要である。したがって、貯蔵部の内側に拡散された分子1000の臨界数を表現する量(Ncrit)が存在する。この量は、溶解度などのようないくつかのパラメーター、および、温度または圧力などのような異なる化学反応パラメーターに大きく依存する。
重要変数を規定するために、濃度は、分子/mとする。
− t_life: 貯蔵部の希望継続時間(持続時間 時間)
− C_0: 周囲の環境の中のこの分子の濃度
− N_crit: 時間t_lifeの間に決して到達されるべきでないカートリッジの内側の粒子の臨界数
− V_cart: カートリッジの全体積
− V_gas: カートリッジの中のガスの体積
− C_gas_0: 貯蔵部のガス部の中の分子の初期濃度
− D: 考慮される条件における分子の拡散定数である
− Z: 幾何学形状インダクタンス
− 丸くて長い均質なチューブに関して、
○ L: 長さ
○ S: 断面表面(=πR
Zは、チャネルを横切る濃度差と分子フラックスとの間の比率に拡散定数Dを乗じたものとして規定される。
単純な丸くて長い幾何学形状に関して、外側から内側への最大分子フローは、定常状態近似で規定することが可能である。
Figure 0006329530
したがって、単純な統合によって、時間tにおいて、内側に拡散されたカートリッジの中の分子の最大数は、
Figure 0006329530
次いで、この不等式を必要とするということを推定することが可能である。
Figure 0006329530
より一般的な方式では、
Figure 0006329530
貯蔵部の内側の液体に関するtよりも大きい寿命を信頼性高く確実にするために、インピーダンスZは、この公式に従わなければならない。
Figure 0006329530
前に記載したように、チュービングが均質に丸い特別の場合では、Zは次式によって規定される。
Figure 0006329530
したがって(円形チュービングに関して)、
Figure 0006329530
チューブのインピーダンスZがZcritよりも大きい限り、液体およびカートリッジの持続時間は、最小時間tの間、維持される。
例:水の中のCO
− D=0.16e−4m/秒
− V_cart=30ml=30e−6m
− T_life=1年=365.25*24*3600秒
− pCO=4e−4*101325(空気の中のCOの分圧)
− N_crit=N_crit_gas+N_crit_liq
○ N_crit_gas=Vgas*(Na*pCO)/(R*T)
■ここで、Na=アボガドロ定数、R=理想気体定数、および、T=温度である。
○ N_crit_liq=Vliq*MaxConCO
■この値は、約120mg/lとなるようにとられ、それは、N_crit_gasに関するものよりも非常に多い。
ガス体積の中の分圧が到達されるときに、ガスの中のCO分子の臨界数が到達され、CO分子が水の中に飽和される(ガスを飽和させるのに必要とされる数のおおよそ2倍)。
− 1年の安定性に関して、
○ Vliq=29ml
L=100cm、および、D=3.2mm
L=10cm、および、D=1mm
○ Vliq=15ml
L=100cm、および、D=2.3mm
L=10cm、および、D=726μm
○ Vliq=1ml
L=100cm、および、D=650μm
L=10cm、および、D=205μm
Vliqは、貯蔵部チャンバーの中の液体または流体の体積である。インピーダンスがこれらの値を越えるように、チューブの長さおよび直径の値が選択される場合には、カートリッジは、1年の所望の寿命を有することとなる。例えば、一実施形態では、バッフル手段は、長さが10cmよりも大きいか、または10cmに等しく、直径が1mmに等しいか、または1mmよりも小さいチューブを含む。長さが10cmで直径が1mmのチューブに関して、Z=1.24e5m−1である。本発明の一実施形態では、上記に規定されているように、バッフル手段のインピーダンスは、1.24e5m−1よりも小さいか、または、1.24e5m−1に等しい。この実施形態では、流体は、クレアチニンテスト試薬とすることが可能である。
同様に、カートリッジの中に1mlのガスを有する貯蔵部チャンバーの中の15mlの液体に関して、CO拡散を考慮すると、チューブの長さは、少なくとも10cmとし、直径を726μmよりも少ないか、または726μmに等しくするべきである。本発明の一実施形態では、上記に規定されているように、バッフル手段のインピーダンスは、Z=12.42e5m−1よりも少ないか、またはZ=12.42e5m−1に等しい。この実施形態では、流体は、クレアチニンテスト試薬とすることが可能である。
100 カートリッジ
102 貯蔵部チャンバー
104 流体
106 ガス
108 バッフル手段
110 大気ベント部
112 ガスフィルター
114 入口部
116 出口部
118 ディスペンサー
200 自動分析器
202 カートリッジ
202’ カートリッジ
202” カートリッジ
204 アクチュエーターアッセンブリ
204’ アクチュエーターアッセンブリ
204” アクチュエーターアッセンブリ
206 サンプルホルダー
208 生体サンプル
210 相対移動手段
212 相対移動
214 測定システム
220 コンピューター
222 ハードウェアインターフェース
224 プロセッサー
226 ユーザーインターフェース
228 コンピューターストレージ
230 コンピューターメモリー
232 分析要求
234 センサーデータ
236 分析結果
240 制御モジュール
400 カートリッジ
402 キャップ
404 ねじ山
406 ねじ山の中のチャネル
500 ガスフィルター場所
600 カートリッジ
602 チューブ
800 カートリッジ
802 チューブ
1000 拡散の経路

Claims (25)

  1. 流体(104)を注出するための、分析器のカートリッジ(100、202、202’、202”、400、600、800)であって、前記カートリッジは、
    − 前記流体を受け入れるように、および、ベンチレーションガス(106)を受け入れるように動作可能な貯蔵部チャンバー(102)であって、前記貯蔵部チャンバーは、前記ベンチレーションガスを受け入れるための入口部(114)、および、前記流体を注出するための出口部(116)を含み、前記貯蔵部チャンバーの少なくとも一部分(106)は、前記カートリッジが前記分析器の中に設置されたときに、前記ベンチレーションガスで充填されるように動作可能であり、前記入口部は、前記ベンチレーションガスで充填されるように動作可能な前記一部分の中に位置付けされており、前記流体は、試薬を含み、前記貯蔵部チャンバーが、10パーセントから90パーセントの間で前記流体で満たされているときに、前記ベンチレーションガスで充填されるように動作可能な前記貯蔵部チャンバーの前記一部分の中に、前記入口部が一定ガス圧力を維持するように動作可能である、貯蔵部チャンバー(102)と、
    − 前記入口部を通るガス拡散を制限するためのバッフル手段(108、406、602、802)であって、前記貯蔵部チャンバーは、前記バッフル手段を介して前記ベンチレーションガスを受け入れるように動作可能であり、前記入口部は、前記ベンチレーションガスで充填されるように動作可能な前記貯蔵部チャンバーの前記一部分の中に、一定ガス圧力を維持するように動作可能であり、前記ベンチレーションガスは、前記貯蔵部チャンバーの中のガスに直接的に提供される、バッフル手段(108、406、602、802)とを含む、カートリッジ(100、202、202’、202”、400、600、800)であって、
    前記バッフル手段は、前記ベンチレーションガスのための伸長された拡散経路を含み、
    前記カートリッジが、前記入口部をシールするためのキャップ(402)をさらに含む、
    カートリッジ(100、202、202’、202”、400、600、800)。
  2. 前記カートリッジが、前記流体を注出するためのディスペンサーをさらに含み、前記ディスペンサーは、前記出口部から前記流体を受け入れるように動作可能であって、前記ディスペンサーが、前記バッフル手段と独立した速度で流体を注出するように動作可能である、請求項1に記載のカートリッジ。
  3. 前記キャップが、前記入口部を開けるために、開位置へ移動させられるように動作可能である、請求項1または2に記載のカートリッジ。
  4. 前記キャップが、前記入口部を再シールするように動作可能である、請求項に記載のカートリッジ。
  5. 前記キャップが開けられているときに、前記カートリッジが、前記バッフル手段の少なくとも一部分を形成するように動作可能である、請求項1から4までのいずれか一項に記載のカートリッジ。
  6. 前記カートリッジが、前記キャップを取り付けるためにねじ山を含む、請求項1から5までのいずれか一項に記載のカートリッジ。
  7. 前記伸長された拡散経路が、前記ねじ山の中に形成されている、請求項に記載のカートリッジ。
  8. 前記伸長された拡散経路が、前記ねじ山の中にチャネル(406)を含み、前記カートリッジが、前記キャップの開口を所定の量に限定するためのキャップ拘束部をさらに含む、請求項に記載のカートリッジ。
  9. 前記バッフル手段が、前記貯蔵部チャンバーの中に少なくとも部分的に位置付けされているチューブ(802)を含み、前記チューブが、開口部および前記入口部を含み、前記キャップが、前記貯蔵部チャンバーの中に前記入口部をシールするように動作可能である、請求項1から8までのいずれか一項に記載のカートリッジ。
  10. 前記キャップが、カートリッジに取り付けられている、請求項1から9までのいずれか一項に記載のカートリッジ。
  11. 前記キャップが、前記カートリッジから取り外されるように動作可能である、請求項1から10までのいずれか一項に記載のカートリッジ。
  12. 前記キャップが、開位置と閉位置との間で移動可能であり、前記開位置にあるときに、前記キャップが前記バッフル手段を開ける、請求項1から11までのいずれか一項に記載のカートリッジ。
  13. 流体(104)を注出するための、分析器のカートリッジ(100、202、202’、202”、400、600、800)であって、前記カートリッジは、
    − 前記流体を受け入れるように、および、ベンチレーションガス(106)を受け入れるように動作可能な貯蔵部チャンバー(102)であって、前記貯蔵部チャンバーは、前記ベンチレーションガスを受け入れるための入口部(114)、および、前記流体を注出するための出口部(116)を含み、前記貯蔵部チャンバーの少なくとも一部分(106)は、前記カートリッジが前記分析器の中に設置されたときに、前記ベンチレーションガスで充填されるように動作可能であり、前記入口部は、前記ベンチレーションガスで充填されるように動作可能な前記一部分の中に位置付けされており、前記流体は、試薬を含み、前記貯蔵部チャンバーが、10パーセントから90パーセントの間で前記流体で満たされているときに、前記ベンチレーションガスで充填されるように動作可能な前記貯蔵部チャンバーの前記一部分の中に、前記入口部が一定ガス圧力を維持するように動作可能である、貯蔵部チャンバー(102)と、
    − 前記入口部を通るガス拡散を制限するためのバッフル手段(108、406、602、802)であって、前記貯蔵部チャンバーは、前記バッフル手段を介して前記ベンチレーションガスを受け入れるように動作可能であり、前記入口部は、前記ベンチレーションガスで充填されるように動作可能な前記貯蔵部チャンバーの前記一部分の中に、一定ガス圧力を維持するように動作可能であり、前記ベンチレーションガスは、前記貯蔵部チャンバーの中のガスに直接的に提供される、バッフル手段(108、406、602、802)とを含む、カートリッジ(100、202、202’、202”、400、600、800)であって、
    前記バッフル手段は、前記ベンチレーションガスのための伸長された拡散経路を含み、
    前記バッフル手段が、前記貯蔵部チャンバーの中に少なくとも部分的に位置付けされているチューブ(802)を含む、
    カートリッジ(100、202、202’、202”、400、600、800)
  14. 前記バッフル手段が、前記カートリッジの外部表面の上に少なくとも部分的に形成されている、請求項1から13までのいずれか一項に記載のカートリッジ。
  15. 流体(104)を注出するための、分析器のカートリッジ(100、202、202’、202”、400、600、800)であって、前記カートリッジは、
    − 前記流体を受け入れるように、および、ベンチレーションガス(106)を受け入れるように動作可能な貯蔵部チャンバー(102)であって、前記貯蔵部チャンバーは、前記ベンチレーションガスを受け入れるための入口部(114)、および、前記流体を注出するための出口部(116)を含み、前記貯蔵部チャンバーの少なくとも一部分(106)は、前記カートリッジが前記分析器の中に設置されたときに、前記ベンチレーションガスで充填されるように動作可能であり、前記入口部は、前記ベンチレーションガスで充填されるように動作可能な前記一部分の中に位置付けされており、前記流体は、試薬を含み、前記貯蔵部チャンバーが、10パーセントから90パーセントの間で前記流体で満たされているときに、前記ベンチレーションガスで充填されるように動作可能な前記貯蔵部チャンバーの前記一部分の中に、前記入口部が一定ガス圧力を維持するように動作可能である、貯蔵部チャンバー(102)と、
    − 前記入口部を通るガス拡散を制限するためのバッフル手段(108、406、602、802)であって、前記貯蔵部チャンバーは、前記バッフル手段を介して前記ベンチレーションガスを受け入れるように動作可能であり、前記入口部は、前記ベンチレーションガスで充填されるように動作可能な前記貯蔵部チャンバーの前記一部分の中に、一定ガス圧力を維持するように動作可能であり、前記ベンチレーションガスは、前記貯蔵部チャンバーの中のガスに直接的に提供される、バッフル手段(108、406、602、802)とを含む、カートリッジ(100、202、202’、202”、400、600、800)であって、
    前記バッフル手段は、前記ベンチレーションガスのための伸長された拡散経路を含み、
    前記バッフル手段が、前記カートリッジの外部表面の上に少なくとも部分的に形成されており、
    前記バッフル手段が、前記外部表面の上に装着されているチューブ(602)を含む、カートリッジ(100、202、202’、202”、400、600、800)
  16. 流体(104)を注出するための、分析器のカートリッジ(100、202、202’、202”、400、600、800)であって、前記カートリッジは、
    − 前記流体を受け入れるように、および、ベンチレーションガス(106)を受け入れるように動作可能な貯蔵部チャンバー(102)であって、前記貯蔵部チャンバーは、前記ベンチレーションガスを受け入れるための入口部(114)、および、前記流体を注出するための出口部(116)を含み、前記貯蔵部チャンバーの少なくとも一部分(106)は、前記カートリッジが前記分析器の中に設置されたときに、前記ベンチレーションガスで充填されるように動作可能であり、前記入口部は、前記ベンチレーションガスで充填されるように動作可能な前記一部分の中に位置付けされており、前記流体は、試薬を含み、前記貯蔵部チャンバーが、10パーセントから90パーセントの間で前記流体で満たされているときに、前記ベンチレーションガスで充填されるように動作可能な前記貯蔵部チャンバーの前記一部分の中に、前記入口部が一定ガス圧力を維持するように動作可能である、貯蔵部チャンバー(102)と、
    − 前記入口部を通るガス拡散を制限するためのバッフル手段(108、406、602、802)であって、前記貯蔵部チャンバーは、前記バッフル手段を介して前記ベンチレーションガスを受け入れるように動作可能であり、前記入口部は、前記ベンチレーションガスで充填されるように動作可能な前記貯蔵部チャンバーの前記一部分の中に、一定ガス圧力を維持するように動作可能であり、前記ベンチレーションガスは、前記貯蔵部チャンバーの中のガスに直接的に提供される、バッフル手段(108、406、602、802)とを含む、カートリッジ(100、202、202’、202”、400、600、800)であって、
    前記バッフル手段は、前記ベンチレーションガスのための伸長された拡散経路を含み、
    前記バッフル手段が、前記貯蔵部チャンバーの中に少なくとも部分的に形成されている、
    カートリッジ(100、202、202’、202”、400、600、800)
  17. 前記カートリッジの少なくとも一部分が射出成形され、前記バッフル手段が、前記一部分によって、少なくとも部分的に形成されている、請求項1から16までのいずれか一項に記載のカートリッジ。
  18. 前記バッフル手段が、ガスフィルター(112、500)を含む、請求項1から17までのいずれか一項に記載のカートリッジ。
  19. 前記カートリッジが、前記流体をさらに含む、請求項1から18までのいずれか一項に記載のカートリッジ。
  20. 前記流体が、血液型判定試薬、溶媒、希釈剤、触媒、抗体、酵素、組み換えタンパク質、ウィルス分離株、ウィルス、生物試薬、タンパク質、塩、洗浄剤、核酸、酸、塩基、分散剤、ラテックス粒子、ナノ粒子、磁性粒子、および、それらの組み合わせのうちのいずれか1つを含む、請求項1から19までのいずれか一項に記載のカートリッジ。
  21. 前記カートリッジが、前記流体を注出するためにディスペンサー(118)をさらに含み、前記ディスペンサーが、前記出口部から前記流体を受け入れるように動作可能である、請求項1から20までのいずれか一項に記載のカートリッジ。
  22. 前記ディスペンサーが、マイクロ流体のディスペンシングアッセンブリである、請求項2または21に記載のカートリッジ。
  23. 前記ディスペンサーが、10μL未満の体積、500nL未満の体積、200nL未満の体積、100nL未満の体積、および、20nL未満の体積のうちのいずれか1つを注出するように動作可能である、請求項2、21または22に記載のカートリッジ。
  24. 生体サンプルを分析するための自動分析器(200)であって、前記自動分析器は、請求項21、22または23に記載のカートリッジ(100、202、202’、202”、400、600、800)を保持するように動作可能であり、前記自動分析器は、前記動作位置に前記カートリッジを保持するように動作可能であり、前記自動分析器は、前記ディスペンサーを作動させるように動作可能であるアクチュエーターアッセンブリ(204、204’、204”)を含み、前記自動分析器は、前記アクチュエーターアッセンブリの動作を制御する制御装置(220)をさらに含む、自動分析器(200)。
  25. 自動分析器を用いて流体を注出する方法であって、前記方法は、
    − 請求項21、22または23に記載のカートリッジ(100、202、202’、202”、400、600、800)を提供するステップ(300)と、
    − 前記カートリッジを自動分析器(200)の中において動作位置に設置するステップ(302)であって、前記自動分析器は、前記ディスペンサーを作動させるためのアクチュエーターアッセンブリ(204、204’、204”)を含む、ステップと、
    − 前記ディスペンサーを使用して前記出口部から前記流体を受け入れるステップ(304)と、
    − 前記流体を注出するために前記アクチュエーターアッセンブリを動作させるステップ(306)と、
    − 前記バッフル手段を介して前記入口部において前記ベンチレーションガスを受け入れるステップ(308)と、
    − 前記貯蔵部チャンバーの少なくとも一部分(102)を前記ベンチレーションガスで充填するステップ(310)であって、前記入口部は、前記ベンチレーションガスで充填されるように動作可能な前記一部分の中に位置付けされている、ステップとを含む、方法。
JP2015510787A 2012-05-08 2013-05-07 試薬を含む流体を注出するためのカートリッジ Active JP6329530B2 (ja)

Applications Claiming Priority (3)

Application Number Priority Date Filing Date Title
EP12167111.9 2012-05-08
EP12167111.9A EP2682753A1 (en) 2012-05-08 2012-05-08 Cartridge for Dispensing a Fluid Comprising a Reagent
PCT/EP2013/059461 WO2013167575A1 (en) 2012-05-08 2013-05-07 Cartridge for dispensing a fluid comprising a reagent

Publications (3)

Publication Number Publication Date
JP2015519560A JP2015519560A (ja) 2015-07-09
JP2015519560A5 JP2015519560A5 (ja) 2016-01-21
JP6329530B2 true JP6329530B2 (ja) 2018-05-23

Family

ID=48407524

Family Applications (1)

Application Number Title Priority Date Filing Date
JP2015510787A Active JP6329530B2 (ja) 2012-05-08 2013-05-07 試薬を含む流体を注出するためのカートリッジ

Country Status (6)

Country Link
US (1) US9573131B2 (ja)
EP (2) EP2682753A1 (ja)
JP (1) JP6329530B2 (ja)
CN (1) CN104246515B (ja)
CA (1) CA2870234C (ja)
WO (1) WO2013167575A1 (ja)

Families Citing this family (5)

* Cited by examiner, † Cited by third party
Publication number Priority date Publication date Assignee Title
US10058866B2 (en) 2013-03-13 2018-08-28 Abbott Laboratories Methods and apparatus to mitigate bubble formation in a liquid
USD962471S1 (en) 2013-03-13 2022-08-30 Abbott Laboratories Reagent container
USD978375S1 (en) 2013-03-13 2023-02-14 Abbott Laboratories Reagent container
US9535082B2 (en) 2013-03-13 2017-01-03 Abbott Laboratories Methods and apparatus to agitate a liquid
DE102016124932A1 (de) 2016-12-20 2018-06-21 Endress+Hauser Conducta Gmbh+Co. Kg Vorrichtung zur Bestimmung einer mit einer Konzentration eines Analyten in einem Messmedium korrelierten Messgröße und Verfahren

Family Cites Families (30)

* Cited by examiner, † Cited by third party
Publication number Priority date Publication date Assignee Title
ZA813647B (en) 1980-06-05 1982-07-28 Ti Ltd Electromagnetic stirring
JPS5711756U (ja) * 1980-06-25 1982-01-21
JP2501195Y2 (ja) 1985-10-19 1996-06-12 アルプス電気株式会社 磁気ヘツド組立体
JPH0617074Y2 (ja) * 1986-06-07 1994-05-02 株式会社化研 分析機器への試薬供給装置
JPS6382959A (ja) * 1986-09-24 1988-04-13 鈴木 一声 栓によるビン内圧の調整方法
JPH055920Y2 (ja) * 1987-05-11 1993-02-16
US5078970A (en) * 1990-06-28 1992-01-07 Belona Laboratory Supplies And Development, Inc. Apparatus for withdrawing a liquid sample from a sample vessel and transferring it
JPH0434660U (ja) * 1990-07-20 1992-03-23
US5660796A (en) * 1991-09-19 1997-08-26 Kloehn Instruments, Ltd. Septum piercer and sample extractor for physiological specimens
JP3007633U (ja) * 1994-08-08 1995-02-21 株式会社ケンアソシエイツ 改良液体散布容器
JPH0943251A (ja) * 1995-08-03 1997-02-14 Olympus Optical Co Ltd 分注器
JPH11258243A (ja) * 1998-03-10 1999-09-24 Hitachi Ltd 自動分析装置
WO1999052633A1 (en) * 1998-04-14 1999-10-21 Ivd Systems Test cartridge with a single inlet port
JP3554194B2 (ja) * 1998-06-29 2004-08-18 株式会社日立製作所 分析装置
US6242266B1 (en) * 1999-04-30 2001-06-05 Agilent Technologies Inc. Preparation of biopolymer arrays
EP1103304A3 (en) * 1999-11-29 2003-06-25 Becton, Dickinson and Company Self-venting reagent vessel and method of delivering a reagent to an analyzing instrument or other apparatus
JP3333160B2 (ja) * 1999-12-13 2002-10-07 オリンパス光学工業株式会社 自動分析装置の分注装置
JP2000137036A (ja) * 1999-12-13 2000-05-16 Olympus Optical Co Ltd 分注方法
US7378058B2 (en) * 2002-01-30 2008-05-27 Ventana Medical Systems, Inc. Method and apparatus for modifying pressure within a fluid dispenser
JP2005180983A (ja) * 2003-12-17 2005-07-07 Hitachi High-Technologies Corp 化学分析装置および化学分析用構造体
WO2006005923A1 (en) * 2004-07-08 2006-01-19 Norgren Limited Liquid dispensing system
WO2006099042A2 (en) * 2005-03-09 2006-09-21 The Regents Of The University Of California Microfluidic valve for liquids
GB0607427D0 (en) * 2006-04-13 2006-05-24 Imi Vision Ltd Fluid dispenser
DE102006021404A1 (de) 2006-05-08 2007-11-15 Roche Diagnostics Gmbh Flüssigkeitsbehälter mit Entnahmekamin
JP4500822B2 (ja) 2007-02-19 2010-07-14 株式会社日立ハイテクノロジーズ 自動分析装置
JP3141762U (ja) * 2008-03-04 2008-05-22 アクアス株式会社 負圧防止機能付き薬液タンク
TW201001731A (en) 2008-04-18 2010-01-01 Oerlikon Trading Ag Photovoltaic device and method of manufacturing a photovoltaic device
US8486346B2 (en) 2008-05-19 2013-07-16 Abbott Laboratories Gas scrubber for automated clinical analyzer
WO2011155960A1 (en) * 2010-06-11 2011-12-15 Microlin, Llc Apparatus and method for controllably releasing a substance
DK2665557T3 (da) * 2011-01-21 2020-04-06 Biodot Inc Piezoelektrisk dispenser med en langsgående transducer og udskifteligt kapillærrør

Also Published As

Publication number Publication date
US9573131B2 (en) 2017-02-21
JP2015519560A (ja) 2015-07-09
CN104246515A (zh) 2014-12-24
EP2682753A1 (en) 2014-01-08
US20150224500A1 (en) 2015-08-13
WO2013167575A1 (en) 2013-11-14
CA2870234C (en) 2018-02-27
EP2847598A1 (en) 2015-03-18
CA2870234A1 (en) 2013-11-14
CN104246515B (zh) 2016-08-31
EP2847598B1 (en) 2019-02-27
HK1205261A1 (en) 2015-12-11

Similar Documents

Publication Publication Date Title
JP6560671B2 (ja) 流体を分注するカートリッジ、自動分析器、および生体試料を分析する方法
EP2662671B1 (en) Cartridge for dispensing a fluid
JP6329530B2 (ja) 試薬を含む流体を注出するためのカートリッジ
US9808801B2 (en) Rotatable cartridge for measuring a property of a biological sample
EP3151963A1 (en) Rotatable cartridge with a metering chamber for analyzing a biological sample
JP2015516084A (ja) 流体を分注するための弁
JP6302079B2 (ja) 自動分析器を使用して試料中の分析物の測定を実施するための方法
HK1205261B (en) Cartridge for dispensing a fluid comprising a reagent
Sweileh et al. Novel automated micro batch analyzer
JP2005291846A (ja) 分析装置および測定ユニット

Legal Events

Date Code Title Description
A521 Request for written amendment filed

Free format text: JAPANESE INTERMEDIATE CODE: A523

Effective date: 20151120

A621 Written request for application examination

Free format text: JAPANESE INTERMEDIATE CODE: A621

Effective date: 20151120

A977 Report on retrieval

Free format text: JAPANESE INTERMEDIATE CODE: A971007

Effective date: 20160927

A131 Notification of reasons for refusal

Free format text: JAPANESE INTERMEDIATE CODE: A131

Effective date: 20161013

A521 Request for written amendment filed

Free format text: JAPANESE INTERMEDIATE CODE: A523

Effective date: 20161212

A131 Notification of reasons for refusal

Free format text: JAPANESE INTERMEDIATE CODE: A131

Effective date: 20170519

A521 Request for written amendment filed

Free format text: JAPANESE INTERMEDIATE CODE: A523

Effective date: 20170810

A131 Notification of reasons for refusal

Free format text: JAPANESE INTERMEDIATE CODE: A131

Effective date: 20180116

A521 Request for written amendment filed

Free format text: JAPANESE INTERMEDIATE CODE: A523

Effective date: 20180309

TRDD Decision of grant or rejection written
A01 Written decision to grant a patent or to grant a registration (utility model)

Free format text: JAPANESE INTERMEDIATE CODE: A01

Effective date: 20180323

A61 First payment of annual fees (during grant procedure)

Free format text: JAPANESE INTERMEDIATE CODE: A61

Effective date: 20180420

R150 Certificate of patent or registration of utility model

Ref document number: 6329530

Country of ref document: JP

Free format text: JAPANESE INTERMEDIATE CODE: R150

R250 Receipt of annual fees

Free format text: JAPANESE INTERMEDIATE CODE: R250

R250 Receipt of annual fees

Free format text: JAPANESE INTERMEDIATE CODE: R250

R250 Receipt of annual fees

Free format text: JAPANESE INTERMEDIATE CODE: R250

R250 Receipt of annual fees

Free format text: JAPANESE INTERMEDIATE CODE: R250

R250 Receipt of annual fees

Free format text: JAPANESE INTERMEDIATE CODE: R250