JP6287751B2 - 摩擦攪拌接合方法 - Google Patents

摩擦攪拌接合方法 Download PDF

Info

Publication number
JP6287751B2
JP6287751B2 JP2014212247A JP2014212247A JP6287751B2 JP 6287751 B2 JP6287751 B2 JP 6287751B2 JP 2014212247 A JP2014212247 A JP 2014212247A JP 2014212247 A JP2014212247 A JP 2014212247A JP 6287751 B2 JP6287751 B2 JP 6287751B2
Authority
JP
Japan
Prior art keywords
auxiliary member
shaped auxiliary
frame
cylindrical metal
friction stir
Prior art date
Legal status (The legal status is an assumption and is not a legal conclusion. Google has not performed a legal analysis and makes no representation as to the accuracy of the status listed.)
Active
Application number
JP2014212247A
Other languages
English (en)
Other versions
JP2016078081A (ja
Inventor
伸城 瀬尾
伸城 瀬尾
堀 久司
久司 堀
Current Assignee (The listed assignees may be inaccurate. Google has not performed a legal analysis and makes no representation or warranty as to the accuracy of the list.)
Nippon Light Metal Co Ltd
Original Assignee
Nippon Light Metal Co Ltd
Priority date (The priority date is an assumption and is not a legal conclusion. Google has not performed a legal analysis and makes no representation as to the accuracy of the date listed.)
Filing date
Publication date
Application filed by Nippon Light Metal Co Ltd filed Critical Nippon Light Metal Co Ltd
Priority to JP2014212247A priority Critical patent/JP6287751B2/ja
Publication of JP2016078081A publication Critical patent/JP2016078081A/ja
Application granted granted Critical
Publication of JP6287751B2 publication Critical patent/JP6287751B2/ja
Active legal-status Critical Current
Anticipated expiration legal-status Critical

Links

Images

Landscapes

  • Pressure Welding/Diffusion-Bonding (AREA)

Description

本発明は、摩擦攪拌によって一対の筒状金属部材を接合する摩擦攪拌接合方法に関する。
一対の金属部材同士を接合する方法として、摩擦攪拌接合(FSW=Friction Stir Welding)が知られている。摩擦攪拌接合は、回転ツールを金属部材同士の突合せ部に沿って移動させ、回転ツールと金属部材との摩擦熱により突合せ部の金属を塑性流動させることで、金属部材同士を固相接合するものである。
特許文献1には、二つの筒状金属部材を摩擦攪拌で接合する摩擦攪拌接合方法が開示されている。当該摩擦攪拌接合では、筒状金属部材の端面同士を突き合わせて突合せ部を形成した後、当該突合せ部に沿って回転ツールを相対移動させている。
特許第4774251号公報
従来の摩擦攪拌接合方法では、回転ツールを突合せ部に押し込むと、回転ツールのショルダ部の下端面で筒状金属部材を押圧するため、筒状金属部材に大きな圧力が作用する。これにより、回転ツールの押圧力を筒状金属部材が支えられなくなり、回転ツールの攪拌ピンがより深く差し込まれて筒状金属部材の内側に塑性流動化した金属材料が流出するおそれがある。
かかる問題を解消する方法として、筒状金属部材とショルダ部とを離間させた状態で摩擦攪拌を行うことが考えられるが、この方法によると塑性流動化した金属が外部に溢れやすくなり金属不足になる可能性がある。
そこで、本発明は、筒状金属部材の内側又は外側への金属部材の流出を防ぐことができるとともに、摩擦攪拌による金属不足を防ぐことができる摩擦攪拌接合方法を提供することを課題とする。
前記課題を解決するために、本発明は、攪拌ピンを備えた回転ツールを用いて二つの筒状金属部材を接合する摩擦攪拌接合方法であって、前記筒状金属部材の端面同士を突き合わせるとともに、突合せ部の外周に枠状補助部材を配置して前記突合せ部を覆う突合せ工程と、前記枠状補助部材の外周面から回転した前記攪拌ピンを挿入し、前記枠状補助部材及び前記両筒状金属部材、又は、前記枠状補助部材のみに前記攪拌ピンのみを接触させた状態で前記突合せ部を摩擦攪拌する外側本接合工程と、を含むことを特徴とする。
また、本発明は、攪拌ピンを備えた回転ツールを用いて二つの筒状金属部材を接合する摩擦攪拌接合方法であって、前記筒状金属部材の端面同士を突き合わせるとともに、突合せ部の内周に枠状補助部材を配置して前記突合せ部を覆う突合せ工程と、前記枠状補助部材の内周面から回転した前記攪拌ピンを挿入し、前記枠状補助部材及び前記両筒状金属部材、又は、前記枠状補助部材のみに前記攪拌ピンのみを接触させた状態で前記突合せ部を摩擦攪拌する内側本接合工程と、を含むことを特徴とする。
かかる方法によれば、枠状補助部材及び両筒状金属部材の両方、又は、枠状補助部材のみに攪拌ピンのみを接触した状態で摩擦攪拌を行うため、従来の方法よりも筒状金属部材に作用する押圧力を低減することができる。これにより、筒状金属部材の内側又は外側に塑性流動化した金属が流出するのを防ぐことができる。また、回転ツールを挿入する側に枠状補助部材を設けることにより、摩擦攪拌による金属不足を補うことができる。
また、前記外側本接合工程後に、前記筒状金属部材の外周面から突出する前記枠状補助部材を切除する切除工程を含むことが好ましい。また、前記内側本接合工程後に、前記筒状金属部材の内周面から突出する前記枠状補助部材を切除する切除工程を含むことが好ましい。
かかる方法によれば、筒状金属部材の外周面又は内周面を平滑にすることができる。
また、前記外側本接合工程を行う前に、前記枠状補助部材と前記筒状金属部材とを仮接合する仮接合工程を含むことが好ましい。また、前記内側本接合工程を行う前に、前記枠状補助部材と前記筒状金属部材とを仮接合する仮接合工程を含むことが好ましい。
かかる方法によれば、筒状金属部材に対して枠状補助部材が固定されるため、外側本接合工程又は内側本接合工程を安定して行うことができる。
また、前記突合せ工程では、前記突合せ部に形成された凹部に、前記凹部の深さよりも大きな厚さの前記枠状補助部材を配置することが好ましい。
かかる方法によれば、枠状補助部材の位置決めを容易に行うことができるとともに、外側本接合工程又は内側本接合工程を安定して行うことができる。また、枠状補助部材の厚さを凹部の深さよりも大きくすることにより、金属不足を確実に防ぐことができる。
また、前記凹部の両側壁と前記枠状補助部材との一対の突合せ部に対してそれぞれ摩擦攪拌を行うことが好ましい。
かかる方法によれば、一対の突合せ部が摩擦攪拌されるため、水密性及び気密性を高めることができる。
また、本発明は、攪拌ピンを備えた回転ツールを用いて二つの筒状金属部材を接合する摩擦攪拌接合方法であって、前記筒状金属部材の端面同士を突き合わせるとともに、突合せ部の外周及び内周にそれぞれ枠状補助部材を配置して前記突合せ部を覆う突合せ工程と、前記枠状補助部材の外周面から回転した前記攪拌ピンを挿入し、前記枠状補助部材及び前記両筒状金属部材、又は、前記枠状補助部材のみに前記攪拌ピンのみを接触させた状態で前記突合せ部を摩擦攪拌する外側本接合工程と、前記枠状補助部材の内周面から回転した前記攪拌ピンを挿入し、前記枠状補助部材及び前記両筒状金属部材、又は、前記枠状補助部材のみに前記攪拌ピンのみを接触させた状態で前記突合せ部を摩擦攪拌する内側本接合工程と、を含み、前記外側本接合工程で形成された塑性化領域と、前記内側本接合工程で形成された塑性化領域とを重複させることを特徴とする。
かかる方法によれば、枠状補助部材及び両筒状金属部材の両方、又は、枠状補助部材のみに攪拌ピンのみを接触した状態で摩擦攪拌を行うため、従来の方法よりも筒状金属部材に作用する押圧力を低減することができる。これにより、筒状金属部材の内側又は外側に塑性流動化した金属が流出するのを防ぐことができる。また、枠状補助部材を設けることにより、摩擦攪拌による金属不足を補うことができる。また、突合せ部の外側に形成された塑性化領域と内側に形成された塑性化領域とを重複させることにより、突合せ部の全体が摩擦攪拌されるため、水密性及び気密性を高めることができる。
本発明に係る摩擦攪拌接合方法によれば、筒状金属部材の内側又は外側への金属部材の流出を防ぐことができるとともに、摩擦攪拌による金属不足を防ぐことができる。
本接合用回転ツールを示す側面図である。 本発明の第一実施形態に係る摩擦攪拌接合の筒状金属部材及び外側枠状補助部材を示す斜視図である。 第一実施形態に係る摩擦攪拌接合方法の突合せ工程及び仮接合工程を示す断面図である。 第一実施形態に係る摩擦攪拌接合方法の外側本接合工程を示す断面図である。 第一実施形態に係る摩擦攪拌接合方法の外側本接合工程を示す図であって、(a)は斜視図であり、(b)は断面図である。 (a)は第一実施形態に係る摩擦攪拌接合方法の切除工程前を示す断面図であり、(b)は切除工程後を示す断面図である。 第一実施形態に係る摩擦攪拌接合方法の変形例を示す斜視図であって、(a)は突合せ工程を示し、(b)は外側本接合工程を示す。 (a)は本発明の第二実施形態に係る摩擦攪拌接合方法の筒状金属部材及び外側枠状補助部材を示す斜視図であり、(b)は凹部を示す断面図である。 第二実施形態に係る摩擦攪拌接合方法の突合せ工程及び仮接合工程を示す断面図である。 第二実施形態に係る摩擦攪拌接合方法の外側本接合工程を示す断面図である。 (a)は第二実施形態に係る摩擦攪拌接合方法の切除工程前を示す断面図であり、(b)は切除工程後を示す断面図である。 第二実施形態に係る摩擦攪拌接合方法の補修工程を示す断面図である。 第二実施形態に係る摩擦攪拌接合方法の変形例を示す斜視図であって、(a)は突合せ工程を示し、(b)は外側本接合工程を示す。 本発明の第三実施形態に係る摩擦攪拌接合の筒状金属部材及び内側枠状補助部材を示す斜視図である。 第三実施形態に係る摩擦攪拌接合方法の突合せ工程及び仮接合工程を示す断面図である。 第三実施形態に係る摩擦攪拌接合方法の内側本接合工程を示す断面図である。 図16のI−I断面図である。 (a)は第三実施形態に係る摩擦攪拌接合方法の切除工程前を示す断面図であり、(b)は切除工程後を示す断面図である。 (a)は本発明の第四実施形態に係る摩擦攪拌接合方法の筒状金属部材及び内側枠状補助部材を示す斜視図であり、(b)は凹部を示す断面図である。 第四実施形態に係る摩擦攪拌接合方法の突合せ工程及び仮接合工程を示す断面図である。 第四実施形態に係る摩擦攪拌接合方法の内側本接合工程を示す断面図である。 第四実施形態に係る摩擦攪拌接合方法の補修工程を示す断面図である。 第五実施形態に係る内側本接合工程を示す断面図である。 第六実施形態に係る内側本接合工程を示す断面図である。
本発明の実施形態について図面を参照して詳細に説明する。まずは、本実施形態で用いる本接合用回転ツールについて説明する。
図1に示すように、本接合用回転ツールFは、連結部F1と、攪拌ピンF2とで構成されている。本接合用回転ツールFは、特許請求の範囲の「回転ツール」に相当する。本接合用回転ツールFは、例えば工具鋼で形成されている。連結部F1は、摩擦攪拌装置の回転軸に連結される部位である。連結部F1は円柱状を呈し、ボルトが締結されるネジ孔B,Bが形成されている。
攪拌ピンF2は、連結部F1から垂下しており、連結部F1と同軸になっている。攪拌ピンF2は連結部F1から離間するにつれて先細りになっている。
攪拌ピンF2の外周面には螺旋溝F3が刻設されている。本実施形態では、本接合用回転ツールFを右回転させるため、螺旋溝F3は、基端から先端に向かうにつれて左回りに形成されている。言い換えると、螺旋溝F3は、螺旋溝F3を基端から先端に向けてなぞると上から見て左回りに形成されている。
なお、本接合用回転ツールFを左回転させる場合は、螺旋溝F3を基端から先端に向かうにつれて右回りに形成することが好ましい。言い換えると、この場合の螺旋溝F3は、螺旋溝F3を基端から先端に向けてなぞると上から見て右回りに形成されている。螺旋溝F3をこのように設定することで、摩擦攪拌の際に塑性流動化した金属が螺旋溝F3によって攪拌ピンF2の先端側に導かれる。これにより、被接合金属部材(筒状金属部材1,1)の外部に溢れ出る金属の量を少なくすることができる。
本接合用回転ツールFを用いて摩擦攪拌接合をする際には、被接合金属部材に回転した攪拌ピンF2のみを挿入し、被接合金属部材と連結部F1とは離間させつつ移動させる。本接合用回転ツールFの詳細な接合形態については後記する。
[第一実施形態]
次に、第一実施形態に係る摩擦攪拌接合方法について説明する。図2に示すように、本実施形態では、筒状金属部材1,1同士を突き合わせるとともに、外側枠状補助部材11を配置して摩擦攪拌によって接合する。
筒状金属部材1,1は、円筒状の金属製部材であって、それぞれ同等の形状になっている。筒状金属部材1,1は、少なくとも突き合わされる部分が同等の形状であればよい。筒状金属部材1,1は同等の材料で形成されている。筒状金属部材1の材料は、摩擦攪拌可能な金属であれば特に制限されないが、例えば、アルミニウム、アルミニウム合金、銅、銅合金、チタン、チタン合金、 マグネシウム、マグネシウム合金等から適宜選択すればよい。
外側枠状補助部材(枠状補助部材)11は、円筒状の金属部材である。外側枠状補助部材11の材料は特に制限されないが、本実施形態のように筒状金属部材1と同等であることが好ましい。外側枠状補助部材11の内径は、筒状金属部材1の外径と略同等になっている。外側枠状補助部材11の板厚は一定になっている。
第一実施形態に係る摩擦攪拌接合方法では、突合せ工程と、仮接合工程と、外側本接合工程と、切除工程とを行う。
突合せ工程は、図3に示すように、筒状金属部材1,1の端面1a,1a同士を突き合わせるとともに、第一突合せ部J1の外周に外側枠状補助部材11を配置して第一突合せ部J1を覆う工程である。突合せ工程により、筒状金属部材1,1の外周面1b,1bが面一になるとともに内周面1c,1cが面一になる。また、筒状金属部材1,1の外周面1b,1bと外側枠状補助部材11の内周面11bとが面接触する。
仮接合工程は、図3に示すように、筒状金属部材1,1と外側枠状補助部材11とを仮接合する工程である。筒状金属部材1,1と外側枠状補助部材11との接合方法は特に制限されないが、本実施形態では溶接で接合している。筒状金属部材1,1と外側枠状補助部材11との入隅部には、溶接金属W0,W0が形成される。仮接合工程によって、筒状金属部材1,1に対して外側枠状補助部材11が固定される。
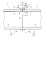
外側本接合工程は、図4に示すように、本接合用回転ツールFを用いて第一突合せ部J1の外側から摩擦攪拌する工程である。外側本接合工程では、本接合用回転ツールFを外側枠状補助部材11の外周面11aから所定の深さで挿入する。そして、外側枠状補助部材11に対して本接合用回転ツールFを相対移動させて第一突合せ部J1の全長を摩擦攪拌する。
図5の(a)及び(b)に示すように、外側本接合工程は、本実施形態では回転装置Rを用いる。回転装置Rは、筒状金属部材1,1の軸心周りに筒状金属部材1,1を回転させる装置である。回転装置Rは、第一回転ローラR1,R1と、第二回転ローラR2,R2とで構成されている。
第一回転ローラR1,R1は、円柱状を呈する。第一回転ローラR1,R1は、駆動装置に接続されており、第一回転ローラR1の軸心周りに正逆回転可能になっている。第一回転ローラR1の外周面R1cは、一方の筒状金属部材1の外周面1bと接触している。第一回転ローラR1,R1は同じ高さ位置において、離間して配置されている。
第二回転ローラR2,R2は、円柱状を呈する。第二回転ローラR2,R2は、駆動装置に接続されており、第二回転ローラR2の軸心周りに正逆回転可能になっている。第二回転ローラR2,R2は、他方の筒状金属部材1の外周面1bと接触している。第二回転ローラR2,R2は同じ高さ位置において、離間して配置されている。
回転装置Rは、第一回転ローラR1,R1及び第二回転ローラR2,R2が各軸心周りに一方向(例えば、右回り)に回転することにより、当該回転力が筒状金属部材1,1に伝達され、筒状金属部材1,1が筒状金属部材1の軸心周りに他方向(左回り)に回転するように構成されている。
外側本接合工程では、まず、回転装置R上に筒状金属部材1,1を配置した後、右回転させた本接合用回転ツールFを降下させて、外側枠状補助部材11の外周面11aから攪拌ピンF2を所定の深さで挿入する。そして、本接合用回転ツールFの位置は固定した状態で、回転装置Rを駆動させて筒状金属部材1,1を軸心周りに回転させる。これにより、図5の(b)に示すように、第一突合せ部J1が摩擦攪拌される。
外側本接合工程では、外側枠状補助部材11を貫通させ攪拌ピンF2の先端を筒状金属部材1,1に接触させる。外側本接合工程では、筒状金属部材1,1及び外側枠状補助部材11に回転した攪拌ピンF2のみを挿入し、外側枠状補助部材11と連結部F1とは離間させつつ相対移動させる。言い換えると、攪拌ピンF2の基端部は露出させた状態で摩擦攪拌接合を行う。本接合用回転ツールFの移動軌跡には摩擦攪拌された金属が硬化することにより外側塑性化領域W1が形成される。
外側塑性化領域W1は、一定の深さで形成される。外側塑性化領域W1の始端と終端とはオーバーラップするように設定することが好ましい。これにより、第一突合せ部J1の全長を確実に摩擦攪拌することができる。
なお、本接合用回転ツールFの挿入深さは、本接合用回転ツールFが筒状金属部材1,1に接触せず、外側枠状補助部材11にのみ接触するように設定してもよい。この場合は、攪拌ピンF2と外側枠状補助部材11との接触によって生じた摩擦熱で、筒状金属部材1,1が塑性流動化されることにより第一突合せ部J1が接合される。
また、本接合用回転ツールFを離脱させる際には、本接合用回転ツールFと外側枠状補助部材11及び筒状金属部材1,1とを相対的に移動させつつ、攪拌ピンF2を外側枠状補助部材11から徐々に引き抜くようにしてもよい。本接合用回転ツールFの形状、回転数や送り速度等の条件にもよるが、抜き跡の深さを細かく調整することが可能である。また、本実施形態では回転装置Rを用いたが、他の装置を用いて筒状金属部材1,1を回転させてもよいし、ロボットアームの先端に本接合用回転ツールFを取り付けて、固定された筒状金属部材1,1周りに本接合用回転ツールFを移動させてもよい。
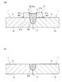
切除工程は、筒状金属部材1の外周面1bから突出する外側枠状補助部材11を切除する工程である。図6の(a)に示すように、外側本接合工程を行うと、外側枠状補助部材11の外周面11aには凹溝12が形成されるとともに、凹溝12の周囲にバリVが形成される。本実施形態では、ショルダ部で塑性流動化した金属を押さえないで外側本接合工程を行うため、摩擦攪拌によって形成される凹溝12が深くなる傾向にあるとともにバリVが多く発生しやすい。
外側本接合工程によって形成される凹溝12の底面12aは、筒状金属部材1の外周面1bよりも上方に位置している。外側枠状補助部材11の厚さや形状等は、外側本接合工程によって形成された凹溝12の底面12aが筒状金属部材1の外周面1bよりも上方に位置するように設定することが好ましい。
切除工程は、本実施形態では、外側枠状補助部材11、バリV及び溶接金属W0を切除する。切除工程では、図6の(a)に示すように、筒状金属部材1の外周面1bを含む基準面に沿って、外側枠状補助部材11、バリV及び溶接金属W0を切除する。これにより、図6の(b)に示すように、筒状金属部材1の外周面1bと外側塑性化領域W1の表面とは面一になる。
なお、切除工程では、筒状金属部材1の外周面1bを含む基準面よりも上方(凹溝12側)の位置で切除してもよい。つまり、切除工程では、筒状金属部材1の外周面1bから突出する外側枠状補助部材11の一部を切除するだけでもよい。また、切除工程は省略してもよい。
以上説明した本実施形態に係る摩擦攪拌接合方法では、筒状金属部材1,1及び外側枠状補助部材11の両方、又は、外側枠状補助部材11のみに攪拌ピンF2のみを接触した状態で摩擦攪拌を行うため、従来の方法よりも筒状金属部材1,1に作用する押圧力を低減することができる。これにより、筒状金属部材1,1の内側に塑性流動化した金属が流出するのを防ぐことができる。また、本接合用回転ツールFを挿入する側に枠状補助部材を設けることにより、摩擦攪拌による金属不足を補うことができる。
また、切除工程を行うことで、筒状金属部材1,1の外周面1b,1bを平滑にすることができる。また、外側本接合工程を行う前に、外側枠状補助部材11と筒状金属部材1,1とを仮接合することで、筒状金属部材1,1に対して外側枠状補助部材11が固定されるため、外側本接合工程を安定して行うことができる。
以上本発明の第一実施形態について説明したが、本発明の趣旨に反しない範囲において適宜設計変更が可能である。例えば、第一実施形態では筒状金属部材1、1は円筒状を呈する部材であったが、他の形状であってもよい。
[変形例]
図7の(a)及び(b)に示す第一実施形態の変形例では、筒状金属部材1A,1Aが矩形筒状を呈する。また、外側枠状補助部材11Aも矩形枠状を呈する。外側枠状補助部材11Aの内周面11Abは、筒状金属部材1Aの外周面と面接触するようになっている。
第一実施形態の変形例では、第一実施形態と同じ要領で突合せ工程と、仮接合工程と、外側本接合工程と、切除工程とを行う。図7の(b)に示すように、外側本接合工程では、外側枠状補助部材11Aの外周面11Aaから本接合用回転ツールFを挿入して、本接合用回転ツールFを直線状に相対移動させて、第一突合せ部に対して摩擦攪拌を行う。当該変形例でも、第一実施形態と略同等の効果を奏することができる。
[第二実施形態]
次に、本発明の第二実施形態に係る摩擦攪拌接合方法について説明する。第二実施形態に係る摩擦攪拌接合方法では、筒状金属部材1,1が突き合わされる部位に凹部を設ける点で第一実施形態と相違する。
図8の(a)に示すように、筒状金属部材1,1は円筒状を呈する。筒状金属部材1,1の端部の外側には、段差部10がそれぞれ形成されている。段差部10は、段差端面10aと、段差端面10aに対して垂直な段差周面10bとで形成されている。図8の(b)に示すように、筒状金属部材1,1の端面1a,1a同士を突き合わせると突合せ部J1が形成される。また、段差部10,10が突き合わされることにより、凹部30が形成される。凹部30は、筒状金属部材1,1の外側において、周方向に亘って形成される。
外側枠状補助部材(枠状補助部材)21は、円筒状の金属部材である。外側枠状補助部材21の材料は特に制限されないが、本実施形態のように筒状金属部材1と同等であることが好ましい。外側枠状補助部材21の内周面21bは、段差周面10bと面接触するようになっている。外側枠状補助部材21の板厚は一定になっている。
第二実施形態に係る摩擦攪拌接合方法では、突合せ工程と、仮接合工程と、外側本接合工程と、切除工程と、補修工程とを行う。
突合せ工程は、図9に示すように、筒状金属部材1,1の端面1a,1a同士を突き合わせるとともに、第一突合せ部J1の外周に形成された凹部30に外側枠状補助部材21を配置して第一突合せ部J1を覆う工程である。つまり、筒状金属部材1,1の端面1a,1a同士を突き合わせる際に、外側枠状補助部材21は凹部30に挟み込まれるように配置される。
突合せ工程により、筒状金属部材1,1の外周面1b,1bが同一面上に位置するとともに内周面1c,1cが面一になる。また、凹部30の底面を構成する段差周面10b,10bと外側枠状補助部材21の内周面21bとが面接触する。また、凹部30の側壁を構成する段差端面10a,10aと外側枠状補助部材21の側面21c,21cとが面接触する。つまり、外側枠状補助部材21は、凹部30に隙間なく配置される。
外側枠状補助部材21の厚さは、凹部30の深さよりも大きくなっている。外側枠状補助部材21の厚さは、本実施形態では、凹部30の深さの2倍程度になっている。
仮接合工程は、図9に示すように、筒状金属部材1,1と外側枠状補助部材21とを仮接合する工程である。筒状金属部材1,1と外側枠状補助部材21との接合方法は特に制限されないが、本実施形態では溶接で接合している。筒状金属部材1,1と外側枠状補助部材21との入隅部には、溶接金属W0,W0が形成される。仮接合工程によって、筒状金属部材1,1に対して外側枠状補助部材21が固定される。
外側本接合工程は、図10に示すように、本接合用回転ツールFを用いて第一突合せ部J1の外側から摩擦攪拌を行う工程である。外側本接合工程では、本接合用回転ツールFを外側枠状補助部材21の外周面21aから所定の深さで挿入する。そして、外側枠状補助部材21対して本接合用回転ツールFを相対移動させて第一突合せ部J1の全長を摩擦攪拌する。第二実施形態に係る外側本接合工程は、第一実施形態に係る外側本接合工程と略同等であるため詳細な説明は省略する。
切除工程は、筒状金属部材1の外周面1bから突出する外側枠状補助部材21を切除する工程である。図11の(a)に示すように、外側本接合工程を行うと、外側枠状補助部材21の外周面21aには凹溝22が形成されるとともに、凹溝22の周囲にバリVが形成される。本実施形態では、ショルダ部で塑性流動化した金属を押さえないで外側本接合工程を行うため、摩擦攪拌によって形成される凹溝22が深くなる傾向にあるとともにバリVが多く発生しやすい。
外側本接合工程によって形成される凹溝22の底面22aは、筒状金属部材1の外周面1bよりも上方に位置している。外側枠状補助部材21の厚さや形状等は、外側本接合工程によって形成された凹溝22の底面22aが筒状金属部材1の外周面1bよりも上方に位置するように設定することが好ましい。
切除工程は、本実施形態では、外側枠状補助部材21、バリV及び溶接金属W0を切除する。切除工程では、図11の(a)に示すように、筒状金属部材1の外周面1bを含む基準面に沿って、外側枠状補助部材21、バリV及び溶接金属W0を切除する。これにより、図11の(b)に示すように、筒状金属部材1の外周面1b、切除後の外側枠状補助部材21の表面及び切除後の外側塑性化領域W1の表面は面一になる。
なお、切除工程では、筒状金属部材1の外周面1bを含む基準面よりも上方(凹溝22側)の位置で切除してもよい。つまり、切除工程では、筒状金属部材1の外周面1bから突出する外側枠状補助部材21の一部を切除するだけでもよい。また、切除工程は省略してもよい。切除工程を行うと、外側枠状補助部材21の側面21cと筒状金属部材1,1とがそれぞれ突き合わされた一対の第二突合せ部J2,J2が露出する。
補修工程は、第二突合せ部J2,J2に対して摩擦攪拌接合を行う工程である。図12に示すように、補修工程では、小型回転ツールHを用いて第二突合せ部J2,J2に対して摩擦攪拌を行う。小型回転ツールHは、ショルダ部とショルダ部に突設された攪拌ピンとで構成されている。
補修工程では、前記した回転装置R(図5参照)を用いて、筒状金属部材1,1を軸心周りに回転させながら摩擦攪拌を行う。補修工程では、第二突合せ部J2に小型回転ツールHのショルダ部を数ミリ程度押込んだ後、小型回転ツールHの位置は固定した状態で、筒状金属部材1,1を軸心周りに回転させる。これにより、第二突合せ部J2,J2の周方向の全体が摩擦攪拌される。小型回転ツールHの移動軌跡には塑性化領域W2,W2が形成される。補修工程では、第二突合せ部J2の深さ方向の全体が摩擦攪拌されることが好ましい。これにより、水密性及び気密性を高めることができる。なお、補修工程は省略してもよい。
以上説明した第二実施形態に係る摩擦攪拌接合方法によっても第一実施形態と略同等の効果を得ることができる。また、凹部30を設けることにより、筒状金属部材1,1に対する外側枠状補助部材21の位置決めを容易に行うことができるとともに、外側本接合工程を安定して行うことができる。また、本実施形態では、凹部30に外側枠状補助部材21を配置するとともに仮接合工程を行うため、より安定して外側本接合工程を行うことができる。
また、補修工程を行うことで、外側枠状補助部材21と筒状金属部材1,1とが突き合わされて形成された第二突合せ部J2,J2が摩擦攪拌される。これにより、筒状金属部材1,1の水密性及び気密性を向上させることができる。また、本実施形態のように仮接合工程を溶接によって行う場合、切除工程を行った後に筒状金属部材1の外周面1bが変色していたり、改質したりする場合があるが、補修工程を行うことでこれらの変色箇所や改質箇所等の接合痕を補修することができる。
以上本発明の第二実施形態について説明したが、本発明の趣旨に反しない範囲において適宜設計変更が可能である。例えば、第二実施形態では筒状金属部材1,1は円筒状を呈する部材であったが、他の形状であってもよい。
[変形例]
図13の(a)及び(b)に示す第二実施形態の変形例では、筒状金属部材1B,1Bが矩形筒状を呈する。筒状金属部材1B,1Bの端部の外側には、段差部10B,10Bがそれぞれ形成されている。段差部10Bは、段差端面10Baと、段差端面10Baに対して垂直な段差周面10Bbとで形成されている。具体的な図示は省略するが、筒状金属部材1B,1Bの端面1Ba,1Ba同士を突き合わせると突合せ部が形成されるとともに、凹部が形成される。
外側枠状補助部材21Aも矩形枠状を呈する。外側枠状補助部材21Aは、筒状金属部材1B,1Bが突き合わされて形成された凹部に配置される。具体的には、筒状金属部材1B,1Bの端面1Ba,1Ba同士を突き合わせる際に、外側枠状補助部材21Aは凹部に挟み込まれるように配置される。外側枠状補助部材21Aの厚さは、当該凹部の深さよりも大きくなっている。外側枠状補助部材21Aの内周面21Abは、凹部の底面(段差周面10Bb,10Bb)と面接触するようになっている。
第二実施形態の変形例では、第二実施形態と同じ要領で突合せ工程と、仮接合工程と、外側本接合工程と、切除工程と、補修工程とを行う。図13の(b)に示すように、外側本接合工程では、外側枠状補助部材21Aの外周面21Aaから本接合用回転ツールFを挿入して、本接合用回転ツールFを直線状に相対移動させて、第一突合せ部に対して摩擦攪拌を行う。当該変形例でも、第二実施形態と略同等の効果を奏することができる。
[第三実施形態]
次に、本発明の第三実施形態に係る摩擦攪拌接合方法について説明する。第三実施形態に係る摩擦攪拌接合方法では、内側枠状補助部材31を用いて筒状金属部材1,1の内側から接合する点で第一実施形態と相違する。
図14に示すように、筒状金属部材1,1は第一実施形態と同等である。内側枠状補助部材31は、円筒状の金属部材である。内側枠状補助部材31の材料は特に制限されないが、本実施形態のように筒状金属部材1と同等であることが好ましい。内側枠状補助部材31の外径は、筒状金属部材1の内径と略同等になっている。内側枠状補助部材31の板厚は一定になっている。
第三実施形態に係る摩擦攪拌接合方法では、突合せ工程と、仮接合工程と、内側本接合工程と、切除工程とを行う。
突合せ工程は、図15に示すように、筒状金属部材1,1の端面1a,1a同士を突き合わせるとともに、第一突合せ部J1の内周に内側枠状補助部材31を配置して第一突合せ部J1を覆う工程である。
突合せ工程により、筒状金属部材1,1の外周面1b,1bが面一になるとともに内周面1c,1cが面一になる。また、筒状金属部材1,1の内周面1c,1cと内側枠状補助部材31の外周面31aとが面接触する。
仮接合工程は、図15に示すように、筒状金属部材1,1と内側枠状補助部材31とを仮接合する工程である。筒状金属部材1,1と内側枠状補助部材31との接合方法は特に制限されないが、本実施形態では溶接で接合している。筒状金属部材1,1と内側枠状補助部材31との入隅部には、溶接金属W0,W0が形成される。仮接合工程によって、筒状金属部材1,1に対して内側枠状補助部材31が固定される。
内側本接合工程は、図16に示すように、本接合用回転ツールFを用いて第一突合せ部J1の内側から摩擦攪拌する工程である。内側本接合工程では、本接合用回転ツールFを用いて第一突合せ部J1の内側から摩擦攪拌を行う工程である。具体的な図示は省略するが、例えば、ロボットアームの先端に本接合用回転ツールFを取り付けておき、ロボットアームを筒状金属部材1の開口部から挿入することによって、第一突合せ部J1の内側から摩擦攪拌を行うことができる。内側本接合工程では、本接合用回転ツールFを内側枠状補助部材31の内周面31bから所定の深さで挿入する。内側本接合工程の本接合用回転ツールFの挿入深さは、本接合用回転ツールFが内側枠状補助部材31及び筒状金属部材1,1の両方に接触するように設定しているが、本接合用回転ツールFが内側枠状補助部材31のみに接触するように設定してもよい。
そして、内側枠状補助部材31に対して本接合用回転ツールFを相対移動させて第一突合せ部J1の全長を摩擦攪拌する。本接合用回転ツールFの移動軌跡には内側塑性化領域W3が形成される。
図17に示すように、第三実施形態では回転装置Rを用いて摩擦攪拌を行う。第三実施形態に係る内側本接合工程は、筒状金属部材1,1の内側から摩擦攪拌を行うことを除いては第一実施形態に係る外側本接合工程と略同等であるため詳細な説明は省略する。
切除工程は、筒状金属部材1の内周面1cから突出する内側枠状補助部材31を切除する工程である。図18の(a)に示すように、内側本接合工程を行うと、内側枠状補助部材31の内周面31bには凹溝32が形成されるとともに、凹溝32の周囲にバリVが形成される。本実施形態では、ショルダ部で塑性流動化した金属を押さえないで内側本接合工程を行うため、摩擦攪拌によって形成される凹溝32が深くなる傾向にあるとともにバリVが多く発生しやすい。
内側本接合工程によって形成される凹溝32の底面32aは、筒状金属部材1の内周面1cよりも上方に位置している。内側枠状補助部材31の厚さや形状等は、内側本接合工程によって形成された凹溝32の底面32aが筒状金属部材1の内周面1cよりも上方に位置するように設定することが好ましい。
切除工程は、本実施形態では、内側枠状補助部材31、バリV及び溶接金属W0を切除する。切除工程では、図18の(a)に示すように、筒状金属部材1の内周面1cを含む基準面に沿って、内側枠状補助部材31、バリV及び溶接金属W0を切除する。これにより、図18の(b)に示すように、筒状金属部材1の内周面1cと内側塑性化領域W3の表面とは面一になる。
なお、切除工程では、筒状金属部材1の内周面1cを含む基準面よりも上方(凹溝32側)の位置で切除してもよい。つまり、切除工程では、筒状金属部材1の内周面1cから突出する内側枠状補助部材31の一部を切除するだけでもよい。また、切除工程は省略してもよい。
以上説明した本実施形態に係る摩擦攪拌接合方法では、筒状金属部材1,1及び内側枠状補助部材31の両方、又は、内側枠状補助部材31のみに攪拌ピンF2のみを接触した状態で摩擦攪拌を行うため、従来の方法よりも筒状金属部材1,1に作用する押圧力を低減することができる。これにより、筒状金属部材1,1の外側に塑性流動化した金属が流出するのを防ぐことができる。また、本接合用回転ツールFを挿入する側に枠状補助部材を設けることにより、摩擦攪拌による金属不足を補うことができる。
また、切除工程を行うことで、筒状金属部材1,1の内周面1c,1cを平滑にすることができる。また、内側本接合工程を行う前に、内側枠状補助部材31と筒状金属部材1,1とを仮接合することで、筒状金属部材1,1に対して内側枠状補助部材31が固定されるため、内側本接合工程を安定して行うことができる。
以上本発明の第三実施形態について説明したが、本発明の趣旨に反しない範囲において適宜設計変更が可能である。例えば、第三実施形態では筒状金属部材1,1は円筒状を呈する部材であったが、他の形状であってもよい。具体的な図示は省略するが、図7を参照するように、第三実施形態に係る摩擦攪拌接合の筒状金属部材1,1及び内側枠状補助部材31を矩形筒状としてもよい。
[第四実施形態]
次に、本発明の第四実施形態に係る摩擦攪拌接合方法について説明する。第四実施形態に係る摩擦攪拌接合方法では、筒状金属部材1,1が突き合わされる部位に凹部を設ける点で第三実施形態と相違する。
図19の(a)に示すように、筒状金属部材1,1は円筒状を呈する。筒状金属部材1,1の端部の内側には、段差部40がそれぞれ形成されている。段差部40は、段差端面40aと、段差端面40aに対して垂直な段差周面40bとで形成されている。図19の(b)に示すように、筒状金属部材1,1の端面1a,1a同士を突き合わせると、突合せ部J1が形成される。また、段差部40,40が突き合わされることにより、凹部42が形成される。凹部42は、筒状金属部材1,1の内側において、周方向に亘って形成される。
内側枠状補助部材(枠状補助部材)41は、円筒状の金属部材である。内側枠状補助部材41の材料は特に制限されないが、本実施形態のように筒状金属部材1と同等であることが好ましい。内側枠状補助部材41の外周面41aは、段差周面40bと面接触するようになっている。内側枠状補助部材41の板厚は一定になっている。
第四実施形態に係る摩擦攪拌接合方法では、突合せ工程と、仮接合工程と、内側本接合工程と、切除工程と、補修工程とを行う。
突合せ工程は、図19に示すように、筒状金属部材1,1の端面1a,1a同士を突き合わせるとともに、第一突合せ部J1の内周に形成された凹部42に内側枠状補助部材41を配置して第一突合せ部J1を覆う工程である。つまり、筒状金属部材1,1の端面1a,1a同士を突き合わせる際に、内側枠状補助部材41は凹部42に挟み込まれるように配置される。
突合せ工程により、筒状金属部材1,1の外周面1b,1bが面一になるとともに内周面1c,1cが同一面上に位置する。また、図20に示すように、凹部42の底面を構成する段差周面40b,40bと内側枠状補助部材41の外周面41aとが面接触する。また、凹部42の側壁を構成する段差端面40a,40aと内側枠状補助部材41の側面41c,41cとが面接触する。
仮接合工程は、図20に示すように、筒状金属部材1,1と内側枠状補助部材41とを仮接合する工程である。筒状金属部材1,1と内側枠状補助部材41との接合方法は特に制限されないが、本実施形態では溶接で接合している。筒状金属部材1,1と内側枠状補助部材41との入隅部には、溶接金属W0,W0が形成される。仮接合工程によって、筒状金属部材1,1に対して内側枠状補助部材41が固定される。
内側本接合工程は、図21に示すように、本接合用回転ツールFを用いて第一突合せ部J1の内側から摩擦攪拌を行う工程である。内側本接合工程では、本接合用回転ツールFを内側枠状補助部材41の内周面41bから所定の深さで挿入する。そして、内側枠状補助部材41に対して本接合用回転ツールFを相対移動させて第一突合せ部J1の全長を摩擦攪拌する。第四実施形態に係る内側本接合工程は、第三実施形態に係る内側本接合工程と略同等であるため詳細な説明は省略する。
切除工程は、本実施形態では、内側枠状補助部材41、バリV及び溶接金属W0を切除する。切除工程では、図21に示すように、筒状金属部材1の内周面1cを含む基準面に沿って、内側枠状補助部材41、バリV及び溶接金属W0を切除する。これにより、図22に示すように、筒状金属部材1の内周面1cと内側塑性化領域W3の表面とは面一になる。
なお、切除工程では、筒状金属部材1の内周面1cを含む基準面よりも上方の位置で切除してもよい。つまり、切除工程では、筒状金属部材1の内周面1cから突出する内側枠状補助部材41の一部を切除するだけでもよい。また、切除工程は省略してもよい。
補修工程は、第二突合せ部J2,J2に対して摩擦攪拌接合を行う工程である。本実施形態では、第二実施形態の補修工程とは異なり、図22に示すように、小型回転ツールGの攪拌ピンG2のみを第二突合せ部J2,J2に接触させた状態で摩擦攪拌を行う。本実施形態では、筒状金属部材1の内周面1cにおける第二突合せ部J2,J2に対して摩擦攪拌を行うため、仮に小型回転ツールGのショルダ部G1を筒状金属部材1の内周面1cに接触させると小型回転ツールGと筒状金属部材1との相対移動が阻害されて、摩擦攪拌を円滑に実行できなくなるおそれがある。なお、小型回転ツールGに替えて本接合用回転ツールFを用いて、攪拌ピンF2のみを第二突合せ部J2,J2に接触させた状態で補修工程を行ってもよい。
以上説明した第四実施形態に係る摩擦攪拌接合によっても第三実施形態と略同等の効果を得ることができる。また、凹部42を設けることにより、筒状金属部材1,1に対する内側枠状補助部材41の位置決めを容易に行うことができるとともに、内側本接合工程を安定して行うことができる。また、本実施形態では、凹部42に内側枠状補助部材41を配置するとともに仮接合工程を行うため、より安定して内側本接合工程を行うことができる。
また、補修工程を行うことで、内側枠状補助部材41と筒状金属部材1,1とが突き合わされて形成された第二突合せ部J2,J2が摩擦攪拌される。これにより、筒状金属部材1,1の水密性及び気密性を向上させることができる。また、本実施形態のように仮接合工程を溶接によって行う場合、切除工程を行うと筒状金属部材1の内周面1cが変色していたり、改質したりする場合があるが、補修工程を行うことでこれらの変色箇所や改質箇所等の接合痕を補修することができる。
以上本発明の第四実施形態について説明したが、本発明の趣旨に反しない範囲において適宜設計変更が可能である。例えば、第四実施形態では筒状金属部材1,1は円筒状を呈する部材であったが、他の形状であってもよい。具体的な図示は省略するが、図13を参照するように、第四実施形態に係る摩擦攪拌接合の筒状金属部材1,1及び内側枠状補助部材41を矩形筒状としてもよい。
[第五実施形態]
次に、本発明の第五実施形態に係る摩擦攪拌接合方法について説明する。第五実施形態に係る摩擦攪拌接合方法は、筒状金属部材1,1の外側及び内側の両方から第一突合せ部J1に対して摩擦攪拌接合を行う点で第一実施形態と相違する。第五実施形態に係る摩擦攪拌接合方法では、特徴的な部分を中心に説明する。
第五実施形態に係る摩擦攪拌接合方法では、突合せ工程と、仮接合工程と、外側本接合工程と、内側本接合工程と、切除工程とを行う。
突合せ工程では、図23に示すように、筒状金属部材1,1の端面1a,1a同士を突き合わせる。また、突合せ工程では、第一突合せ部J1の外側に外側枠状補助部材11を配置するとともに、内側に内側枠状補助部材31を配置する。
仮接合工程では、筒状金属部材1,1と外側枠状補助部材11とを溶接で仮接合する。また、仮接合工程では、筒状金属部材1,1と内側枠状補助部材31とを溶接で仮接合する。
外側本接合工程は、第一実施形態に係る外側本接合工程と略同等である。外側本接合工程によって、外側塑性化領域W1が形成される。
内側本接合工程は、第三実施形態に係る内側本接合工程と略同等である。内側本接合工程によって、内側塑性化領域W3が形成される。内側本接合工程では、本接合用回転ツールFの挿入深さを、その先端が外側塑性化領域W1に入り込むように設定する。これにより、外側塑性化領域W1と内側塑性化領域W3とが重複する。
切除工程では、筒状金属部材1の外周面1bら突出する外側枠状補助部材11を切除するとともに、筒状金属部材1の内周面1cから突出する内側枠状補助部材31を切除する工程である。
以上説明した第五実施形態に係る摩擦攪拌接合方法によれば、外側塑性化領域W1と内側塑性化領域W3とを重複させることができるため、第一突合せ部J1の深さ方向の全体が摩擦攪拌される。これにより、筒状金属部材1,1の水密性及び気密性を高めることができる。
また、外側本接合工程及び内側本接合工程は、どちらを先に行ってもよい。第五実施形態では、外側本接合工程を行うときは、内側枠状補助部材31が裏当て材として機能する。また、内側本接合工程を行うときは、外側枠状補助部材11が裏当て材として機能する。
[第六実施形態]
次に、本発明の第六実施形態に係る摩擦攪拌接合方法について説明する。第六実施形態に係る摩擦攪拌接合方法は、筒状金属部材1,1の突合せ部J1に凹部30,42を設けるとともに、当該凹部30に外側枠状補助部材21を配置し、当該凹部42に内側枠状補助部材41を配置する点で第五実施形態と相違する。第六実施形態に係る摩擦攪拌接合方法では、特徴的な部分を中心に説明する。
第六実施形態に係る摩擦攪拌接合方法では、突合せ工程と、仮接合工程と、外側本接合工程と、内側本接合工程と、切除工程と、補修工程とを行う。
突合せ工程では、図24に示すように、筒状金属部材1,1の端面同士を突き合わせる。また、突合せ工程では、第一突合せ部J1の外側に形成された凹部30に外側枠状補助部材21を配置するとともに、内側に形成された凹部42に内側枠状補助部材41を配置する。
仮接合工程では、筒状金属部材1,1と外側枠状補助部材21とを溶接で仮接合する。また、仮接合工程では、筒状金属部材1,1と内側枠状補助部材41とを溶接で仮接合する。
外側本接合工程は、第二実施形態に係る外側本接合工程と略同等である。外側本接合工程によって、外側塑性化領域W1が形成される。
内側本接合工程は、第四実施形態に係る内側本接合工程と略同等である。内側本接合工程によって、内側塑性化領域W3が形成される。内側本接合工程では、本接合用回転ツールFの挿入深さを、その先端が外側塑性化領域W1に入り込むように設定する。これにより、外側塑性化領域W1と内側塑性化領域W3とが重複する。
切除工程では、筒状金属部材1の外周面1bら突出する外側枠状補助部材21を切除するとともに、筒状金属部材1の内周面1cから突出する内側枠状補助部材41を切除する工程である。
補修工程では、切除工程によって露出する第二突合せ部J2,J2(図12,22参照)に対して摩擦攪拌接合を行う工程である。
以上説明した第六実施形態に係る摩擦攪拌接合方法によれば、外側塑性化領域W1と内側塑性化領域W3とを重複させることができるため、第一突合せ部J1の深さ方向の全体が摩擦攪拌される。これにより、筒状金属部材1,1の水密性及び気密性を高めることができる。また、凹部30,42を設けることで、外側枠状補助部材21及び内側枠状補助部材41の位置決めが容易となる。
また、外側本接合工程及び内側本接合工程は、どちらを先に行ってもよい。第六実施形態では、外側本接合工程を行うときは、内側枠状補助部材41が裏当て材として機能する。また、内側本接合工程を行うときは、外側枠状補助部材21が裏当て材として機能する。
1 筒状金属部材
1a 端面
1b 外周面
1c 内周面
10 段差部
11 外側枠状補助部材
21 外側枠状補助部材
31 内側枠状補助部材
30 凹部
40 段差部
41 内側枠状補助部材
42 凹部
J1 第一突合せ部
J2 第二突合せ部
F 本接合用回転ツール
F1 連結部
F2 攪拌ピン
H 小型回転ツール
W1 外側塑性化領域
W2 塑性化領域
W3 内側塑性化領域

Claims (9)

  1. 攪拌ピンを備えた回転ツールを用いて二つの筒状金属部材を接合する摩擦攪拌接合方法であって、
    前記筒状金属部材の端面同士を突き合わせるとともに、突合せ部の外周に枠状補助部材を配置して前記突合せ部を覆う突合せ工程と、
    前記枠状補助部材の外周面から回転した前記攪拌ピンを挿入し、前記枠状補助部材及び前記両筒状金属部材、又は、前記枠状補助部材のみに前記攪拌ピンのみを接触させた状態で前記突合せ部を摩擦攪拌する外側本接合工程と、を含むことを特徴とする摩擦攪拌接合方法。
  2. 前記外側本接合工程後に、前記筒状金属部材の外周面から突出する前記枠状補助部材を切除する切除工程を含むことを特徴とする請求項1に記載の摩擦攪拌接合方法。
  3. 前記外側本接合工程を行う前に、前記枠状補助部材と前記筒状金属部材とを仮接合する仮接合工程を含むことを特徴とする請求項1又は請求項2に記載の摩擦攪拌接合方法。
  4. 攪拌ピンを備えた回転ツールを用いて二つの筒状金属部材を接合する摩擦攪拌接合方法であって、
    前記筒状金属部材の端面同士を突き合わせるとともに、突合せ部の内周に枠状補助部材を配置して前記突合せ部を覆う突合せ工程と、
    前記枠状補助部材の内周面から回転した前記攪拌ピンを挿入し、前記枠状補助部材及び前記両筒状金属部材、又は、前記枠状補助部材のみに前記攪拌ピンのみを接触させた状態で前記突合せ部を摩擦攪拌する内側本接合工程と、を含むことを特徴とする摩擦攪拌接合方法。
  5. 前記内側本接合工程後に、前記筒状金属部材の内周面から突出する前記枠状補助部材を切除する切除工程を含むことを特徴とする請求項4に記載の摩擦攪拌接合方法。
  6. 前記内側本接合工程を行う前に、前記枠状補助部材と前記筒状金属部材とを仮接合する仮接合工程を含むことを特徴とする請求項4又は請求項5に記載の摩擦攪拌接合方法。
  7. 前記突合せ工程では、前記突合せ部に形成された凹部に、前記凹部の深さよりも大きな厚さの前記枠状補助部材を配置することを特徴とする請求項1乃至請求項6のいずれか一項に記載の摩擦攪拌接合方法。
  8. 前記凹部の両側壁と前記枠状補助部材との一対の突合せ部に対してそれぞれ摩擦攪拌を行うことを特徴とする請求項7に記載の摩擦攪拌接合方法。
  9. 攪拌ピンを備えた回転ツールを用いて二つの筒状金属部材を接合する摩擦攪拌接合方法であって、
    前記筒状金属部材の端面同士を突き合わせるとともに、突合せ部の外周及び内周にそれぞれ枠状補助部材を配置して前記突合せ部を覆う突合せ工程と、
    前記枠状補助部材の外周面から回転した前記攪拌ピンを挿入し、前記枠状補助部材及び前記両筒状金属部材、又は、前記枠状補助部材のみに前記攪拌ピンのみを接触させた状態で前記突合せ部を摩擦攪拌する外側本接合工程と、
    前記枠状補助部材の内周面から回転した前記攪拌ピンを挿入し、前記枠状補助部材及び前記両筒状金属部材、又は、前記枠状補助部材のみに前記攪拌ピンのみを接触させた状態で前記突合せ部を摩擦攪拌する内側本接合工程と、を含み、
    前記外側本接合工程で形成された塑性化領域と、前記内側本接合工程で形成された塑性化領域とを重複させることを特徴とする摩擦攪拌接合方法。
JP2014212247A 2014-10-17 2014-10-17 摩擦攪拌接合方法 Active JP6287751B2 (ja)

Priority Applications (1)

Application Number Priority Date Filing Date Title
JP2014212247A JP6287751B2 (ja) 2014-10-17 2014-10-17 摩擦攪拌接合方法

Applications Claiming Priority (1)

Application Number Priority Date Filing Date Title
JP2014212247A JP6287751B2 (ja) 2014-10-17 2014-10-17 摩擦攪拌接合方法

Publications (2)

Publication Number Publication Date
JP2016078081A JP2016078081A (ja) 2016-05-16
JP6287751B2 true JP6287751B2 (ja) 2018-03-07

Family

ID=55957081

Family Applications (1)

Application Number Title Priority Date Filing Date
JP2014212247A Active JP6287751B2 (ja) 2014-10-17 2014-10-17 摩擦攪拌接合方法

Country Status (1)

Country Link
JP (1) JP6287751B2 (ja)

Cited By (2)

* Cited by examiner, † Cited by third party
Publication number Priority date Publication date Assignee Title
US20190039168A1 (en) * 2016-02-09 2019-02-07 Nippon Light Metal Company, Ltd. Joining method
US11759883B2 (en) 2020-01-22 2023-09-19 Ford Global Technologies, Llc Inserts to enable friction stir welding joints and methods of forming friction stir welded assemblies

Families Citing this family (12)

* Cited by examiner, † Cited by third party
Publication number Priority date Publication date Assignee Title
JP6897024B2 (ja) * 2016-02-09 2021-06-30 日本軽金属株式会社 接合方法
JP6631417B2 (ja) * 2016-06-20 2020-01-15 日本軽金属株式会社 接合方法
WO2017221684A1 (ja) * 2016-06-20 2017-12-28 日本軽金属株式会社 接合方法
JP6645372B2 (ja) * 2016-07-15 2020-02-14 日本軽金属株式会社 接合方法
JP6769244B2 (ja) * 2016-11-04 2020-10-14 日本軽金属株式会社 接合方法
JP2018187671A (ja) * 2017-05-11 2018-11-29 日本軽金属株式会社 接合方法
JP6747365B2 (ja) * 2017-04-10 2020-08-26 日本軽金属株式会社 接合方法
JP2018187672A (ja) * 2017-05-11 2018-11-29 日本軽金属株式会社 接合方法
CN109562484B (zh) * 2016-11-04 2021-08-17 日本轻金属株式会社 接合方法
JP2018134669A (ja) * 2017-02-22 2018-08-30 日本軽金属株式会社 接合方法
JP2018126766A (ja) * 2017-02-08 2018-08-16 日本軽金属株式会社 接合方法
JP6794945B2 (ja) * 2017-07-03 2020-12-02 日本軽金属株式会社 接合方法

Family Cites Families (12)

* Cited by examiner, † Cited by third party
Publication number Priority date Publication date Assignee Title
GB1505832A (en) * 1974-12-02 1978-03-30 Welding Inst Friction welding methods and apparatus
JPS62279082A (ja) * 1986-05-28 1987-12-03 Toshiba Eng & Constr Co Ltd パイプの自動ア−ク溶接方法
JP3014654B2 (ja) * 1996-03-19 2000-02-28 株式会社日立製作所 摩擦接合方法
CN1310732C (zh) * 1996-03-19 2007-04-18 株式会社日立制作所 摩擦搅拌焊接方法
JP3763734B2 (ja) * 2000-10-27 2006-04-05 株式会社日立製作所 パネル部材の加工方法
JP3795824B2 (ja) * 2002-04-16 2006-07-12 株式会社日立製作所 摩擦攪拌接合方法
JP2003322135A (ja) * 2002-04-26 2003-11-14 Showa Denko Kk プロペラシャフト及びその製造方法
JP2004106037A (ja) * 2002-09-20 2004-04-08 Hitachi Ltd 金属材料の結合方法
DE60333029D1 (de) * 2002-11-13 2010-07-29 Nippon Light Metal Co Verbindungsverfahren für aluminiumpulverlegierung
US20120255990A1 (en) * 2011-04-05 2012-10-11 General Electric Company Welding process for large structures
WO2013027532A1 (ja) * 2011-08-19 2013-02-28 日本軽金属株式会社 摩擦攪拌接合方法
JP5957719B2 (ja) * 2011-08-19 2016-07-27 日本軽金属株式会社 摩擦攪拌接合方法

Cited By (2)

* Cited by examiner, † Cited by third party
Publication number Priority date Publication date Assignee Title
US20190039168A1 (en) * 2016-02-09 2019-02-07 Nippon Light Metal Company, Ltd. Joining method
US11759883B2 (en) 2020-01-22 2023-09-19 Ford Global Technologies, Llc Inserts to enable friction stir welding joints and methods of forming friction stir welded assemblies

Also Published As

Publication number Publication date
JP2016078081A (ja) 2016-05-16

Similar Documents

Publication Publication Date Title
JP6287751B2 (ja) 摩擦攪拌接合方法
JP6248790B2 (ja) 摩擦攪拌接合方法
JP6052237B2 (ja) 摩擦攪拌接合方法
WO2015114975A1 (ja) 摩擦攪拌接合方法
JP2016078087A (ja) 接合方法
WO2009081731A1 (ja) 接合方法
JP2019037986A (ja) 液冷ジャケットの製造方法
JP6505364B2 (ja) 摩擦攪拌接合方法
WO2020208844A1 (ja) 接合方法
WO2019198290A1 (ja) 伝熱板の製造方法
JP2018065164A (ja) 中空容器の製造方法
WO2020059198A1 (ja) 液冷ジャケットの製造方法
CN102430854B (zh) 接合构造物的制造方法
JP6052236B2 (ja) 摩擦攪拌接合方法
JP6756215B2 (ja) 接合方法
JP6090186B2 (ja) 摩擦攪拌接合方法
JP6699530B2 (ja) 接合方法
JP2017121639A (ja) 接合方法
WO2019021501A1 (ja) 接合方法
JP2009190044A (ja) 接合構造物の製造方法
JP2009172650A (ja) 接合構造物の製造方法
JP2019000880A (ja) 接合方法
JP2018051563A (ja) 接合方法
JP2018086674A (ja) 接合方法
JP6769244B2 (ja) 接合方法

Legal Events

Date Code Title Description
A621 Written request for application examination

Free format text: JAPANESE INTERMEDIATE CODE: A621

Effective date: 20170224

TRDD Decision of grant or rejection written
A977 Report on retrieval

Free format text: JAPANESE INTERMEDIATE CODE: A971007

Effective date: 20171227

A01 Written decision to grant a patent or to grant a registration (utility model)

Free format text: JAPANESE INTERMEDIATE CODE: A01

Effective date: 20180109

A61 First payment of annual fees (during grant procedure)

Free format text: JAPANESE INTERMEDIATE CODE: A61

Effective date: 20180122

R150 Certificate of patent or registration of utility model

Ref document number: 6287751

Country of ref document: JP

Free format text: JAPANESE INTERMEDIATE CODE: R150

S531 Written request for registration of change of domicile

Free format text: JAPANESE INTERMEDIATE CODE: R313531

R350 Written notification of registration of transfer

Free format text: JAPANESE INTERMEDIATE CODE: R350

R250 Receipt of annual fees

Free format text: JAPANESE INTERMEDIATE CODE: R250