JP6263719B2 - 圧電振動子と圧電ユニットと圧電発振器と電子機噐 - Google Patents

圧電振動子と圧電ユニットと圧電発振器と電子機噐 Download PDF

Info

Publication number
JP6263719B2
JP6263719B2 JP2017079278A JP2017079278A JP6263719B2 JP 6263719 B2 JP6263719 B2 JP 6263719B2 JP 2017079278 A JP2017079278 A JP 2017079278A JP 2017079278 A JP2017079278 A JP 2017079278A JP 6263719 B2 JP6263719 B2 JP 6263719B2
Authority
JP
Japan
Prior art keywords
tuning fork
fork arm
vibrating
width
length
Prior art date
Legal status (The legal status is an assumption and is not a legal conclusion. Google has not performed a legal analysis and makes no representation as to the accuracy of the status listed.)
Active
Application number
JP2017079278A
Other languages
English (en)
Other versions
JP2017143571A (ja
Inventor
川島 宏文
宏文 川島
Original Assignee
有限会社ピエデック技術研究所
Priority date (The priority date is an assumption and is not a legal conclusion. Google has not performed a legal analysis and makes no representation as to the accuracy of the date listed.)
Filing date
Publication date
Application filed by 有限会社ピエデック技術研究所 filed Critical 有限会社ピエデック技術研究所
Priority to JP2017079278A priority Critical patent/JP6263719B2/ja
Publication of JP2017143571A publication Critical patent/JP2017143571A/ja
Application granted granted Critical
Publication of JP6263719B2 publication Critical patent/JP6263719B2/ja
Active legal-status Critical Current
Anticipated expiration legal-status Critical

Links

Images

Landscapes

  • Piezo-Electric Or Mechanical Vibrators, Or Delay Or Filter Circuits (AREA)
  • Oscillators With Electromechanical Resonators (AREA)

Description

本発明は音叉型の圧電振動子(音叉型圧電振動子)と、その音叉型圧電振動子とケースと蓋とを備えて構成される圧電ユニットと、その圧電ユニットを備える圧電発振回路を備えた圧電発振器とその圧電発振器を備えた電子機器とそれらの製造方法に関する。
一例として、特許文献1の段落0035には、屈曲モードで振動する音叉形状の屈曲水晶振動子145の平面図が示され、音叉腕(振動部)の先端部の腕幅を広くした形状を有することにより、音叉腕が質量効果を持つ。それ故、同じ周波数でもより腕の長さを短くできるので小型化ができ、実際には、腕幅を広くする音叉腕の長さは、音叉腕の自由端である先端部から腕の長さの約半分の位置まで、広く形成される。即ち、前記範囲内で任意の位置に幅が広く設けられる。ことが記載されている。すなわち、基部側から先端部の約半分の位置に第1幅Wが、その第1幅より広い第2幅Wが音叉腕の自由端である先端部から腕の長さの約半分の位置に形成されている。この形状では、基本波モード振動の発振周波数が、例えば約32.768kHzで、その周波数での等価直列抵抗Rの増加を抑え、かつ、ある程度の小型化(例えば、全長が2mmの水晶ユニット)を図ることができるが、全長が2mmより小さいより小型化された水晶ユニットを実現するには、音叉形状の屈曲水晶振動子のWsf=W/Wをかなり大きく、かつ、Wをかなり小さくする必要がある。しかし、Wsf=W/Wをかなり大きく、かつ、Wをかなり小さくすると等価直列抵抗Rが全長2mmの水晶ユニットの等価直列抵抗の2倍以上と極めて大きな等価直列抵抗となると共に、バラツキも大きくなり、等価直列抵抗Rの増加を抑制した音叉腕のより短い超小型の音叉型屈曲水晶振動子を実現ことは極めて困難であった。
特開2003−436310
このようなことから、基本波モード振動での等価直列抵抗Rの増加を抑制した音叉腕のより短い超小型の音叉型圧電振動子を実現するには、新形状で、かつ、新電極配置を備えた音叉型圧電振動子と、その音叉型圧電振動子と蓋とケースとを備えて構成される圧電ユニットと、その圧電ユニットと増幅器とコンデンサと抵抗とを備えて構成される圧電発振器と、その圧電発振器を備えた電子機器と、それらの製造方法が所望されていた。
本発明は、以下の方法で従来の課題を有利に解決した逆相の屈曲モードで振動する、超小型の音叉型圧電振動子と、その音叉型圧電振動子と蓋とケースとを備えて構成される圧電ユニットと、その圧電ユニットと増幅器とコンデンサと抵抗とを備えて構成される圧電発振器と、その圧電発振器を備えた電子機器と、それらの製造方法を提供することを目的とするものである。
すなわち、本発明の圧電振動子の第1の態様は、基部部分と第1音叉腕と第2音叉腕とを備えて構成され、第1音叉腕と第2音叉腕の各音叉腕の上面と下面の各々に溝が形成され、各溝の面の上に電極が配置された圧電振動子で、第1音叉腕と第2音叉腕の各音叉腕は第1幅Wを少なくとも備えた第1振動部と、第1幅Wより大きい第2幅Wを少なくとも備えた第2振動部と、を少なくとも備え、第1振動部は第2振動部より基部部分の側にあって、第1振動部の側面は接続部分の側面を介して第2振動部の側面に接続され、前記接続部分の側面は第1音叉腕と第2音叉腕の各音叉腕の第1長さ部分より長い音叉腕の先端部分の側にあり、幅の比W12がW12=W/Wで定義されるとき、W12は1.2〜2.7の範囲内にある圧電振動子である。
本発明の圧電振動子の第2の態様は、第1の態様において、第1音叉腕と第2音叉腕の各音叉腕が延在する方向における長さL を有し、基部部分に接続された接続部分を備えた圧電振動子で、基部部分は第1基部部分と第2基部部分とを備え、第1基部部分と第2基部部分の間には少なくとも一個のカット部分が形成され、第1音叉腕と第2音叉腕の各音叉腕は第1基部部分に接続され、接続部分は第2基部部分の幅方向に延在するように第2基部部分に接続され、接続部分の長さLは0.01mm<L<0.075mmの関係を備えている圧電振動子である。
本発明の圧電振動子の第3の態様は、第1の態様または第2の態様において、第1振動部の側面の一端部は接続部分の側面の一端部で接続され、この接続部分をSで示し、第2振動部の側面の一端部は接続部分の側面の他端部で接続され、この接続部分をS2で示すとき、Sの位置は音叉腕の第1長さ部分より長い音叉腕の先端部分の側にあり、第2振動部の側面の音叉先端方向と接続部分の側面の延長方向との成す角度をθで定義するとき、θは90°より小さい圧電振動子である。
本発明の圧電振動子の第4の態様は、第1の態様から第3の態様のいずれか一つの態様において、第1音叉腕と第2音叉腕の各音叉腕は第2幅Wより大きい第3幅Wを少なくとも備えた第3振動部を少なくとも備え、第2振動部は第1振動部と第3振動部の間に形成され、第2振動部の長さがLで、第3振動部の長さがLで与えられるとき、L<Lの関係を備え、幅の比W23がW23=W/Wで定義されるとき、W23は1.2〜2.7の範囲内にある圧電振動子である。
本発明の圧電振動子の第5の態様は、第1の態様から第4の態様のいずれか一つの態様において、第1音叉腕と第2音叉腕の各音叉腕の3L/5の位置と3L/4の位置をそれぞれ第2長さ部分と第4長さ部分で定義されるとき、各音叉腕の第2振動部は第2長さ部分と第4長さ部分の間にある圧電振動子である。
本発明の圧電ユニットの第1の態様は、第1の態様から第5の態様のいずれか一つの態様の圧電振動子を備えて構成される圧電ユニットである。
本発明の圧電ユニットの第2の態様は、第1の態様から第5の態様のいずれか一つの態様の圧電振動子とケースと蓋とを備えた圧電ユニットで、圧電振動子はケース内に収納されている圧電ユニットである。
本発明の圧電発振器の第1の態様は、第1の態様から第5の態様のいずれか一つの態様の圧電振動子を、あるいは第1の態様または第2の態様の圧電ユニットを備えて構成される圧電発振回路を備えている圧電発振器である。
本発明の電子機器の第1の態様は、第1の態様から第5の態様のいずれか一つの態様の圧電振動子と、あるいは第1の態様または第2の態様の圧電ユニットと、あるいは第1の態様の圧電発振器と、表示部とを備えている電子機器である。
この構成により、等価直列抵抗Rの増加を抑えた超小型の音叉型圧電振動子が実現できる。その結果、その音叉型圧電振動子を備えた水晶ユニットの長さ寸法が1.8mmより小さい超小型の水晶ユニットが高品質で実現できる。この寸法は本発明によって初めてもたらされるものでありその作用効果は極めて大きなものである。
加えて、等価直列抵抗Rの増加を抑えた、超小型の圧電ユニットと、増幅器と、コンデンサと抵抗とを備えて圧電発振器は構成されるので、超小型の圧電発振器でありながら消費電流(Rに大略比例する)が従来のものと遜色ないという優れた作用効果がもたらされる。さらに、その圧電発振器を備えて構成される電子機器は電子機器の設計において自由度が増し、より多くの情報を備えた電子機器が実現できるという作用効果が奏される。
以下、本発明の実施の形態に係わる圧電振動子と圧電ユニットと圧電発振器と電子機器とそれらの製造方法を図面に基づき具体的に述べる。
実施1の形態に係わる音叉型圧電振動子
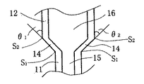
図1は本発明の実施1の形態に係わる逆相の屈曲モードで振動する音叉型圧電振動子100の平面図を示す。図1では、音叉腕に配置される電極と、基部部分に配置される電極とフレームに配置される電極は省略されている。音叉型圧電振動子100は基部部分30と、その基部部分30に接続された音叉腕10と音叉腕20と、基部部分30に接続された2個の接続部分31と接続部分32と、接続部分31に接続されたフレーム33と接続部分32に接続されたフレーム34とを備えて構成される。そして、音叉腕10と音叉腕20の各々の一端部は基部部分30に接続されている。
また、音叉腕10は第1振動部11と第2振動部12と第3振動部13とを少なくとも備えている。第1振動部11は第1幅Wを少なくとも備え、第2振動部12は第1幅Wより大きい第2幅Wを少なくとも備え、第3振動部13は第2幅Wより大きい第3幅Wを少なくとも備えていて、第1振動部11と第2振動部12は接続部分14を介して接続され、第2振動部12と第3振動部13は接続部分を介して接続されている。加えて、第1振動部11の上面に溝15が、下面に溝55(図2参照)が形成され、第2振動部12の上面に溝16が、下面に溝56(図3参照)が形成されている。同様に、音叉腕20は第1振動部21と第2振動部22と第3振動部23とを少なくとも備えている。第1振動部21は第1幅Wを少なくとも備え、第2振動部22は第1幅Wより大きい第2幅Wを少なくとも備え、第3振動部23は第2幅Wより大きい第3幅Wを少なくとも備えていて、第1振動部21と第2振動部22は接続部分24を介して接続され、第2振動部22と第3振動部23は接続部分を介して接続されている。加えて、第1振動部21の上面に溝25が、下面に溝65(図2参照)が形成され、第2振動部22の上面に溝26が、下面に溝66(図3参照)が形成されている。
詳述するならば、フレーム33が一方の接続部分31を介して基部部分30に接続され、フレーム34が他方の接続部分32を介して基部部分30に接続される。さらに、本実施1の形態に係わる音叉型圧電振動子100は、フレーム33と固定フレーム34が収納される容器の固定部に導電性接着剤又は半田等で固定される。加えて、音叉腕10の第1振動部11と音叉腕20の第1振動部21の一端部が基部部分30に接続されている。そして、基部部分30に接続されたその一端部の幅は幅Wより大きく形成される。すなわち、音叉腕10の第1振動部11と音叉腕20の第1振動部21の各々は2個以上の複数の異なる幅を備えている。
さらに詳述するならば、音叉型圧電振動子100は基部部分30と、その基部部分30に接続された第1音叉腕10と第2音叉腕20と、その基部部分30に接続された第1接続部分31と第2接続部分32と、第1接続部分31に接続された第1フレーム33と第2接続部分32に接続された第2フレーム34とを備えて構成される。さらに、第1音叉腕10と第2音叉腕20の各々の一端部が基部部分30に接続され、他端部が自由である音叉型圧電振動子である。また、第1接続部分31と第2接続部分32の各々は第1端部と第2端部を備えていて、第1接続部分31と第2接続部分32の各々の第1端部が基部部分30に接続されると共に、第1接続部分31の第2端部が第1フレーム33の側面に接続され、かつ、第2接続部分32の第2端部が第2フレーム34の側面に接続されている。更に、第1フレーム33と第2フレーム34は音叉の叉部側と異なる音叉の外側に、第1音叉腕10と第2音叉腕20と共通の方向に延びて形成され、第1フレーム33と第2フレーム34は基部部分30に対して互いに反対の位置にある。また、第1音叉腕10と第2音叉腕20は長さ寸法Lを有している。本発明では、L/2の位置を第1長さ部分と呼び、接続部分14,24は第1長さ部分より短い基部部分30の側にある。
さらに、第1音叉腕10と第2音叉腕20の第1幅Wと第2幅Wと第3幅Wとの間には、W<WとW<Wの関係がある。加えて、第1幅Wの溝幅をW1m、溝の長さをL1m、第2幅Wの溝幅をW2m、溝の長さをL2mとすると、W1m<W2mで、かつ、L1m>L2mの第1の関係、あるいはW1m=W2mで、かつ、L1m>L2mの第2の関係がある。第1と第2の両方の関係で、以下の段落0027で述べるように、等価直列抵抗Rが従来のものと遜色のないものが得られる。加えて、音叉型圧電振動子の電気的等価回路における直列共振周波数をf、品質係数をQ、Qmf=Q/fとすると、第1と第2の両方の関係で、Qmfは小さくなる。それ故、圧電発振回路での起動特性、すなわち、電源を入れたときの立ち上がり時間tはQmfに比例するので、立ち上がり時間tを短くできるという作用効果が奏される。
さらに詳述するならば、本発明では、音叉型圧電振動子の基本波モード振動の負性抵抗の絶対値|−RL|と、基本波モード振動の品質係数Qと等価直列抵抗Rを備えた音叉型圧電振動子を少なくとも備えて構成される圧電発振回路の電源を入れたときに、圧電発振回路の出力信号が安定となる出力信号の80%に達したときの時間を立ち上がり時間tと定義される。そして、この定義の基で、第1の例として、t<0.8秒の関係を得るには、4π+5Qmf<4π|−RL|/Rの関係により達成することができる。さらに、第2の例として、t<0.5秒の関係を得るには、2π+4Qmf<2π|−RL|/Rの関係により達成することができる。加えて、第3の例として、t<0.2秒の関係を得るには、2π+10Qmf<2π|−RL|/Rの関係により達成することができる。
さらに、上記した作用効果に加えて、特に、W1m=W2mで、かつ、L1m>L2mの関係では、第1振動部の溝の側面に配置される電極とその電極に対抗して配置される電極の間の電界の強度と、第2振動部の溝の側面に配置される電極とその電極に対抗して配置される電極の間の電界の強度は異なる。それ故、音叉型圧電振動子を駆動する電荷量を音叉腕の位置で制御でき、例えば、2次高調波モード振動を抑制する電荷量にすることによって、基本波モード振動の励振を容易にすることができる作用効果が奏される。
また、基部部分30は幅Wを備えた第1基部部分と、幅Wより小さい幅Wを備えた第2基部部分と、幅Wより大きい幅Wを備えた第3基部部分を備えて構成されている。すなわち、第1音叉腕10と第2音叉腕20の各々の一端部は第1基部部分に接続されている。さらに、第2基部部分は第1基部部分と第3基部部分の間にあり、第1フレーム33は接続部分31を介して第3基部部分に接続され、第2フレーム34は接続部分32を介して第3基部部分に接続されている。加えて、接続部分31、32は長さLを有し、Lは振動の漏れ(ここでは、振動による固定部での振動エネルギーの漏れをいう)に著しい影響を与える。それ故、振動の漏れの低減を図るために本実施1の形態では、Lは0.18mmより小さく、好ましくは、0.01mmより大きく0.075mmより小さく、より好ましくは、0.015mmより大きく0.04mmより小さい。また、本実施1の形態では、W>Wの関係を有するが、本発明はこれに限定されるものではなく、W=Wの関係も含む。次に、図1の音叉型圧電振動を駆動する音叉腕に配置される電極と、基部部分に配置される電極とフレームに配置される電極の配置について詳述する。
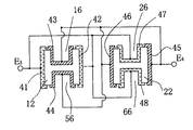
図2は、図1の音叉型圧電振動子100の音叉腕10と音叉腕20の第1振動部11、21のA−Aの断面図を示す。図2において、第1振動部11、21の電極の配置について詳述する。音叉腕10の第1振動部11の上面には溝15が、下面には溝55が形成され、音叉腕20の第1振動部21の上面には溝25が、下面には溝65が形成されている。さらに、溝15には電極3が配置され、溝55には電極3と同極となる電極4が配置され、かつ、接続されている。また、溝25には電極7が配置され、溝65には電極7と同極となる電極8が配置され、かつ、接続されている。加えて、音叉腕10の第1振動部11の内側側面には電極2が配置され、その内側側面に対抗する外側側面には電極2と同極となる電極1が配置され、かつ、接続されている。同様に、音叉腕20の第1振動部21の内側側面には電極6が配置され、その内側側面に対抗する外側側面には電極6と同極となる電極5が配置され、かつ、接続されている。加えて、電極1、2、7、8は同極となる1電極端子を形成し、電極3、4、5、6は同極となる他の1電極端子を形成する。すなわち、2電極端子E−Eが形成される。電極端子Eと電極端子Eは電気的極性が異なる、いわゆる互いに反対の電気的極性を有する。
また、一例として、電極端子Eの電極は基部部分30の面の上と接続部分31の面の上に配置された電極を介して第1フレーム33の面の上に配置された電極に接続され、かつ、電極端子Eの電極は基部部分30の面の上と接続部分32の面の上に配置された電極を介して第2フレーム34の面の上に配置された電極に接続される。
さらに、他の例として、電極端子Eの電極は基部部分30の面の上と接続部分32の面の上に配置された電極を介して第2フレーム34の面の上に配置された電極に接続され、かつ、電極端子Eの電極は基部部分30の面の上と接続部分31の面の上に配置された電極を介して第1フレーム33の面の上に配置された電極に接続される。
図3は、図1の音叉型圧電振動子100の音叉腕10と音叉腕20の第2振動部12、22のB−Bの断面図を示す。図3において、第2振動部12、22の電極の配置について詳述する。音叉腕10の第2振動部12の上面には溝16が、下面には溝56が形成され、音叉腕20の第2振動部22の上面には溝26が、下面には溝66が形成されている。さらに、溝16には電極43が配置され、溝56には電極43と同極となる電極44が配置され、かつ、接続されている。また、溝26には電極47が配置され、溝66には電極47と同極となる電極48が配置され、かつ、接続されている。加えて、音叉腕10の第2振動部12の内側側面には電極42が配置され、その内側側面に対抗する外側側面には電極42と同極となる電極41が配置され、かつ、接続されている。同様に、音叉腕20の第2振動部22の内側側面には電極46が配置され、その内側側面に対抗する外側側面には電極46と同極となる電極45が配置され、かつ、接続されている。すなわち、2電極端子E−Eが形成される。加えて、電極端子Eと電極端子Eは同極に、電極端子Eと電極端子Eは同極になるように接続、形成されている。
詳述するならば、音叉腕10の第1振動部11の外側側面の電極1は接続部分14の面(例えば、側面及び/又は上下面)に配置された電極を介して第2振動部の外側側面の電極41に接続されている。さらに、音叉腕10の第1振動部11の内側側面の電極2は接続部分14(図4参照)の面(例えば、側面及び/又は上下面)に配置された電極を介して第2振動部の側面の電極45に接続されている。また、音叉腕10の第1振動部11の溝の電極3は接続部分14の面(例えば、溝の側面及び/又は上下面)に配置された電極を介して第2振動部の溝の電極43に接続されている。同様に、音叉腕20の第1振動部21の外側側面の電極5は接続部分24の面(例えば、側面及び/又は上下面)に配置された電極を介して第2振動部の外側側面の電極45に接続されている。さらに、音叉腕20の第1振動部21の内側側面の電極6は接続部分24の面(例えば、側面及び/又は上下面)に配置された電極を介して第2振動部の側面の電極46に接続されている。また、音叉腕20の第1振動部21の溝の電極7は接続部分24の面(例えば、溝の側面及び/又は上下面)に配置された電極を介して第2振動部の溝の電極47に接続されている。
次に、第1振動部と第2振動部と接続部分との関係について詳述する。図4には、音叉腕10の溝15を備えた第1振動部11と溝16を備えた第2振動部12と接続部分14の平面図の拡大図を示す。左側の接続部分14と第2振動部12の間には角度θを、右側の接続部分14と第2振動部の間には角度θを持って接続部分14と第2振動部12は形成されている。本実施1に係わる形態では、角度θと角度θは化学的エッチング加工できる任意の値を持つが、好ましくは、角度θと角度θはθ、θ≦90°の関係を満たすように形成される。さらに、角度θ側で、圧電効果により接続部分が第1振動部と第2振動部と同じ方向の第1歪を引き起こし、かつ、角度θ側で、圧電効果により接続部分が第1振動部と第2振動部と同じ方向の第2歪を引き起こし、第1歪と第2歪の方向が反対のときには、θ、θ<30°の関係が好ましいが、より好ましくは、θ、θ≦20°の関係を満たすよう形成される。なお、第1振動部11の一端部(第1端部)と接続部分14の一端部(第1端部)が接続する点をSで示し、第2振動部12の一端部(第1端部)と接続部分14の他端部(第2端部)が接続する点をSで示す。同様に、音叉腕20については、音叉腕10を音叉腕20に、溝幅15、16を溝幅25,26に、第1振動部11を第1振動部21に、第2振動部12を第2振動部22に、接続部分14を接続部分24にそれぞれ置き換えることによって、音叉腕20の関係が得られる。また、角度θと角度θは音叉腕10と同じ関係を有する。
なお、本実施1の形態では、角度θと角度θが設けられているが、本発明はこれに限定されるものではなく、角度θと角度θのどちらか一個を各音叉腕に設けてもよい。加えて、溝15と溝16は繋がって形成されているが、溝15と溝16は分割されていてもよい。この場合には、分割された溝15に配置された電極3は分割する面に配置された電極を介して分割された溝16に配置された電極43に接続される。この分割された溝と溝との電極の関係は以下に述べる溝と溝との関係にも適用できる。同様に、溝25と溝26は繋がって形成されているが、溝25と溝26は分割されていてもよい。同じことが溝55と溝56に言え、かつ、同じことが溝65と溝66にも言える。
また、図2と図3に示した溝の断面形状は矩形をしているが、この矩形の断面形状は加工方法によって異なる形状となることは言うまでもない。すなわち、本発明はこの矩形の断面形状に限定されるものではなく、本発明は加工方法によって異なる断面の形状をも包含するものである。例えば、音叉型圧電振動子が水晶から形成された音叉型屈曲水晶振動子(音叉腕の幅方向が水晶の電気軸方向に、長さ方向が機械軸方向にそれぞれ大略一致して形成される)で、フッ酸等による化学的エッチングによって溝を形成した場合には、水晶の電気軸と垂直となる+x面と−x面ではエッチング速度が異なるので、−x面は溝の深さ方向に直線的に加工されるが、+x面は溝の深さ方向に傾きを持って形成され、溝の幅の半分の位置で、厚み方向に引いた中心線(溝の断面の厚み方向の中立線)に対して非対称な断面形状となる。また、音叉の叉部分から音叉腕の長さ方向に引いた線、いわゆる中心線に対して音叉腕10と音叉腕20は大略対称に形成される。好ましくは、完全な対称がよいが、振動子加工によるバラツキが生じるために略対称となる。
上述したように、本実施1の形態に係わる音叉型圧電振動子100は、基部部分30と、基部部分30に接続された第1音叉腕10と第2音叉腕20とを備えて構成され、第1音叉腕10と第2音叉腕20の各々の一端部が基部部分30に接続され、他端部が自由である音叉型圧電振動子で、第1音叉腕10は第1幅Wを備えた第1振動部11と第1幅Wより大きい第2幅Wを備えた第2振動部12とを少なくとも備えていて、第1振動部11と第2振動部12の各振動部の上面と下面の各々には溝が形成されると共に、第1振動部11の側面と第2振動部12の側面は接続部分14の側面を介して接続され、接続部分14は第1音叉腕10の第1長さ部分(半分の長さ(L/2))より短い基部部分30の側にあり、かつ、第2音叉腕20は第1幅Wを備えた第1振動部21と第1幅Wより大きい第2幅Wを備えた第2振動部22とを少なくとも備えていて、第1振動部21と第2振動部22の各振動部の上面と下面の各々には溝が形成されると共に、第1振動部21の側面と第2振動部22の側面は接続部分24の側面を介して接続され、接続部分24は第2音叉腕20の第1長さ部分(半分の長さ(L/2))より短い基部部分30の側にあるように構成されている。この構成により、より小型化しても、等価直列抵抗Rの増加を抑えた音叉型圧電振動子が得られることを次に説明する。
まず、等価直列抵抗Rを求める関係式を示す。次に、本実施1に係わる形態の音叉型圧電振動子の振動子サイズと等価直列抵抗との関係を従来のものと比較して説明する。以下順次説明する。音叉型圧電振動子の電気的等価回路の等価インダクタンスをL、音叉腕の最大振幅Dと最大振幅電圧Vとの間の比例係数をkとすると、等価直列抵抗RはR=(L/k1/2/kで与えられる。但し、kは音叉腕の厚みを一定とすると、音叉腕の面積S(=音叉腕の幅Wx音叉腕の長さ)に比例する。この関係により等価直列抵抗Rを求めることができる。また、段落0002に記載された特許文献1の重りの効果を備えた形状で、かつ、長さ2mmの圧電ユニットに収納される音叉型圧電振動子を振動子1とし、また本実施1に係わる形態の音叉型圧電振動子を振動子2としたときの振動子1の等価直列抵抗で規格化した等価直列抵抗Rと振動子1の音叉腕の長さで規格化した音叉腕の長さLとの関係を図7に示す。すなわち、振動子1のR=1とL=1に対する振動子2のRとLとの関係である。したがって、振動子1の(R、L)を(1.0、1.0)(点P)とすると、振動子1に対する振動子2の(R、L)は(1.23、0.82)(点Q)となる。換言するならば、振動子1の等価直列抵抗と音叉腕の長さとを比較して、振動子2の等価直列抵抗は23%と若干増加するが、それ以上に音叉腕の長さを18%と著しく短くすることができる。このように、本発明の振動子2は従来の振動子1と遜色のない等価直列抵抗を備え、かつ、圧電ユニットの長さを短くできるので、1.8mmより小さい超小型の圧電ユニットが実現できるという作用効果が奏される。
なお、本実施1に係わる形態の音叉型圧電振動子はW<Wの関係を備えているが、本発明はこれに限定されるものではなく、W=Wの関係をも包含するものである。また、接続部分14と接続部分24は音叉腕の第1長さ部分より短い基部部分30の側にあるように形成されているが、本発明はこれに限定されるものではなく、図6で詳述されるように、それら接続部分は音叉腕の第1長さ部分より長い先端部分の側に、または第1長さ部分に等しくなるように形成しても同様の効果が得られる。
実施2の形態に係わる音叉型圧電振動子
図5は本発明の実施2の形態に係わる逆相の屈曲モードで振動する音叉型圧電振動子120の平面図を示す。図5では、音叉腕に配置される電極と、基部部分に配置される電極とフレームに配置される電極は省略されている。音叉型圧電振動子120は基部部分90と、その基部部分90に接続された音叉腕70と音叉腕80と、基部部分90に接続された2個の接続部分91と接続部分92と、接続部分91に接続されたフレーム93と接続部分92に接続されたフレーム94とを備えて構成される。音叉腕70と音叉腕80の各々の一端部は基部部分90に接続されている。また、音叉腕70は第1振動部71と第2振動部72と第3振動部73と第4振動部74と第5振動部75とを少なくとも備えている。第1振動部71は第1幅W11を少なくとも備え、第2振動部72は第2幅W22を少なくとも備え、第3振動部73は第3幅W33を少なくとも備え、第4振動部74は第4幅W44を少なくとも備え、第5振動部75は第5幅W55を少なくとも備えていて、第1振動部71と第2振動部72は図1と同じように接続部分を介して接続されている。加えて、第2振動部72と第3振動部73の接続、及び第3振動部73と第4振動部74の接続も図1と同じように接続部分を介して接続される。加えて、第1振動部71の上面に溝76が、第2振動部72の上面に溝77が、第3振動部73の上面に溝78が、第4振動部74の上面に溝79が形成されている。
音叉腕70と同じ様に、音叉腕80は第1幅W11を少なくとも備えた第1振動部81と、第2幅W22を少なくとも備えた第2振動部82と、第3幅W33を少なくとも備えた第3振動部83と、第4幅W44を少なくとも備えた第4振動部84と、第5幅W55を少なくとも備えた第5振動部85とを少なくとも備えている。第1振動部81と第2振動部82は図1と同じように接続部分を介して接続されている。また、第2振動部82と第3振動部83の接続、及び第3振動部83と第4振動部84の接続も図1と同じように接続部分を介して接続される。加えて、第1振動部81の上面に溝86が、第2振動部82の上面に溝87が、第3振動部83の上面に溝88が、第4振動部84の上面に溝89が形成されている。さらに、図示されていないが、音叉腕70と音叉腕80の上面に形成された溝に対抗して音叉腕の下面にも溝が形成されている。また、各腕幅は、W11<W22<W33<W44<W55の関係を有する。なお、本発明での各振動部の幅とは各振動部の最も小さい幅のことをいう。
このように、本実施2の形態に係わる音叉型圧電振動子では、互いに異なる幅を備えた3個の振動部が第1長さ部分より短い基部部分の側にあるが、本発明は上記3個の振動部に限定されるものではなく、互いに異なる幅を備えた3個より多い振動部を第1長さ部分より短い基部部分の側に形成してもよい。そして、好ましくは、基部部分90に接続される振動部の幅が他の振動部の幅より小さく形成される。加えて、互いに異なる幅を備えた3個の振動部が第1長さ部分より長い先端部分の側にあるが、本発明は上記3個の振動部に限定されるものではなく、互いに異なる幅を備えた3個より多い振動部を第1長さ部分より長い先端部分の側に形成してもよい。すなわち、互いに異なる幅を備えた複数個の振動部が第1長さ部分より長い先端部分の側に形成され、かつ、複数個の振動部の内の少なくとも1個の振動部の上下面に溝が形成されている。そして、好ましくは、先端部分の振動部(振動部Aという)の幅が基部部分90に接続された幅W11より大きく形成されるか、あるいは先端部の振動部Aに接続される振動部(振動部Bという)の幅が基部部分90に接続された幅W11より大きく形成される。
上述したように、本実施2の形態に係わる音叉型圧電振動子120は、基部部分90と、基部部分90に接続された第1音叉腕70と第2音叉腕80とを備えて構成され、第1音叉腕70と第2音叉腕80の各々の一端部が基部部分90に接続され、他端部が自由である音叉型圧電振動子で、第1音叉腕70は第1幅W11を備えた第1振動部71と、第1幅W11より大きい第2幅W22を備えた第2振動部72と、第2幅W22より大きい第3幅W33を備えた第3振動部73と、第3幅W33より大きい第4幅W44を備えた第4振動部74と、第4幅W44より大きい第5幅W55を備えた第5振動部75とを少なくとも備えていて、第1振動部71と第2振動部72と第3振動部73と第4振動部74の各振動部の上面と下面の各々には溝が形成されると共に、第1振動部71の側面と第2振動部72の側面は接続部分(接続部分S12という)の側面を介して接続され、第2振動部72の側面と第3振動部73の側面は接続部分(接続部分S23という)の側面を介して接続され、第3振動部73の側面と第4振動部74の側面は接続部分(接続部分S34という)の側面を介して接続され、第4振動部74の側面と第5振動部75の側面は接続部分(接続部分S45という)の側面を介して接続されていて、接続部分S12と接続部分S23は第1音叉腕70の第1長さ部分より短い基部部分90の側にある。加えて、接続部分S34と接続部分S45は第1長さ部分より長い先端部分の側にある。
第1音叉腕70と同じ様に、第2音叉腕80は第1幅W11を備えた第1振動部81と、第1幅W11より大きい第2幅W22を備えた第2振動部82と、第2幅W22より大きい第3幅W33を備えた第3振動部83と、第3幅W33より大きい第4幅W44を備えた第4振動部84と、第4幅W44より大きい第5幅W55を備えた第5振動部85とを少なくとも備えていて、第1振動部81と第2振動部82と第3振動部83と第4振動部84の各振動部の上面と下面の各々には溝が形成されると共に、第1振動部81の側面と第2振動部82の側面は接続部分(接続部分S12という)の側面を介して接続され、第2振動部82の側面と第3振動部83の側面は接続部分(接続部分S23という)の側面を介して接続され、第3振動部83の側面と第4振動部84の側面は接続部分(接続部分S34という)の側面を介して接続され、第4振動部84の側面と第5振動部85の側面は接続部分(接続部分S45という)の側面を介して接続されていて、接続部分S12と接続部分S23は第2音叉腕80の第1長さ部分より短い基部部分90の側にある。加えて、接続部分S34と接続部分S45は第1長さ部分より長い先端部分の側にある。すなわち、互いに異なる幅を備えた少なくとも2個の振動部が第1長さ部分より短い基部部分90の側にあり、互いに異なる幅を備えた少なくとも2個の振動部が第1長さ部分より長い先端部分の側にある。
実施3の形態に係わる音叉型圧電振動子
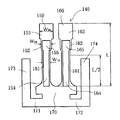
図6は本発明の実施3の形態に係わる逆相の屈曲モードで振動する音叉型圧電振動子140の平面図を示す。図6では、音叉腕に配置される電極と、基部部分に配置される電極とフレームに配置される電極は省略されている。音叉型圧電振動子140は基部部分170と、その基部部分170に接続された音叉腕150と音叉腕160と、基部部分170に接続された2個の接続部分171と接続部分172と、接続部分171に接続されたフレーム173と接続部分172に接続されたフレーム174とを備えて構成される。音叉腕150と音叉腕160の各々の一端部は基部部分170に接続されている。また、音叉腕150は第1振動部151と第2振動部152と第3振動部153とを少なくとも備えている。第1振動部151は第1幅W10を少なくとも備え、第2振動部152は第2幅W20を少なくとも備え、第3振動部153は第3幅W30を少なくとも備えていて、第1振動部151と第2振動部152は図1と同じように接続部分を介して接続されている。加えて、第2振動部152と第3振動部153の接続も接続部分を介して接続される。加えて、第1振動部151の上面に溝154が、第2振動部152の上面に溝155が形成されている。さらに、図示されていないが、第1振動部151の下面と第2振動部152の下面にも溝が形成されている。
音叉腕150と同じ様に、音叉腕160は第1振動部161と第2振動部162と第3振動部163とを少なくとも備えている。第1振動部161は第1幅W10を少なくとも備え、第2振動部162は第2幅W20を少なくとも備え、第3振動部163は第3幅W30を少なくとも備えていて、第1振動部161と第2振動部162は図1と同じように接続部分を介して接続されている。加えて、第2振動部162と第3振動部163の接続も接続部分を介して接続される。加えて、第1振動部161の上面に溝164が、第2振動部162の上面に溝165が形成されている。
さらに、図示されていないが、第1振動部161の下面と第2振動部162の下面にも溝が形成されている。また、各腕幅は、W10<W20<W30の関係を有する。さらに、第2振動部152、162の長さをL20、その第2振動部152、162に形成された溝の長さをL2gとすると、L2g<L20、又はL2g=L20の関係がある。加えて、第3振動部153、163の長さをL30とすると、L2g<L30、又はL20<L30、又は.L20=L30の関係がある。さらに、第1振動部の溝幅をW10m、第2振動部の溝幅をW20mとすると、W10m<W20m又はW10m=W20m又はW10m>W20mの関係がある。また、Wh12はWh12=W20/W10で定義され、Wh23はWh23=W30/W20で定義されるとき、Wh12とWh23の各々は1.06より大きく、好ましくは、1.08〜3.0の範囲内に、より好ましくは、1.2〜2.7の範囲内にある。その結果、第1振動部と第2振動部の溝の効果と第3振動部の重りの効果により、等価直列抵抗Rの増加を抑えた超小型の音叉型圧電振動子が得られる。
このように、本実施3の形態に係わる音叉型圧電振動子では、互いに異なる幅を備えた3個の振動部が第1長さ部分より長い先端部分の側にあるが、本発明は上記3個の振動部に限定されるものではなく、互いに異なる幅を備えた3個より多い振動部を第1長さ部分より長い先端部分の側に形成してもよい。そして、好ましくは、互いに異なる幅を備えた少なくとも2個の振動部の上面と下面に溝が形成される。さらに、第1振動部151、161と第2振動部152、162には図1で示したと同様の電極が配置されている。すなわち、2電極端子を形成する。
加えて、第3振動部153、163の上面と下面の少なくとも一面に周波数調整用の金属の重りが形成されている。その重りの厚みは0.2μmより厚く、好ましくは、0.5μmから3.2μmの範囲内に、より好ましくは、0.75μmから2.6μmの範囲内にある。また、図6に示すように、第1振動部151、161と第2振動部152、162と第3振動部153、163の各々は、長さ方向に一定の幅を少なくとも備えて構成されている。しかし、本発明はこれに限定されるものではなく、本発明は第1振動部と第2振動部と第3振動部の各々、あるいは少なくとも1個の振動部が、音叉先端部に向かって徐々に広がる、あるいは狭くなる形状をも包含するものである。
上述したように、本実施3の形態に係わる音叉型圧電振動子140は、基部部分170と、基部部分170に接続された第1音叉腕150と第2音叉腕160とを備えて構成され、第1音叉腕150と第2音叉腕160の各々の一端部が基部部分170に接続され、他端部が自由である音叉型圧電振動子で、第1音叉腕150は第1幅W10を備えた第1振動部151と、第1幅W10より大きい第2幅W20を備えた第2振動部152と、第2幅W20より大きい第3幅W30とを少なくとも備えていて、第1振動部151と第2振動部152の各振動部の上面と下面の各々には溝が形成されると共に、第1振動部151の側面と第2振動部152の側面は接続部分(接続部分S12という)の側面を介して接続され、第2振動部152の側面と第3振動部153の側面は接続部分(接続部分S23という)の側面を介して接続されていて、接続部分S12と接続部分S23は第1音叉腕150の第1長さ部分より長い先端部分の側にある。
第1音叉腕150と同じ様に、第2音叉腕160は第1幅W10を備えた第1振動部161と、第1幅W10より大きい第2幅W20を備えた第2振動部162と、第2幅W20より大きい第3幅W30とを少なくとも備えていて、第1振動部161と第2振動部162の各振動部の上面と下面の各々には溝が形成されると共に、第1振動部161の側面と第2振動部162の側面は接続部分(接続部分S12という)の側面を介して接続され、第2振動部162の側面と第3振動部163の側面は接続部分(接続部分S23という)の側面を介して接続されていて、接続部分S12と接続部分S23は第2音叉腕160の第1長さ部分より長い先端部分の側にある。
例えば、音叉型圧電振動子140は第2長さ部分(3L/5の位置)と、第3長さ部分(5L/7)と第4長さ部分(3L/4の位置)を備えていて、音叉型圧電振動子140の第2振動部152、162の各々は第2長さ部分と第4長さ部分の間にある。好ましくは、第2長さ部分と第3長さ部分の間にある。
次に、本実施3に係わる形態の音叉型圧電振動子の振動子サイズと等価直列抵抗との関係を従来のものと比較して説明する。段落0002に記載された特許文献1の重りの効果を備えた形状で、かつ、長さ2mmの圧電ユニットに収納される音叉型圧電振動子を振動子1とし、また本実施3に係わる形態の音叉型圧電振動子を振動子3としたときの振動子1の等価直列抵抗で規格化した等価直列抵抗Rと振動子1の音叉腕の長さで規格化した音叉腕の長さLとの関係を図8に示す。すなわち、振動子1のR=1とL=1に対する振動子3のRとLとの関係である。したがって、振動子1の(R、L)を(1.0、1.0)(点P)とすると、振動子1に対する振動子3の(R、L)は(1.29、0.77)(点Q)となる。
換言するならば、振動子1の等価直列抵抗と音叉腕の長さと比較して、振動子3の等価直列抵抗は29%増加するが、音叉腕の長さは23%短くなる。このように、振動子3の等価直列抵抗は振動子1の等価直列抵抗より若干増加するが、それにもまして、音叉腕の長さを23%短くできるという極めて優れた作用効果が奏される。その結果、1.8mm以下(例えば、1.6mm)の超小型の圧電ユニットが実現できる。と同時に、その圧電ユニットを備えた圧電発振器が実現できるという作用効果が同時にもたらされる。さらに特筆すべきことは、圧電発振器の増幅器を従来のものを変更せずに使用できることである。
なお、本実施3の形態に係わる音叉型圧電振動子140では、基部部分170に接続される音叉腕150、160の第1振動部151、161の一端部の幅は第1振動部の幅W10より大きく形成される。この関係は本発明の他の音叉型圧電振動子にも適用される。
さらに、本実施3の形態に係わる音叉型圧電振動子140では、接続部分S12は各音叉腕の第1長さ部分より長い先端部分の側にあるが、本発明はこれに限定されるものではなく、本発明の接続部分S12は第1長さ部分と等しい位置にあってもよい。さらに詳述するならば、図4で述べたように、例えば、角度θと角度θはθ、θ=90°の関係を満たすように形成されるときには、接続部分のSとSは第1長さ部分と同じ長さの位置にある。また、θ、θ<90°の関係のときには、第1長さ部分は接続部分のSとSの間にあるか、接続部分のSは第1長さ部分と同じ長さの位置にあるか、あるいは接続部分のSは第1長さ部分と同じ長さの位置にある。加えて、θ、θ>90°の関係のときには、接続部分のSは第1長さ部分と同じ長さの位置にあり、本発明は上記関係を全て包含するものである。
また、本実施3の形態に係わる音叉型圧電振動子140では、各腕幅は、W10<W20<W30の関係を有するが、本発明はこれに限定されるものではなく、W10<W20=W30の関係も本発明に含まれる。加えて、W10<W20=W30の関係のときには、第2振動部に溝が形成される部分(溝の長さL2g)と溝のない部分(Lng)が存在する。それ故、本発明はL2g<Lng、又はL2g=Lng、又はL2g>Lngの関係を含むが、特に重り効果を必要とするときには、L2g<Lngの関係が好ましく、特に等価直列抵抗Rの低下を必要とするときには、L2g>Lngの関係が好ましい。
実施1の形態に係わる圧電ユニット
図9は本発明の実施1の形態に係わる圧電ユニット300の平面図である。表面実装型のケース310には固定部305と固定部306が設けられている。また、圧電ユニット300はすでに述べた実施1の形態に係わる音叉型圧電振動子100とケース310と蓋(図示されていない)とを備えて構成されている。更に詳述するならば、音叉型圧電振動子100のフレーム33とフレーム34はケース310に設けられた固定部305と固定部306にそれぞれ導電性接着剤315と導電性接着剤316や半田によって固定される。又、ケース310と蓋は金属やガラスなどの接合部材を介して接合される。すなわち、音叉型圧電振動子100と、その音叉型圧電振動子を収納するケースと、そのケースの開口部をカバーする蓋とを備えて圧電ユニットは構成される。また、固定部は蓋に設けても良い。蓋はガラスまたは金属またはガラスと金属で作られている。
さらに詳述するならば、ケース310は第1固定部305と第2固定部306とを備え、第1固定部305と第2固定部306は第1音叉腕10(図1参照)と第2音叉腕20(図1参照)に対して互いに反対の位置にあって、音叉型圧電振動子100の第1フレーム33は第1固定部305に固定され、かつ、その第2フレーム34は第2固定部306に固定され、第1フレーム33の面の上に配置された電極(図示されていない)は、第1固定部305の面の上に配置された電極(図示されていない)に接続され、かつ、第2フレーム34の面の上に配置された電極(図示されていない)は、第2固定部306の面の上に配置された電極(図示されていない)に接続される。また、第1フレーム33の面の上に配置された電極と第2フレーム34の面の上に配置された電極とは電気的極性が異なる。
この実施1の形態では、第1フレーム33は第1固定部305に導電性接着剤315によって固定されると共に、第1フレーム33の面の上に配置された電極は、導電性接着剤315を介して第1固定部の面の上に配置された電極に接続される。すなわち、導電性接着剤315によって第1フレーム33の固定と、第1フレーム33の電極と第1固定部の電極との接続を同時に行う。同様に、第2フレーム34は第2固定部306に導電性接着剤316によって固定されると共に、第2フレーム34の面の上に配置された電極は、導電性接着剤316を介して第2固定部の面の上に配置された電極に接続される。すなわち、導電性接着剤316によって第2フレーム34の固定と、第2フレーム34の電極と第2固定部の電極との接続を同時に行う。
実施1の形態に係わる圧電発振器
図10は本発明の実施1の形態に係わる圧電発振器を構成する圧電発振回路図の一例である。圧電発振回路201は増幅器202(CMOSインバータ)と、帰還抵抗204と、ドレイン抵抗207と、コンデンサ205,206と圧電振動子203を備えて構成されている。すなわち、圧電発振回路201は増幅器202と帰還抵抗204とを備えて構成される増幅回路208と、ドレイン抵抗207とコンデンサ205とコンデンサ206とケースに固定された圧電振動子203とを備えて構成される帰還回路209とを備えて構成される。詳細には、本発明の圧電発振回路は増幅回路と帰還回路を備えて構成されていて、増幅回路は少なくとも増幅器から構成され、帰還回路は少なくとも圧電振動子とコンデンサとを備えて構成されている。又、本発明の圧電発振器の圧電発振回路に用いられる圧電振動子は実施1から実施3の形態に係わる音叉型圧電振動子が用いられ、その音叉型圧電振動子は容器(ユニット)に収納されている。いわゆる、圧電ユニットが圧電発振回路に用いられる。そして、本発明の圧電発振器の出力信号は電子機器の表示部に時間情報を表示するための信号として用いられる。
次に、音叉型圧電振動子と圧電ユニットと圧電発振器と電子機器の各々の製造方法について詳述する。本実施1の形態に係わる音叉型圧電振動子を製造する工程では、まず、図1に示した音叉腕10、20と基部部分30と第1接続部分31と第2接続部分32と第1フレーム33と第2フレーム34とを備えた音叉形状が、エッチング加工により一体に形成される。すなわち、第1エッチング加工によりその音叉形状が形成される。次に、音叉腕10、20の上面と下面の各々に溝がエッチング加工により形成される。すなわち、第2エッチング加工により溝が形成される。その後に、図2と図3に示した電極が音叉腕の側面と溝の中に形成される。と同時に、基部部分の面の上と第1接続部分と第2接続部分と第1フレームと第2フレームの各々の面の上に電極が形成される。すなわち、2電極端子を備えた音叉型圧電振動子が形成される。この製造工程は本実施2と本実施3の各々の形態に係わる音叉型圧電振動子に適用できる。
次に、圧電ユニットを製造する工程では、音叉型圧電振動子の第1フレームと第2フレームがケースの固定部に固定される。その後に、蓋がケースの開口部に接続される。すなわち、図9に示した圧電ユニットが形成される。さらに、圧電発振器を製造する工程では、その圧電ユニットを構成する音叉型圧電振動子の2電極端子が増幅器とコンデンサと抵抗とに電気的に接続される。すなわち、図10で示した圧電発振回路が形成され、その圧電発振回路を備えた圧電発振器が形成される。次に、電子機器を製造する工程では、その圧電発振器の出力信号が電子機器の動作用信号となるように接続される。
なお、本実施1の形態に係わる音叉型圧電振動子を製造する工程では、音叉腕を形成した後に、音叉腕に溝を形成しているが、本発明はこれに限定されるものではなく、音叉腕と溝を同時に形成してもよい。あるいは溝を形成した後に、音叉腕を形成してもよい。
本発明の音叉型圧電振動子と圧電ユニットと圧電発振器は小型化しても従来のものと遜色のない等価直列抵抗を備えているので、より小型化された音叉型圧電振動子と圧電ユニットを特に必要とする携帯電話などの携帯機器や民生機器を含む電子機器に適用できる。
本発明の実施1の形態に係わる逆相の屈曲モードで振動する音叉型圧電振動子の平面図を示す。 図1の音叉型圧電振動子の音叉腕のA−Aの断面図を示す。 図1の音叉型圧電振動子の音叉腕のB−Bの断面図を示す。 音叉腕の第1振動部と第2振動部と接続部分の平面図の拡大図を示す。 本発明の実施2の形態に係わる逆相の屈曲モードで振動する音叉型圧電振動子の平面図を示す。 本発明の実施3の形態に係わる逆相の屈曲モードで振動する音叉型圧電振動子の平面図を示す。 本発明の実施1の形態に係わる音叉型圧電振動子の規格化された等価直列抵抗Rと規格化された音叉腕の長さLとの関係である。 本発明の実施3の形態に係わる音叉型圧電振動子の規格化された等価直列抵抗Rと規格化された音叉腕の長さLとの関係である。 本発明の実施1の形態に係わる圧電ユニットの平面図である。 本発明の実施1の形態に係わる圧電発振器を構成する圧電発振回路図の一例である。
L 音叉腕の長さ
接続部分の長さ、
L/2 第1長さ部分
3L/5 第2長さ部分
5L/7 第3長さ部分
3L/4 第4長さ部分
第1振動部の幅
第2振動部の幅
第3振動部の幅
14、24 第1振動部と第2振動部を接続する接続部分
33 第1フレーム、
34 第2フレーム

Claims (9)

  1. 基部部分と第1音叉腕と第2音叉腕とを備えて構成され、第1音叉腕と第2音叉腕の各音叉腕の上面と下面の各々に溝が形成され、各溝の面の上に電極が配置された圧電振動子で、
    第1音叉腕と第2音叉腕の各音叉腕は第1幅Wを少なくとも備えた第1振動部と、第1幅Wより大きい第2幅Wを少なくとも備えた第2振動部と、を少なくとも備え、第1振動部は第2振動部より基部部分の側にあって、
    第1振動部の側面は接続部分の側面を介して第2振動部の側面に接続され、前記接続部分の側面は第1音叉腕と第2音叉腕の各音叉腕の第1長さ部分より長い音叉腕の先端部分の側にあり、
    幅の比W12がW12=W/Wで定義されるとき、W12は1.2〜2.7の範囲内にあることを特徴とする圧電振動子。
  2. 請求項1において、第1音叉腕と第2音叉腕の各音叉腕が延在する方向における長さL を有し、基部部分に接続された接続部分を備えた圧電振動子で、基部部分は第1基部部分と第2基部部分とを備え、第1基部部分と第2基部部分の間には少なくとも一個のカット部分が形成され、第1音叉腕と第2音叉腕の各音叉腕は第1基部部分に接続され、接続部分は第2基部部分の幅方向に延在するように第2基部部分に接続され、接続部分の長さLは0.01mm<L<0.075mmの関係を備えていることを特徴とする圧電振動子。
  3. 請求項1または請求項2において、第1振動部の側面の一端部は接続部分の側面の一端部で接続され、この接続部分をSで示し、第2振動部の側面の一端部は接続部分の側面の他端部で接続され、この接続部分をS2で示すとき、Sの位置は音叉腕の第1長さ部分より長い音叉腕の先端部分の側にあり、第2振動部の側面の音叉先端方向と接続部分の側面の延長方向との成す角度をθで定義するとき、θは90°より小さいことを特徴とする圧電振動子。
  4. 請求項1から請求項3のいずれか1項において、第1音叉腕と第2音叉腕の各音叉腕は第2幅Wより大きい第3幅Wを少なくとも備えた第3振動部を少なくとも備え、第2振動部は第1振動部と第3振動部の間に形成され、第2振動部の長さがLで、第3振動部の長さがLで与えられるとき、L<Lの関係を備え、幅の比W23がW23=W/Wで定義されるとき、W23は1.2〜2.7の範囲内にあることを特徴とする圧電振動子。
  5. 請求項1から請求項4のいずれか1項において、第1音叉腕と第2音叉腕の各音叉腕の3L/5の位置と3L/4の位置をそれぞれ第2長さ部分と第4長さ部分で定義されるとき、各音叉腕の第2振動部は第2長さ部分と第4長さ部分の間にあることを特徴とする圧電振動子。
  6. 請求項1から請求項5のいずれか1項の圧電振動子を備えて構成されることを特徴とする圧電ユニット。
  7. 請求項1から請求項5のいずれか1項の圧電振動子とケースと蓋とを備えて構成される圧電ユニットで、圧電振動子はケース内に収納されていることを特徴とする圧電ユニット。
  8. 請求項1から請求項5のいずれか1項に記載の圧電振動子を、あるいは請求項6または請求項7の圧電ユニットを、備えて構成される圧電発振回路を備えていることを特徴とする圧電発振器。
  9. 請求項1から請求項5のいずれか1項に記載の圧電振動子と、あるいは請求項6または請求項7に記載の圧電ユニットと、あるいは請求項8に記載の圧電発振器と、表示部とを備えていることを特徴とする電子機器。
JP2017079278A 2017-03-27 2017-03-27 圧電振動子と圧電ユニットと圧電発振器と電子機噐 Active JP6263719B2 (ja)

Priority Applications (1)

Application Number Priority Date Filing Date Title
JP2017079278A JP6263719B2 (ja) 2017-03-27 2017-03-27 圧電振動子と圧電ユニットと圧電発振器と電子機噐

Applications Claiming Priority (1)

Application Number Priority Date Filing Date Title
JP2017079278A JP6263719B2 (ja) 2017-03-27 2017-03-27 圧電振動子と圧電ユニットと圧電発振器と電子機噐

Related Parent Applications (1)

Application Number Title Priority Date Filing Date
JP2015102257A Division JP6131445B2 (ja) 2015-04-27 2015-04-27 圧電振動子と圧電ユニット

Publications (2)

Publication Number Publication Date
JP2017143571A JP2017143571A (ja) 2017-08-17
JP6263719B2 true JP6263719B2 (ja) 2018-01-24

Family

ID=59628777

Family Applications (1)

Application Number Title Priority Date Filing Date
JP2017079278A Active JP6263719B2 (ja) 2017-03-27 2017-03-27 圧電振動子と圧電ユニットと圧電発振器と電子機噐

Country Status (1)

Country Link
JP (1) JP6263719B2 (ja)

Families Citing this family (1)

* Cited by examiner, † Cited by third party
Publication number Priority date Publication date Assignee Title
EP3468036A1 (fr) * 2017-10-03 2019-04-10 Micro Crystal AG Résonateur piezo-electrique de petite taille

Family Cites Families (3)

* Cited by examiner, † Cited by third party
Publication number Priority date Publication date Assignee Title
JP2006203458A (ja) * 2005-01-19 2006-08-03 Seiko Epson Corp 圧電振動片、及びこれを利用した圧電デバイス
JP2007013910A (ja) * 2005-05-31 2007-01-18 Sanyo Electric Co Ltd 圧電振動子
JP2007096900A (ja) * 2005-09-29 2007-04-12 Seiko Epson Corp 圧電振動片および圧電デバイス

Also Published As

Publication number Publication date
JP2017143571A (ja) 2017-08-17

Similar Documents

Publication Publication Date Title
JP4026074B2 (ja) 水晶振動子と水晶ユニットと水晶発振器
JP2013243753A (ja) 水晶振動子と水晶ユニットと水晶発振器の各製造方法
JP2004135357A (ja) 水晶振動子、水晶ユニット、水晶発振器とそれらの製造方法
JP5130502B2 (ja) 圧電振動子と圧電発振器
JP6263719B2 (ja) 圧電振動子と圧電ユニットと圧電発振器と電子機噐
JP6131445B2 (ja) 圧電振動子と圧電ユニット
JP5756983B2 (ja) 圧電振動子、圧電ユニット、圧電発振器と電子機器
JP5526312B2 (ja) 圧電振動子、圧電ユニット、圧電発振器と電子機器
JP6454894B2 (ja) 圧電振動子と圧電ユニットと圧電発振器と電子機器
JP4411495B2 (ja) 屈曲水晶振動子を備えた水晶ユニット
JP2003273703A (ja) 水晶振動子と水晶振動子の製造方法
JP2017121093A6 (ja) 圧電振動子と圧電ユニットと圧電発振器と電子機器
JP4411494B2 (ja) 水晶振動子
JP3749917B2 (ja) 水晶発振器の製造方法
JP2005094733A (ja) 振動子と振動子ユニットと発振器と電子機器とそれらの製造方法
JP2012227932A (ja) 圧電振動子、圧電ユニット、圧電発振器と電子機器及びそれらの製造方法
JP2005094726A (ja) 水晶ユニットとその製造方法と水晶発振器
JP4074934B2 (ja) 水晶発振器とその製造方法
JP2003273696A (ja) 水晶ユニットの製造方法と水晶発振器の製造方法
JP4411496B6 (ja) 水晶発振器を搭載した携帯機器とその製造方法
JP4411496B2 (ja) 水晶発振器を搭載した携帯機器とその製造方法
JP2005094732A (ja) 水晶振動子と水晶ユニットと水晶発振器
JP4411492B2 (ja) 水晶振動子、水晶ユニット、水晶発振器と情報通信機器
JP4411492B6 (ja) 水晶振動子、水晶ユニット、水晶発振器と情報通信機器
JP2014042224A (ja) 圧電振動子、圧電ユニット、圧電発振器と電子機器、及びそれらの製造方法

Legal Events

Date Code Title Description
A975 Report on accelerated examination

Free format text: JAPANESE INTERMEDIATE CODE: A971005

Effective date: 20170531

A131 Notification of reasons for refusal

Free format text: JAPANESE INTERMEDIATE CODE: A131

Effective date: 20170808

A521 Request for written amendment filed

Free format text: JAPANESE INTERMEDIATE CODE: A523

Effective date: 20170817

TRDD Decision of grant or rejection written
A01 Written decision to grant a patent or to grant a registration (utility model)

Free format text: JAPANESE INTERMEDIATE CODE: A01

Effective date: 20171017

A61 First payment of annual fees (during grant procedure)

Free format text: JAPANESE INTERMEDIATE CODE: A61

Effective date: 20171113

R150 Certificate of patent or registration of utility model

Ref document number: 6263719

Country of ref document: JP

Free format text: JAPANESE INTERMEDIATE CODE: R150

R250 Receipt of annual fees

Free format text: JAPANESE INTERMEDIATE CODE: R250