JP6226517B2 - 反射型マスクの製造方法、および反射型マスクの製造装置 - Google Patents

反射型マスクの製造方法、および反射型マスクの製造装置 Download PDF

Info

Publication number
JP6226517B2
JP6226517B2 JP2012199842A JP2012199842A JP6226517B2 JP 6226517 B2 JP6226517 B2 JP 6226517B2 JP 2012199842 A JP2012199842 A JP 2012199842A JP 2012199842 A JP2012199842 A JP 2012199842A JP 6226517 B2 JP6226517 B2 JP 6226517B2
Authority
JP
Japan
Prior art keywords
layer
reflective
gas
capping layer
dry etching
Prior art date
Legal status (The legal status is an assumption and is not a legal conclusion. Google has not performed a legal analysis and makes no representation as to the accuracy of the status listed.)
Active
Application number
JP2012199842A
Other languages
English (en)
Other versions
JP2014056895A (ja
Inventor
大晃 吉森
大晃 吉森
嘉瀬 慶久
慶久 嘉瀬
誠 家柳
誠 家柳
剛治 本川
剛治 本川
大岩 徳久
徳久 大岩
Current Assignee (The listed assignees may be inaccurate. Google has not performed a legal analysis and makes no representation or warranty as to the accuracy of the list.)
Shibaura Mechatronics Corp
Original Assignee
Shibaura Mechatronics Corp
Priority date (The priority date is an assumption and is not a legal conclusion. Google has not performed a legal analysis and makes no representation as to the accuracy of the date listed.)
Filing date
Publication date
Application filed by Shibaura Mechatronics Corp filed Critical Shibaura Mechatronics Corp
Priority to JP2012199842A priority Critical patent/JP6226517B2/ja
Publication of JP2014056895A publication Critical patent/JP2014056895A/ja
Application granted granted Critical
Publication of JP6226517B2 publication Critical patent/JP6226517B2/ja
Active legal-status Critical Current
Anticipated expiration legal-status Critical

Links

Images

Landscapes

  • Preparing Plates And Mask In Photomechanical Process (AREA)
  • Exposure Of Semiconductors, Excluding Electron Or Ion Beam Exposure (AREA)

Description

後述する実施形態は、概ね、反射型マスクの製造方法、および反射型マスクの製造装置に関する。
極端紫外線(EUV:Extreme Ultra Violet)を用いて微細なパターンの転写を行うEUVリソグラフィ法が提案されている。
このEUVリソグラフィ法に用いられる反射型マスクの製造においては、基板の主面に反射層、キャッピング層(ストッパ層などとも称される)、吸収層を順次形成し、吸収層をドライエッチング処理することで、所望のパターンを有するパターン領域を形成している。そして、吸収層とキャッピング層と反射層とをドライエッチング処理することで、パターン領域を囲む遮光領域(遮光枠などとも称される)を形成している。
この場合、遮光領域を形成する際には、塩素を含むガスやフッ素を含むガスを用いたドライエッチング処理が行われている(例えば、特許文献1を参照)。
しかしながら、キャッピング層がルテニウム(Ru)を含む場合に、キャッピング層に対して塩素を含むガスやフッ素を含むガスを用いたドライエッチング処理を行うと、ルテニウムを含む残渣が発生するという問題がある。
特開2009−212220号公報
本発明の実施形態は、キャッピング層がルテニウムを含む場合であっても、残渣の発生を抑制することができる反射型マスクの製造方法、および反射型マスクの製造装置を提供する。
実施形態によれば、
基板の上に設けられた、モリブデン層とシリコン層とを交互に積層した反射層と、
前記反射層の最上層のシリコン層の上に設けられ、ルテニウムを含むキャッピング層と、
前記キャッピング層の上に設けられた吸収層と、
前記吸収層に設けられたパターン領域と、を備えた反射型マスクの製造方法であって、
前記吸収層と前記キャッピング層と前記反射層とに前記パターン領域を囲む遮光領域を形成する工程を備え、
前記遮光領域を形成する工程において、
前記吸収層及び前記キャッピング層が露出した表面に形成され、前記遮光領域をパターンニングされたレジストをマスクとして、
前記キャッピング層に対しては不活性ガスを用いた物理的なドライエッチング処理を施して前記キャッピング層を除去し前記キャッピング層を除去することで露出した前記反射層に対しては塩素と酸素の混合ガスを用いた化学的なドライエッチング処理を施して前記反射層を除去する反射型マスクの製造方法が提供される。
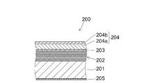
マスクブランク200を例示するための模式断面図である。 キャッピング層203の構成を例示するための模式断面図である。 (a)〜(h)は、第1の実施形態に係る反射型マスクの製造方法を例示するための模式工程断面図である。 第2の実施形態に係る反射型マスクの製造装置を例示するための模式断面図である。 第3の実施形態に係る反射型マスクの製造装置を例示するための模式レイアウト図である。
以下、図面を参照しつつ、実施の形態について例示をする。なお、各図面中、同様の構成要素には同一の符号を付して詳細な説明は適宜省略する。
[第1の実施形態]
(マスクブランクの製造)
図1は、マスクブランク200を例示するための模式断面図である。
まず、反射型マスク210の製造に用いるマスクブランク200を製造する。
図1に示すように、マスクブランク200に設けられた基板201の一方の主面には、反射層202、キャッピング層203、吸収層204がこの順で積層されるようにして形成されている。また、基板201の他方の主面には、導電層205が形成されている。
なお、反射層202、キャッピング層203、吸収層204は、直接接触して積層していなくてもよく、各々の間に他の機能を有する別の層が存在していてもよい。
基板201は、透明材料から形成されている。基板201は、例えば、低熱膨張材料(LTEM;Low Thermal Expansion Material)や石英などから形成することができる。 反射層202は、露光光である極端紫外線を反射させるために形成される。反射層202は、モリブデン(Mo)層とシリコン(Si)層とを交互に積層することで形成することができる。反射層202は、モリブデン層とシリコン層との対が、40対〜50対程度積層されたものとすることができる。
キャッピング層203は、反射層202を保護するために形成される。
キャッピング層203は、スパッタリング法などを用いて、反射層202の上にルテニウムからなる膜を成膜することで形成することができる。
この場合、反射層202の上にルテニウムからなる膜を成膜すれば、反射層202の最上層のシリコン層が、ルテニウムからなる膜へ拡散し、反射層202の上に少なくともシリコンとルテニウムとを含む混在層203bが形成される。そして、混在層203bの上にルテニウムからなる層203aが形成される。
図2は、キャッピング層203の構成を例示するための模式断面図である。
図2に示すように、反射層202の最上層であるシリコン層202aの上にルテニウムからなる膜を成膜すると、シリコン層202aと、ルテニウムからなる層203aとの間に、シリコンとルテニウムを含む混在層203bが形成される。
また、反射層202の最上層であるシリコン層202aの表面が自然酸化している場合には、混在層203bは、シリコンと酸化シリコン(SiOx)とルテニウムを含むものとなる。
すなわち、キャッピング層203は、ルテニウムからなる層203aと、少なくともシリコンとルテニウムとを含む混在層203bと、から形成されている。
吸収層204は、露光光である極端紫外線の反射を抑制するために形成される。吸収層204は、吸収体層204aと反射防止層204bとを有する。
吸収体層204aは、露光光である極端紫外線を吸収する。吸収体層204aは、例えば、タンタルの窒化物(例えば、タンタルホウ素窒化物(TaBN)、窒化タンタル(TaN)など)やクロムの窒化物(例えば、窒化クロム(CrN)など)などを含むものとすることができる。
反射防止層204bは、波長250nm近傍の検査光に対する反射防止層(AR層)として機能する。反射防止層204bは、例えば、タンタルの酸化物(例えば、タンタルホウ素酸化物、酸化タンタル(TaO)など)やクロムの酸化物(例えば、酸化クロム(CrOx)など)などを含むものとすることができる。
導電層205は、静電チャックによる反射型マスクの保持が可能となるようにするために形成される。導電層205は、例えば、窒化クロムなどを含むものとすることができる。
反射層202、キャッピング層203、吸収層204、導電層205の形成には、スパッタリング法などの既知の成膜法を適用することができる。
例えば、マスクブランク200の製造においては、基板201の主面上に反射層202を形成する工程、反射層202の上にルテニウムを含むキャッピング層203を形成する工程、キャッピング層203の上に吸収層204を形成する工程などを設けるようにすることができる。
例えば、スパッタリング法などを用いて、280nm程度の総厚みを有する反射層202を形成し、10nm程度の厚みを有するキャッピング層203を形成し、70nm程度の総厚みを有する吸収層204を形成し、10nm程度の厚みを有する導電層205を形成するようにすることができる。ただし、各層の厚みは例示をしたものに限定されるわけではなく適宜変更することができる。なお、スパッタリング法を用いる場合の成膜条件などには既知の技術を適用することができるので、成膜条件などの詳細は省略する。
(反射型マスクの製造)
次に、この様にして製造されたマスクブランク200から反射型マスク210を製造する。
なお、ここでは、一例として、基板201が低熱膨張材料(LTEM)から形成され、反射層202がモリブデン層とシリコン層とを有し、キャッピング層203がルテニウムからなる層203aと、少なくともシリコンとルテニウムとを含む混在層203bと、を有し、吸収体層204aがタンタルホウ素窒化物から形成され、反射防止層204bがタンタルホウ素酸化物から形成されている場合を例示する。
図3(a)〜(h)は、第1の実施形態に係る反射型マスクの製造方法を例示するための模式工程断面図である。なお、図3(a)〜(c)はパターン領域の形成を例示するための模式工程断面図、図3(d)〜(h)は遮光領域の形成を例示するための模式工程断面図である。
(パターン領域の形成)
まず、吸収層204にパターン領域216を形成する工程について例示をする。
図3(a)に示すように、吸収体層204aの表面にEBレジスト(電子線直接描画用のレジスト)211aを塗布する。そして、電子線描画装置を用いて所望のパターン(例えば、回路パターンなど)を描画し、ポスト・エクスポージャー・ベーク(PEB;Post Exposure Bake)、現像などを行うことで所望のレジストパターンを有するレジストマスク211形成する。
次に、図3(b)に示すように、反射防止層204b、吸収体層204aを順次ドライエッチング処理する。
タンタルホウ素酸化物から形成された反射防止層204bのドライエッチング処理は、例えば、フッ素を含むガス(例えば、CF、SF、CHFなど)を用いたドライエッチング処理とすることができる。
タンタルホウ素窒化物から形成された吸収体層204aのドライエッチング処理は、例えば、塩素を含むガス(例えば、Cl、BClなど)を用いたドライエッチング処理とすることができる。
次に、図3(c)に示すように、レジストマスク211を除去する。
この場合、ドライアッシング処理とすることもできるし、薬液を用いたウェットアッシング処理とすることもできる。
ただし、酸素を含むガスを用いたドライアッシング処理を行うようにすると、ルテニウムを含むキャッピング層203にダメージが発生するおそれがある。
そのため、ドライアッシング処理によりレジストマスク211を除去する場合には、例えば、アンモニアガスなどのような酸素を含まないガスを用いたドライアッシング処理を行うようにすることが好ましい。
なお、レジストマスク211を除去した後、必要に応じて、欠陥検査や欠陥部の修正などを行うようにすることもできる。
以上のようにして、パターン領域216が形成される。
(遮光領域の形成)
次に、吸収層204とキャッピング層203と反射層202とにパターン領域216を囲む遮光領域217を形成する工程について例示をする。
遮光領域217は、パターン領域216を囲むように形成される枠状の領域であり、パターンを転写する際に露光光が隣接する領域に漏れないようにするために形成される。
まず、図3(d)に示すように、反射防止層204b、吸収体層204a及び露出したキャッピング層203の表面にレジストを塗布する。そして、レーザ光などを用いて所望のパターンを描画し、ポスト・エクスポージャー・ベーク、現像などを行うことで所望のレジストパターンを有するレジストマスク212を形成する。この場合、パターン領域216を囲むように枠状の領域212aをパターニングする。
次に、図3(e)に示すように、反射防止層204b、吸収体層204aを順次ドライエッチング処理する。ドライエッチング処理は、キャッピング層203の表面が露出するまで行われる。
反射防止層204b、吸収体層204aのドライエッチング処理は、図3(b)において例示をしたものと同様とすることができる。
なお、パターン領域216の形成の際に遮光領域217の吸収体層204a、反射防止層204bを同時にドライエッチング処理することも可能である。
次に、図3(f)に示すように、キャッピング層203をドライエッチング処理する。 前述したようにキャッピング層203は、ルテニウムからなる層203aと、少なくともシリコンとルテニウムとを含む混在層203bとを有している。
この様な場合、ルテニウムからなる層203aは、塩素を含むガスやフッ素を含むガスを用いたドライエッチング処理により除去することができる。
ところが、少なくともシリコンとルテニウムとを含む混在層203bに対して塩素を含むガスやフッ素を含むガスを用いたドライエッチング処理を行うと、ルテニウムを含む残渣が発生する。
これは、シリコンのエッチングレートが、ルテニウムのエッチングレートよりも高いために、シリコンの部分が先に除去されてルテニウムの部分が残渣として残るためである。 なお、混在層203bがシリコンと酸化シリコンとルテニウムを含む場合も、エッチングレートの違いによりルテニウムの部分が残渣として残ることになる。
この場合、酸素を含むガス(例えば、酸素ガスや、酸素ガスと塩素ガスとの混合ガスなど)を用いたドライエッチング処理を行うようにすれば、ルテニウムを含む残渣の発生を抑制することができる。
しかしながら、ルテニウムと酸素の化合物である二酸化ルテニウムは有毒であるため、酸素を含まないガスを用いてキャッピング層203のドライエッチング処理を行うことが好ましい。
本発明者らの得た知見によれば、不活性ガスを用いてキャッピング層203のドライエッチング処理を行うようにすれば、ルテニウムを含む残渣の発生を抑制することができる。
そのため、遮光領域217を形成する工程において、不活性ガスからイオンを生成し、キャッピング層203に対してイオンによる物理的なドライエッチング処理を施すようにしている。
不活性ガスを用いてドライエッチング処理を行う場合には、イオンによる物理的なドライエッチング処理が行われることになる。そのため、中性活性種による化学的なドライエッチング処理のように、除去の対象となる物質により除去される速さが異なるものとなることがない。
すなわち、ルテニウムの部分、シリコンの部分、酸化シリコンの部分が、ほぼ同じように除去されることになる。
そのため、キャッピング層203がルテニウムを含む場合であっても、残渣の発生を抑制することができる。
またさらに、不活性ガスを用いてドライエッチング処理を行うようにすれば、毒性のある二酸化ルテニウムが生成されることもない。
不活性ガスとしては、例えば、窒素ガス、ヘリウムガス、アルゴンガス、キセノンガスなどを例示することができる。
この場合、ルテニウムやシリコンなどとの反応性が低いこと、形成されるイオンの質量が大きいことなどを考慮すると、不活性ガスとしてアルゴンガス、キセノンガスを用いることが好ましい。
またさらに、入手の容易さや経済性を考慮すると、不活性ガスとしてアルゴンガスを用いることが好ましい。
また、領域212aに露出しているキャッピング層203に効率よくイオンを入射させるために、低い圧力においてドライエッチング処理を行うようにすることが好ましい。
低い圧力においてドライエッチング処理を行うようにすれば、イオンとガスとの衝突が少なくなるので、領域212aに露出しているキャッピング層203に効率よくイオンを入射させることができる。そのため、キャッピング層203の除去効率を向上させることができる。
この場合、ドライエッチング処理における処理圧力は、例えば、1Pa程度とすることができる。
また、ドライエッチング処理における不活性ガスの流量は、例えば、100sccm程度とすることができる。
また、自己バイアス電圧を発生させてドライエッチング処理を行うようにすることが好ましい。
自己バイアス電圧を発生させてドライエッチング処理を行うようにすれば、生成されたイオンを加速して領域212aに露出しているキャッピング層203に衝撃させることができる。そのため、キャッピング層203の除去効率を向上させることができる。
自己バイアス電圧を発生させてドライエッチング処理を行う場合としては、例えば、後述する二周波プラズマエッチング装置などを用いてドライエッチング処理を行う場合を例示することができる。
自己バイアス電圧は、キャッピング層203の除去効率を向上させるように制御することができる。例えば、遮光領域217の形成において、パルス電圧をかけ、反射層202のエッチング時よりもキャッピング層203のエッチング時に電極部4の電位の振幅が大きくなるように制御し、イオンを引き寄せる力を強くすることができるようにする。
また、キャッピング層203のエッチング処理は、物理的なドライエッチング処理であるので、キャッピング層203とレジストマスク212とのエッチングの選択比がとれず、レジストマスク212をキャッピング層203と同様に除去しまう。そのため、キャッピング層203の除去が行われる領域(遮光領域217)に対応する電極部4の一部の領域を、他の領域と分割し、電位の制御を独立して行うようにすることもできる。その様にすれば、イオンの入射方向をキャッピング層203の除去が行われる領域(遮光領域217)に向かわせることができるので、レジストマスク212の厚さを維持しつつキャッピング層203を除去することができる。
ここで、不活性ガスを用いてイオンによる物理的なドライエッチング処理を行うようにすると、除去されたルテニウムなどが、吸収層204の側壁などに付着する場合がある。 吸収層204の側壁などに除去されたルテニウムなどが付着していると反射型マスクの品質が低下するおそれがある。
本発明者らの得た知見によれば、不活性ガスに、塩素を含むガスおよびフッ素を含むガスの少なくともいずれかを添加するようにすれば、吸収層204の側壁などに除去されたルテニウムなどが付着することを抑制することができる。
この場合、塩素を含むガスやフッ素を含むガスの添加量を多くしすぎると、イオンによる物理的なドライエッチング処理の効果が低減するおそれがある。
そのため、塩素を含むガスやフッ素を含むガスの添加量は、総ガス流量の4vol%未満とすることが好ましい。
すなわち、総ガス流量における不活性ガスの量を96vol%以上とすることが好ましい。
次に、図3(g)に戻って遮光領域217の形成についてさらに例示をする。
図3(g)に示すように、モリブデン層とシリコン層とを有する反射層202をドライエッチング処理する。
ここで、反射層202のドライエッチング処理を行うとレジストマスク212も除去されることになる。そのため、レジストマスク212の再形成が必要となる場合がある。
この場合、レジストの塗布、パターンの描画、ポスト・エクスポージャー・ベーク、現像などを繰り返し行うようにすれば生産性が著しく低下することになる。
また、反射層202をドライエッチング処理する際には、モリブデン層に対するエッチングレートとシリコン層に対するエッチングレートとの差が少なくなる様にすることが好ましい。モリブデン層に対するエッチングレートとシリコン層に対するエッチングレートとの差が大きくなれば、エッチングレートが大きい方の層のエッチング量が多くなるので、ドライエッチング処理された面が櫛歯状となるおそれがある。そして、ドライエッチング処理された面が櫛歯状となれば、反射型マスクの品質が低下したり、折損などが生じてパーティクルが発生したりするおそれがある。
この場合、塩素と酸素とを含むガスを用い、総ガス流量における酸素の添加量を5vol%以上、30vol%以下とすれば、ドライエッチング処理された面が櫛歯状となることを抑制することができる程度に、モリブデンに対するエッチングレートとシリコンに対するエッチングレートとの差を小さくすることができる。
またさらに、総ガス流量における酸素の添加量を5vol%以上、30vol%以下とすれば、ドライエッチング処理された面が櫛歯状となることを抑制することができ、且つ、少なくともレジストマスク212の再形成の回数を低減させることができる。
この場合、モリブデン、シリコン、レジストに対するそれぞれのエッチングレートを考慮してレジストの塗布厚みを設定すれば、レジストマスク212の再形成を行うことなく遮光領域217を形成することができる。
塩素と酸素とを含むガスとしては、例えば、塩素を含むガスと酸素ガスとの混合ガスなどを例示することができる。
この場合、塩素を含むガスとしては、例えば、Cl、CCl、HClなどを例示することができる。
ここで、反射層202におけるシリコン層が成膜時に酸化していたり、ドライエッチング処理に用いるガス中の酸素により酸化したりして、酸化シリコン層に変質している場合がある。
塩素と酸素とを含むガスを用いることは、酸化シリコン層に対する選択比が大きくなるガス条件である。そのため、酸化シリコン層のエッチングレートが非常に低くなり、酸化シリコン層が残渣となって残るおそれがある。
この様な場合には、塩素と酸素とを含むガスに、フッ素を含むガス(例えば、CF、CHF、NFなどやこれらの混合ガス)をさらに添加することによって、酸化シリコン層のエッチングレートを上げるようにすることができる。
そして、フッ素を含むガスを添加する場合において、塩素を含むガスに対するフッ素を含むガスの添加量を調整することで、モリブデンとシリコンをほぼ同じエッチングレートで除去することができるようになる。
この場合、総ガス流量におけるフッ素を含むガスであるCFの添加量を、5vol%以上、40vol%以下、酸素ガスの割合を20vol%程度とすると、レジストに対する選択比を維持したまま、モリブデンとシリコンをほぼ同じエッチングレートで除去することができる。
さらに、塩素と酸素とを含むガスを用いてドライエッチング処理した場合と比べて、酸化シリコン層のエッチングレートを10倍近く高くすることができる。そのため、酸化シリコン層が残渣とならないようなドライエッチング処理を行うことができる。
またさらに、キャッピング層203よりも厚みが厚い反射層202のドライエッチング処理においては、反射層202とレジストマスク212とのエッチングの選択比をとるために、化学的なドライエッチング処理を行う必要がある。つまり、キャッピング層203のドライエッチング処理の際に用いた不活性ガスの種類・流量は、反射層202のドライエッチング処理においては用いることができず切り替える必要がある。
この場合、キャッピング層203のドライエッチング処理の際に用いた不活性ガスの種類・流量を引き続き用いると、イオンによる物理的なドライエッチング処理が行われるため、レジストマスク212も反射層202と同様にエッチングされてしまうことになる。そのため、レジストマスク212が消耗し、レジストマスク212の再形成を行う必要が生じるおそれがある。
例えば、キャッピング層203に対しては、アルゴンと塩素の混合ガスを用いた物理的なドライエッチング処理を行い、反射層202に対しては処理ガスを切り替えて塩素と酸素の混合ガスを用いた化学的なドライエッチング処理を行うことができる。
次に、図3(h)に示すように、レジストマスク212を除去する。
この場合、前述したレジストマスク211の除去と同様に、例えば、アンモニアガスなどのような酸素を含まないガスを用いたドライアッシング処理を行うことができる。
以上のようにして、遮光領域217を形成することで、反射型マスク210が製造される。
[第2の実施形態]
図4は、第2の実施形態に係る反射型マスクの製造装置を例示するための模式断面図である。
図4に例示をする反射型マスクの製造装置は、二周波プラズマエッチング装置である。 図4に示すように、製造装置160には、処理容器161、処理容器161に設けられた搬入搬出口179を閉鎖するゲートバルブ177、処理容器161の内部に複数の処理ガスGを選択的に供給する供給部168、処理容器161の内部を排気する排気部169、供給部168を制御する制御部170などが設けられている。
処理容器161は、アルミニウムなどの導電性材料で形成され減圧雰囲気を維持可能となっている。処理容器161の天井中央部分には、処理ガスGを導入するための処理ガス導入口162が設けられている。
処理ガスGは、供給部168から処理ガス導入口162を介して処理容器161の内部に供給される。処理ガスGが処理容器161の内部に供給される際には、供給部168に設けられた図示しない処理ガス調整部により処理ガスGの流量や圧力などが調整される。
また、供給部168には制御部170が接続され、制御部170により供給部168を制御することで、処理容器161の内部に供給される処理ガスGの種類が切り替えられるようになっている。例えば、前述した反射層202、キャッピング層203、吸収体層204a、反射防止層204bをドライエッチング処理する際に、それぞれのドライエッチング処理に適した処理ガスGが供給できるようになっている。
処理容器161の天井部分であって、処理ガス導入口162の径外方向部分には誘電体材料(例えば、石英など)からなる誘電体窓21が設けられている。誘電体窓21の表面には導電体からなるコイル20が設けられている。コイル20の一端は接地され(図示せず)、他端は、整合器16aを介して高周波電源6cに接続されている。
処理容器161の内部には、被処理物Wをドライエッチング処理するための空間である処理空間163が設けられている。被処理物Wは、例えば、前述したマスクブランク200とすることができる。
処理空間163の下方には電極部4が設けられている。電極部4には高周波電源6bが整合器16を介して接続されている。また、処理容器161は接地されている。
製造装置160は、上部に誘導結合型電極を有し、下部に容量結合型電極を有する二周波プラズマエッチング装置である。すなわち、電極部4と処理容器161とが容量結合型電極を構成し、また、コイル20が誘導結合型電極を構成する。
高周波電源6bは、100KHz〜100MHz程度の周波数を有し、1KW程度の高周波電力を電極部4に印加するものとすることができる。
高周波電源6cは、100KHz〜100MHz程度の周波数を有し、3KW程度の高周波電力をコイル20に印加するものとすることができる。
整合器16、16aには図示しないチューニング回路が内蔵されており、図示しないチューニング回路で反射波を制御することによりプラズマPを制御することができるようになっている。
製造装置160においては、電極部4、処理容器161、高周波電源6b、高周波電源6c、コイル20などが、処理容器161の内部にプラズマPを発生させるプラズマ発生部となる。
電極部4は、周囲を絶縁リング5で覆われている。電極部4には被処理物Wが載置可能であり、被処理物Wを保持するための図示しない保持機構や、図示しない被処理物Wの受け渡し部などが内蔵されている。
処理容器161の底部には排気口167が設けられ、排気口167には圧力コントローラ8を介して真空ポンプなどのような排気部169が接続されている。排気部169は、処理容器161の内部が所定の圧力となるように排気する。処理容器161の側壁には、被処理物Wを搬入搬出するための搬入搬出口179が設けられ、搬入搬出口179を気密に閉鎖できるようゲートバルブ177が設けられている。ゲートバルブ177は、O(オー)リングのようなシール部材174を備える扉173を有し、図示しないゲート開閉機構により開閉される。扉173が閉まった時には、シール部材174が搬入搬出口179の壁面に押しつけられ、搬入搬出口179は気密に閉鎖される。
(反射型マスクの製造装置160の作用)
次に、製造装置160の作用について例示をする。
この場合、一例として、被処理物Wをマスクブランク200とし、マスクブランク200にドライエッチング処理を施して反射型マスク210を製造する場合を例に挙げて説明する。
また、一例として、基板201が低熱膨張材料から形成され、反射層202がモリブデン層とシリコン層とを有し、キャッピング層203が、反射層202の上に設けられ少なくともシリコンとルテニウムとを含む混在層203bと、混在層203bの上に設けられルテニウムからなる層203aとを有し、吸収体層204aがタンタルホウ素窒化物から形成され、反射防止層204bがタンタルホウ素酸化物から形成されている場合を例示する。
まず、前述したパターン領域216の形成を行う。
ゲートバルブ177の扉173を、図示しないゲート開閉機構により開く。
図示しない搬送部により、搬入搬出口179からマスクブランク200を処理容器内に搬入する。マスクブランク200は電極部4上に載置され、電極部4に内蔵された図示しない保持機構により保持される。
図示しない搬送部を処理容器161の外に退避させる。
図示しないゲート開閉機構によりゲートバルブ177の扉173を閉じる。
排気部169により処理容器161内を排気する。
そして、前述した反射防止層204bのドライエッチング処理を行う。
この場合、フッ素を含むガスを用いたドライエッチング処理を行うようにすることができる。
すなわち、まず、供給部168から処理ガス導入口162を介して処理空間163内にフッ素を含むガスが供給される。フッ素を含むガスは、例えば、CF、CHF、NFなどやこれらの混合ガスとすることができる。また、フッ素を含むガスの流量は60sccm程度とすることができる。
次に、高周波電源6cより100KHz〜100MHz程度の周波数を有する高周波電力がコイル20に印加される。また、高周波電源6bより100KHz〜100MHz程度の周波数を有する高周波電力が電極部4に印加される。なお、高周波電源6cと高周波電源6bとから印加される高周波電力の周波数が同じとなるようにすることが好ましい。例えば、高周波電源6cと高周波電源6bとから印加される高周波電力の周波数を13.56MHzとすることができる。
また、高周波電源6cは3KW程度の高周波電力を印加し、高周波電源6bは1KW程度の高周波電力を印加するものとすることができる。
すると、電極部4と処理容器161と、が容量結合型電極を構成するので、電極部4と処理容器161との間に放電が起こる。また、コイル20が誘導結合型電極を構成するので、コイル20から誘電体窓21を介して高周波電力が処理容器161の内部に導入される。そのため、電極部4と処理容器161との間に生じた放電と、処理容器161の内部に導入された高周波電力により処理空間163にプラズマPが発生する。発生したプラズマPによりフッ素を含むガスが励起、活性化されて中性活性種、イオン、電子などの反応生成物が生成される。この生成された反応生成物が、処理空間163内を下降してマスクブランク200に到達し、ドライエッチング処理が施される。なお、プラズマPの制御は、整合器16、16aに内蔵されている図示しないチューニング回路で反射波を制御することにより行う。
また、残余のフッ素を含むガスや反応生成物、副生成物の多くは、排気口167から処理容器161外に排出される。
このドライエッチング処理においては、反射防止層204bの表面に形成されたレジストマスク211を用いて、反射防止層204bの一部を除去する。すなわち、反射防止層204bのうち、レジストマスク211に覆われていない部分を除去する。
反射防止層204bのドライエッチング処理が終了すると、処理容器161内が排気される。そして、次に、吸収体層204aに対してドライエッチング処理が施される。
この場合、供給部168に設けられた図示しない切換部により、供給される処理ガスGの種類が切り替えられる。すなわち、供給部168から塩素を含むガスが供給され、塩素を含むガスを用いたドライエッチング処理が施される。塩素を含むガスとしては、例えば、Cl、CCl、HClなどやこれらの混合ガスとすることができる。塩素を含むガスの流量は180sccm程度とすることができる。
そして、反射防止層204bの場合と同様にして、反射防止層204bの表面に形成されたレジストマスク211を用いて、吸収体層204aの一部を除去する。すなわち、吸収体層204aのうち、レジストマスク211に覆われていない部分を除去する。
以上のようにして、パターン領域216の形成が行われる。
パターン領域216の形成が終了すると、処理容器161内の圧力とゲートバルブ177の扉173の外側の圧力とがほぼ等しくなるように、処理ガス導入口162からパージガスなどが導入される。
そして、ゲートバルブ177の扉173を図示しないゲート開閉機構により開く。
図示しない搬送部により、パターン領域216が形成されたマスクブランク200を搬出する。
処理容器161の外に搬出されたマスクブランク200は、残余のレジストマスク211の除去が行われ、必要に応じて、欠陥検査や欠陥部の修正などが行われる。
次に、前述した遮光領域217の形成を行う。
まず、処理容器161の外において、反射防止層204b、吸収体層204a及び露出したキャッピング層203の表面にレジストを塗布し、パターンの描画、ポスト・エクスポージャー・ベーク、現像などを行うことで所望のレジストパターンを有するレジストマスク212を形成する。
次に、前述したものと同様にして、マスクブランク200を処理容器内に搬入する。
そして、前述したものと同様にして、反射防止層204b、吸収体層204a、キャッピング層203、反射層202を順次ドライエッチング処理する。
この場合、キャッピング層203に対してドライエッチング処理を施す際に、供給部168は、不活性ガスを供給する。そして、イオンによる物理的なドライエッチング処理を行う。
この様にすれば、キャッピング層203がルテニウムを含む場合であっても、残渣の発生を抑制することができる。
また、吸収層204の側壁などに除去されたルテニウムなどが付着することを抑制するために、塩素を含むガスやフッ素を含むガスを添加することもできる。
例えば、アルゴンガスを用い、処理圧力を1Pa程度、アルゴンガスの流量を100sccm程度とすることができる。
また、塩素を含むガスやフッ素を含むガスを添加する場合には、塩素を含むガスやフッ素を含むガスの添加量を総ガス流量の4vol%未満とすることができる。
この場合、供給部168は、不活性ガスと、塩素を含むガスおよびフッ素を含むガスの少なくともいずれかと、を供給するとともに、総ガス流量における不活性ガスの量を96vol%以上とする。
反射層202のドライエッチング処理においては、塩素と酸素とを含むガスを用い、酸素の添加量を総ガス流量の5vol%以上、30vol%以下とすることができる。このような酸素の添加量とすれば、反射層202のドライエッチング処理された面が櫛歯状となることを抑制することができる。
また、例えば、吸収層204の総厚みが70nm程度、キャッピング層203の厚みが10nm程度、反射層202の総厚みが280nm程度、レジストマスク212の厚みが420nm以上であれば、酸素の添加量を総ガス流量の5vol%以上、30vol%以下とすることで、少なくともレジストマスク212の再形成の回数を大幅に低減させることができる。
また、前述したように、反射層202において、シリコン層が酸化され酸化シリコン層が形成されている場合には、塩素と酸素とを含むガスにフッ素を含むガス(例えば、CF、CHF、NFなどやこれらの混合ガス)をさらに添加することができる。
この場合、総ガス流量におけるフッ素を含むガスであるCFの添加量を、5vol%以上、40vol%以下にすることができる。
そのようにすれば、レジストに対する選択比を維持したまま、モリブデンとシリコンをほぼ同じエッチングレートで除去することができる。
さらに、塩素と酸素とを含むガスを用いてドライエッチング処理した場合と比べて、酸化シリコン層のエッチングレートを10倍近く高くすることができる。そのため、酸化シリコン層が残渣とならないようなドライエッチング処理を行うことができる。
なお、搬入や搬出に関連する作用、プラズマPを発生させることに関連する作用などは、パターン領域216を形成する場合と同様であるため詳細な説明は省略する。
また、残余のレジストマスク212の除去も前述したレジストマスク211の除去と同様とすることができる。
[第3の実施形態]
図5は、第3の実施形態に係る反射型マスクの製造装置を例示するための模式レイアウト図である。
前述した製造装置160は、1つの処理容器161の内部で、反射層202、キャッピング層203、および吸収層204に対するドライエッチング処理を行うものであるが、本実施の形態に係る反射型マスクの製造装置100は、それぞれの層に対するドライエッチング処理を行うための処理容器を備えている。
図5に示すように、反射型マスクの製造装置100には、ロードロック部110、トランスファー部120、搬送部130、第1の処理部140、第2の処理部150、第3の処理部180が設けられている。
ロードロック部110とトランスファー部120、トランスファー部120と第1の処理部140、トランスファー部120と第2の処理部150、トランスファー部120と第3の処理部180との間の壁面には搬入搬出口が形成されている。そして、各搬入搬出口を介してロードロック部110とトランスファー部120、トランスファー部120と第1の処理部140、トランスファー部120と第2の処理部150、トランスファー部120と第3の処理部180とがその内部空間を連通させるようにして接続されている。なお、ロードロック部110、トランスファー部120、第1の処理部140、第2の処理部150、第3の処理部180は、減圧雰囲気を維持することができるように気密構造となっている。
そして、トランスファー部120には、圧力コントローラ8を介して真空ポンプなどのようなトランスファー排気部129が接続されている。
トランスファー排気部129は、トランスファー部120の内部が所定の圧力となるように排気する。
そして、トランスファー部120の内部に被処理物W(例えば、マスクブランク200)がある場合には、トランスファー排気部129は、トランスファー部120の内部を排気して、トランスファー部120の内部の酸素濃度を大気の酸素濃度よりも低くする。
また、窒素ガスやヘリウムガスなどの不活性ガスを供給する不活性供給部128を設け、不活性供給部128からトランスファー部120の内部に不活性ガスを供給するようにすることもできる。トランスファー部120の内部を不活性ガスなどでパージするようにすれば、トランスファー部120の内部の酸素濃度を大気の酸素濃度よりも低くすることができる。
そして、トランスファー部120の内部に被処理物W(例えば、マスクブランク200)がある場合には、不活性供給部128は、トランスファー部120の内部を不活性ガスでパージして、トランスファー部120の内部の酸素濃度を大気の酸素濃度よりも低くする。
トランスファー部120の内部の酸素濃度を大気の酸素濃度よりも低くすれば、被処理物Wの表面が酸化されることを抑制することができる。そのため、ドライエッチング処理の安定性を向上させることができる。
また、ロードロック部110には、図示しない圧力コントローラを介して真空ポンプなどのような図示しない排気部が接続されている。
なお、ロードロック部110は必ずしも必要ではなく、必要に応じて適宜設けるようにすればよい。
また、各搬入搬出口を気密に閉鎖するための図示しないゲートバルブが設けられている。
搬送部130は、トランスファー部120内に設けられている。搬送部130は、反射型マスクの製造装置100の外部に設けられた図示しない搬送装置、第1の処理部140、第2の処理部150、第3の処理部180などとの間における被処理物W(例えば、マスクブランク200)の受け渡しや搬送などを行う。搬送部130は、例えば、被処理物Wを把持、搬送することのできるロボット装置などとすることができる。
第1の処理部140、第2の処理部150、第3の処理部180の構成は、例えば、前述した製造装置160と同様とすることができる。なお、反射型マスクの製造装置100に3つの処理部が設けられる場合を例示したがこれに限定されるわけではない。処理部の数は適宜変更することができる。例えば、反射層202、キャッピング層203、吸収体層204a、反射防止層204bに対するドライエッチング処理を行う4つの処理部と、残余のレジストマスク211とレジストマスク212に対するドライアッシング処理を行う1つの処理部を備えた反射型マスクの製造装置100とすることもできる。
なお、第1の処理部140、第2の処理部150、第3の処理部180の基本的な作用は、前述した製造装置160と同様とすることができる。また、ロードロック部110、トランスファー部120、搬送部130の基本的な作用は、既知の技術と同様とすることができる。そのため、これらの作用に関する説明は省略する。
以上、実施の形態について例示をした。しかし、本発明はこれらの記述に限定されるものではない。
前述の実施の形態に関して、当業者が適宜、構成要素の追加、削除若しくは設計変更を行ったもの、または、工程の追加、省略若しくは条件変更を行ったものも、本発明の特徴を備えている限り、本発明の範囲に包含される。
例えば、マスクブランク200、反射型マスク210、製造装置160、製造装置100などが備える各要素の形状、寸法、材質、配置、数などは、例示をしたものに限定されるわけではなく適宜変更することができる。
また、前述した各実施の形態が備える各要素は、可能な限りにおいて組み合わせることができ、これらを組み合わせたものも本発明の特徴を含む限り本発明の範囲に包含される。
100 製造装置、110 ロードロック部、120 トランスファー部、130 搬送部、140 第1の処理部、150 第2の処理部、160 製造装置、168 供給部、170 制御部、180 第3の処理部、200 マスクブランク、201 基板、202 反射層、203 キャッピング層、203a 層、203b 混在層、204 吸収層、204a 吸収体層、204b 反射防止層、216 パターン領域、217 遮光領域

Claims (6)

  1. 基板の上に設けられた、モリブデン層とシリコン層とを交互に積層した反射層と、
    前記反射層の最上層のシリコン層の上に設けられ、ルテニウムを含むキャッピング層と、
    前記キャッピング層の上に設けられた吸収層と、
    前記吸収層に設けられたパターン領域と、を備えた反射型マスクの製造方法であって、
    前記吸収層と前記キャッピング層と前記反射層とに前記パターン領域を囲む遮光領域を形成する工程を備え、
    前記遮光領域を形成する工程において、
    前記吸収層及び前記キャッピング層が露出した表面に形成され、前記遮光領域をパターンニングされたレジストをマスクとして、
    前記キャッピング層に対しては不活性ガスを用いた物理的なドライエッチング処理を施して前記キャッピング層を除去し、前記キャッピング層を除去することで露出した前記反射層に対しては塩素と酸素の混合ガスを用いた化学的なドライエッチング処理を施して前記反射層を除去する反射型マスクの製造方法。
  2. 前記反射型マスクは、前記反射層と、前記キャッピング層と、の間に、少なくともシリコンとルテニウムとを含む混在層をさらに備えている請求項1記載の反射型マスクの製造方法。
  3. 前記遮光領域を形成する工程において、前記物理的なドライエッチング処理を施す際に、前記不活性ガスに、塩素を含むガスおよびフッ素を含むガスの少なくともいずれかを添加する請求項1または2に記載の反射型マスクの製造方法。
  4. 基板の上に設けられた、モリブデン層とシリコン層とを交互に積層した反射層と、前記反射層の最上層のシリコン層の上に設けられルテニウムを含むキャッピング層と、前記キャッピング層の上に設けられた吸収層と、にパターン領域を囲む遮光領域を形成する反射型マスクの製造装置であって、
    処理容器と、
    前記処理容器の内部にガスを供給する供給部と、
    前記処理容器の内部を排気する排気部と、
    前記処理容器の内部にプラズマを発生させるプラズマ発生部と、
    を備え、
    前記吸収層及び前記キャッピング層が露出した面に形成され、前記遮光領域をパターンニングされたレジストをマスクとして、
    前記キャッピング層に対して物理的なドライエッチング処理を施して前記キャッピング層除去する際に、前記供給部は、不活性ガスを供給し、
    前記キャッピング層を除去することで露出した前記反射層に対して化学的なドライエッチングを施して前記反射層を除去する際に、前記供給部は、塩素と酸素の混合ガスを供給する反射型マスクの製造装置。
  5. 前記キャッピング層は、前記反射層の上に設けられ少なくともシリコンとルテニウムとを含む混在層と、前記混在層の上に設けられルテニウムからなる層と、を有する請求項4記載の反射型マスクの製造装置。
  6. 前記供給部は、前記不活性ガスと、塩素を含むガスおよびフッ素を含むガスの少なくともいずれかと、を供給する請求項4または5に記載の反射型マスクの製造装置。
JP2012199842A 2012-09-11 2012-09-11 反射型マスクの製造方法、および反射型マスクの製造装置 Active JP6226517B2 (ja)

Priority Applications (1)

Application Number Priority Date Filing Date Title
JP2012199842A JP6226517B2 (ja) 2012-09-11 2012-09-11 反射型マスクの製造方法、および反射型マスクの製造装置

Applications Claiming Priority (1)

Application Number Priority Date Filing Date Title
JP2012199842A JP6226517B2 (ja) 2012-09-11 2012-09-11 反射型マスクの製造方法、および反射型マスクの製造装置

Publications (2)

Publication Number Publication Date
JP2014056895A JP2014056895A (ja) 2014-03-27
JP6226517B2 true JP6226517B2 (ja) 2017-11-08

Family

ID=50613995

Family Applications (1)

Application Number Title Priority Date Filing Date
JP2012199842A Active JP6226517B2 (ja) 2012-09-11 2012-09-11 反射型マスクの製造方法、および反射型マスクの製造装置

Country Status (1)

Country Link
JP (1) JP6226517B2 (ja)

Families Citing this family (3)

* Cited by examiner, † Cited by third party
Publication number Priority date Publication date Assignee Title
US10347485B2 (en) 2014-09-17 2019-07-09 Hoya Corporation Reflective mask blank, method for manufacturing same, reflective mask, method for manufacturing same, and method for manufacturing semiconductor device
JP6651314B2 (ja) * 2014-12-26 2020-02-19 Hoya株式会社 反射型マスクブランク、反射型マスク及びその製造方法、並びに半導体装置の製造方法
US11531262B2 (en) * 2019-12-30 2022-12-20 Taiwan Semiconductor Manufacturing Co., Ltd. Mask blanks and methods for depositing layers on mask blank

Family Cites Families (10)

* Cited by examiner, † Cited by third party
Publication number Priority date Publication date Assignee Title
JP3340586B2 (ja) * 1995-04-28 2002-11-05 ローム株式会社 エッチング方法
JP2003031554A (ja) * 2001-07-16 2003-01-31 Matsushita Electric Ind Co Ltd ドライエッチング装置
JP2004228487A (ja) * 2003-01-27 2004-08-12 Matsushita Electric Ind Co Ltd ドライエッチング方法
JP4693395B2 (ja) * 2004-02-19 2011-06-01 Hoya株式会社 反射型マスクブランクス及び反射型マスク並びに半導体装置の製造方法
JP2009076786A (ja) * 2007-09-21 2009-04-09 Fujifilm Corp プラズマエッチング方法及びプラズマエッチング装置
JP4602430B2 (ja) * 2008-03-03 2010-12-22 株式会社東芝 反射型マスク及びその作製方法
DE112009000965B4 (de) * 2008-05-09 2020-08-20 Hoya Corp. Reflektive Maske und Verfahren zum Herstellen einer reflektiven Maske
JP5502450B2 (ja) * 2009-12-21 2014-05-28 株式会社東芝 反射型露光用マスク、反射型露光用マスクの検査方法、及び反射型露光用マスクの洗浄方法
JP5515773B2 (ja) * 2010-01-21 2014-06-11 大日本印刷株式会社 遮光枠を有する反射型マスクおよびその製造方法
JP6013720B2 (ja) * 2010-11-22 2016-10-25 芝浦メカトロニクス株式会社 反射型マスクの製造方法、および反射型マスクの製造装置

Also Published As

Publication number Publication date
JP2014056895A (ja) 2014-03-27

Similar Documents

Publication Publication Date Title
JP6013720B2 (ja) 反射型マスクの製造方法、および反射型マスクの製造装置
JP5921953B2 (ja) 反射型マスクの製造方法、および反射型マスクの製造装置
JP7314109B2 (ja) 反射型マスクの洗浄装置および反射型マスクの洗浄方法
CN104350584B (zh) 基板处理装置及基板处理方法
US8778574B2 (en) Method for etching EUV material layers utilized to form a photomask
JP6226517B2 (ja) 反射型マスクの製造方法、および反射型マスクの製造装置
KR102179938B1 (ko) 아우터 마스크, 플라즈마 처리 장치 및 포토마스크의 제조 방법
JP6979337B2 (ja) フォトマスクの製造方法
JP5725602B2 (ja) エッチング処理装置およびエッチング処理方法

Legal Events

Date Code Title Description
A621 Written request for application examination

Free format text: JAPANESE INTERMEDIATE CODE: A621

Effective date: 20150910

A711 Notification of change in applicant

Free format text: JAPANESE INTERMEDIATE CODE: A711

Effective date: 20160204

A521 Written amendment

Free format text: JAPANESE INTERMEDIATE CODE: A821

Effective date: 20160205

A977 Report on retrieval

Free format text: JAPANESE INTERMEDIATE CODE: A971007

Effective date: 20160629

A131 Notification of reasons for refusal

Free format text: JAPANESE INTERMEDIATE CODE: A131

Effective date: 20160704

A521 Written amendment

Free format text: JAPANESE INTERMEDIATE CODE: A523

Effective date: 20160902

A131 Notification of reasons for refusal

Free format text: JAPANESE INTERMEDIATE CODE: A131

Effective date: 20161104

A521 Written amendment

Free format text: JAPANESE INTERMEDIATE CODE: A523

Effective date: 20161227

A131 Notification of reasons for refusal

Free format text: JAPANESE INTERMEDIATE CODE: A131

Effective date: 20170516

A521 Written amendment

Free format text: JAPANESE INTERMEDIATE CODE: A523

Effective date: 20170628

TRDD Decision of grant or rejection written
A01 Written decision to grant a patent or to grant a registration (utility model)

Free format text: JAPANESE INTERMEDIATE CODE: A01

Effective date: 20170919

A61 First payment of annual fees (during grant procedure)

Free format text: JAPANESE INTERMEDIATE CODE: A61

Effective date: 20171010

R150 Certificate of patent or registration of utility model

Ref document number: 6226517

Country of ref document: JP

Free format text: JAPANESE INTERMEDIATE CODE: R150