JP6147746B2 - 収容具 - Google Patents

収容具 Download PDF

Info

Publication number
JP6147746B2
JP6147746B2 JP2014525729A JP2014525729A JP6147746B2 JP 6147746 B2 JP6147746 B2 JP 6147746B2 JP 2014525729 A JP2014525729 A JP 2014525729A JP 2014525729 A JP2014525729 A JP 2014525729A JP 6147746 B2 JP6147746 B2 JP 6147746B2
Authority
JP
Japan
Prior art keywords
holder
base member
wound
tubular body
container according
Prior art date
Legal status (The legal status is an assumption and is not a legal conclusion. Google has not performed a legal analysis and makes no representation as to the accuracy of the status listed.)
Active
Application number
JP2014525729A
Other languages
English (en)
Other versions
JPWO2014013751A1 (ja
Inventor
健大 鈴木
健大 鈴木
八木 宏
宏 八木
Current Assignee (The listed assignees may be inaccurate. Google has not performed a legal analysis and makes no representation or warranty as to the accuracy of the list.)
Terumo Corp
Original Assignee
Terumo Corp
Priority date (The priority date is an assumption and is not a legal conclusion. Google has not performed a legal analysis and makes no representation as to the accuracy of the date listed.)
Filing date
Publication date
Application filed by Terumo Corp filed Critical Terumo Corp
Publication of JPWO2014013751A1 publication Critical patent/JPWO2014013751A1/ja
Application granted granted Critical
Publication of JP6147746B2 publication Critical patent/JP6147746B2/ja
Active legal-status Critical Current
Anticipated expiration legal-status Critical

Links

Images

Classifications

    • AHUMAN NECESSITIES
    • A61MEDICAL OR VETERINARY SCIENCE; HYGIENE
    • A61MDEVICES FOR INTRODUCING MEDIA INTO, OR ONTO, THE BODY; DEVICES FOR TRANSDUCING BODY MEDIA OR FOR TAKING MEDIA FROM THE BODY; DEVICES FOR PRODUCING OR ENDING SLEEP OR STUPOR
    • A61M25/00Catheters; Hollow probes
    • A61M25/002Packages specially adapted therefor ; catheter kit packages
    • AHUMAN NECESSITIES
    • A61MEDICAL OR VETERINARY SCIENCE; HYGIENE
    • A61MDEVICES FOR INTRODUCING MEDIA INTO, OR ONTO, THE BODY; DEVICES FOR TRANSDUCING BODY MEDIA OR FOR TAKING MEDIA FROM THE BODY; DEVICES FOR PRODUCING OR ENDING SLEEP OR STUPOR
    • A61M25/00Catheters; Hollow probes
    • A61M25/01Introducing, guiding, advancing, emplacing or holding catheters
    • A61M25/09Guide wires
    • A61M25/09041Mechanisms for insertion of guide wires

Landscapes

  • Health & Medical Sciences (AREA)
  • Life Sciences & Earth Sciences (AREA)
  • Hematology (AREA)
  • Animal Behavior & Ethology (AREA)
  • Engineering & Computer Science (AREA)
  • Anesthesiology (AREA)
  • Biomedical Technology (AREA)
  • Heart & Thoracic Surgery (AREA)
  • Biophysics (AREA)
  • Pulmonology (AREA)
  • General Health & Medical Sciences (AREA)
  • Public Health (AREA)
  • Veterinary Medicine (AREA)
  • Media Introduction/Drainage Providing Device (AREA)
  • Packages (AREA)
  • Packaging Of Annular Or Rod-Shaped Articles, Wearing Apparel, Cassettes, Or The Like (AREA)

Description

本発明は、医療用長尺体を収容する収容具に関する。
近年、血管等の管腔内にカテーテルを挿入して、造影剤や制癌剤等の薬液を投与したり、カテーテルを通してステントなどを挿入して留置したりする手技が行われている。この際には、通常、ガイドワイヤを管腔内に先行させ、ガイドワイヤに沿ってカテーテルを目的位置まで挿入させている。
ガイドワイヤは、通常、所定の形状の収容具に収容されて保管、搬送される。例えば特許文献1には、環状に巻回された管体であるホルダが留め具によって形状維持された、ガイドワイヤ用の収容具が記載されている。この収容具は、ホルダの先端部に、ガイドワイヤをカテーテル等に挿入する操作を補助するためのインサータが接続されており、ガイドワイヤの先端部がインサータから突出するようにしてガイドワイヤが収容され、滅菌状態を維持するために全体が包装体で包装されている。ホルダは、一部の曲率半径が小さくなっており、この部位の摩擦抵抗によってガイドワイヤの飛び出しを抑制している。
特開2006−6782号公報
しかしながら、上述の収容具にガイドワイヤを収容しても、搬送時の振動や衝撃により、包装体内で環状に巻回された管体が巻回方向に回転したり、インサータからガイドワイヤ先端部が突出するなどして、ガイドワイヤが意図せずに変形に至る場合がある。
本発明は、上述した課題を解決するためになされたものであり、包装体内での管体の巻回方向への回転を抑制し、管体に収容される医療用長尺体の先端部の変形を抑制できる収容具を提供することを目的とする。
上記目的を達成する収容具は、医療用長尺体を収容するために環状に巻回されたチューブ状の管体と、巻回されて隣接する前記管体同士を固定する留め部材と、前記留め部材に係合する係合部を備えるとともに、環状に巻回される前記管体の環の外側まで達し、前記管体の前記医療用長尺体が導出される端部を覆う台部材と、を有し、前記係合部は、巻回されて隣接する前記管体同士の間に差し込まれている収容具である。
上記のように構成した収容具は、台部材が環状に巻回される前記管体の環の外側まで達しているため、台部材が包装体内で包装体の内縁と接し、管体の巻回方向への回転を抑制できる。さらに、台部材が、管体の医療用長尺体が導出される端部を覆っているため、包装体に包装されても、医療用長尺体の先端部が包装体の内縁へ接触することを抑制できる。
前記係合部が、前記留め部材を前記管体の巻回方向の両側から挟んで当該留め部材に係合するようにすれば、管体の巻回方向への回転を良好に抑制できる。前記台部材は、巻回された前記管体を当該管体の一方面側である裏面側から支持し、前記係合部は、前記管体に対して前記裏面側の反対側である表面側に被さり、かつ表面側から裏面側へ向かって、巻回されて隣接する前記管体同士の間に差し込まれてもよい。また、前記台部材は、シート状であってもよい。
前記係合部は、巻回されて隣接する前記管体同士の間に差し込まれる位置に孔部を有し、前記留め部材が前記孔部を貫通すようにすれば、留め部材を穴部に挿通する簡便な操作で、係合部を留め部材に対して容易かつ堅固に取り付けることが可能となる。
前記穴部は、前記台部材の縁部から連続して形成されるようにすれば、留め部材を台部材の縁部から穴部へ配置させることが可能となり、係合部を留め部材へ容易に係合させることができる。
前記台部材が、前記管体に係合する補助係合部をさらに有するようにすれば、台部材と管体との係合が強固となり、包装体に包装された際に、より確実に包装体内での管体の回転を抑制できる。
前記台部材が、前記医療用長尺体の前記管体から導出されている部位の全体を覆うようにすれば、包装体に包装された際に、医療用長尺体が包装体の内縁へ接触することを確実に抑制できる。
前記台部材が、前記管体の一部のみを覆うようにすれば、包装体内で台部材が嵩張らず、包装体からの良好な取り出し性を維持できる。
前記収容体に収容され、包袋されてなる前記医療用長尺体であれば、包装体での管体の巻回方向への回転が抑制されることで、医療用長尺体の包装体との接触が抑制されて、医療用長尺体の管体から導出される先端部の変形を抑制できる。
本発明の一実施形態に係る収容具を示す平面図である。 留め部材を示す斜視図である。 台部材を示す斜視図である。 ホルダからガイドワイヤが突出する際を示す平面図である。 台部材の変形例を示す平面図である。 台部材の他の変形例を示す平面図である。 台部材のさらに他の変形例を示す斜視図である。 図7に示す台部材を適用された収容具を示す平面図である。 台部材のさらに他の変形例を示す平面図である。 図9に示す台部材をホルダに取り付けた際を示す平面図である。 図10に示す台部材を包装体に収容した際を示す平面図である。 図10に示す台部材をホルダから取り外す際を示す平面図である。
以下、図面を参照して、本発明の実施の形態を説明する。なお、図面の寸法比率は、説明の都合上、誇張されて実際の比率とは異なる場合がある。
本実施形態に係る収容具10は、図1に示すように、ガイドワイヤW(医療用長尺体)を保管、搬送する目的でガイドワイヤWを収容するものである。収容具10は、ガイドワイヤWを内部に収容するチューブ状のホルダ20(管体)と、ガイドワイヤWの基端部を保持してホルダ20の基端部に連結されるコネクタ30と、ホルダ20の形状を維持するためにホルダ20に取り付けられる留め部材40と、ホルダ20の先端部に連結されるインサータ50(管体)と、ホルダ20の先端部に取り付けられる台部材60と、これらを滅菌した状態で内部に保持する包装体70と、を備えている。なお、ホルダ20の先端部は、巻回されるホルダ20の外側の端部であり、ホルダ20の基端部は、巻回されるホルダ20の内側の端部である。ホルダ20およびインサータ50は、連結されて1つの管体を構成する。
インサータ50は、先端に向かって縮径するチューブ状に形成されており、ホルダ20の先端部に取り付けられて、ガイドワイヤWの先端部を保護するとともに、ガイドワイヤWをカテーテルに挿入する際のガイドとなる。
ホルダ20内に収容されるガイドワイヤWとしては、公知のものが使用される。例えば、ステンレスや超弾性合金(Ni−Ti)等からなる芯線に、例えば、ポリエチレン、ポリ塩化ビニル、ポリエステルポリプロピレン、ポリアミド、ポリウレタン、ポリスチレン、ポリカーボネート、フッ素系樹脂(PTFE、ETFE)、その他各種エラストマー等の合成樹脂を被覆したもの等が使用されるが、材料や構成は特に限定されない。
ホルダ20は、所定長さで伸びるチューブが複数回(本実施形態では5〜6回)巻回されて、全体として渦巻き形状となっている。渦巻きの内側に配置されるホルダ20の基端部には、ハブ部21が形成されている。ホルダ20の材料は、特に限定されないが、ポリエチレン、ポリプロピレン、エチレン−プロピレン共重合体、エチレン−酢酸ビニル共重合体等のポリオレフィン、ポリ塩化ビニル、ポリスチレン、ポリアミド、ポリイミド等が適用できる。
コネクタ30は、縦方向にスリット31が形成されたチューブ状に形成されており、スリット31からガイドワイヤWを内部に収容し、ホルダ20のハブ部21に指し込まれることで、弾性力によってガイドワイヤWの基端部を挟むように保持してホルダ20に連結される。コネクタ30の材料は、特に限定されず、例えば、ポリエチレン、ポリプロピレン、エチレン−プロピレン共重合体等のポリオレフィン、ポリ塩化ビニル、ポリスチレン、ポリアミド、ポリカーボネート、アクリル系樹脂などの各種樹脂材料等が適用できるが、弾性的に変形できるように比較的軟質の材料であることが好ましい。
留め部材40は、ホルダ20の周方向(巻回方向)の数箇所に設けられ、隣接するチューブ同士を並列させた状態で固定している。留め部材40は、図2に示すように、ホルダ20が収容される凹部41が並んで配置されており、ホルダ20を凹部41に押し込むことで、ホルダ20に連結され、ホルダ20の渦巻き形状を維持する。留め部材40の材料は、特に限定されず、例えば、ポリエチレン、ポリプロピレン、エチレン−プロピレン共重合体等のポリオレフィン、ポリ塩化ビニル、ポリスチレン、ポリアミド、ポリカーボネート、アクリル系樹脂などの各種樹脂材料等が適用できる。
台部材60は、1枚のシート状の厚紙により形成されており、ホルダ20の先端部の近傍に設けられる留め部材40を挟んで留め部材40と係合する1対の係合部61A,61Bと、ホルダ20に係合する補助係合部62A,62Bと、を備えている。台部材60は、ホルダ20の先端部の領域を、一方面側(図1の裏面側)から支持している。台部材60は、矩形形状で形成され、包装体70を傷つけないよう、四隅が円形となるように切り取られている。
各々の係合部61A,61Bは、爪状に形成されており、ホルダ20の渦巻き形状の最も外側のチューブに被せられ、最外のチューブとその内側のチューブとの間に差し込まれて、留め部材40に係合される。一対の係合部61A,61Bは、留め部材40を、巻回されるホルダ20の巻回方向の両側から挟んでいるため、ホルダ20の径方向の移動を制限するとともに、巻回方向の移動をも制限する。
一方の補助係合部62Aは、爪状に形成されており、ホルダ20の渦巻き形状の外側からチューブに被せられ、一方の補助係合部62Bは、爪状に形成されており、ホルダ20の渦巻き形状の内側からチューブに被せられる。これにより、一対の補助係合部62A,62Bは、ホルダ20の径方向の移動を制限する。
台部材60は、ガイドワイヤWの、ホルダ20およびインサータ50から導出されている部位の全体のみを覆っていても、ホルダ20の全体を覆っていてもよい。台部材60は、図4に示すように、収容具10に衝撃や振動が作用した際に、ガイドワイヤWがインサータ50から突出する範囲Xをも覆っている。なお、ガイドワイヤWの軸方向の移動は、ホルダ20の基端側のコネクタ30で固定されているのみであるため、ホルダ20内の遊びの存在により、容易に突出する。
台部材60の材料は、紙であるが、特に限定されず、ポリエチレン、ポリプロピレン、エチレン−プロピレン共重合体、エチレン−酢酸ビニル共重合体等のポリオレフィン、ポリ塩化ビニル、ポリスチレン、ポリアミンド、ポリイミド等を適用できる。
包装体70は、ホルダ20にガイドワイヤWを収容し、ホルダにコネクタ30、インサータ50および台部材60を連結し、これら全体を滅菌した状態で内部に保持する。包装体70は、矩形形状で形成され、内部空間の四隅の1つ又は全体に、台部材60が配置される。包装体70の内部空間の最外部に形成される内縁71には、台部材60が接触し得る。
次に、本実施形態に係る収容具10の作用を説明する。
本実施形態に係る収容具10は、台部材60が環状に巻回されるホルダ20の環の外側まで達しているため、台部材60が包装体70内で包装体70の内縁71と接し、管体の巻回方向への回転が抑制される。ホルダ20が巻回方向へ回転すると、ホルダ20から導出されているガイドワイヤWが包装体70の内縁71と接して曲がりやすいが、回転が抑制されるため、ガイドワイヤWの先端部の変形を抑制できる。また、ガイドワイヤWが包装体70と接触しにくくなるため包装体70の損傷をも低減できる。さらに、台部材60が、ホルダ20およびインサータ50により構成される管体のガイドワイヤWが導出される端部を覆っているため、包装体70に包装されても、ガイドワイヤWの先端部が、ガイドワイヤWの包装体70の内縁71に接触することが抑制される。このため、収容具10に衝撃や振動が作用しても、包装体70内でのホルダ20の巻回方向への回転が抑制され、ガイドワイヤWの先端部の変形を抑制できる。
また、係合部61A,61Bが、留め部材40をホルダ20の巻回方向の両側から挟んで当該留め部材40に係合するため、ホルダ20の巻回方向への回転を良好に抑制できる。
また、ホルダ20に台部材60を取り付ける際には、ホルダ20を留め部材40によって固定した後に、渦巻き形状のホルダ20に台部材60を取り付けることができ、ホルダ20を巻回しながら台部材60に固定する必要がなく、作業性が高い。
また、巻回されるホルダ20の一部の曲率半径を小さくして摩擦抵抗によってガイドワイヤWの飛び出しを抑制する構成ではないため、ガイドワイヤWの取り出し抵抗が増加せず、かつガイドワイヤWに曲がり癖が付きにくい。
また、台部材60は、収容具10に衝撃や振動が作用した際に、ガイドワイヤWがインサータ50から突出する範囲Xをも覆っているため、ガイドワイヤWの先端部の変形をより確実に抑制できる。
また、台部材60が、ホルダ20に係合する補助係合部62A,62Bをさらに有するため、台部材60とホルダ20の係合がより強固となり、包装体70に包装された際に、より確実に包装体70内でのホルダ20の移動を抑制し、ガイドワイヤWの先端部の変形を抑制できる。
また、台部材60が、ガイドワイヤWの、ホルダ20から導出されている部位の全体を覆っているため、ガイドワイヤWの包装体70との接触を抑制してガイドワイヤWの先端部の変形を抑制することができる。
また、台部材60が、ホルダ20の一部のみを覆っているため、包装体70内で台部材60が嵩張らず、包装体70からの良好な取り出し性を維持でき、包装の作業も容易となり、かつコストを削減できる。
なお、本発明は、上述した実施形態のみに限定されるものではなく、本発明の技術的思想内において当業者により種々変更が可能である。例えば、図5に示すように、1対の係合部81A,81Bが、ホルダ20のチューブの2本以上を保持してもよい。
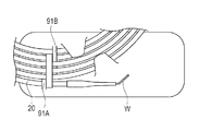
また、図6に示すように、一対の係合部91A,91Bが、巻回されているホルダ20を、内側および外側から挟むように保持してもよい。
また、図7,8に示すように、台部材100が、留め部材40が貫通する穴部103が形成される係合部101と、ホルダ20に係合する補助係合部102と、を備えるようにしてもよい。補助係合部102は、爪状に形成されており、ホルダ20の渦巻き形状の外側からチューブに被せられ、ホルダ20の径方向の移動を制限している。係合部101は、台部材100の縁部に爪状に形成されており、ホルダ20の最外周側の2つのチューブの間に、一方面側(図8の裏面側)から差し込まれて、穴部103に留め部材40が貫通されている。このように係合させるには、留め部材40に連結されたホルダ20のチューブのうち、最外周側のチューブを留め部材40から外し、係合部101をチューブの間に差し込んだ後、穴部103に留め部材40を挿通させて、留め部材40から外されたチューブを再び留め部材40に押し込んで連結する。これにより、留め部材40は、係合部101によってホルダ20の巻回方向の両側から挟むように確実に保持されて、ホルダ20の径方向の移動が制限されるとともに、巻回方向の移動をも制限される。このように、係合部101は、留め部材40を穴部103に挿通する簡便な操作で容易かつ確実に取り付けることが可能となり、しかも、係合部101の係合が引っ掛けるのみの構成よりも強固となって、ガイドワイヤWの先端部の変形をより確実に抑制できる。なお、係合部101は、ホルダ20の最外周側の2つのチューブの間ではなしに、他の2つのチューブの間に差し込まれてもよい。
そして、係合部101には、穴部103の穴を解放するように破断される脆弱部105が、台部材100の縁部から穴部103に延びて形成されてもよい。脆弱部105は、例えばミシン目、溝、または切欠き等によって形成されており、台部材100を引っ張ることで破断されて、穴部103に保持されている留め部材40が穴部103から解放される。これにより、台部材100をホルダ20から容易に取り外すことが可能となる。なお、脆弱部105は、かならずしも形成されなくてもよい。
また、補助係合部62A,62Bは、設けられなくてもよい。また台部材は、ホルダ20の一部のみを覆うのではなく、ホルダ20の全体を覆ってもよい。また、係合部は、留め部材40に係合できるのであれば構成は限定されず、例えば、弾性力によって留め部材40を挟持するクリップのような形態であってもよい。また、台部材は、シート状でなくてもよい。
また、台部材には、各種情報を記載することができる。記載する情報としては、ガイドワイヤWのサイズ、使用時の注意書き等が挙げられる。また、各種情報の記載方法は台部材に直接印刷されていても、予め印刷したものを台部材に貼り付けてもよい。また、台部材の余白部分に例えば、ガイドワイヤの回転操作を補助するためのトルクデバイスや先端形状付けを行うため為のマンドレルを取り付けてもよい。
また、本実施形態では、ホルダ20とインサータ50とで1つの管体を構成しているが、インサータ50が設けられずに、ホルダのみで管体を構成してもよい。また、収容具は、ガイドワイヤ以外の、バルーンカテーテルやマイクロカテーテル等の他の医療用長尺体を収容するものであってもよい。
また、図9に示す変形例のように、台部材110が、留め部材40が貫通する穴部113が形成される係合部111と、ホルダ20に係合する補助係合部112A,112Bと、を備えるようにしてもよい。穴部113は、台部材110の縁部から延びる切り込み部114によって、縁部と連続して形成される。台部材110は、切り込み部114を挟んで一方側に、補助係合部112A,112Bを備える第1部位116が位置し、切り込み部114を挟んで他方側に、第1部位116よりも小面積の第2部位117が位置する。補助係合部112A,112Bは、台部材110の縁部が突出するように爪状に形成されており、いずれも、ホルダ20の渦巻き形状の外側からホルダ20に被さることができる。
台部材110の材料および寸法は、特に限定されないが、一例として、低発泡ポリエチレン製のシートとすることができる。
台部材110は、図10に示すように、ホルダ20の最外周側の2つのチューブの間において、切り込み部114を利用して、穴部113に留め部材40が収まるように係合部111がホルダ20に係合される。これにより、ホルダ20の巻回方向および径方向への移動が抑制される。そして、一方の補助係合部112Bは、ホルダ20の渦巻き形状の外側からチューブの裏面側に被せられ、他方の補助係合部112Aは、ホルダ20の渦巻き形状の外側からチューブの表面側に被せられた状態とする。これにより、ホルダ20の径方向への移動をより効果的に抑制できる。
ガイドワイヤWを収容したホルダ20、コネクタ30、インサータ50および台部材110は、図11に示すように、包装体70に収容させる。本形態によっても、台部材110が環状に巻回されるホルダ20の環の外側まで達しているため、台部材110が包装体70内で包装体70の内縁71と接し、ホルダ20の巻回方向への回転が抑制される。
台部材110をホルダ20から取り外す際には、包装体70を開封して取り出した後、図12に示すように、台部材110をホルダ20の径方向外方へ引くことで、ホルダ20に対して径方向外方から被さる補助係合部112A,112Bをホルダ20から容易に離脱させつつ、台部材110を穴部113にて引きちぎるようにして第2部位117を第1部位116から切り離し、台部材110をホルダ20から容易に取り外すことができる。なお、台部材110が引きちぎれやすいように、係合部111に、例えばミシン目、溝、または切欠き等によって形成される脆弱部が形成されてもよい。また、台部材110を、引きちぎらないようにホルダ20から取り外すこともできる。
このように、図9〜12に示す台部材110によれば、穴部113が、台部材110の縁部から延びる切り込み部114によって縁部と連続して形成されているため、ホルダ20のチューブを留め部材40から外すことなしに、係合部111を留め部材40へ容易に係合させることができる。そして、留め部材40が、係合部111によってホルダ20の巻回方向の両側から挟むように確実に保持されて、ホルダ20の径方向の移動が制限されるとともに、巻回方向の移動をも制限される。なお、係合部111は、ホルダ20の最外周側の2つのチューブの間ではなしに、他の2つのチューブの間に差し込まれてもよい。また、補助係合部112Aをホルダ20の表面側に被せるのではなしに、補助係合部112Bをホルダ20の表面側に被せてもよい。
さらに、本出願は、2012年7月19日に出願された日本特許出願番号2012−160397号に基づいており、それらの開示内容は、参照され、全体として、組み入れられている。
10 収容具、
20 ホルダ(管体)、
40 留め部材、
50 インサータ(管体)、
60,100,110 台部材、
61A,61B,81A,81B,91A,91B,101,111 係合部、
62A,62B,102,112A,112B 補助係合部、
103,113 穴部、
W ガイドワイヤ(医療用長尺体)。

Claims (10)

  1. 医療用長尺体を収容するために環状に巻回されたチューブ状の管体と、
    巻回されて隣接する前記管体同士を固定する留め部材と、
    前記留め部材に係合する係合部を備えるとともに、環状に巻回される前記管体の環の外側まで達し、前記管体の前記医療用長尺体が導出される端部を覆う台部材と、を有し、
    前記係合部は、巻回されて隣接する前記管体同士の間に差し込まれている収容具。
  2. 前記係合部は、前記留め部材を前記管体の巻回方向の両側から挟んで前記留め部材に係合する請求項1に記載の収容具。
  3. 前記台部材は、巻回された前記管体を当該管体の一方面側である裏面側から支持し、
    前記係合部は、前記管体に対して前記裏面側の反対側である表面側に被さり、かつ表面側から裏面側へ向かって、巻回されて隣接する前記管体同士の間に差し込まれている請求項1または2に記載の収容具。
  4. 前記台部材は、シート状である請求項1〜3のいずれか1項に記載の収容具。
  5. 前記係合部は、巻回されて隣接する前記管体同士の間に差し込まれる位置に孔部を有し、前記留め部材が前記孔部を貫通する請求項1〜4のいずれか1項に記載の収容具。
  6. 前記穴部は、前記台部材の縁部から連続して形成される請求項に記載の収容具。
  7. 前記台部材は、前記管体に係合する補助係合部をさらに有する請求項1〜のいずれか1項に記載の収容具。
  8. 前記台部材は、前記医療用長尺体の前記管体から導出されている部位の全体を覆う請求項1〜のいずれか1項に記載の収容具。
  9. 前記台部材は、前記管体の一部のみを覆う請求項1〜のいずれか1項に記載の収容具。
  10. 請求項1〜のいずれか1項に記載の前記収容体に収容され、包袋されてなる前記医療用長尺体。
JP2014525729A 2012-07-19 2013-03-12 収容具 Active JP6147746B2 (ja)

Applications Claiming Priority (3)

Application Number Priority Date Filing Date Title
JP2012160397 2012-07-19
JP2012160397 2012-07-19
PCT/JP2013/056717 WO2014013751A1 (ja) 2012-07-19 2013-03-12 収容具

Publications (2)

Publication Number Publication Date
JPWO2014013751A1 JPWO2014013751A1 (ja) 2016-06-30
JP6147746B2 true JP6147746B2 (ja) 2017-06-14

Family

ID=49948588

Family Applications (1)

Application Number Title Priority Date Filing Date
JP2014525729A Active JP6147746B2 (ja) 2012-07-19 2013-03-12 収容具

Country Status (5)

Country Link
US (1) US9789277B2 (ja)
EP (1) EP2875840B1 (ja)
JP (1) JP6147746B2 (ja)
CN (1) CN104254359B (ja)
WO (1) WO2014013751A1 (ja)

Families Citing this family (22)

* Cited by examiner, † Cited by third party
Publication number Priority date Publication date Assignee Title
WO2015013612A1 (en) * 2013-07-25 2015-01-29 Merit Medical Systems, Inc. Balloon catheter systems and methods
CN107106811B (zh) * 2014-10-31 2020-06-30 W.L.戈尔及同仁股份有限公司 包括导管矫直装置的导管包装件
JP6670758B2 (ja) 2014-12-26 2020-03-25 テルモ株式会社 収容具
JP6292627B2 (ja) * 2015-01-09 2018-03-14 朝日インテック株式会社 保護ケース
JP6371262B2 (ja) * 2015-08-13 2018-08-08 朝日インテック株式会社 包装体
US10549075B2 (en) * 2015-09-09 2020-02-04 M Micro Technologies, Inc. Medical guidewire dispenser
JP6619245B2 (ja) * 2016-01-27 2019-12-11 朝日インテック株式会社 医療機器の保護具
US10758706B2 (en) * 2016-11-16 2020-09-01 Boston Scientific Scimed, Inc. Catheter compatible stiffening stylet with packaging and device hold elements
US10052455B1 (en) * 2017-02-13 2018-08-21 Covidien Lp Medical device package
CN115624398A (zh) * 2017-02-16 2023-01-20 科里福罗公司 与医疗管有关的装置和方法
US10617844B2 (en) * 2017-03-06 2020-04-14 Covidien Lp Medical device package
JP6507189B2 (ja) * 2017-03-08 2019-04-24 矢崎総業株式会社 電線処理装置及び電線処理方法
WO2019217508A1 (en) * 2018-05-11 2019-11-14 Boston Scientific Scimed, Inc. Medical storage systems
USD889641S1 (en) * 2018-11-29 2020-07-07 Quickcool Ab Tube fixation device
JP7256023B2 (ja) * 2019-02-06 2023-04-11 朝日インテック株式会社 包装体
US11559667B2 (en) * 2019-03-18 2023-01-24 Makram R. Ebeid Guidewire retaining accessory
CN110420376B (zh) * 2019-06-27 2021-12-03 先健科技(深圳)有限公司 药物球囊导管用盘管及药物球囊导管装置
EP4343158A3 (en) * 2019-09-11 2024-06-19 Contech Medical, Inc. Systems for securing medical devices
CN110898311B (zh) * 2019-12-18 2020-11-24 苏州恒瑞迪生医疗科技有限公司 微导管系统及其包装方法
US20210251713A1 (en) * 2020-02-17 2021-08-19 Covidien Lp Medical device packaging systems
EP3978404A1 (en) 2020-10-01 2022-04-06 Poly-clip System GmbH & Co. KG Freely positionable clip line fixture for securing a free end of a clip line to a clip reel
CN113428515B (zh) * 2021-07-29 2024-07-26 东莞市美盈森环保科技有限公司 一种线材的包装结构

Family Cites Families (20)

* Cited by examiner, † Cited by third party
Publication number Priority date Publication date Assignee Title
US4332322A (en) * 1980-09-02 1982-06-01 Champion International Corporation Folder to hold coil of plastic tubing with clamp and fittings
EP0782868A1 (en) * 1996-01-08 1997-07-09 Schneider (Europe) Ag Packing system
IES960752A2 (en) * 1996-10-25 1997-07-16 Bard Connaught An improved catheter packaging system
US5947296A (en) * 1997-10-30 1999-09-07 Schneider/Namic Multipack package
ATE442878T1 (de) * 2002-09-03 2009-10-15 Clean Cut Technologies Llc Vorrichtung zur verpackung von länglichen chirurgischen vorrichtungen
JP4280526B2 (ja) * 2003-03-26 2009-06-17 テルモ株式会社 医療用器具
US7815045B2 (en) * 2003-09-23 2010-10-19 Boston Scientific Scimed, Inc. Mid-stream flushing adapter assembly
US7334678B2 (en) * 2004-02-13 2008-02-26 Boston Scientific Scimed, Inc. Guidewire hoops and methods pertaining thereto
US7328794B2 (en) * 2004-03-05 2008-02-12 Boston Scientific Scimed, Inc. Packaging for elongate medical devices and methods of manufacture and use thereof
JP4473266B2 (ja) * 2004-03-15 2010-06-02 テルモ株式会社 ガイドワイヤー組立体
DE602005014219D1 (de) * 2004-03-31 2009-06-10 Terumo Corp Katheterverpackungskörper
JP2006006782A (ja) 2004-06-29 2006-01-12 Sumitomo Bakelite Co Ltd 収納体
US7640714B2 (en) * 2005-09-30 2010-01-05 Wilson-Cook Medical, Inc. Medical device packaging assembly and method for medical device orientation
JP2008012196A (ja) * 2006-07-07 2008-01-24 Hi-Lex Corporation 医療用長尺巻物の台紙および医療用長尺巻物包装セット
JP5323520B2 (ja) * 2009-02-03 2013-10-23 テルモ株式会社 医療用長尺体格納具および医療用長尺体格納具組立体
JP2011194128A (ja) * 2010-03-23 2011-10-06 Terumo Corp ガイドワイヤ包装体
US8235209B2 (en) * 2010-08-11 2012-08-07 Boston Scientific Scimed, Inc. Medical device packaging and methods for preparing and packaging medical devices
US9492632B2 (en) * 2011-04-13 2016-11-15 Medtronic Vascular, Inc. Packaging for a catheter
US9022212B2 (en) * 2012-01-30 2015-05-05 Volcano Corporation Elongated endoluminal device packaging system and method
US9345854B2 (en) * 2012-11-26 2016-05-24 Lake Region Manufacturing, Inc. Distal shield for packaged guidewire

Also Published As

Publication number Publication date
EP2875840A1 (en) 2015-05-27
CN104254359A (zh) 2014-12-31
EP2875840B1 (en) 2017-06-07
WO2014013751A1 (ja) 2014-01-23
CN104254359B (zh) 2017-02-22
US9789277B2 (en) 2017-10-17
EP2875840A4 (en) 2016-03-16
JPWO2014013751A1 (ja) 2016-06-30
US20150094693A1 (en) 2015-04-02

Similar Documents

Publication Publication Date Title
JP6147746B2 (ja) 収容具
US11812948B2 (en) Suture packaging
JP6670758B2 (ja) 収容具
AU2015243528B2 (en) Urological kit packaging
JP2011194128A (ja) ガイドワイヤ包装体
JP2006006782A (ja) 収納体
US20260091196A1 (en) Provisioning device for storing and transporting catheters
JP6564273B2 (ja) 包装体
JP7114402B2 (ja) 胃瘻カテーテル
JP2006346075A (ja) 形状変更ができるガイドワイヤーホルダー
JP2026055400A (ja) 医療デバイス支持具
JP2023081519A (ja) 収容具
JP2026055401A (ja) 医療デバイス支持具
JP2015119938A (ja) 医療用具包装体
JPWO2019235434A1 (ja) 収容具
JP2023172186A (ja) 医療器具セット
WO2020135270A1 (zh) 医疗器械收纳装置及其制备方法
JP2019037660A (ja) 医療器具の包装体
JP2004283432A (ja) ガイドワイヤー誘導チップ

Legal Events

Date Code Title Description
A131 Notification of reasons for refusal

Free format text: JAPANESE INTERMEDIATE CODE: A131

Effective date: 20161011

A521 Request for written amendment filed

Free format text: JAPANESE INTERMEDIATE CODE: A523

Effective date: 20161124

A521 Request for written amendment filed

Free format text: JAPANESE INTERMEDIATE CODE: A523

Effective date: 20161212

TRDD Decision of grant or rejection written
A01 Written decision to grant a patent or to grant a registration (utility model)

Free format text: JAPANESE INTERMEDIATE CODE: A01

Effective date: 20170501

A61 First payment of annual fees (during grant procedure)

Free format text: JAPANESE INTERMEDIATE CODE: A61

Effective date: 20170517

R150 Certificate of patent or registration of utility model

Ref document number: 6147746

Country of ref document: JP

Free format text: JAPANESE INTERMEDIATE CODE: R150

R250 Receipt of annual fees

Free format text: JAPANESE INTERMEDIATE CODE: R250

R250 Receipt of annual fees

Free format text: JAPANESE INTERMEDIATE CODE: R250

R250 Receipt of annual fees

Free format text: JAPANESE INTERMEDIATE CODE: R250

R250 Receipt of annual fees

Free format text: JAPANESE INTERMEDIATE CODE: R250

R250 Receipt of annual fees

Free format text: JAPANESE INTERMEDIATE CODE: R250

R250 Receipt of annual fees

Free format text: JAPANESE INTERMEDIATE CODE: R250

R250 Receipt of annual fees

Free format text: JAPANESE INTERMEDIATE CODE: R250