JP6009536B2 - コネクタ - Google Patents

コネクタ Download PDF

Info

Publication number
JP6009536B2
JP6009536B2 JP2014505010A JP2014505010A JP6009536B2 JP 6009536 B2 JP6009536 B2 JP 6009536B2 JP 2014505010 A JP2014505010 A JP 2014505010A JP 2014505010 A JP2014505010 A JP 2014505010A JP 6009536 B2 JP6009536 B2 JP 6009536B2
Authority
JP
Japan
Prior art keywords
tooth
contact
terminal
contact portion
connector
Prior art date
Legal status (The legal status is an assumption and is not a legal conclusion. Google has not performed a legal analysis and makes no representation as to the accuracy of the status listed.)
Expired - Fee Related
Application number
JP2014505010A
Other languages
English (en)
Other versions
JPWO2013137415A1 (ja
Inventor
貴雄 小林
貴雄 小林
増田 享哉
享哉 増田
Current Assignee (The listed assignees may be inaccurate. Google has not performed a legal analysis and makes no representation or warranty as to the accuracy of the list.)
NHK Spring Co Ltd
Original Assignee
NHK Spring Co Ltd
Priority date (The priority date is an assumption and is not a legal conclusion. Google has not performed a legal analysis and makes no representation as to the accuracy of the date listed.)
Filing date
Publication date
Application filed by NHK Spring Co Ltd filed Critical NHK Spring Co Ltd
Publication of JPWO2013137415A1 publication Critical patent/JPWO2013137415A1/ja
Application granted granted Critical
Publication of JP6009536B2 publication Critical patent/JP6009536B2/ja
Expired - Fee Related legal-status Critical Current
Anticipated expiration legal-status Critical

Links

Images

Classifications

    • HELECTRICITY
    • H01ELECTRIC ELEMENTS
    • H01RELECTRICALLY-CONDUCTIVE CONNECTIONS; STRUCTURAL ASSOCIATIONS OF A PLURALITY OF MUTUALLY-INSULATED ELECTRICAL CONNECTING ELEMENTS; COUPLING DEVICES; CURRENT COLLECTORS
    • H01R13/00Details of coupling devices of the kinds covered by groups H01R12/70 or H01R24/00 - H01R33/00
    • H01R13/02Contact members
    • HELECTRICITY
    • H01ELECTRIC ELEMENTS
    • H01RELECTRICALLY-CONDUCTIVE CONNECTIONS; STRUCTURAL ASSOCIATIONS OF A PLURALITY OF MUTUALLY-INSULATED ELECTRICAL CONNECTING ELEMENTS; COUPLING DEVICES; CURRENT COLLECTORS
    • H01R13/00Details of coupling devices of the kinds covered by groups H01R12/70 or H01R24/00 - H01R33/00
    • H01R13/02Contact members
    • H01R13/04Pins or blades for co-operation with sockets
    • HELECTRICITY
    • H01ELECTRIC ELEMENTS
    • H01RELECTRICALLY-CONDUCTIVE CONNECTIONS; STRUCTURAL ASSOCIATIONS OF A PLURALITY OF MUTUALLY-INSULATED ELECTRICAL CONNECTING ELEMENTS; COUPLING DEVICES; CURRENT COLLECTORS
    • H01R13/00Details of coupling devices of the kinds covered by groups H01R12/70 or H01R24/00 - H01R33/00
    • H01R13/02Contact members
    • H01R13/28Contacts for sliding cooperation with identically-shaped contact, e.g. for hermaphroditic coupling devices
    • HELECTRICITY
    • H01ELECTRIC ELEMENTS
    • H01RELECTRICALLY-CONDUCTIVE CONNECTIONS; STRUCTURAL ASSOCIATIONS OF A PLURALITY OF MUTUALLY-INSULATED ELECTRICAL CONNECTING ELEMENTS; COUPLING DEVICES; CURRENT COLLECTORS
    • H01R13/00Details of coupling devices of the kinds covered by groups H01R12/70 or H01R24/00 - H01R33/00
    • H01R13/02Contact members
    • H01R13/10Sockets for co-operation with pins or blades
    • H01R13/11Resilient sockets
    • H01R13/115U-shaped sockets having inwardly bent legs, e.g. spade type
    • HELECTRICITY
    • H01ELECTRIC ELEMENTS
    • H01RELECTRICALLY-CONDUCTIVE CONNECTIONS; STRUCTURAL ASSOCIATIONS OF A PLURALITY OF MUTUALLY-INSULATED ELECTRICAL CONNECTING ELEMENTS; COUPLING DEVICES; CURRENT COLLECTORS
    • H01R4/00Electrically-conductive connections between two or more conductive members in direct contact, i.e. touching one another; Means for effecting or maintaining such contact; Electrically-conductive connections having two or more spaced connecting locations for conductors and using contact members penetrating insulation
    • H01R4/10Electrically-conductive connections between two or more conductive members in direct contact, i.e. touching one another; Means for effecting or maintaining such contact; Electrically-conductive connections having two or more spaced connecting locations for conductors and using contact members penetrating insulation effected solely by twisting, wrapping, bending, crimping, or other permanent deformation
    • H01R4/18Electrically-conductive connections between two or more conductive members in direct contact, i.e. touching one another; Means for effecting or maintaining such contact; Electrically-conductive connections having two or more spaced connecting locations for conductors and using contact members penetrating insulation effected solely by twisting, wrapping, bending, crimping, or other permanent deformation by crimping
    • H01R4/188Electrically-conductive connections between two or more conductive members in direct contact, i.e. touching one another; Means for effecting or maintaining such contact; Electrically-conductive connections having two or more spaced connecting locations for conductors and using contact members penetrating insulation effected solely by twisting, wrapping, bending, crimping, or other permanent deformation by crimping having an uneven wire-receiving surface to improve the contact

Landscapes

  • Coupling Device And Connection With Printed Circuit (AREA)
  • Connector Housings Or Holding Contact Members (AREA)

Description

本発明は、2つの接続対象物の間に介在し、2つの接続対象物間の電気的な導通を図るコネクタに関するものである。
従来、自動車等の内部に配設される電子機器を接続するために、2つの接続対象物の間に介在し、2つの接続対象物間を電気的に導通させることによって機器間を電気的に接続するコネクタが用いられている。このコネクタは、各接続対象物とそれぞれ連結した2つの端子を接触させて、接続対象物間を電気的に接続している。
ここで、コネクタにおいては、電子機器間を電気的に安定した状態で接続し続ける必要がある。安定した電気的導通を実現するためのコネクタとして、例えば、角柱状をなす中空空間を形成するメス端子の内部に設けられた接触部が、挿脱方向に沿って形成された溝部を有するオス端子の挿入に伴って、傾斜面または球面をなす溝部にガイドされるコネクタが開示されている(例えば、特許文献1参照)。
また、通電により発生した熱放散を行うことにより安定した電気的導通を実現するためのコネクタとして、例えば、角柱状をなす中空空間を形成するメス端子の内部にばね部を設け、挿脱方向に直交する方向の断面が略C字状をなすオス端子をメス端子の中空空間内に挿入した際にばね部がオス端子の側面を押し付けて接続するコネクタが開示されている(例えば、特許文献2参照)。このコネクタでは、メス端子のオス端子との内側面に、挿脱方向に延びる凸部が設けられ、オス端子のある側面と、メス端子の凸部とが接触することによって電気的導通が得られる。
特開2005−332658号公報 特開2007−179986号公報
ところで、自動車等に搭載するコネクタの場合には、大きな電流が流れても安定して電気的導通を行う必要がある。加えて、近年はコネクタ自体の小型化が望まれている。これに対して、特許文献1,2が開示する従来のコネクタを小型化すると、端子間の接触面積が減少して抵抗値が増大するため、大電流を流した場合に、通電による発熱を引き起こすおそれがあった。
また、特許文献1に記載のコネクタは、溝部の形状を斜面または球面として、オス端子の挿入位置のずれに対応できるものの、予測されるずれ量に応じて溝部を大きくしなければならないため、小型化には適していない。また、オス端子とメス端子との接触は、点または線接触となるため、接触面積が小さく、かつ抵抗値の低減および安定化には適していなかった。
本発明は、上記に鑑みてなされたものであって、抵抗値の増大や通電による発熱を抑制することができ、小型化が可能なコネクタを提供することを目的とする。
上述した課題を解決し、目的を達成するために、本発明にかかるコネクタは、二つの接続対象物の間に介在して該二つの接続対象物間の電気的な導通を図るコネクタであって、一方の表面が複数の連なる凹凸形状をなす第1歯部を有する板状の第1接触部と、前記第1接触部につながって、一方の接続対象物と接続する第1基部と、を有する導電性の第1端子と、一方の表面が複数の連なる凹凸形状をなし、前記第1歯部と歯合可能な第2歯部を有する板状の第2接触部と、前記第2接触部につながって、他方の接続対象物と接続する第2基部と、を有する導電性の第2端子と、を備え、前記第1歯部と前記第2歯部とが歯合することによって前記第1端子および前記第2端子の間が電気的に接続することを特徴とする。
また、本発明にかかるコネクタは、上記の発明において、前記第1歯部の歯先につながる側面のなす角度は、前記第2歯部の歯底につながる側面のなす角度と同一であることを特徴とする。
また、本発明にかかるコネクタは、上記の発明において、前記第1歯部の歯先につながる側面間の最大距離は、前記第2歯部の歯底につながる側面間の最大距離と同一であることを特徴とする。
また、本発明にかかるコネクタは、上記の発明において、前記第1および第2接触部は、その形状が湾曲し、前記第1および前記第2歯部のピッチ線がそれぞれ弧状をなしていることを特徴とする。
また、本発明にかかるコネクタは、上記の発明において、前記第1および前記第2歯部のピッチ線の形状は、非歯合状態において、互いに異なることを特徴とする。
また、本発明にかかるコネクタは、上記の発明において、前記第1および前記第2歯部のピッチ線の形状は、非歯合状態において、同一であることを特徴とする。
また、本発明にかかるコネクタは、上記の発明において、前記第1接触部の幅方向の端部から折り返される方向にそれぞれ延びるとともに、先端側の面が前記第1接触部と対向するように湾曲されてなる湾曲部を有し、前記第2接触部を前記第1接触部と前記湾曲部とがなす内部空間内に挿入した状態において、前記湾曲部と前記第2接触部とを互いに遠ざける方向に付勢する第1の部材をさらに備えたことを特徴とする。
また、本発明にかかるコネクタは、上記の発明において、前記第1接触部の幅方向の端部から折り返される方向に延びるとともに、先端側の面が前記第1接触部と対向するように湾曲され、前記第1接触部と前記第2接触部とを重ねた状態で、前記第2接触部を覆って保持する保持部を有することを特徴とする。
また、本発明にかかるコネクタは、上記の発明において、前記第1および第2接触部を重ねた状態において、前記第1および第2接触部に巻回されて、前記第1および第2接触部を互いに近づける方向に付勢する第2の部材をさらに備えたことを特徴とする。
また、本発明にかかるコネクタは、上記の発明において、前記第1歯部の単体歯先の半径は、前記第2歯部の単体歯底の半径と異なることを特徴とする。
また、本発明にかかるコネクタは、上記の発明において、前記第1歯部の単体歯先の半径は、前記第2歯部の単体歯底の半径より大きいことを特徴とする。
本発明によれば、各端子の接触面が、互いに歯合可能な凹凸形状をなす歯部によって歯合して接触するようにしたので、接触における表面積を大きく取るとともに、複数の単体歯部が互いに噛み合うことで各端子にこじれる力(偏荷重)が作用した場合であっても接触抵抗値を低くすることができるようになり、抵抗値の増大や通電による発熱を抑制して小型化が可能となるという効果を奏する。
図1は、本発明の実施の形態1にかかるコネクタの構成を模式的に示す斜視図である。 図2は、本発明の実施の形態1にかかるコネクタの構成を模式的に示す側面図である。 図3は、本発明の実施の形態1にかかるコネクタの端子の構成を模式的に示す側面図および上面図である。 図4は、図3に示す矢視A方向からみた端子の構成を示す図である。 図5は、図2に示す端子のB−B線断面を示す断面図である。 図6は、本発明の実施の形態1にかかるコネクタの端子の構成を模式的に示す側面図および上面図である。 図7は、図6に示す矢視C方向からみた端子の構成を示す図である。 図8は、本発明の実施の形態1にかかるコネクタの固定部材の構成を模式的に示す上面図および側面図である。 図9は、図2に示すコネクタのD−D線断面を示す断面図である。 図10は、本発明の実施の形態1にかかるコネクタの歯部の構成を示す模式図である。 図11は、本発明の実施の形態1にかかるコネクタの歯部の他の例の構成を示す模式図である。 図12は、接触抵抗比較試験の概要を示す模式図である。 図13は、接触抵抗比較試験の付加荷重−接触抵抗を示すグラフである。 図14は、本発明の実施の形態1の変形例1−1にかかるコネクタの端子の構成を模式的に示す斜視図である。 図15は、本発明の実施の形態1の変形例1−1にかかるコネクタの端子の構成を模式的に示す斜視図である。 図16は、本発明の実施の形態1の変形例1−2にかかるコネクタの端子の構成を模式的に示す斜視図である。 図17は、本発明の実施の形態1の変形例1−2にかかるコネクタの端子の構成を模式的に示す斜視図である。 図18は、本発明の実施の形態2にかかるコネクタの構成を模式的に示す斜視図である。 図19は、本発明の実施の形態2にかかるコネクタの端子の構成を模式的に示す側面図および上面図である。 図20は、図19に示す矢視E方向からみた端子の構成を示す図である。 図21は、本発明の実施の形態2にかかるコネクタの端子の構成を模式的に示す側面図および上面図である。 図22は、図21に示す矢視F方向からみた端子の構成を示す図である。 図23は、図18に示すコネクタのG−G線断面を示す断面図である。 図24は、本発明の実施の形態2の変形例2−1にかかるコネクタの端子の構成を示す図であって、図18に示すコネクタのG−G線断面に応じた断面図である。 図25は、本発明の実施の形態3にかかるコネクタの構成を模式的に示す斜視図である。 図26は、本発明の実施の形態3にかかるコネクタの端子の構成を模式的に示す側面図である。 図27は、図26に示す矢視H方向からみた端子の構成を示す図である。 図28は、図25に示すコネクタのI−I線断面を示す断面図である。 図29は、本発明の実施の形態3の変形例3−1にかかるコネクタの端子の構成を示す図であって、図25に示すコネクタのI−I線断面に応じた断面図である。 図30は、本発明の実施の形態3の変形例3−2にかかるコネクタの端子の構成を示す模式図である。
以下、本発明を実施するための形態を図面と共に詳細に説明する。なお、以下の実施の形態により本発明が限定されるものではない。また、以下の説明において参照する各図は、本発明の内容を理解でき得る程度に形状、大きさ、および位置関係を概略的に示してあるに過ぎない。すなわち、本発明は各図で例示された形状、大きさ、および位置関係のみに限定されるものではない。
(実施の形態1)
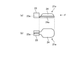
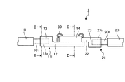
図1は、本実施の形態1にかかるコネクタ1の構成を模式的に示す斜視図である。図2は、本実施の形態1にかかるコネクタ1の構成を模式的に示す側面図である。図1,2に示すコネクタ1は、接続対象物とそれぞれ連結した端子同士が接触することで、2つの接続対象物の間に介在してこの2つの接続対象物間の電気的導通を行なうものである。
コネクタ1は、略平板状をなして延び、一方の接続対象物である導体10と連結し、導電性を有する第1端子としての端子11と、略平板状をなして延び、他方の接続対象物である導体20と連結し、導電性を有する第2端子としての端子21と、端子21の一部を覆うとともに、端子11,21との間を固定する固定部材30(第1の部材)と、を有する。導体10および導体20は、複数の電力線(電力線群101,201)が絶縁性樹脂等によって被覆されている。
図3は、本実施の形態1にかかる端子11の構成を模式的に示す側面図(a)および上面図(b)である。図4は、図3に示す矢視A方向からみた端子11の構成を示す図である。端子11は、略平板状をなす導電性材料からなる。端子11は、端子21と接触する接触部12(第1接触部)と、接触部12の幅方向および板厚方向と直交する方向の一方の端部に連結し、導体10と接続する基部13(第1基部)と、接触部12の幅方向の側面(端部)から接触部12の板面に垂直な方向にそれぞれ延びるとともに、端部側がこの板面と対向するように湾曲されてなる湾曲部14とを備える。
接触部12は、一方の表面が複数の連なる凹凸形状をなし、幅方向と直交する方向からみた側面において、この表面上で幅方向に連なる凹形状および凸形状を繰り返す歯部12a(第1歯部)を有する(図4参照)。
基部13は、両端が湾曲することによって端子11が延びる方向に沿った略柱状の中空空間を形成し、導体10の電力線群101を中空空間に収容する収容部13aを有する。この中空空間において端子11が延びる方向に垂直な方向の直径は、図5に示す断面図のように、まとめられた複数の電力線群101の最大径d1と同等以上である。電力線群101を収容部13aの中空空間に収容することで、端子11と導体10とを電気的に連結することができる。このとき、基部13の外周側からカシメ(塑性変形等)を加えることで、電力線群101に対して収容部13aの壁面から圧接させて電力線群101と収容部13aとの間を固定する。
図6は、本実施の形態1にかかる端子21の構成を模式的に示す側面図(a)および上面図(b)である。図7は、図6に示す矢視C方向からみた端子21の構成を示す図である。端子21は、端子11と接触する略平板状をなす接触部22(第2接触部)と、接触部22の幅方向および板厚方向と直交する方向の一方の端部に連結し、導体20と接続する基部23(第2基部)とを備える。
接触部22は、一方の表面が複数の連なる凹凸形状をなし、幅方向と直交する方向からみた側面において、この表面上で幅方向に連なる凹形状および凸形状を繰り返す歯部22a(第2歯部)を有する(図7参照)。ここで、歯部22aの凹凸形状は、歯部12aに応じて、歯部12aの凹凸形状と逆の態様となっており、接触部12,22の歯部12a,22aの形成面同士を接触した際にこの凹凸形状を一致させて歯合させることができる。
基部23は、両端が湾曲することによって端子21が延びる方向に沿った略柱状の中空空間を形成し、導体20の電力線群201を中空空間に収容する収容部23aを有する。この中空空間において端子21が延びる方向に垂直な方向の直径は、電力線群201の最大径と同等以上である。電力線群201を収容部23aの中空空間に収容することで、端子21と導体20とを電気的に連結することができる。このとき、基部23の外周側からカシメ(塑性変形等)を加えることで、電力線群201に対して収容部23aの壁面から圧接させて電力線群201と収容部23aとの間を固定する。
端子11,21は、導電性材料として純銅系材料が用いられる。端子11,21は、例えば、接触部12,22の板厚と略等しい平板状の純銅からなる部材に対して、接触部12,22が所定の形状となるようにプレスや圧造によって成形して作製される。なお、本実施の形態1では、平板状をなすものとして説明するが、板面が湾曲した形状をなすものであってもよい。
ここで、コネクタ1における端子11,21間の接触表面において、図6に示す接触領域S1の表面積をSa、図5に示す断面積において電力線群101の断面積(複数の電力線の各断面積の和)をSbとすると、接触領域S1の表面積Saと電力線群101の断面積Sbとの関係を、Sa≧Sbとすることができる。この関係により、端子11,21間の接触抵抗を低減させて、安定かつ効率的な電気的導通を得ることができる。
また、接触部12の板厚方向の断面の断面積をScとしたとき、この断面積Scを、上述した電力線群101の断面積Sbと同等程度とすると、端子11,21間の通電抵抗値を低減させることができる。
図8は、本実施の形態1にかかる固定部材30の構成を模式的に示す上面図(a)および側面図(b)である。固定部材30は、板状の炭素工具鋼またはステンレス鋼が用いられ、側面視で略楕円状をなすように湾曲している。固定部材30は、図1,2に示すように、湾曲部14の端部側であって、湾曲部14が延びる方向と直交する方向の両端を覆うように配設されている。
また、固定部材30は、接触部22を接触部12と湾曲部14とがなす内部空間内に挿入した状態であって、接触部12,22の歯部12aおよび歯部22aを歯合させて重ねた状態(接触部12,22のそれぞれの幅方向が互いに平行となる状態)において、この幅方向と垂直な方向に延びて湾曲部14に巻回されて、接触部22の歯部22aの配設側と異なる側の面と、湾曲部14との間に位置し、湾曲部14と接触部22とを互いに遠ざける方向に付勢して固定する。なお、固定部材は、少なくとも湾曲部14と接触部22とを互いに遠ざける方向に付勢して固定することができる弾性体であれば適用可能である。
コネクタ1は、図1,2および図9に示すように、接触部12,22の歯部12aおよび歯部22aを歯合させて重ねることによって、端子11と端子21との間を電気的に接続する。このとき、端子11,21において、歯部12aと歯部22aとが接触している。ここで、歯部12aおよび歯部22aにおいて、図10に示すように、隣接する凹形状と凸形状とを一組の単体歯120,220とすると、各単体歯120,220は、凸形状の先端をなす歯先121,221と、凹形状の底部をなす歯底122,222と、歯先121,221および歯底122,222をそれぞれ直線的に連結する斜面部123,223とを有する。このとき、歯先121がなす角度θ1と、歯底222がなす角度θ2とは、互いに異なり、θ1>θ2の関係が成り立つことが好ましい。
また、単体歯120の歯先121につながる側面(傾斜部123)のなす角度をθ3、および単体歯220の歯底222につながる側面(傾斜部223)のなす角度をθ4(図4,7,9参照)とすると、この角度θ3,θ4は、θ3=θ4であることが好ましい。上述したような角度θ1〜θ4の関係により、単体歯120および単体歯220において、歯先121と歯底222とは接触せず、傾斜部123および傾斜部223同士が面接触する。このとき、歯先121を歯底222内に進入させることによって、傾斜部123,223を圧接させることができるため、一層確実な接触状態を実現する。また、湾曲部14が、端子21の接触部22を接触部12との間で保持するとともに、固定部材30が接触部22に対して接触部12に向かう方向の荷重を加えるため、接触状態を維持することができる。
なお、上述した角度θ3,θ4は、θ3=θ4であるものとして説明したが、角度θ3,θ4は異なるものであってもよい。この場合、歯先の角度(θ3)が、歯底(θ4)の角度より大きいことが好ましい。
また、図11に示すような、歯先121,221および歯底122,222をそれぞれ曲線的に連結する曲面部124,224を有する単体歯120a,220aであっても同様である。このとき、単体歯120aの歯先121につながる側面(曲面部124)間の最大距離をd2、単体歯220aの歯底222につながる側面(曲面部224)間の最大距離をd3とすると、d2=d3の関係が成り立つ。なお、上述した最大距離d2,d3は、d2=d3であるものとして説明したが、歯合可能であれば最大距離d2,d3は異なるものであってもよい。この場合、最大距離d2が、最大距離d3より大きいことが好ましい。上述した歯形状は一例であり、これ以外の噛み合わせ形状でも良い。
図12は、接触抵抗比較試験の概要を示す模式図である。図13は、接触抵抗比較試験の付加荷重(N)−接触抵抗(μΩ)を示すグラフである。接触抵抗比較試験では、図12に示すように、テストピース201,300を用いてテストピース間の接触抵抗を測定する。テストピース300は、テストピース201の傾斜部201a,201bと接触する凸部300a,300bを有する。また、傾斜部201a,201bは、この傾斜部201a,201bがなす傾斜角度θ5がθ5=180°,160°,140°,100°,60°,45°のものを用いた。接触抵抗比較試験では、各傾斜角度θ5において、付加荷重Fに対するテストピース201,300間の接触抵抗をそれぞれ求めた。このとき、凸部300a,300bと傾斜部201a,201bとの接触面積は各傾斜角度θ5に関わらず一定(同一接触面積)である。
図13において、曲線L1がθ5=180°、曲線L2がθ5=160°、曲線L3がθ5=140°、曲線L4がθ5=100°、曲線L5がθ5=60°、曲線L6がθ5=45°の場合の付加荷重−接触抵抗を示している。ここで、付加荷重Fが一定の場合、傾斜角度θ5の値が小さいほど、テストピース間の接触抵抗が低いことがわかる。
上述した傾斜角度と接触抵抗との関係により、本実施の形態1にかかる歯部は、上述した角度θ5に対応する各傾斜部のなす角度(θ3,θ4)をそれぞれ小さくすることによって、接触抵抗を一層低減させることが可能である。また、各傾斜部のなす角度(θ3,θ4)を小さくすることによって、同一の単体歯形成領域において単体歯の数を増大することができるため、接触領域S1の表面積Saが大きくなる。
このとき、上述したような歯部12a,22a間の接触状態を維持するため、例えば、上述した角度θ1,θ2と同様、歯部12aの各単体歯120の歯先121のR形状の半径(以下、R1とする)と、歯部22aの各単体歯220の歯底222のR形状の半径(以下、R2とする)とがR1>R2の関係を満たすことが好ましい。ここで、製造上のばらつき等によって、R1およびR2が設計上と異なる場合がある。この場合、歯部12a,22a間の接触状態を維持するための対策として、R1とR2との差を設計よりも大きくなるように設定して作製することによって、歯部12aと歯部22aとが接触した際、単体歯120の側面(傾斜部または曲面部)を単体歯220の側面(傾斜部または曲面部)に対して確実に接触させることができる。また、歯部12aの単体歯120の歯底122のR形状の半径(R3)と、各歯部22aの単体歯220の歯先221のR形状の半径(R4)とにおいても、上述したように設定して作製することで、上述した効果を得ることができる。一方、例えばR1<R2となった場合、傾斜部同士の接触が完了する前に歯先121と歯底222とが接触したり、歯部12aの側面と歯部22aの側面とに非接触となる箇所が生じたりすることで、接触面積が減少してしまうおそれがある。なお、歯部12aの歯底122のR形状の半径をR1、歯部22aの歯先221のR形状の半径をR2とした場合は、上述した関係が逆転し、R1<R2となるように設計される。また、本実施の形態1において、歯先および歯底の半径とは、歯先および歯底の頂点における曲率半径をさす。
上述した本実施の形態1によれば、各端子の接触面が、互いに歯合可能な凹凸形状をなす歯部によって略同一の曲率半径を有する部分同士、または対応する角度を有する部分同士で接触するようにしたので、接触における表面積を大きく取るとともに、複数の単体歯部が互いに噛み合うことで各端子にこじれる力(偏荷重)が作用した場合であっても接触抵抗値を低くすることができるようになり、抵抗値の増大や通電による発熱を抑制して小型化が可能となる。
また、本実施の形態1によれば、端子11に設けられた湾曲部14によって、端子21の接触部22を接触部12と湾曲部14とで形成する内部空間内で保持するとともに、固定部材30が接触部22に対して接触部12に向かう方向の荷重を加えるため、一段と確実な接触状態を維持することができる。このとき、複数の凹凸形状が幅方向に繰り返される接触部12,22が歯合するため、外部から加わる荷重に対して一層確実に接触状態を維持することができる。湾曲部14は、各端子に対して接触状態の接触部が離間する方向に加わる荷重に対し、端子の回転を抑制して、端子間の接触状態を維持することができる。
図14は、本実施の形態1の変形例1−1にかかるコネクタの端子40の構成を模式的に示す斜視図である。図15は、本実施の形態1の変形例1−1にかかるコネクタの端子50の構成を模式的に示す斜視図である。なお、図1等で上述したコネクタと同じ構成要素には同じ符号を付してある。図14,15に示す端子40,50のように、嵌合可能であれば、一方の表面に、端子40が延びる方向に対して傾斜して延びる凹部41aが形成された第1歯部を有する接触部41(第1接触部)に対して、一方の表面に、この凹部が形成する内部空間に収容可能な凸部51aが形成された第2歯部を有する接触部51(第2接触部)を接触させるものであってもよい。
図16は、本実施の形態1の変形例1−2にかかるコネクタの端子40aの構成を模式的に示す斜視図である。図17は、本実施の形態1の変形例1−2にかかるコネクタの端子50aの構成を模式的に示す斜視図である。なお、図1等で上述したコネクタと同じ構成要素には同じ符号を付してある。図16,17に示す端子40a,50aのように、嵌合可能であれば、一方の表面に、格子状に延びる凹部42aが形成された第1歯部を有する接触部42(第1接触部)に対して、一方の表面に、この凹部が形成する内部空間に収容可能な凸部52aが形成された第2歯部を有する接触部52(第2接触部)を接触させるものであってもよい。
(実施の形態2)
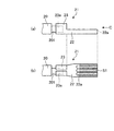
つぎに、本発明の実施の形態2について、図18を参照して説明する。図18は、本実施の形態2にかかるコネクタ2の構成を模式的に示す斜視図である。図18に示すコネクタ2は、接続対象物とそれぞれ連結した端子同士が接触して連結することで接続対象物間の電気的導通を行なうものである。なお、図1等で上述したコネクタと同じ構成要素には同じ符号を付してある。
コネクタ2は、略板状をなして延び、一方の接続対象物である導体10と連結し、導電性を有する第1端子としての端子11aと、略板状をなして延び、他方の接続対象物である導体20と連結し、導電性を有する第2端子としての端子21aと、を有する。コネクタ2は、端子11aおよび端子21aを接触させることによって電気的導通を得る。
図19は、本実施の形態2にかかる端子11aの構成を模式的に示す側面図(a)および上面図(b)である。図20は、図19に示す矢視E方向からみた端子11aの構成を示す図である。端子11aは、略平板状をなす導電性材料からなる。端子11aは、端子21aと接触する略板状の接触部15(第1接触部)、および接触部15の幅方向および板厚方向と直交する方向の一方の端部に連結し、導体10と接続する基部13と、接触部15の幅方向の側面(端部)から、接触部15の板面に垂直な方向にそれぞれ延びるとともに、端部側がこの板面と対向するように湾曲され、接触部15と後述する接触部24とを歯合させて重ねた状態で、接触部24を覆って保持する保持部16とを備える。
接触部15は、一方の表面が凹凸形状をなし、幅方向と直交する方向からみた側面において、この表面上で幅方向に連なる凹形状および凸形状を繰り返す歯部15a(第1歯部)を有する(図20参照)。
図21は、本実施の形態2にかかる端子21aの構成を模式的に示す側面図(a)および上面図(b)である。図22は、図21に示す矢視F方向からみた端子21aの構成を示す図である。端子21aは、端子11aと接触する略板状をなす接触部24(第2接触部)と、接触部24の幅方向および板厚方向と直交する方向の一方の端部に連結し、導体20と接続する基部23(第2基部)とを備える。
接触部24は、一方の表面が凹凸形状をなし、幅方向と直交する方向からみた側面において、この表面上で幅方向に連なる凹形状および凸形状を繰り返す歯部24a(第2歯部)を有する(図22参照)。ここで、接触部24の凹凸形状は、接触部15の凹凸形状と逆の態様となっており、接触部15,24の凹凸形状をなす面同士を接触した際に凹凸面を一致させることができる。
ここで、接触部15は、図20に示すように、長手方向からみた側面(矢視E)において、板面が湾曲した形状をなす。すなわち、歯部15aにおいて、隣り合う歯先と歯底とを結ぶ斜面(または曲面)の中心を通過するピッチ線が、弧状をなしている(弧R11)。また、接触部24は、図22に示すように、長手方向からみた側面(矢視F)において、板面が湾曲した形状をなす。すなわち、歯部24aにおいて、隣り合う歯先と歯底とを結ぶ斜面(または曲面)の中心を通過するピッチ線が、弧状をなしている(弧R21)。接触部15および接触部24は、接触部が対向した際に、湾曲方向が同一方向(接触面に対して湾曲方向が逆となる方向)となる。このとき、弧R11と弧R21との形状(曲率)は、非歯合状態において、同一であってもよいし、異なっていてもよい。特に形状が異なる場合は、接触部15および接触部24が接触した際に、互いの異なる曲率によって歯部15a,24aが互いに拡径および縮径されて密着するため、一段と確実に接触状態を維持することが可能となる。なお、弧R11および弧R21が真円である場合は、弧R11および弧R21の曲率半径が同等または異なる。
なお、端子11a,21aは、実施の形態1と同様、導電性材料として純銅系材料が用いられる。端子11a,21aは、例えば、接触部15,24の板厚と等しい平板状の純銅系からなる部材に対して、接触部15,24が所定の形状となるようにプレスや圧造によって成形して作製される。なお、歯部15aおよび歯部24aは、互いに等しい曲率半径となるような形状をなしている。
コネクタ2は、図18,19および図23に示すように、接触部15,24を歯合させて重ねることによって、端子11aと端子21aとの間を電気的に接続する。このとき、端子11a,21aにおいて、歯部15aと歯部24aとが接触している。ここで、歯部15aおよび歯部24aは、各外縁の曲率半径が等しいため、面接触する。端子21aの接触部24は、接触部15と接触する。また、保持部16が、端子21aの接触部24を接触部15との間で挟み込んで保持するため、接触状態を維持することができる。
上述した本実施の形態2によれば、各端子の接触面が、互いに歯合可能な凹凸形状をなす歯部によって略同一の曲率半径を有する部分同士で接触するようにしたので、接触における表面積を大きく取るとともに、複数の単体歯部が互いに噛み合うことで各端子にこじれる力(偏荷重)が作用した場合であっても接触抵抗値を低くすることができるようになり、抵抗値の増大や通電による発熱を抑制して小型化が可能となる。
また、本実施の形態2によれば、保持部16が接触部15,24を保持するため、上述した実施の形態1のような固定部材を用いることなく、端子11a,21aの接触状態を維持することが可能となる。
さらに、本実施の形態2によれば、接触部15,24が板面に沿って湾曲した形状をなし、この湾曲形状に対して互いに接触するため、歯部15a,24aの密着強度を増大させて、一段と確実に接触状態を維持することが可能となる。
なお、上述したピッチ線は、上述した実施の形態1においても適用可能であり、各歯部のピッチ線が直線状をなすものや、非歯合状態において、一方の歯部のピッチ線が直線状をなし、他方のピッチ線が弧状をなすものも含まれる。
図24は、本実施の形態2の変形例2−1にかかるコネクタの端子の構成を示す図であって、図18に示すコネクタのG−G線断面に応じた断面図である。図24に示す接触部15b,24bのように、凹凸形状をなし、幅方向と直交する方向からみた側面(断面)において、この表面上で幅方向に連なる凹形状および凸形状を繰り返す歯部15c,24cに応じて、歯部15c,24cの裏面側も凹凸形状をなすものであってもよい。接触部15b,24bは、板厚が略均一であるため、平板状の部材に対して、曲げ加工を施すことによって形成することができ、製造における歩留まりを向上させることや、一段と容易に製造することが可能となる。また、板厚を略均一にすることよって、上述した接触部15,24と比して接触部自体のバネ性を向上させることができ、歯部15c,24cの密着強度を増大させて、一層確実に接触状態を維持することが可能となる。
(実施の形態3)
つぎに、本発明の実施の形態3について、図25を参照して説明する。図25は、本実施の形態3にかかるコネクタ3の構成を模式的に示す斜視図である。図25に示すコネクタ3は、接続対象物とそれぞれ連結した端子同士が接触して連結することで接続対象物間の電気的導通を行なうものである。なお、図1等で上述したコネクタと同じ構成要素には同じ符号を付してある。
コネクタ3は、略平板状をなして延び、一方の接続対象物である導体10と連結し、導電性を有する第1端子としての端子11bと、略平板状をなして延び、他方の接続対象物である導体20と連結し、導電性を有する第2端子としての端子21bと、後述する接触部17および接触部25を歯合させて重ねた状態で、端子11bおよび端子21bの一部を覆って固定する複数の固定部材31(第2の部材)と、を有する。また、端子11bと端子21bとは、同一の形状をなしている。
図26は、本実施の形態3にかかる端子11bの構成を模式的に示す側面図(a)および上面図(b)である。図27は、図26に示す矢視H方向からみた端子11bの構成を示す図である。端子11bは、略平板状をなす導電性材料からなる。端子11bは、端子21bと接触する平板状の接触部17(第1接触部)と、接触部17の幅方向および板厚方向と直交する方向の一方の端部に連結し、導体10と接続する基部18(第1基部)とを備える。
接触部17は、一方の表面が凹凸形状をなし、幅方向と直交する方向からみた側面において、この表面上で幅方向に連なる凹形状および凸形状を繰り返す歯部17a(第1歯部)を有する(図27参照)。
基部18は、端子11bが延びる方向に沿った略柱状の中空空間を形成する収容穴18aを有する。この中空空間において端子11bが延びる方向に垂直な方向の直径は、電力線群101の最大径d1(図5参照)と同等以上である。電力線群101を収容穴18aの中空空間に収容することで、端子11bと導体10とを電気的に連結することができる。このとき、基部18の外周側からカシメ(塑性変形等)を加えることで、電力線群101に対して収容穴18aの壁面から圧接させて電力線101と収容穴18aとの間を固定する。
端子21bは、略平板状をなす導電性材料からなる。端子21bは、端子11bと接触する接触部25(第2接触部)と、接触部25の幅方向および板厚方向と直交する方向の一方の端部に連結し、導体20と接続する基部26(第2基部)とを備える(図25参照)。接触部25は、一方の表面が凹凸形状をなし、幅方向と直交する方向からみた側面において、この表面上で幅方向に連なる凹形状および凸形状を繰り返す歯部25a(第2歯部)を有する(図27参照)。また、基部26は、端子21bが延びる方向に沿った略柱状の中空空間を形成する収容穴26aを有する。ここで、歯部25aの凹凸形状は、歯部17aの凹凸形状と同一形状のため、歯部17a,25aの凹凸形状をなす面同士を接触した際に凹凸面を一致させることができる。この際、各凸形状の先端および凹形状の底部は、同一の曲率半径である。
なお、端子11b,21bは、実施の形態1と同様、導電性材料として純銅系材料が用いられる。端子11b,21bは、例えば、接触部17,25の板厚と等しい平板状の純銅からなる部材に対して、接触部17,25が所定の形状となるようにプレスや圧造によって成形して作製される。
コネクタ3は、図25,26および図28に示すように、接触部17,25の歯部17aおよび歯部25aを歯合させて重ねることによって、端子11bと端子21bとの間を電気的に接続する。このとき、端子11b,21bにおいて、歯部17aと歯部25aとが接触している。ここで、歯部17aおよび歯部25aは、凹凸形状が同一であるため、端面がずれた状態で歯部同士が面接触する。また、2つの固定部材31が、接触部17,25に巻回され、接触部17,25を互いに近づける方向に付勢して荷重を加えるため、接触状態を維持することができる。
上述した本実施の形態3によれば、各端子の接触面が、互いに歯合可能な凹凸形状をなす歯部によって略同一の曲率半径を有する部分同士で接触するようにしたので、接触における表面積を大きく取るとともに、複数の単体歯部が互いに噛み合うことで各端子にこじれる力(偏荷重)が作用した場合であっても接触抵抗値を低くすることができるようになり、小型化するとともに、抵抗値の増大や通電による発熱を抑制することが可能となる。
さらに、本実施の形態3によれば、同一形状の端子を用いてコネクタを作製することができるため、上述した実施の形態1,2のように端子をそれぞれ別個に作製する必要がなく、製造工程および製造コストを削減することも可能となる。なお、歯部17aおよび歯部25aのピッチ線は、上述した実施の形態3のように、直線状をなすもののほか、弧状をなすものや、一方の歯部のピッチ線が直線状をなし、他方のピッチ線が弧状をなすものも含まれる。
図29は、本実施の形態3の変形例3−1にかかるコネクタ3aの端子の構成を示す図であって、図25に示すコネクタのI−I線断面に応じた断面図である。図29に示す接触部17b,25bのように、歯合可能であれば、凹凸形状をなし、幅方向と直交する方向からみた側面(断面)において、この表面上で幅方向に連なる凹形状および凸形状を繰り返し、先端の形状が略矩形をなす歯部25c,17cであってもよい。
図30は、本実施の形態3の変形例3−2にかかるコネクタ3bの端子60,70の構成を模式的に示す側面図である。図30に示す端子60,70のように、歯合可能であれば、先端の形状が略矩形をなす歯部61aを有する接触部61に対して、歯部61aに歯合可能に形成され、先端の形状が略矩形をなす歯部71aを有する接触部71を接触させるものであってもよい。このとき、接触部60,70の幅方向と直交する方向からみた側面において、接触部60,70の形状は互いに異なっており、歯合した際に、接触部60,70が形成する外縁形状は、略矩形をなす。
上述した実施の形態2,3においても、上述した単体歯のなす角度およびR形状の曲率半径の関係を適用することで、接触抵抗値が低く、安定した接触状態を維持することが可能となる。
なお、上述した実施の形態1〜3において、安定した歯合が可能であれば、歯部の各凹凸形状の大きさ、歯先および歯底の角度、曲率半径は、同じであってもよいし、互いに異なっていてもよい。また、「同じ」とは、設計上同一のものであり、製造上の誤差を含む。また、上述した実施の形態1〜3にかかる各構成を適宜組み合わせることが可能である。
以上のように、本発明にかかるコネクタは、抵抗値の増大や通電による発熱を抑制して小型化するのに有用である。
1,2,3,3a,3b コネクタ
10,20 導体
11,11a,11b,21,21a,21b,40,40a,50,50a,60,70 端子
12,15,15b,17,17b,22,24,24b,25,25b,41,42,51,52,61,71 接触部
12a,15a,15c,17a,17c,22a,24a,24c,25a,25c,61a,71a 歯部
13,23,18,26 基部
13a,23a 収容部
14 湾曲部
16 保持部
18a,26a 収容穴
30,31 固定部材
41a,42a 凹部
51a,52a 凸部
101,201 電力線群
120,120a,220,220a 単体歯
121,221 歯先
122,222 歯底
123,223 斜面部
124,224 曲面部

Claims (9)

  1. 二つの接続対象物の間に介在して該二つの接続対象物間の電気的な導通を図るコネクタであって、
    一方の表面が複数の連なる凹凸形状をなす第1歯部を有する板状の第1接触部と、前記第1接触部につながって、一方の接続対象物と接続する第1基部と、を有する導電性の第1端子と、
    一方の表面が複数の連なる凹凸形状をなし、前記第1歯部と歯合可能な第2歯部を有する板状の第2接触部と、前記第2接触部につながって、他方の接続対象物と接続する第2基部と、を有する導電性の第2端子と、
    を備え、前記第1歯部と前記第2歯部とが歯合することによって前記第1端子および前記第2端子の間が電気的に接続し、
    前記第1および第2歯部のピッチ線の形状は、非歯合状態において互いに異なることを特徴とするコネクタ。
  2. 二つの接続対象物の間に介在して該二つの接続対象物間の電気的な導通を図るコネクタであって、
    一方の表面が複数の連なる凹凸形状をなす第1歯部を有する板状の第1接触部と、前記第1接触部につながって、一方の接続対象物と接続する第1基部と、を有する導電性の第1端子と、
    一方の表面が複数の連なる凹凸形状をなし、前記第1歯部と歯合可能な第2歯部を有する板状の第2接触部と、前記第2接触部につながって、他方の接続対象物と接続する第2基部と、を有する導電性の第2端子と、
    を備え、前記第1歯部と前記第2歯部とが歯合することによって前記第1端子および前記第2端子の間が電気的に接続し、
    前記第1および第2歯部のピッチ線の形状は、非歯合状態において同一であることを特徴とするコネクタ。
  3. 前記第1歯部の歯先につながる側面のなす角度は、前記第2歯部の歯底につながる側面のなす角度と同一であることを特徴とする請求項1または2に記載のコネクタ。
  4. 前記第1歯部の歯先につながる側面間の最大距離は、前記第2歯部の歯底につながる側面間の最大距離と同一であることを特徴とする請求項1または2に記載のコネクタ。
  5. 前記第1および第2接触部は、その形状が湾曲し、
    前記第1および2歯部のピッチ線がそれぞれ弧状をなしていることを特徴とする請求項1〜のいずれか一つに記載のコネクタ。
  6. 前記第1接触部の幅方向の端部から折り返される方向にそれぞれ延びるとともに、先端側の面が前記第1接触部と対向するように湾曲されてなる湾曲部を有し、
    前記第2接触部を前記第1接触部と前記湾曲部とがなす内部空間内に挿入した状態において、前記湾曲部と前記第2接触部とを互いに遠ざける方向に付勢する第1の部材をさらに備えたことを特徴とする請求項1〜のいずれか一つに記載のコネクタ。
  7. 前記第1接触部の幅方向の端部から折り返される方向に延びるとともに、先端側の面が前記第1接触部と対向するように湾曲され、前記第1接触部と前記第2接触部とを重ねた状態で、前記第2接触部を覆って保持する保持部を有することを特徴とする請求項1〜のいずれか一つに記載のコネクタ。
  8. 前記第1および第2接触部を重ねた状態において、前記第1および第2接触部に巻回されて、前記第1および第2接触部を互いに近づける方向に付勢する第2の部材をさらに備えたことを特徴とする請求項1〜のいずれか一つに記載のコネクタ。
  9. 前記第1歯部の単体歯先の半径は、前記第2歯部の単体歯底の半径より大きいことを特徴とする請求項1〜8のいずれか一つに記載のコネクタ。
JP2014505010A 2012-03-16 2013-03-14 コネクタ Expired - Fee Related JP6009536B2 (ja)

Applications Claiming Priority (3)

Application Number Priority Date Filing Date Title
JP2012061168 2012-03-16
JP2012061168 2012-03-16
PCT/JP2013/057277 WO2013137415A1 (ja) 2012-03-16 2013-03-14 コネクタ

Publications (2)

Publication Number Publication Date
JPWO2013137415A1 JPWO2013137415A1 (ja) 2015-08-03
JP6009536B2 true JP6009536B2 (ja) 2016-10-19

Family

ID=49161315

Family Applications (1)

Application Number Title Priority Date Filing Date
JP2014505010A Expired - Fee Related JP6009536B2 (ja) 2012-03-16 2013-03-14 コネクタ

Country Status (4)

Country Link
US (1) US9270043B2 (ja)
JP (1) JP6009536B2 (ja)
CN (1) CN104170173A (ja)
WO (1) WO2013137415A1 (ja)

Families Citing this family (13)

* Cited by examiner, † Cited by third party
Publication number Priority date Publication date Assignee Title
JP6301717B2 (ja) * 2014-04-18 2018-03-28 矢崎総業株式会社 接点接続構造
JP5831611B1 (ja) * 2014-09-19 2015-12-09 第一精工株式会社 コネクタ端子の接続構造
JP1537722S (ja) * 2015-02-23 2015-11-16
CN104880589A (zh) * 2015-06-11 2015-09-02 江阴长仪集团有限公司 一种用于智能电表上分流片与接线端子的连接结构及连接状态检测方法
JP6760142B2 (ja) * 2017-03-08 2020-09-23 株式会社オートネットワーク技術研究所 雄端子
JP7054432B2 (ja) * 2017-07-12 2022-04-14 株式会社オートネットワーク技術研究所 雄端子金具及び雌端子金具
JP6939625B2 (ja) 2018-02-15 2021-09-22 株式会社オートネットワーク技術研究所 端子、及び端子付き電線
US11569604B2 (en) * 2018-11-16 2023-01-31 Autonetworks Technologies, Ltd. Connector
JP7388221B2 (ja) * 2020-02-10 2023-11-29 住友電装株式会社 雄端子金具および端子構造
JP7444043B2 (ja) * 2020-12-16 2024-03-06 株式会社オートネットワーク技術研究所 端子ユニット
JP7495671B2 (ja) * 2021-03-04 2024-06-05 株式会社オートネットワーク技術研究所 端子ユニット,雌端子,雄端子
JP2023161127A (ja) * 2022-04-25 2023-11-07 日本航空電子工業株式会社 接続構造
JP2024036858A (ja) * 2022-09-06 2024-03-18 株式会社オートネットワーク技術研究所 端子ユニット,雌端子,雄端子

Family Cites Families (21)

* Cited by examiner, † Cited by third party
Publication number Priority date Publication date Assignee Title
US2735998A (en) * 1956-02-21 Martines
US2336385A (en) * 1941-03-14 1943-12-07 Standard Mfg Co Electric connector
JPS5344031Y2 (ja) * 1972-07-22 1978-10-23
JPS5862572A (ja) 1981-10-09 1983-04-14 Canon Inc マイクロ波検知体
JPS5862572U (ja) * 1981-10-23 1983-04-27 古河電気工業株式会社 配線分岐箱
US4778231A (en) * 1984-09-28 1988-10-18 North American Specialties Corp. Electrical connector
JPS62135374U (ja) 1986-02-19 1987-08-26
JPH0344869U (ja) * 1989-09-08 1991-04-25
JPH0646586B2 (ja) 1990-11-26 1994-06-15 矢崎総業株式会社 雄端子の製造方法
JP3104420B2 (ja) 1992-07-10 2000-10-30 株式会社島津製作所 繊維強化複合材料用プリフォームの製造法
JPH0633371U (ja) * 1992-09-30 1994-04-28 日本航空電子工業株式会社 雄コンタクト
US5281178A (en) * 1992-10-26 1994-01-25 Yazaki Corporation Electrical connector with feature for increased contact area
FR2707806B1 (fr) * 1993-07-12 1995-09-29 Fels Const Electr Dispositif de connexion modulaire à grand débattement.
US6068526A (en) * 1996-06-17 2000-05-30 Framatome Connectors International Connector bushing having an improved central base zone
JPH11307159A (ja) * 1998-04-16 1999-11-05 Kansei Corp 電気接続端子
JP2001110479A (ja) * 1999-10-12 2001-04-20 Sumitomo Wiring Syst Ltd 端子金具
US20030060090A1 (en) * 2001-09-21 2003-03-27 Allgood Christopher L. High current automotive electrical connector and terminal
JP2003142213A (ja) 2001-11-06 2003-05-16 D D K Ltd 電気コネクタ
JP2005332658A (ja) 2004-05-19 2005-12-02 Fujikura Ltd コネクタ
JP4613820B2 (ja) 2005-12-28 2011-01-19 日立電線株式会社 端子接続構造
CN201126879Y (zh) 2007-11-26 2008-10-01 华为技术有限公司 一种电连接端子

Also Published As

Publication number Publication date
CN104170173A (zh) 2014-11-26
US20150056875A1 (en) 2015-02-26
WO2013137415A1 (ja) 2013-09-19
US9270043B2 (en) 2016-02-23
JPWO2013137415A1 (ja) 2015-08-03

Similar Documents

Publication Publication Date Title
JP6009536B2 (ja) コネクタ
US9190750B2 (en) Board-to-board connector
JP6293431B2 (ja) 電気コネクタ
TWI351792B (en) Connector
US8888520B2 (en) Contact with pair of pins each with a folded end
JP5286190B2 (ja) 同軸コネクタ、及びコネクタ装置
JP6126082B2 (ja) コネクタ
JP6006356B2 (ja) コンタクト及び該コンタクトを使用するコネクタ
JP2013055007A (ja) コネクタ
WO2017104388A1 (ja) 端子金具及びコネクタ
US8668499B2 (en) Connector
US20140038476A1 (en) Connector
JP4021397B2 (ja) 接続端子及び該接続端子を用いるジョイントコネクタ
CN104756322A (zh) 阳端子
JP5897978B2 (ja) 突き当て型の端子金具
US8979552B2 (en) Connector and method for connecting the connector
CN110226263A (zh) 端子模块
JP2011181420A (ja) ブレードおよびこれを用いたコネクタセット
JP2007059304A (ja) 端子付き電線とその製造方法
JP2017117623A (ja) コネクタ
CN102959810B (zh) 被屏蔽的插塞连接器
WO2013183301A1 (en) Terminal connection structure
JP6253755B2 (ja) 導体接続構造
JP6606925B2 (ja) 電気コネクタ
JP2013093273A (ja) フレキシブル基板における端子接合構造

Legal Events

Date Code Title Description
A621 Written request for application examination

Free format text: JAPANESE INTERMEDIATE CODE: A621

Effective date: 20150803

A131 Notification of reasons for refusal

Free format text: JAPANESE INTERMEDIATE CODE: A131

Effective date: 20160524

A521 Request for written amendment filed

Free format text: JAPANESE INTERMEDIATE CODE: A523

Effective date: 20160725

TRDD Decision of grant or rejection written
A01 Written decision to grant a patent or to grant a registration (utility model)

Free format text: JAPANESE INTERMEDIATE CODE: A01

Effective date: 20160906

A61 First payment of annual fees (during grant procedure)

Free format text: JAPANESE INTERMEDIATE CODE: A61

Effective date: 20160914

R150 Certificate of patent or registration of utility model

Ref document number: 6009536

Country of ref document: JP

Free format text: JAPANESE INTERMEDIATE CODE: R150

R250 Receipt of annual fees

Free format text: JAPANESE INTERMEDIATE CODE: R250

LAPS Cancellation because of no payment of annual fees