JP5989757B2 - タッチパネル - Google Patents

タッチパネル Download PDF

Info

Publication number
JP5989757B2
JP5989757B2 JP2014265914A JP2014265914A JP5989757B2 JP 5989757 B2 JP5989757 B2 JP 5989757B2 JP 2014265914 A JP2014265914 A JP 2014265914A JP 2014265914 A JP2014265914 A JP 2014265914A JP 5989757 B2 JP5989757 B2 JP 5989757B2
Authority
JP
Japan
Prior art keywords
shield layer
touch panel
base film
transparent
detection electrodes
Prior art date
Legal status (The legal status is an assumption and is not a legal conclusion. Google has not performed a legal analysis and makes no representation as to the accuracy of the status listed.)
Active
Application number
JP2014265914A
Other languages
English (en)
Other versions
JP2016126470A (ja
Inventor
奥村 健治
健治 奥村
芳郎 藤井
芳郎 藤井
聖子 平井
聖子 平井
Current Assignee (The listed assignees may be inaccurate. Google has not performed a legal analysis and makes no representation or warranty as to the accuracy of the list.)
Nissha Printing Co Ltd
Original Assignee
Nissha Printing Co Ltd
Priority date (The priority date is an assumption and is not a legal conclusion. Google has not performed a legal analysis and makes no representation as to the accuracy of the date listed.)
Filing date
Publication date
Application filed by Nissha Printing Co Ltd filed Critical Nissha Printing Co Ltd
Priority to JP2014265914A priority Critical patent/JP5989757B2/ja
Priority to CN201580068509.2A priority patent/CN107003780B/zh
Priority to KR1020177015682A priority patent/KR102093940B1/ko
Priority to PCT/JP2015/083182 priority patent/WO2016104035A1/ja
Priority to EP15872604.2A priority patent/EP3232302B1/en
Priority to US15/537,539 priority patent/US9996206B2/en
Publication of JP2016126470A publication Critical patent/JP2016126470A/ja
Application granted granted Critical
Publication of JP5989757B2 publication Critical patent/JP5989757B2/ja
Active legal-status Critical Current
Anticipated expiration legal-status Critical

Links

Images

Classifications

    • GPHYSICS
    • G02OPTICS
    • G02FOPTICAL DEVICES OR ARRANGEMENTS FOR THE CONTROL OF LIGHT BY MODIFICATION OF THE OPTICAL PROPERTIES OF THE MEDIA OF THE ELEMENTS INVOLVED THEREIN; NON-LINEAR OPTICS; FREQUENCY-CHANGING OF LIGHT; OPTICAL LOGIC ELEMENTS; OPTICAL ANALOGUE/DIGITAL CONVERTERS
    • G02F1/00Devices or arrangements for the control of the intensity, colour, phase, polarisation or direction of light arriving from an independent light source, e.g. switching, gating or modulating; Non-linear optics
    • G02F1/01Devices or arrangements for the control of the intensity, colour, phase, polarisation or direction of light arriving from an independent light source, e.g. switching, gating or modulating; Non-linear optics for the control of the intensity, phase, polarisation or colour 
    • G02F1/13Devices or arrangements for the control of the intensity, colour, phase, polarisation or direction of light arriving from an independent light source, e.g. switching, gating or modulating; Non-linear optics for the control of the intensity, phase, polarisation or colour  based on liquid crystals, e.g. single liquid crystal display cells
    • G02F1/133Constructional arrangements; Operation of liquid crystal cells; Circuit arrangements
    • G02F1/1333Constructional arrangements; Manufacturing methods
    • G02F1/13338Input devices, e.g. touch panels
    • GPHYSICS
    • G02OPTICS
    • G02FOPTICAL DEVICES OR ARRANGEMENTS FOR THE CONTROL OF LIGHT BY MODIFICATION OF THE OPTICAL PROPERTIES OF THE MEDIA OF THE ELEMENTS INVOLVED THEREIN; NON-LINEAR OPTICS; FREQUENCY-CHANGING OF LIGHT; OPTICAL LOGIC ELEMENTS; OPTICAL ANALOGUE/DIGITAL CONVERTERS
    • G02F1/00Devices or arrangements for the control of the intensity, colour, phase, polarisation or direction of light arriving from an independent light source, e.g. switching, gating or modulating; Non-linear optics
    • G02F1/01Devices or arrangements for the control of the intensity, colour, phase, polarisation or direction of light arriving from an independent light source, e.g. switching, gating or modulating; Non-linear optics for the control of the intensity, phase, polarisation or colour 
    • G02F1/13Devices or arrangements for the control of the intensity, colour, phase, polarisation or direction of light arriving from an independent light source, e.g. switching, gating or modulating; Non-linear optics for the control of the intensity, phase, polarisation or colour  based on liquid crystals, e.g. single liquid crystal display cells
    • G02F1/133Constructional arrangements; Operation of liquid crystal cells; Circuit arrangements
    • G02F1/1333Constructional arrangements; Manufacturing methods
    • G02F1/1343Electrodes
    • GPHYSICS
    • G06COMPUTING OR CALCULATING; COUNTING
    • G06FELECTRIC DIGITAL DATA PROCESSING
    • G06F3/00Input arrangements for transferring data to be processed into a form capable of being handled by the computer; Output arrangements for transferring data from processing unit to output unit, e.g. interface arrangements
    • G06F3/01Input arrangements or combined input and output arrangements for interaction between user and computer
    • G06F3/03Arrangements for converting the position or the displacement of a member into a coded form
    • G06F3/041Digitisers, e.g. for touch screens or touch pads, characterised by the transducing means
    • G06F3/044Digitisers, e.g. for touch screens or touch pads, characterised by the transducing means by capacitive means
    • GPHYSICS
    • G06COMPUTING OR CALCULATING; COUNTING
    • G06FELECTRIC DIGITAL DATA PROCESSING
    • G06F3/00Input arrangements for transferring data to be processed into a form capable of being handled by the computer; Output arrangements for transferring data from processing unit to output unit, e.g. interface arrangements
    • G06F3/01Input arrangements or combined input and output arrangements for interaction between user and computer
    • G06F3/03Arrangements for converting the position or the displacement of a member into a coded form
    • G06F3/041Digitisers, e.g. for touch screens or touch pads, characterised by the transducing means
    • G06F3/044Digitisers, e.g. for touch screens or touch pads, characterised by the transducing means by capacitive means
    • G06F3/0443Digitisers, e.g. for touch screens or touch pads, characterised by the transducing means by capacitive means using a single layer of sensing electrodes
    • GPHYSICS
    • G06COMPUTING OR CALCULATING; COUNTING
    • G06FELECTRIC DIGITAL DATA PROCESSING
    • G06F3/00Input arrangements for transferring data to be processed into a form capable of being handled by the computer; Output arrangements for transferring data from processing unit to output unit, e.g. interface arrangements
    • G06F3/01Input arrangements or combined input and output arrangements for interaction between user and computer
    • G06F3/03Arrangements for converting the position or the displacement of a member into a coded form
    • G06F3/041Digitisers, e.g. for touch screens or touch pads, characterised by the transducing means
    • G06F3/044Digitisers, e.g. for touch screens or touch pads, characterised by the transducing means by capacitive means
    • G06F3/0445Digitisers, e.g. for touch screens or touch pads, characterised by the transducing means by capacitive means using two or more layers of sensing electrodes, e.g. using two layers of electrodes separated by a dielectric layer
    • GPHYSICS
    • G06COMPUTING OR CALCULATING; COUNTING
    • G06FELECTRIC DIGITAL DATA PROCESSING
    • G06F3/00Input arrangements for transferring data to be processed into a form capable of being handled by the computer; Output arrangements for transferring data from processing unit to output unit, e.g. interface arrangements
    • G06F3/01Input arrangements or combined input and output arrangements for interaction between user and computer
    • G06F3/03Arrangements for converting the position or the displacement of a member into a coded form
    • G06F3/041Digitisers, e.g. for touch screens or touch pads, characterised by the transducing means
    • G06F3/044Digitisers, e.g. for touch screens or touch pads, characterised by the transducing means by capacitive means
    • G06F3/0446Digitisers, e.g. for touch screens or touch pads, characterised by the transducing means by capacitive means using a grid-like structure of electrodes in at least two directions, e.g. using row and column electrodes
    • GPHYSICS
    • G06COMPUTING OR CALCULATING; COUNTING
    • G06FELECTRIC DIGITAL DATA PROCESSING
    • G06F2203/00Indexing scheme relating to G06F3/00 - G06F3/048
    • G06F2203/041Indexing scheme relating to G06F3/041 - G06F3/045
    • G06F2203/04107Shielding in digitiser, i.e. guard or shielding arrangements, mostly for capacitive touchscreens, e.g. driven shields, driven grounds
    • GPHYSICS
    • G06COMPUTING OR CALCULATING; COUNTING
    • G06FELECTRIC DIGITAL DATA PROCESSING
    • G06F2203/00Indexing scheme relating to G06F3/00 - G06F3/048
    • G06F2203/041Indexing scheme relating to G06F3/041 - G06F3/045
    • G06F2203/04112Electrode mesh in capacitive digitiser: electrode for touch sensing is formed of a mesh of very fine, normally metallic, interconnected lines that are almost invisible to see. This provides a quite large but transparent electrode surface, without need for ITO or similar transparent conductive material
    • HELECTRICITY
    • H05ELECTRIC TECHNIQUES NOT OTHERWISE PROVIDED FOR
    • H05KPRINTED CIRCUITS; CASINGS OR CONSTRUCTIONAL DETAILS OF ELECTRIC APPARATUS; MANUFACTURE OF ASSEMBLAGES OF ELECTRICAL COMPONENTS
    • H05K1/00Printed circuits
    • H05K1/02Details
    • H05K1/0213Electrical arrangements not otherwise provided for
    • H05K1/0216Reduction of cross-talk, noise or electromagnetic interference
    • H05K1/0218Reduction of cross-talk, noise or electromagnetic interference by printed shielding conductors, ground planes or power plane

Landscapes

  • Engineering & Computer Science (AREA)
  • Physics & Mathematics (AREA)
  • Theoretical Computer Science (AREA)
  • General Engineering & Computer Science (AREA)
  • General Physics & Mathematics (AREA)
  • Human Computer Interaction (AREA)
  • Nonlinear Science (AREA)
  • Crystallography & Structural Chemistry (AREA)
  • Optics & Photonics (AREA)
  • Chemical & Material Sciences (AREA)
  • Mathematical Physics (AREA)
  • Electromagnetism (AREA)
  • Microelectronics & Electronic Packaging (AREA)
  • Position Input By Displaying (AREA)
  • Shielding Devices Or Components To Electric Or Magnetic Fields (AREA)

Description

本発明はタッチパネルに関する。
静電容量方式のタッチパネルは、タッチパネルの表面が指などの操作物体に接触された際に生じる静電容量の変化を測定することで検知点を特定する。特に、投影型のタッチパネルは、X方向とY方向とに交差するように配列された複数の電極を有している。複数の電極は例えば透明導電膜からなる。上記の電極によって静電容量の変化を測定することで、検知点の座標を特定できる(例えば、特許文献1を参照)。
特許文献1に記載のタッチパネルセンサ60は、第1透明導電パターン61及び第2透明導電パターン62と、それらに電気的に接続された第1取出導電パターン63及び第2取出導電パターン64とを有している。第1透明導電パターン61及び第2透明導電パターン62は表示領域Tに形成され、第1取出導電パターン63及び第2取出導電パターン64は周囲の配線領域Tに形成されている。また、タッチパネルセンサ60は、第1取出導電パターン63及び第2取出導電パターン64に接続された第1端子部65及び第2端子部66を有している。
特開2012−203565号公報
特許文献1に記載のタッチパネルセンサ60は、さらに、第1シールドパターン71と第2シールドパターン72を有している。第1シールドパターン71は、第2取出導電パターン64に対応して形成されている。これにより、第2取出導電パターン64へのノイズ伝達が低減される。また、第2シールドパターン72は、第1取出導電パターン63に対応して形成されている。これにより、第1取出導電パターン63へのノイズ伝達が低減される。
ところが、本発明の発明者は、上記構造では使用環境で発生する電磁波によって、タッチパネルにおいてノイズとしてのピークが発生する現象が生じることを発見した。
そこで、本発明の発明者は、上記現象の原因を追求すると共に、その解決手段を新たに考案した。
本発明の課題は、配線パターンに対応したシールド層を設けたタッチパネルにおいて、電磁波に起因するノイズ現象を抑えることにある。
以下に、課題を解決するための手段として複数の態様を説明する。これら態様は、必要に応じて任意に組み合せることができる。
本発明の一見地に係るタッチパネルは、基材と、複数の第1検出電極と、複数の第1配線と、複数の第2検出電極と、複数の第2配線と、シールド層とを備えている。
複数の第1検出電極は、基材上に形成され、一方向に延びている。
複数の第1配線は、基材上に形成され、複数の第1検出電極に接続されている。
複数の第2検出電極は、複数の第1検出電極に交差するように形成されている。
複数の第2配線は、複数の第2検出電極に接続されている。
シールド層は、基材上に形成され、平面視で複数の第2配線に重なるように配置されている。シールド層は、特定範囲内の複数の周波数に対して共振現象を生じさせないために、各周波数のλ/n(n=2,4,6,・・・)となる長さを含まないように長さ範囲が設定されている。なお、シールド層が平面視で複数の第2配線に重なるとは、少なくとも両者の一部同士が重なっている状態をいう。
このタッチパネルでは、シールド層の長さが上記の条件を満たしているので、シールド層が電磁波に対して共振しにくい。したがって、第1配線にノイズが発生しにくい。
シールド層は、第1シールド層と、第1シールド層から絶縁された第2シールド層を有していてもよい。その場合、第1シールド層及び第2シールド層は、各周波数のλ/n(n=2,4,6,・・・)となる長さを含まないように長さ範囲が設定されている。
このタッチパネルでは、第1シールド層と第2シールド層を作成する際に、例えばスクリーン印刷によって全体を一度に形成した後に、両者を分断することで第1シールド層と第2シールド層とを得ることができる。
シールド層は、第1検出電極及び複数の第1配線を囲うように第1基材の周縁部に配置されていてもよい。
シールド層は第1検出電極及び第1配線を囲うように配置されている場合、従来であれば、シールド層での共振によって第1配線にノイズが発生することがあり、その原因はシールド層と第1配線が対向する部分同士の距離が短くかつ対向部分の長さが長かったことだと推定される。そこで、このタッチパネルでは、シールド層の長さが上記の条件を満たすことで、上記の構造を有するタッチパネルにおいて、シールド層が電磁波に対して共振しにくくしている。その結果、第1配線にノイズが発生しにくい。
本発明に係るタッチパネルでは、電磁波に起因するノイズ現象を抑えることができる。
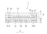
本発明の一実施形態に係るタッチパネルの断面図。 電極パターンの関係を説明するための模式的斜視図。 第1電極パターン及び第2電極パターンの関係を説明するための模式的斜視図。
1.第1実施形態
図1に示すタッチパネル1は、カバー部材3と、カバー部材3の裏面側に貼り付けられたフィルムセンサ5と、を備えている。
カバー部材3の材料としては、透明性が高く、且つ加わる衝撃によって破損しない必要があり、例えば、ガラス板、樹脂板などが挙げられる。ガラス板の材料としては、化学強化ガラスが好ましく、樹脂板の材料としては、アクリル系樹脂、ポリカーボネート系樹脂等が好ましい。
以上のようなカバー部材3へのフィルムセンサ5の貼り付けには、第1光学用透明粘着材(Optical Clear Adhesive:OCA)7を用いる。本実施形態においては、少なくともカバー部材3の裏面に光学用透明粘着材7が設けられる。光学用透明粘着材7としては、アクリル系及びゴム系などがあるが、透明性の点でアクリル系が好ましい。
フィルムセンサ5は、基本構造として、第1基材フィルム11(基材の一例)と、第2基材フィルム13と、複数の第1透明電極15(第1検出電極の一例)と、複数の第2透明電極17(第2検出電極の一例)と、複数の第1引出し配線19と(第1配線の一例)、複数の第2引出し配線21(第2配線の一例)とを有している。この実施形態では、フィルムセンサ5は相互静電容量方式を採用しており、第1透明電極15及び第2透明電極17はマトリクス状に配置された帯状電極である。
第1基材フィルム11と第2基材フィルム13は、上下方向に並んで配置されている。この実施形態では、第1基材フィルム11が下方であり、第2基材フィルム13が上方である。
第1基材フィルム11と第2基材フィルム13とは、第2光学用透明粘着材9によって互いに接着されている。
複数の第1透明電極15は、第1基材フィルム11上に並設される。複数の第1透明電極15は、第1基材フィルム11に形成され、Y方向に延び、X方向に所定の間隔をあけて配列された電極である。
複数の第2透明電極17は、第2基材フィルム13の上に形成されている。複数の第2透明電極17は、複数の第1透明電極15に交差するように(好ましくは直交するように)形成されている。第2透明電極17は、X方向に延び、Y方向に所定の間隔をあけて配列された電極である。
なお、第1透明電極15及び第2透明電極17は、は直線形状に限定されるものではなく、例えば、波形状であっても、太さが途中で変わるようなものであってもよい。
第1透明電極15および第2透明電極17は、タッチパネル1において、静電容量の変化を感知するセンシング電極として機能する部分(感知部)を構成する。つまり、指先をタッチパネル1に接触させると、第1透明電極15および第2透明電極17の間の相互静電容量が変化し、この変化量に基づいて指先の位置を図示しない検出制御部の検出回路によって演算する。
なお、この実施形態では、第1透明電極15は3つ、第2透明電極17は6つ設けられているが、その数は特に制限されず複数あればよい。
複数の第1引出し配線19は、第1基材フィルム11上に形成されている。複数の第1引出し配線19は、複数の第1透明電極15に接続されている。複数の第1引出し配線19は、第1基材フィルム11上において、外枠の非表示領域内を延びている。複数の第1引出し配線19は、接続端子25に至るまで延びている。この実施形態では、第1引出し配線19は、第1透明電極15のY方向片側端から第1基材フィルム11の端縁まで延びており、その長さは比較的短い。ただし、図2及び図3に示すように、接続端子25がX方向片側にずれて配置されているので、接続端子25に対してX方向の最も遠い側から延びる第1引出し配線19は、比較的長くX方向に延びる第1部分19aと、そこからY方向に延びる第2部分19bとを有している。
複数の第2引出し配線21は、第2基材フィルム13上に形成されている。複数の第2引出し配線21は、第2透明電極17にそれぞれ接続されている。複数の第2引出し配線21は、接続端子27に至るまで延びている。この実施形態では、第2引出し配線21は、第2透明電極17のX方向両端から交互に引き出され、さらにY方向に延びて、第1基材フィルム11の端縁まで延びており、その長さは比較的長い。
なお、接続端子25及び接続端子27は、第1基材フィルム11及び第2基材フィルム13の延出部41にそれぞれ配置されている。接続端子25及び接続端子27には、フレキシブルプリント配線基板(図示せず)が接続されており、図示しない検出制御部の検出回路に電気的に接続されている。
第1透明電極15及び第2透明電極17が平面視して格子を形作るように配置されている。例えば、第1透明電極15は発信側の電極として機能し、第2透明電極17は受信側の電極として機能する。ユーザの指等がフィルムセンサ5を覆うカバー部材3を介して触れていない又は近づいていなければ、発信側の第1透明電極15から第2透明電極17へ電気力線が向かうような電界が形成されている。ユーザの指等がフィルムセンサ5を覆うカバー部材3を介して触れる又は近づけば、電気力線の一部が第2透明電極17の周囲に回り込んで指などに吸収される。その結果、相互静電容量に変化が生じ、この変化が生じた座標を検知点として検出できる。検出制御部の検出回路は、このような場合において生じる静電容量の変化量を検出し、透視領域内のどこに触れたかを、特定値たるX座標値及びY座標値の組として取得することが可能となる。
第1基材フィルム11及び第2基材フィルム13の材料としては、透明性を有するポリエステル(PET)、ポリイミド(PI)、ポリエーテルサルフォン(PES)、ポリエーテルエーテルケトン(PEEK)、ポリカーボネート(PC)、ポリプロピレン(PP)、ポリアミド(PA)、ポリアクリル(PAC)、ノルボルネン系の熱可塑性透明樹脂などのフィルム、又はそれらの積層体などが用いられる。シクロオレフィンポリマー(COP)も利用可能である。
第1基材フィルム11及び第2基材フィルム13の厚さは、通常、各フィルムの単独厚で20μm以上、フィルムセンサ5に用いられる各フィルムの合計厚が500μm以下とされている。単独厚が20μmに満たないとフィルム製造時のハンドリングが難しく、合計厚が500μmを超えると透光性が低下するからである。
第1透明電極15及び第2透明電極17の材料としては、80%以上の光線透過率(透光性)及び数mΩから数百Ωの表面抵抗値(導電性)を示すことが好ましく、例えば、酸化インジウム、酸化錫、インジウム錫酸化物(ITO)、錫アンチモン酸等の金属酸化物や、金、銀、銅、白金、パラジウム、アルミニウム、ロジウム等の金属などで成膜することができる。これらの材料からなる第1透明電極15及び第2透明電極17の形成方法としては、スパッタ法、真空蒸着法、イオンプレーティング法等のPVD法、あるいはCVD法、塗工法等で透明導電膜を形成した後にエッチングによりパターニングする方法や、印刷法等がある。
第1引出し配線19及び第2引出し配線21は、通常、スクリーン印刷により形成するが、形成方法は特に限定されない。第1引出し配線19及び第2引出し配線21の材料としては、一般に銀ペーストもしくは、銅ペースト、銀とカーボン、などを使用するが、体積抵抗を一定に保ち、安定な材料であれば、他の材料を選定してもよい。
また、第1引出し配線19及び第2引出し配線21は、第1透明電極15及び第2透明電極17と同じ材料からなる透明導電層と、当該透明導電層上に積層された金属層からなる2層構造で構成されてもよい。金属層の材料としては、アルミニウム、ニッケル、銅、銀、錫などが挙げられる。第1引出し配線19及び第2引出し配線21の形成方法としては、スパッタ法、真空蒸着法、イオンプレーティング法等のPVD法、あるいはCVD法、塗工法等で透明導電膜及び金属膜を積層形成した後にエッチングによりパターニングする方法がある。
タッチパネル1は、さらに、シールド層の一例として、第1シールド層31A及び第2シールド層31Bを有している。第1シールド層31A及び第2シールド層31Bは、第1基材フィルム11上に形成されている。第1シールド層31A及び第2シールド層31Bは、平面視で複数の第2引出し配線21に重なるように配置されている。なお、第1シールド層31A及び第2シールド層31Bが平面視で複数の第2引出し配線21に重なるとは、少なくとも両者の一部同士が重なっている状態をいい、この実施形態では第1シールド層31A及び第2シールド層31Bが複数の第2引出し配線21を略全面的に覆っている。
第1シールド層31A及び第2シールド層31Bはそれぞれ、一端がグランド線に接続されている。
第1シールド層31A及び第2シールド層31Bは、第1透明電極15と同様の材料からなる透明導電膜を全面的に又はメッシュ状に形成したものを用いることができる。
第1シールド層31Aは、第1基材フィルム11の第1隅(図2の右下)、第2隅(図3の右上)、第3隅(図2の左上)、第4隅の(図2の左下)まで延びており、第1隅付近の一端がグランド線に接続されている。
第2シールド層31Bは、第1シールド層31Aの先端近傍(つまり、第1基材フィルム11の第4隅の近傍)からX方向に延びている。したがって、第2シールド層31Bは、最も図左側の第1引出し配線19の第1部分19a及び第2部分19bに近接している。第2シールド層31Bと第1シールド層31Aとの間には隙間31Cが確保されており、つまり両者は絶縁されている。
第1シールド層31Aと第2シールド層31Bを作成する際に、例えばスクリーン印刷によって全体を一度に形成した後に、両者を分断することで第1シールド層31A及び第2シールド層31Bとを得ることができる。
第1シールド層31A及び第2シールド層31Bは、下記の長さ条件を満たしている。
第1シールド層31A及び第2シールド層31Bは、特定範囲内の複数の周波数に対して共振現象を生じさせないために、各周波数のλ/n(n=2,4,6,・・・)となる長さを含まないように長さ範囲が設定されている。
例えば、f=c/λであり、
c:電波の速度3x10^8m
λ:波長=n×長さ
n=2,4,6,,,
対象となる周波数帯の一例としては、TEMセル法における100MHz〜400MHzがある。TEMセル試験は、車載電子機器試験の一つであり、ラジオ/TV放送、トランシーバ、及びアマチュア無線などの無線電波に対するイミュニティ試験である。TEMセル試験では、想定される電波をTEMセル内にて放射し、車載商品が影響を受けないかを確認する。
100MHz〜400MHzを上記式に代入して、1/4ラムダ(n=4)の場合、
3x10^8/100x10^6/4=750mm
3x10^8/400x10^6/4=187.5mm
となり、シールド層が187.5mm〜750mmの長さ範囲を避けることが好ましいことが分かる。
したがって、例えば、第1シールド層31Aは750mmを超えていることが好ましく、第2シールド層31Bは187.5mm未満であることが好ましい。なお、シールド層の共振には、シールド層の長さが短くなるほど透磁率も効いてくるので、第2シールド層31Bが100mm未満であることが好ましい。
このタッチパネル1では、第1シールド層31A及び第2シールド層31Bの長さが上記の条件を満たしているので、第1シールド層31A及び第2シールド層31Bが電磁波に対して共振しにくい。したがって、複数の第1引出し配線19にノイズが発生しにくい。
なお、上述の周波数及びシールド層の長さは例示であり、本発明はそのような実施形態に限定されない。
タッチパネル1は、さらに、第3シールド層33を有している。第3シールド層33は、第2基材フィルム13上に形成されている。第3シールド層33は、平面視で複数の第1引出し配線19に重なるように配置されている。なお、第3シールド層33が平面視で複数の第1引出し配線19に重なるとは、少なくとも両者の一部同士が重なっている状態をいい、この実施形態では第3シールド層33は複数の第1引出し配線19を略全面的に覆っている。なお、第3シールド層33は、感知部からY方向片側の一部分のみに形成された小領域である。
第3シールド層33はグランド線に接続されている。
第3シールド層33は、第2透明電極17同様の材料からなる透明導電膜を全面的に又はメッシュ状に形成したものを用いることができる。
すでに述べたように、第1シールド層31A及び第2シールド層31Bは、第1透明電極15及び複数の第1引出し配線19を囲うように第1基材フィルム11の周縁部に配置されている。従来であれば、シールド層が上記の長さ条件を満たしていなければシールド層での共振によって第1引出し配線19にノイズが発生することがあり、その原因は第2シールド層31Bに相当する部分と第1引出し配線19の第1部分19a及び第2部分19bとの互いの距離が短くかつ対向長さが長かったことだと推定される。そこで、このタッチパネル1では、第1シールド層31A及び第2シールド層31Bの長さが上記の条件を満たすように設定することで、従来であれば発生していたシールド層の共振を防止している。
2.他の実施形態
以上、本発明の一実施形態について説明したが、本発明は上記実施形態に限定されるものではなく、発明の要旨を逸脱しない範囲で種々の変更が可能である。特に、本明細書に書かれた複数の実施形態及び変形例は必要に応じて任意に組み合せ可能である。
前記実施形態では第1基材フィルム11には第1シールド層31Aと第2シールド層31Bが形成されていたが、本発明はそのような実施形態に限定されない。シールド層は単数、又は3以上あってもよい。
前記実施形態では第1シールド層31Aと第2シールド層31Bは第1基材フィルム11の第4隅付近で切断されていたが、切断箇所及び切断形状は特に限定されない。
前記第1シールド層31Aと第2シールド層31Bは切断によって分離されていたが、本発明はそのような実施形態に限定されない。前記第1シールド層31Aと第2シールド層31Bは、例えばスクリーン印刷によって互いに結合しないようにパターニングされてもよい。
前記第1シールド層31Aと第2シールド層31Bは、第1基材フィルムに形成されていたが、第2基材フィルムに形成されてもよい。
前記実施形態ではタッチパネルは相互静電容量方式を採用していたが、本発明はそのような実施形態に限定されない。タッチパネルは、菱形の透明電極同士を敷き詰めるように設けられた自己静電容量方式を採用したものでもよい。
前記実施形態では接続端子25はX方向片側にずれて配置されていたが、接続端子25はX方向中央部分に配置されていてもよい。
前記実施形態では、2種類の透明電極はそれぞれ第1基材フィルム及び第2基材フィルムの同じ側の層に設けられていたが、本発明はそのような実施形態に限定されない。例えば、2種類の透明電極はそれぞれ第1基材フィルム及び第2基材フィルムの反対側の面に設けられていてもよい。
前記実施形態では、2種類の透明電極はそれぞれ2枚の基材フィルムに設けられていたが、本発明はそのような実施形態に限定されない。例えば、2種類の透明電極は1枚の基材フィルムの片面又は両面に設けられていてもよい。
前記実施形態では第1基材フィルムと第2基材フィルムは直接接着されていたが、本発明はそのような実施形態に限定されない。例えば、1層又は複数の基材フィルムが第1基材フィルムと第2基材フィルムの間に配置されていてもよい。
本発明は、タッチパネルに広く適用できる。
1 :タッチパネル
5 :フィルムセンサ
11 :第1基材フィルム
13 :第2基材フィルム
15 :第1透明電極
17 :第2透明電極
19 :第1引出し配線
21 :第2引出し配線
31A :第1シールド層
31B :第2シールド層

Claims (3)

  1. 基材と、
    前記基材上に形成され、一方向に延びる複数の第1検出電極と、
    前記基材上に形成され、前記複数の第1検出電極に接続された複数の第1配線と、
    前記複数の第1検出電極に交差するように形成された複数の第2検出電極と、
    前記複数の第2検出電極に接続され、フレキシブルプリント配線基板との接続端子に至るまで延びている複数の第2配線と、
    前記基材上に形成され、平面視で前記複数の第2配線に重なるように延びている形状で配置され、特定範囲内の複数の周波数に対して共振現象を生じさせないために、各周波数のλ/n(n=2,4,6,・・・)となる長さを含まないように延びの長さ範囲が設定されている、シールド層と、
    を備えたタッチパネル。

  2. 前記シールド層は、第1シールド層と、前記第1シールド層から絶縁された第2シールド層を有しており、
    前記第1シールド層及び前記第2シールド層は、各周波数のλ/n(n=2,4,6,・・・)となる長さを含まないように長さ範囲が設定されている、請求項1に記載のタッチパネル。
  3. 前記シールド層は、前記複数の第1検出電極及び前記複数の第1配線を囲うように前記基材の周縁部に配置されている、請求項1又は請求項2に記載のタッチパネル。
JP2014265914A 2014-12-26 2014-12-26 タッチパネル Active JP5989757B2 (ja)

Priority Applications (6)

Application Number Priority Date Filing Date Title
JP2014265914A JP5989757B2 (ja) 2014-12-26 2014-12-26 タッチパネル
CN201580068509.2A CN107003780B (zh) 2014-12-26 2015-11-26 触控面板
KR1020177015682A KR102093940B1 (ko) 2014-12-26 2015-11-26 터치 패널
PCT/JP2015/083182 WO2016104035A1 (ja) 2014-12-26 2015-11-26 タッチパネル
EP15872604.2A EP3232302B1 (en) 2014-12-26 2015-11-26 Touch panel
US15/537,539 US9996206B2 (en) 2014-12-26 2015-11-26 Touch panel

Applications Claiming Priority (1)

Application Number Priority Date Filing Date Title
JP2014265914A JP5989757B2 (ja) 2014-12-26 2014-12-26 タッチパネル

Publications (2)

Publication Number Publication Date
JP2016126470A JP2016126470A (ja) 2016-07-11
JP5989757B2 true JP5989757B2 (ja) 2016-09-07

Family

ID=56150067

Family Applications (1)

Application Number Title Priority Date Filing Date
JP2014265914A Active JP5989757B2 (ja) 2014-12-26 2014-12-26 タッチパネル

Country Status (6)

Country Link
US (1) US9996206B2 (ja)
EP (1) EP3232302B1 (ja)
JP (1) JP5989757B2 (ja)
KR (1) KR102093940B1 (ja)
CN (1) CN107003780B (ja)
WO (1) WO2016104035A1 (ja)

Families Citing this family (2)

* Cited by examiner, † Cited by third party
Publication number Priority date Publication date Assignee Title
KR102843273B1 (ko) 2019-12-20 2025-08-06 삼성디스플레이 주식회사 표시 장치
CN112987974B (zh) * 2021-03-29 2025-04-29 南京华睿川电子科技有限公司 一种抗干扰电容式触摸屏功能片

Family Cites Families (14)

* Cited by examiner, † Cited by third party
Publication number Priority date Publication date Assignee Title
JPS58182744A (ja) * 1982-04-20 1983-10-25 Fujitsu Ltd 座標検出装置
JP2007335781A (ja) * 2006-06-19 2007-12-27 Mitsubishi Cable Ind Ltd 電磁波遮蔽材
GB2460288B (en) * 2006-06-19 2012-02-22 Mitsubishi Cable Ind Ltd Electromagnetic shielding material and electromagnetic absorber
TW201145132A (en) * 2010-03-11 2011-12-16 Alps Electric Co Ltd Translucent inputting device
JP5540797B2 (ja) * 2010-03-19 2014-07-02 ソニー株式会社 センサ装置および表示装置
US8723053B2 (en) * 2011-03-09 2014-05-13 Select Fabricators, Inc. Electromagnetically shielded enclosure with operable interfaces
JP5168377B2 (ja) 2011-03-24 2013-03-21 大日本印刷株式会社 タッチパネルセンサおよびタッチパネルセンサの製造方法
US8508956B2 (en) * 2011-05-05 2013-08-13 Carefusion 303, Inc. Modular shielded electronics enclosure
US9033739B2 (en) * 2011-09-09 2015-05-19 Apple Inc. Techniques for shielding connectors that allow for conformal coating against corrosion
CN104396358A (zh) 2012-04-18 2015-03-04 柯尼卡美能达株式会社 透光性导电图案部件及使用了其的透光性电磁屏蔽·天线部件
US20140028619A1 (en) * 2012-07-30 2014-01-30 Lenovo (Beijing) Co., Ltd. Touch Sensitive Apparatus, Mobile Terminal And Terminal Device
KR20150073350A (ko) * 2013-12-23 2015-07-01 에스케이하이닉스 주식회사 전자기간섭 차폐층을 갖는 반도체 패키지 및 그 제조방법
GB2521835A (en) * 2014-01-02 2015-07-08 Nokia Technologies Oy Electromagnetic shielding
JP6688133B2 (ja) * 2016-03-31 2020-04-28 三菱重工機械システム株式会社 料金収受機、料金収受方法及びプログラム

Also Published As

Publication number Publication date
KR20170098817A (ko) 2017-08-30
EP3232302A1 (en) 2017-10-18
EP3232302B1 (en) 2020-01-01
EP3232302A4 (en) 2018-01-24
WO2016104035A1 (ja) 2016-06-30
CN107003780B (zh) 2019-01-08
JP2016126470A (ja) 2016-07-11
US9996206B2 (en) 2018-06-12
KR102093940B1 (ko) 2020-03-26
CN107003780A (zh) 2017-08-01
US20170351356A1 (en) 2017-12-07

Similar Documents

Publication Publication Date Title
JP6262703B2 (ja) スマートフォン
US8717332B2 (en) Planar element, and touch switch
CN105765501B (zh) 导电片、静电电容式触摸面板和显示装置
KR101093651B1 (ko) 금속박막을 이용한 터치패널 및 그 제조방법
EP3258356A1 (en) Touch input device and electrode sheet
JP2013041573A (ja) 静電容量方式タッチパネルおよび静電容量方式タッチパネルにおける金属ジャンパの視認性の減少方法
KR101357586B1 (ko) 터치 패널
CN105718114A (zh) 智能手机
JP6084117B2 (ja) タッチパネル、表示装置及び電子機器
KR20190044625A (ko) 터치 패널용 부재
KR101103536B1 (ko) 강화유리 일면에 두 층의 투명도전막을 갖는 정전용량방식 터치패널 및 그 제조방법
JP5989757B2 (ja) タッチパネル
KR20130116854A (ko) 터치윈도우
JP2014170342A (ja) 静電容量式入力装置
JP6134965B2 (ja) タッチパネル装置
US9342171B2 (en) Touch panel with first and second electrodes extending in the same direction but on opposite surfaces of a substrate
JP6134968B2 (ja) 表示装置
JP6180174B2 (ja) タッチパネル、表示装置及び電子機器
CN202649985U (zh) 透明电容触摸板的电磁屏蔽结构
KR101916306B1 (ko) 터치 패널
JP2015210554A (ja) タッチスクリーン、タッチパネル、表示装置、および電子機器
JP2013148941A (ja) 静電容量式タッチパネル及びその生産方法
JP2012226498A (ja) タッチスイッチ
JP2015149094A (ja) 静電容量式入力装置
JP2014174656A (ja) タッチパネル用電極部材、タッチパネル、及び画像表示装置

Legal Events

Date Code Title Description
A621 Written request for application examination

Free format text: JAPANESE INTERMEDIATE CODE: A621

Effective date: 20160408

A871 Explanation of circumstances concerning accelerated examination

Free format text: JAPANESE INTERMEDIATE CODE: A871

Effective date: 20160408

A975 Report on accelerated examination

Free format text: JAPANESE INTERMEDIATE CODE: A971005

Effective date: 20160506

A131 Notification of reasons for refusal

Free format text: JAPANESE INTERMEDIATE CODE: A131

Effective date: 20160531

A521 Request for written amendment filed

Free format text: JAPANESE INTERMEDIATE CODE: A523

Effective date: 20160705

TRDD Decision of grant or rejection written
A01 Written decision to grant a patent or to grant a registration (utility model)

Free format text: JAPANESE INTERMEDIATE CODE: A01

Effective date: 20160809

A61 First payment of annual fees (during grant procedure)

Free format text: JAPANESE INTERMEDIATE CODE: A61

Effective date: 20160810

R150 Certificate of patent or registration of utility model

Ref document number: 5989757

Country of ref document: JP

Free format text: JAPANESE INTERMEDIATE CODE: R150

S533 Written request for registration of change of name

Free format text: JAPANESE INTERMEDIATE CODE: R313533

R350 Written notification of registration of transfer

Free format text: JAPANESE INTERMEDIATE CODE: R350

R250 Receipt of annual fees

Free format text: JAPANESE INTERMEDIATE CODE: R250

R250 Receipt of annual fees

Free format text: JAPANESE INTERMEDIATE CODE: R250

R250 Receipt of annual fees

Free format text: JAPANESE INTERMEDIATE CODE: R250

R250 Receipt of annual fees

Free format text: JAPANESE INTERMEDIATE CODE: R250

R250 Receipt of annual fees

Free format text: JAPANESE INTERMEDIATE CODE: R250

R250 Receipt of annual fees

Free format text: JAPANESE INTERMEDIATE CODE: R250

R250 Receipt of annual fees

Free format text: JAPANESE INTERMEDIATE CODE: R250