JP5918656B2 - 回転電機 - Google Patents

回転電機 Download PDF

Info

Publication number
JP5918656B2
JP5918656B2 JP2012187367A JP2012187367A JP5918656B2 JP 5918656 B2 JP5918656 B2 JP 5918656B2 JP 2012187367 A JP2012187367 A JP 2012187367A JP 2012187367 A JP2012187367 A JP 2012187367A JP 5918656 B2 JP5918656 B2 JP 5918656B2
Authority
JP
Japan
Prior art keywords
stator
air
axial end
main body
flow path
Prior art date
Legal status (The legal status is an assumption and is not a legal conclusion. Google has not performed a legal analysis and makes no representation as to the accuracy of the status listed.)
Active
Application number
JP2012187367A
Other languages
English (en)
Other versions
JP2014045606A (ja
Inventor
錦霞 謝
錦霞 謝
成重 大村
成重 大村
良晃 八木
良晃 八木
Current Assignee (The listed assignees may be inaccurate. Google has not performed a legal analysis and makes no representation or warranty as to the accuracy of the list.)
Toshiba Mitsubishi Electric Industrial Systems Corp
Original Assignee
Toshiba Mitsubishi Electric Industrial Systems Corp
Priority date (The priority date is an assumption and is not a legal conclusion. Google has not performed a legal analysis and makes no representation as to the accuracy of the date listed.)
Filing date
Publication date
Application filed by Toshiba Mitsubishi Electric Industrial Systems Corp filed Critical Toshiba Mitsubishi Electric Industrial Systems Corp
Priority to JP2012187367A priority Critical patent/JP5918656B2/ja
Priority to CN201310379755.2A priority patent/CN103683663B/zh
Publication of JP2014045606A publication Critical patent/JP2014045606A/ja
Application granted granted Critical
Publication of JP5918656B2 publication Critical patent/JP5918656B2/ja
Active legal-status Critical Current
Anticipated expiration legal-status Critical

Links

Images

Landscapes

  • Motor Or Generator Cooling System (AREA)

Description

本発明は、内部の空気が循環する系統が形成された回転電機に関する。
回転電機は、運転時に回転子鉄心や固定子鉄心に取り付けられたコイルから発熱する。ある限度以上に過熱されるとコイルの絶縁物の劣化が促進する。その結果、当該絶縁物が損傷する。また、絶縁物の交換タイミングが短縮する。
従来の回転電機は、温度上昇を抑えるために、鉄心に通風ダクトが設けられている。通風ダクトには、ファンの回転によって生じた冷却風が流されるようになっている。ファンは、回転軸と共に回転して、固定子枠内の空気を循環させる機能を有している。
冷却風により固定子鉄心を冷却するときに、固定子鉄心の部位によって冷却度合いが異なること、すなわち鉄心温度のアンバランスが生じることがある。
鉄心の温度のアンバランスを低下させて、冷却効果を高める方法として、特許文献1に開示されているように、回転軸の軸方向に風仕切板を設けることが知られている。
特開平5−130753号公報
しかし、上記の例では、固定子鉄心の軸方向両側から固定子内の軸方向中央に向かうように空気が流れている。この方法を一方通風式回転電機に適用した場合、熱交換器出口から出た冷媒(冷却空気)は回転軸と回転子の間に形成される通風路(半径方向空隙)を通り、回転子および固定子鉄心にあるダクトを通って鉄心を冷却し、最後に熱交換器入口へと戻ることとなる。
ダクトは、冷却空気が半径方向に流れる流路であって、固定子鉄心内に軸方向に互いに間隔をあけて複数形成されている。軸方向に複数形成されたダクトそれぞれを通る冷却空気の量は均一ではないことが多いため、固定子鉄心の温度に軸方向の不均一が生じてしまう。このため、上記の例では一方向に循環する流通経路の場合には、対応できない。
本発明は上述した課題を解決するためになされたものであり、その目的は、一方通風式回転電機に係る固定子等を均一に冷却できるようにすることである。
上記目的を達成するための本発明に係る回転電機は、所定の軸周りを回転する回転軸と、前記回転軸を半径方向外側から所定の半径方向空隙を保ちながら取り囲むように配置された円環状で、前記回転軸と共に回転する回転子と、前記回転子を半径方向外側から取り囲む固定子と、前記固定子を半径方向外側から取り囲むように構成された本体部と、この本体部内の空気が流入可能で且つ内部の空気が前記本体部内に流出可能に構成された風道部と、を備えるフレームと、前記風道部内に配置されて、前記本体部内の空気を冷却可能な熱交換器と、を有し、前記固定子の第1軸方向端部から前記半径方向空隙を流れた後に前記第1軸方向端部の反対側の第2軸方向端部に向かって流れる前記本体部内の空気が、前記本体部内の前記第2軸方向端部側から前記風道部内に流入し、前記熱交換器で冷却されて、前記本体部内の前記第1軸方向端部側に流入するように一方通行の空気流路が形成された回転電機において、前記回転軸の軸方向中央よりも前記第1軸方向端部側に、前記回転軸の外周を取り囲むように固定されて、前記半径方向空隙の少なくとも一部を塞ぐように前記回転軸に垂直な方向に広がる面が形成された風仕切り板を有し、前記本体部と前記風道部とを仕切る第1板群が、前記固定子と前記熱交換器との間で、前記第1軸方向端部から前記第2軸方向端部に向かって上昇するような傾斜部を備えて、前記固定子の上面と前記傾斜部とによってはさまれた固定子上方流路が形成され、当該固定子上方流路は前記第1軸方向端部から前記第2軸方向端部に向かって拡大するように構成されていること、を特徴とする。
本発明によれば、一方通風式回転電機に係る固定子等を均一に冷却することが可能である。
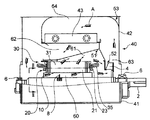
本発明に係る第1の実施形態の回転電機を模式的に示した概略正面図であって、上半分を断面で示す。 図1の回転電機のII−II矢視の概略側面図である。 図1の回転子および固定子を部分的に拡大した部分拡大正面図である。 本発明に係る第2の実施形態の回転電機を模式的に示した概略正面図である。 本発明に係る第3の実施形態の回転電機の風仕切り板等を模式的に示した部分側面図である。 図5の風仕切り板よりも、半径方向空隙内の気流の下流側に配置された風仕切り板等を模式的に示した部分側面図である。
以下、本発明に係る回転電機の実施形態について図面を参照して説明する。
[第1の実施形態]
第1の実施形態について、図1〜図3を用いて説明する。図1は、本実施形態の回転電機を模式的に示した概略正面図であって、上半分を断面で示す。図2は、図1の回転電機のII−II矢視の概略側面図である。図3は、図1の回転子20および固定子30を部分的に拡大した部分拡大正面図である。
先ず、本実施形態の回転電機の構成について説明する。
本実施形態の回転電機は、回転軸2と、リブ10と、回転子20と、固定子30と、回転軸2および固定子30等を収容するフレーム40と、を有する。
回転軸2は、水平な軸周りを回転する円柱状の部材で、軸受6により回転自在に支持されている。回転軸2には、回転軸2と共に回転する内部ファン4が取り付けられている。
リブ10は、取付け部11と、支持部12と、円環部13と、を有する(図2)。
取付け部11は、回転軸2の外周面を取り囲んで回転軸2に取り付けられる部材である。支持部12は、取付け部11から放射状に円環部13の内周面まで延びる棒状で、周方向に等間隔(90度ごと)に、すなわち4箇所に形成される(図2)。周方向に隣り合う支持部12の間には、風仕切り板8が配置される。風仕切り板8については、後で説明する。
円環部13は、支持部12に支持されて、回転軸2の外周面に所定の半径方向空隙60を保ちながら取り囲むように構成されている。
回転子20は、リブ10の円環部13の半径方向外側を取り囲むように固定されて、回転軸2と共に回転する。この回転子20は、回転子鉄心21と、導体の回転子バー23と、を有する。回転子鉄心21は、鋼板が軸方向に複数積層されてなる複数の鋼板群25と、軸方向に隣り合う鋼板群25の間それぞれに配置された複数の間隔板26と、を有する(図3)。固定子鉄心21には、軸方向に延びるスロット24が形成されている。間隔板26には、半径方向に貫通する回転子ダクト22が形成されている。この例では、間隔板26が軸方向に複数配列されているため、回転子ダクト22は、軸方向に複数形成される。
回転子バー23は、スロット24を貫通するように配置される部材である。
固定子30は、回転子20を半径方向外側から取り囲む円環状の部材である。この固定子30は、固定子鉄心31および固定子巻線35等からなる。固定子鉄心31は、詳細な図示は省略するが、複数の鋼板群32と、複数の間隔板33と、を有する。
鋼板群32は、鋼板が軸方向に複数積層されてなる部材である。間隔板33は、軸方向に互いに隣接する鋼板群32の間に配置される部材である。この間隔板33には、空気が半径方向に流通可能な流路(固定子ダクト34)が形成されている。固定子巻線35は、固定子鉄心31に形成されたスロット(図示せず)に巻きまわされる。
フレーム40は、本体部41および風道部42を有する。本体部41は、軸受6等が固定されて、固定子30を半径方向外側から取り囲み、回転子20および固定子30を収容する。
風道部42は、本体部41と互いに連通するように形成されて、本体部41内の空気が流入可能で、且つ風道部42の内部の空気が本体部41内に流出可能に構成されている。空気の流路等については、後述する。
風道部42内には、熱交換器43が配置されている。この熱交換器43は、フレーム40内の空気を冷却する機能を有し、冷却された空気によって固定子30等を冷却する。当該熱交換器43は、固定子30等を冷却するための空気の流路上に配置される。この例では、熱交換器43は、固定子30の上方に配置される。
この熱交換器43の周囲には、複数の板からなり空気の流路を形成する複数の板群が配置されている。
これらの板群には、固定子30と熱交換器43を仕切る第1板群51と、本体部41から風道部42への入口部を形成する第2板群52と、熱交換器43に空気を流入させるための第3板群53と、を含む。
第1板群51は、固定子30の上方で且つ熱交換器43の下方に取り付けられて、固定子30および熱交換器43を仕切るように配置される。この第1板群51の下方は、固定子30内を通り抜けた空気が流れる流路(固定子上方流路61)が形成されて、第1板群51の上方は、熱交換器43を通り抜けた空気が流れる流路(熱交換器下方流路62)が形成される。
第2板群52は、固定子30と内部ファン4との間に配置されて、風道部入口流路63を形成する。この風道部入口流路63は、固定子上方流路61から流れる空気が流入し、その後、内部ファン4を通り抜けて風道部42に流れるように形成されている。
第3板群53は、熱交換器43の軸方向両側の端部の上方それぞれに配置されて、曲面が形成された板である。この第3板群53により、風道部入口流路63から流れる空気が流れる熱交換器上流側流路64を形成する。
風仕切り板8は、回転軸2に垂直な方向に広がる面が形成されている板状の部材であって、リブ10の軸方向中央よりも図1における左側で、回転子20の左側端部よりも右側に配置される。
この風仕切り板8は、周方向に隣り合う支持部12の周方向間隙それぞれに取り付けられ、この例では、4枚の風仕切り板8が回転軸2の外周を取り囲むように配置される(図2)。なお、図1では、風仕切り板8を固定するための支持部12や取付け部11の図示は省略している。
このように構成することで、各風仕切り板8は、半径方向空隙60の一部を塞ぎ、半径方向間隙を通り抜けようとする空気の流れを阻害することができる。
続いて、冷却空気の流路について説明する。
回転電機に電力が供給されると、回転軸2および回転子20が回転し、固定子巻線35から熱が発生し、その熱は、固定子鉄心31等に伝わる。
回転軸2の回転に伴い、内部ファン4が回転する。内部ファン4の回転により、フレーム40内に空気の流れが発生する。この例では、図1における複数の矢印Aで示すように空気が流れる。すなわち、内部ファン4は、図1における内部ファン4の左側の半径方向空隙60および固定子上方流路61の空気を吸い込むように回転する。
内部ファン4によって吸い込まれた空気は、風道部入口流路63を経て、熱交換器上流側流路64に流れ込む。その後、当該空気は、熱交換器43を通り抜ける。熱交換器43を通り抜けている間に、当該空気は冷却される。
詳細な図示は省略するが、熱交換器43には、内部に冷却水配管が配置されている。この冷却水配管は、風道部42の外部から冷却水を供給し、熱交換後に再び風道部42の外部に流れるように構成されている。
熱交換器43により冷却された空気は、熱交換器下方流路62に流れ込んで、回転子20および固定子30の軸方向外側(図1の左側)を経て、一部は半径方向空隙60に流れ込む。半径方向空隙60に流れ込んだ空気の多くは、風仕切り板8に吹き付けられる。
風仕切り板8に吹き付けられた空気の一部は、風仕切り板8よりも下流側(図1の右側)に流れて、そのまま半径方向空隙60を通り抜けて、内部ファン4に向かって流れる。
風仕切り板8に吹き付けられた空気の一部は、回転子ダクト22を半径方向外側に通り抜けて、固定子鉄心31の固定子ダクト34に流れ込む。このとき、風仕切り板8の図1の右側にある鋼板群32等を冷却することができる。風仕切り板8の図1の右側にある鋼板群25、32等を冷却した空気は、固定子上方流路61に流れ出て、内部ファン4に向かって流れる。
仮に風仕切り板8がない場合には、半径方向空隙60に流れ込んだ空気は、その多くが半径方向空隙60の下流側(図1の右側)に向かって流れてしまう。その結果、特に上流側の回転子ダクト22および固定子ダクト34の半径方向流路に流れる空気は、少なくなる。この場合、回転子20および固定子30を冷却する効果が低くなる。特に上流側の固定子鉄心31の冷却効率は低くなってしまう。
これに対して、本実施形態では、風仕切り板8を配置することによって、固定子30内の軸方向の上流側を効率よく冷却できる。
以上の説明からわかるように本実施形態によれば、冷却されにくい軸方向の上流側の固定子鉄心31の冷却効果を向上させることで、固定子鉄心31等を軸方向に均一に冷却できるようにすることが可能になる。
[第2の実施形態]
第2の実施形態について図4を用いて説明する。図4は、本実施形態の回転電機を模式的に示した概略正面図である。なお、図4では、リブ10の支持部12および取付け部11について、回転子20の軸方向中央よりも上流側(図4における左側)のみ示し、下流側は省略している。本実施形態は、第1の実施形態(図1〜図3)の変形例であって、第1の実施形態と同一部分または類似部分には、同一符号を付して、重複説明を省略する。
本実施形態の風仕切り板8は、回転子20の軸方向中央よりも、上流側、すなわち、図4における左側に、風仕切り板8が軸方向に複数(この例では、二つ)配置されている。
これにより、第1の実施形態と同様の効果を得ると共に、第1の実施形態よりも、半径方向空隙60内において上流側の固定子30等を冷却しやすくなる。
[第3の実施形態]
第3の実施形態について図5および図6を用いて説明する。図5は、本実施形態の回転電機の風仕切り板8等を模式的に示した部分側面図である。図6は、図5の風仕切り板8よりも、半径方向空隙60内の気流の下流側に配置された風仕切り板8等を模式的に示した部分側面図である。
なお、本実施形態は、第1の実施形態(図1〜図3)の変形例であって、第1の実施形態と同一部分または類似部分には、同一符号を付して、重複説明を省略する。また、本実施形態の回転電機の全体の構成は、第1の実施形態で説明した図1に示すものと同様である。
本実施形態の回転子20は、支持部12が軸方向に複数配列されて支持されている。この例では、軸方向に配列された全ての支持部12に風仕切り板8が取り付けられている。このとき、風仕切り板8の面積が上流側と下流側で異なるように構成される。
この例では、上流側が下流側よりも面積が大きくなるように、すなわち、半径方向空隙60に占める割合が大きくなるように構成されている。図5に示す風仕切り板8が取り付けられる軸方向位置は、図6に示す風仕切り板8が取り付けられる軸方向位置よりも、上流側である。
このように構成することで、第1の実施形態よりも、半径方向空隙60から各間隔板33の半径方向流路に流す空気の量を細かく調整することが可能になり、固定子30等を均一に冷却することが可能になる。
[その他の実施形態]
上記実施形態の説明は、本発明を説明するための例示であって、特許請求の範囲に記載の発明を限定するものではない。また、本発明の各部構成は上記実施形態に限らず、特許請求の範囲に記載の技術的範囲内で種々の変形が可能である。
上述した実施形態では、内部ファン4でフレーム40内の空気を流通させているが、これに限らない。他の電源で回転する外部ファンで、フレーム40内の空気を循環させてもよい。
また、第3の実施形態では、風仕切り板8の外寸で面積を調整しているが、これに限らない。所定の形状の穴(例えば、円形や矩形)で面積を調整してもよい。
2…回転軸、4…内部ファン、6…軸受、8…風仕切り板、10…リブ、11…取付け部、12…支持部、13…円環部、20…回転子、21…回転子鉄心、22…回転子ダクト、23…回転子バー、24…スロット、25…鋼板群、26…間隔板、30…固定子、31…固定子鉄心、32…鋼板群、33…間隔板、34…固定子ダクト、35…固定子巻線、40…フレーム、41…本体部、42…風道部、43…熱交換器、51…第1板群、52…第2板群、53…第3板群、60…半径方向空隙、61…固定子上方流路、62…熱交換器下方流路、63…風道部入口流路、64…熱交換器上流側流路

Claims (3)

  1. 水平方向に延びる周りを回転する回転軸と、
    前記回転軸を半径方向外側から所定の半径方向空隙を保ちながら取り囲むように配置された円環状で、前記回転軸と共に回転する回転子と、
    前記回転子を半径方向外側から取り囲む固定子と、
    前記固定子を半径方向外側から取り囲むように構成された本体部と、この本体部内の空気が流入可能で且つ内部の空気が前記本体部内に流出可能に構成された風道部と、を備えるフレームと、
    前記風道部内で前記固定子の上方に配置されて、前記本体部内の空気を冷却可能な熱交換器と、
    を有し、
    前記固定子の第1軸方向端部から前記半径方向空隙を流れた後に前記第1軸方向端部の反対側の第2軸方向端部に向かって流れる前記本体部内の空気が、前記本体部内の前記第2軸方向端部側から前記風道部内に流入し、前記熱交換器で冷却されて、前記本体部内の前記第1軸方向端部側に流入するように一方通行の空気流路が形成された回転電機において、
    前記回転軸の軸方向中央よりも前記第1軸方向端部側に、前記回転軸の外周を取り囲むように固定されて、前記半径方向空隙の少なくとも一部を塞ぐように前記回転軸に垂直な方向に広がる面が形成された風仕切り板を有し、
    前記本体部と前記風道部とを仕切る第1板群が、前記固定子と前記熱交換器との間で、前記第1軸方向端部から前記第2軸方向端部に向かって上昇するような傾斜部を備えて、前記固定子の上面と前記傾斜部とによってはさまれた固定子上方流路が形成され、当該固定子上方流路は前記第1軸方向端部から前記第2軸方向端部に向かって拡大するように構成されていること、
    を特徴とする回転電機。
  2. 前記風仕切り板は、軸方向に互いに間隔をあけて複数配列されていること、を特徴とする請求項1に記載の回転電機。
  3. 前記空気流路の上流側にある前記風仕切り板の面積よりも、下流側にある前記風仕切り板の面積が小さくなるように構成されていること、を特徴とする請求項2に記載の回転電機。
JP2012187367A 2012-08-28 2012-08-28 回転電機 Active JP5918656B2 (ja)

Priority Applications (2)

Application Number Priority Date Filing Date Title
JP2012187367A JP5918656B2 (ja) 2012-08-28 2012-08-28 回転電機
CN201310379755.2A CN103683663B (zh) 2012-08-28 2013-08-27 旋转电机

Applications Claiming Priority (1)

Application Number Priority Date Filing Date Title
JP2012187367A JP5918656B2 (ja) 2012-08-28 2012-08-28 回転電機

Publications (2)

Publication Number Publication Date
JP2014045606A JP2014045606A (ja) 2014-03-13
JP5918656B2 true JP5918656B2 (ja) 2016-05-18

Family

ID=50320274

Family Applications (1)

Application Number Title Priority Date Filing Date
JP2012187367A Active JP5918656B2 (ja) 2012-08-28 2012-08-28 回転電機

Country Status (2)

Country Link
JP (1) JP5918656B2 (ja)
CN (1) CN103683663B (ja)

Families Citing this family (5)

* Cited by examiner, † Cited by third party
Publication number Priority date Publication date Assignee Title
JP6054323B2 (ja) * 2014-03-05 2016-12-27 東芝三菱電機産業システム株式会社 全閉式回転電機
JP6637683B2 (ja) * 2015-06-19 2020-01-29 東芝三菱電機産業システム株式会社 回転電機
WO2017070760A1 (pt) * 2015-10-28 2017-05-04 Weg Equipamentos Elétricos S.a. Máquina elétrica
JP6515074B2 (ja) * 2016-09-13 2019-05-15 東芝三菱電機産業システム株式会社 全閉外扇形回転電機
DE102016125218A1 (de) * 2016-12-21 2018-06-21 Wobben Properties Gmbh Statorträger für einen Stator eines Windenergieanlagengenerators, sowie Stator, Generator und Windenergieanlage mit selbigem

Family Cites Families (8)

* Cited by examiner, † Cited by third party
Publication number Priority date Publication date Assignee Title
JPH0480249U (ja) * 1990-11-27 1992-07-13
JPH05130753A (ja) * 1991-11-05 1993-05-25 Mitsubishi Electric Corp 回転電機の回転子
GB2289992B (en) * 1994-05-24 1998-05-20 Gec Alsthom Ltd Improvements in or relating to cooling arrangements in rotating electrical machines
JP2001178050A (ja) * 1999-12-14 2001-06-29 Meidensha Corp 回転電機の回転子
US6680549B2 (en) * 2001-11-01 2004-01-20 General Electric Company Tapered rotor-stator air gap for superconducting synchronous machine
JP4180974B2 (ja) * 2003-06-02 2008-11-12 株式会社東芝 車両駆動用全閉自冷形電動機及び該電動機に備わる冷却器の製造方法
CN201601574U (zh) * 2009-12-10 2010-10-06 广东省东莞电机有限公司 纯轴向通风高压电机
CN201576990U (zh) * 2009-12-10 2010-09-08 广东省东莞电机有限公司 轴径向混合通风高压电机

Also Published As

Publication number Publication date
CN103683663B (zh) 2016-04-27
CN103683663A (zh) 2014-03-26
JP2014045606A (ja) 2014-03-13

Similar Documents

Publication Publication Date Title
US20110278969A1 (en) Electrical machine with multiple cooling flows and cooling method
US20150162805A1 (en) Rotor of rotating electrical machine and rotating electrical machine
JP5918656B2 (ja) 回転電機
KR20160079898A (ko) 회전 전기기계
JP2014033584A (ja) 回転電機の風冷構造
CN102377266A (zh) 旋转电机及风力发电系统
JP5342955B2 (ja) 回転電機
JP2013066341A (ja) 回転電機
JP2011071190A (ja) 多重変圧器装置
JP4897587B2 (ja) 回転電機
CN105391200A (zh) 全封闭旋转电机
JP6637683B2 (ja) 回転電機
CN107359727A (zh) 一种有利于电动机通风的机座及采用该机座的电动机
JP5881921B1 (ja) 回転電機
KR101668547B1 (ko) 회전 전기기계
JP2016220395A (ja) 回転電機
JP2018148776A (ja) 回転電機
JP2016100953A (ja) 回転電機
JP4576309B2 (ja) 回転電機
EP3142231A1 (en) An electric power generator
JP2013034332A (ja) 回転電機
JP6246388B2 (ja) 回転電機
WO2022044450A1 (ja) 回転電機
JP2017200354A (ja) ブラシレス回転電機
CN223194494U (zh) 转子组件和发电机

Legal Events

Date Code Title Description
RD02 Notification of acceptance of power of attorney

Free format text: JAPANESE INTERMEDIATE CODE: A7422

Effective date: 20140227

A621 Written request for application examination

Free format text: JAPANESE INTERMEDIATE CODE: A621

Effective date: 20141029

A977 Report on retrieval

Free format text: JAPANESE INTERMEDIATE CODE: A971007

Effective date: 20150828

A131 Notification of reasons for refusal

Free format text: JAPANESE INTERMEDIATE CODE: A131

Effective date: 20150901

A521 Request for written amendment filed

Free format text: JAPANESE INTERMEDIATE CODE: A523

Effective date: 20151029

TRDD Decision of grant or rejection written
A01 Written decision to grant a patent or to grant a registration (utility model)

Free format text: JAPANESE INTERMEDIATE CODE: A01

Effective date: 20160329

A61 First payment of annual fees (during grant procedure)

Free format text: JAPANESE INTERMEDIATE CODE: A61

Effective date: 20160408

R150 Certificate of patent or registration of utility model

Ref document number: 5918656

Country of ref document: JP

Free format text: JAPANESE INTERMEDIATE CODE: R150

R250 Receipt of annual fees

Free format text: JAPANESE INTERMEDIATE CODE: R250

R250 Receipt of annual fees

Free format text: JAPANESE INTERMEDIATE CODE: R250

R250 Receipt of annual fees

Free format text: JAPANESE INTERMEDIATE CODE: R250

R250 Receipt of annual fees

Free format text: JAPANESE INTERMEDIATE CODE: R250

R250 Receipt of annual fees

Free format text: JAPANESE INTERMEDIATE CODE: R250

R250 Receipt of annual fees

Free format text: JAPANESE INTERMEDIATE CODE: R250

R250 Receipt of annual fees

Free format text: JAPANESE INTERMEDIATE CODE: R250