JP5881369B2 - タービン動翼及びこれを備えたガスタービン - Google Patents

タービン動翼及びこれを備えたガスタービン Download PDF

Info

Publication number
JP5881369B2
JP5881369B2 JP2011236148A JP2011236148A JP5881369B2 JP 5881369 B2 JP5881369 B2 JP 5881369B2 JP 2011236148 A JP2011236148 A JP 2011236148A JP 2011236148 A JP2011236148 A JP 2011236148A JP 5881369 B2 JP5881369 B2 JP 5881369B2
Authority
JP
Japan
Prior art keywords
plug
recess
rotor
shroud
longitudinal direction
Prior art date
Legal status (The legal status is an assumption and is not a legal conclusion. Google has not performed a legal analysis and makes no representation as to the accuracy of the status listed.)
Active
Application number
JP2011236148A
Other languages
English (en)
Other versions
JP2013092138A (ja
Inventor
竜太 伊藤
竜太 伊藤
Current Assignee (The listed assignees may be inaccurate. Google has not performed a legal analysis and makes no representation or warranty as to the accuracy of the list.)
Mitsubishi Heavy Industries Ltd
Original Assignee
Mitsubishi Heavy Industries Ltd
Priority date (The priority date is an assumption and is not a legal conclusion. Google has not performed a legal analysis and makes no representation as to the accuracy of the date listed.)
Filing date
Publication date
Application filed by Mitsubishi Heavy Industries Ltd filed Critical Mitsubishi Heavy Industries Ltd
Priority to JP2011236148A priority Critical patent/JP5881369B2/ja
Priority to KR1020147000124A priority patent/KR101551132B1/ko
Priority to PCT/JP2012/077455 priority patent/WO2013061997A1/ja
Priority to CN201280036830.9A priority patent/CN103703216B/zh
Priority to EP12844208.4A priority patent/EP2752555B1/en
Priority to US13/660,431 priority patent/US9371741B2/en
Publication of JP2013092138A publication Critical patent/JP2013092138A/ja
Application granted granted Critical
Publication of JP5881369B2 publication Critical patent/JP5881369B2/ja
Active legal-status Critical Current
Anticipated expiration legal-status Critical

Links

Images

Classifications

    • FMECHANICAL ENGINEERING; LIGHTING; HEATING; WEAPONS; BLASTING
    • F01MACHINES OR ENGINES IN GENERAL; ENGINE PLANTS IN GENERAL; STEAM ENGINES
    • F01DNON-POSITIVE DISPLACEMENT MACHINES OR ENGINES, e.g. STEAM TURBINES
    • F01D25/00Component parts, details, or accessories, not provided for in, or of interest apart from, other groups
    • F01D25/08Cooling; Heating; Heat-insulation
    • F01D25/12Cooling
    • FMECHANICAL ENGINEERING; LIGHTING; HEATING; WEAPONS; BLASTING
    • F01MACHINES OR ENGINES IN GENERAL; ENGINE PLANTS IN GENERAL; STEAM ENGINES
    • F01DNON-POSITIVE DISPLACEMENT MACHINES OR ENGINES, e.g. STEAM TURBINES
    • F01D5/00Blades; Blade-carrying members; Heating, heat-insulating, cooling or antivibration means on the blades or the members
    • F01D5/12Blades
    • F01D5/14Form or construction
    • F01D5/18Hollow blades, i.e. blades with cooling or heating channels or cavities; Heating, heat-insulating or cooling means on blades
    • F01D5/187Convection cooling
    • FMECHANICAL ENGINEERING; LIGHTING; HEATING; WEAPONS; BLASTING
    • F01MACHINES OR ENGINES IN GENERAL; ENGINE PLANTS IN GENERAL; STEAM ENGINES
    • F01DNON-POSITIVE DISPLACEMENT MACHINES OR ENGINES, e.g. STEAM TURBINES
    • F01D5/00Blades; Blade-carrying members; Heating, heat-insulating, cooling or antivibration means on the blades or the members
    • F01D5/12Blades
    • F01D5/22Blade-to-blade connections, e.g. for damping vibrations
    • F01D5/225Blade-to-blade connections, e.g. for damping vibrations by shrouding
    • FMECHANICAL ENGINEERING; LIGHTING; HEATING; WEAPONS; BLASTING
    • F05INDEXING SCHEMES RELATING TO ENGINES OR PUMPS IN VARIOUS SUBCLASSES OF CLASSES F01-F04
    • F05DINDEXING SCHEME FOR ASPECTS RELATING TO NON-POSITIVE-DISPLACEMENT MACHINES OR ENGINES, GAS-TURBINES OR JET-PROPULSION PLANTS
    • F05D2260/00Function
    • F05D2260/20Heat transfer, e.g. cooling
    • F05D2260/202Heat transfer, e.g. cooling by film cooling

Landscapes

  • Engineering & Computer Science (AREA)
  • Mechanical Engineering (AREA)
  • General Engineering & Computer Science (AREA)
  • Turbine Rotor Nozzle Sealing (AREA)

Description

本発明は、タービン動翼及びこれを備えたガスタービンに関する。
近年、ガスタービンの高温、高効率化が進み、これに伴ってタービン動翼の翼高さも増大化(長大翼化)傾向にある。特に、後方段動翼では、排出される燃焼ガスの熱エネルギーを抑える必要があり、翼高さの増大化が著しくなっている。このような動翼では、翼高さの増大化に伴って振動数が低下することで、フラッターなどの不安定な振動モードが発生する可能性が高まる。
そこで、各タービン動翼を構成する翼本体の先端にチップシュラウドが配され、構造減衰を増加させることで不安定な振動モードの発生を抑えている。このチップシュラウドもガスタービンの高温化にともない冷却する必要があるため、該チップシュラウド内には冷却構造が形成されている。
このような冷却構造としては、例えば特許文献1に示すように、翼本体を冷却した冷却空気をチップシュラウドの冷却にも使用すべく、翼本体内の冷却路と連通するキャビティをチップシュラウド内に形成したものが知られている。このキャビティは、チップシュラウドに冷却路と連通する凹部を形成し、当該凹部の開口をプラグで閉塞することで形成される。これにより、冷却空気をキャビティに導入し、該キャビティを介して冷却媒体をチップシュラウドの外周に供給することで該チップシュラウドの冷却を図っている。
また、特許文献2には、ロータの回転による遠心力で上記プラグが外れてしまうことを防ぐために、凹部の一対の側面にそれぞれ取付溝を形成し、該取付溝にプラグを挿入することで凹部の開口を閉塞してキャビティを構成する技術が記載されている。より具体的には、この特許文献2の取付溝はロータの軸方向に対向するように形成されており、該取付溝に一枚のプラグが周方向から挿入されることで開口が閉塞されるようになっている。
特開2000−297604号公報 特開2010−31865号公報
しかしながら、上記特許文献2の技術では、プラグにおける取付溝に挿入されていない部分が遠心力によってロータの径方向外側に膨らんでしまうという問題がある。即ち、一対の取付溝がロータの軸方向に対向してこれら取付溝同士の間隔がある程度離間しているため、プラグに作用する遠心力やキャビティ内外の圧力差によってプラグの中央部が径方向外側にクリープ変形し易くなってしまう。したがって、このクリープ変形に基くプラグ自体の膨らみにより、長期間にわたって使用した場合にはプラグが損傷してしまうおそれがある。
本発明はこのような課題に鑑みてなされたものであって、プラグの耐久性を向上させることが可能なタービン動翼及びこれを備えたガスタービンを提供することを目的とする。
上記課題を解決するため、本発明は以下の手段を提供している。
即ち、本発明に係るタービン動翼は、ロータ本体から径方向に延びるように取り付けられる翼本体と、該翼本体の前記径方向外側に固定されたチップシュラウドとを備えるタービン動翼において、前記翼本体内に前記径方向に延びて冷却媒体が流通する冷却路が形成され、前記チップシュラウドは、前記径方向外側に開口するように外周端面から凹んで前記冷却路の前記径方向外側の端部と連通する凹部が形成されるともに、該凹部の側面に取付溝が形成されたシュラウド本体と、前記取付溝に順次挿入されることで互いに協働して前記凹部の開口を閉塞する複数のプラグ片を有するプラグとを備え、前記凹部は、前記外周端面に沿う方向を長手方向として延在し、前記取付溝は、前記長手方向に沿う一対の前記側面に形成され、複数の前記プラグ片は、互いに当接するように前記長手方向に並んで前記凹部の開口を閉塞していることを特徴とする
このような特徴のタービン動翼によれば、プラグを複数のプラグ片で形成し、各プラグ片のそれぞれを取付溝に挿入したため、プラグを一枚物として構成した場合に比べて膨らみによる破損を低減させることができる。
さらに、このような特徴のタービン動翼では、凹部の長手方向に沿う一対の側面に取付溝が形成されていることから、一対の側面の対向方向は凹部の短手方向となる。したがって、凹部の短手方向に沿う側面に取付溝を形成した場合に比べて、一対の取付溝の間隔が狭く設定される。これにより、取付溝に挿入されるプラグ片における該取付溝の対向方向の間隔も狭く設定することができるため、遠心力によるプラグ片の変形を低減させることができ、該プラグ片の膨らみをより一層低減させることが可能となる。
さらに、本発明に係るタービン動翼において、前記冷却路は、前記翼本体の内部に複数が形成されており、これら複数の冷却路の径方向外側の端部は、前記ロータ本体の周方向及び軸線方向にそれぞれ傾斜する方向に配列されており、前記凹部は、前記冷却路の径方向外側の端部の配列方向を前記長手方向として延在していることが好ましい。
凹部の長手方向が周方向及び軸線方向に傾斜する方向に延在することになるため、例えばチップシュラウドの外周端面に、プラグ片を挿入する際の障害物がある場合であっても、該プラグ片を容易に取付溝に挿入することができる。また、ロータの回転加速度によってプラグ片が外れてしまうことを防止できる。
また、本発明に係るタービン動翼において、前記シュラウド本体は、前記凹部の長手方向の少なくとも一端側に、前記プラグ片を前記取付溝に挿入するためのプラグ挿入口を有することが好ましい。
これによって、容易かつ確実に取付溝にプラグ片を挿入することができる。
さらに、本発明に係るタービン動翼において、前記シュラウド本体は、前記外周端面から突出して、前記ロータ本体の周方向に延びるとともに前記ロータ本体の軸線方向に間隔をあけて配置された複数のチップフィンを有し、前記凹部は、前記複数のチップフィンの間に形成されていることが好ましい。
このような複数のチップフィンがシュラウド本体の外周端面に形成されている際であっても、プラグが複数のプラグ片からなることにより、チップフィンが障害となり難く、これらプラグ片を容易に取付溝に挿入することができる。
また、上述したように凹部が周方向及び軸線方向に傾斜して形成した場合には、チップフィンが存在する場合であってもより容易にプラグ片を取付溝に挿入することができる。
また、本発明に係るガスタービンは、上記いずれかのタービン動翼が取り付けられている前記ロータ本体と、該ロータ本体を回転可能に覆うケーシングとを備えていることを特徴とする。
このような特徴のガスタービンでは、上述したタービン動翼を備えているため、プラグの膨らみを低減させることができる。
本発明に係るタービン動翼及びガスタービンによれば、プラグを各プラグ片に分割したことにより遠心力に基く膨らみを低減させることができ、プラグの耐久性を向上させることが可能なる。
本発明の実施形態に係るガスタービンの全体図である。 本発明の実施形態に係るガスタービンのタービン動翼をロータの周方向から見た図である。 本発明の実施形態に係るガスタービンのタービン動翼をロータの径方向外側から見た図である。 シュラウド本体をロータの径方向外側から見た図である。 図3におけるA−A断面図である。 取付溝にプラグ片を挿入する手順を説明する図である。 第一変形例に係るタービン動翼をロータの径方向外側から見た図である。 第二変形例に係るタービン動翼をロータの径方向外側から見た図である。 第三変形例に係るタービン動翼をロータの径方向外側から見た図である。
以下、本発明に係る実施形態について図面を参照して説明する。
図1に示すように、ガスタービン1は、圧縮空気を生成する圧縮機3と、圧縮機3から供給される圧縮空気に燃料を供給して燃焼ガスGを生成する燃焼器4と、燃焼器4から供給される燃焼ガスGにより回転駆動されるタービン5とを備えている。
圧縮機3は、ロータ本体2を回転可能に覆う圧縮機ケーシング3aと、ロータ本体2に固定されて環状に配列された複数の圧縮機動翼3bと、圧縮機ケーシング3aに支持されて環状に配列された複数の圧縮機静翼3cとを備え、圧縮機動翼3b及び圧縮機静翼3cは、ロータの軸線O方向に複数段交互に配されている。
また、タービン5は、ロータ本体2を回転可能に覆い、内部を燃焼ガス流路Fとするタービンケーシング5aと、ロータ本体2に固定され環状に配列された複数のタービン動翼10と、タービンケーシング5aに支持されて環状に配列された複数のタービン静翼5bとを備え、タービン動翼10及びタービン静翼5bは、ロータ本体2の軸線O方向に複数段交互に配されている。
なお、以下では、ロータ本体2の径方向を単に「径方向」と称するとともにロータ本体2の周方向を単に「周方向」と称し、さらに、該ロータ本体2の軸線O方向を単に「軸線O方向」と称する。
次に、タービン動翼10の詳細について図を参照して説明する。
図2に示すように、タービン動翼10は、図1における燃焼ガス流路F内に配される翼本体11と、翼本体11の径方向外側に固定されたチップシュラウド20とを備えている。なお、図示は省略するが、翼本体11の径方向内側には、該翼本体11から張り出すように設けられたプラットフォームと、プラットフォームからさらに径方向内側に突出する翼根が設けられている。この翼根がロータ本体2の外周面に取り付けられることで、タービン動翼10がロータ本体2に一体に固定される。
翼本体11は、図2に示すように、ロータ本体2から該ロータ本体2の径方向外側に向かって延びるように設けられている。また、この翼本体11は、図3に示すように、軸線O方向に沿って燃焼ガス流路上流側となる前縁から下流側となる後縁にかけて周方向一方側(ロータ本体2の回転方向前方側、図3及び図4の下側)へ凸となるように湾曲して正圧面12及び負圧面13が形成された翼形状の断面を有している。この断面形状は、軸線O方向他方側(ガス流路の下流側、図2〜図4の右側)に向かうに従って周方向他方側(ロータ本体2の回転方向後方側、図3及び4の上側)に向かうように延在する翼形状とされている。
また、翼本体11の延在方向に直交する断面における正圧面12と負圧面13とから等しい距離にある点を前縁から後縁まで結んだ曲線が中心線とされており、この中心線は翼本体11の湾曲形状と同様に湾曲している。
さらに、翼本体11の内部には、図2に示すように、径方向に延びる複数(本実施形態では6つ)の冷却路14が形成されている。この冷却路14は、例えば上記中心線に沿う方向に沿って配列されるように、即ち、翼本体11の上記断面形状の延在方向に沿って配列されるように、互いに間隔をあけて形成されており、翼本体11の径方向内側から供給される冷却空気(冷却媒体)が当該冷却路14内を径方向外側に向かって流通するようになっている。
チップシュラウド20は、翼本体11に一体に設けられたシュラウド本体30と、該シュラウド本体30に着脱可能に取り付けられるプラグ70とを備えている。
シュラウド本体30は、図2から図4に示すように、径方向に所定の厚みを有する板状をなしており、翼本体11の径方向外側において周方向に張り出すように該翼本体11に対して一体に固定されている。このシュラウド本体30における径方向外側を向く面は、該シュラウド本体30の外周端面31とされている。
このシュラウド本体30においては、上流側である軸線O方向一方側(ガス流路の上流側、図2〜図4の左側)を向き周方向に沿って延びる面が上流側端面41とされ、下流側である軸線O方向他方側を向き周方向に沿って延びる面が下流側端面42とされている。これら上流側端面41と下流側端面42とは互いに平行をなしている。
また、図3及び図4に示すように、チップシュラウド20における周方向一方側を向く面が第一コンタクト面43とされ、周方向他方側を向く面が第二コンタクト面44とされている。
第一コンタクト面43は、第一傾斜面43aと第二傾斜面43bと第三傾斜面43cとの3つの面から構成されている。
第一傾斜面43aは、上流側端面41の周方向一方側に接続されており、軸線O方向他方側に向かうに従って周方向他方側に向かって傾斜するように延在している。また、第二傾斜面43bは、第一傾斜面43aの軸線O方向他方側に接続されており、軸線O方向他方側に向かうに従って周方向一方側に向かって傾斜するように延在している。そして、第三径傾斜面は、第二傾斜面43bの軸線O方向他方側に接続されており、軸線O方向他方側に向かうに従って周方向一方側に向かって傾斜するように延在し、下流側端面42の周方向他方側に接続されている。
第二コンタクト面44は、第四傾斜面44aと第五傾斜面44bと第六傾斜面44cとの3つの面から構成されている。
第四傾斜面44aは、上流側端面41における周方向一方側に接続されており第一傾斜面43aと平行に延びている。また、第五傾斜面44bは、第四傾斜面44aの軸線O方向他方側に接続されており、第二傾斜面43bと平行に延在している。そして、第六傾斜面44cは、第五傾斜面44bの軸線O方向他方側に接続されており、第三傾斜面43cと平行に延在し、下流側端面42の周方向一方側に接続されている。
なお、第一傾斜面43aと第二傾斜面43bとの接続箇所は、第四傾斜面44aと第五傾斜面44bとの接続箇所よりも軸線O方向一方側に位置している。また、第二傾斜面43bと第三傾斜面43cとの接続箇所は、第五傾斜面44bと第六傾斜面44cとの接続箇所よりも軸線O方向一方側に位置している。
各タービン動翼10がロータ本体2に取り付けられた際には、シュラウド本体30の第一コンタクト面43における第二傾斜面43bは、隣り合うチップシュラウド20の第二コンタクト面44における第五傾斜面44bに摺動可能に当接する。これにより、複数のチップシュラウド20により円環状のリングが構成される。
以上のような、上流側端面41、下流側端面42、第一コンタクト面43及び第二コンタクト面44によって、シュラウド本体30は、径方向外側から見た外周端面31の形状がZ字状をなしている。
このシュラウド本体30の外周端面31には、図2〜図4に示すように、第一チップフィン51、第二チップフィン52及び凹部60が設けられている。
第一チップフィン51は、外周端面31における軸線O方向一方側に近接した箇所に設けられており、該外周端面31から径方向外側に突出し、外周端面31の周方向全域にわたって上流側端面41と平行に延びている。なお、第一チップフィン51の周方向の両端は、それぞれ第一傾斜面43a及び第四傾斜面44aに接続されている。
また、第二チップフィン52は、外周端面31における軸線O方向他方側に近接した箇所に設けられており、第一チップフィン51同様に該外周端面31から径方向外側に突出し、外周端面31の周方向全域にわたって下流側端面42と平行に延びている。なお。第二チップフィン52の周方向の両端は、それぞれ第三傾斜面43c及び第六傾斜面44cに接続されている。
このようにして、第一チップフィン51及び第二チップフィン52は、互いに軸線O方向に離間して平行に設けられている。これら第一チップフィン51及び第二チップフィン52によって、タービン動翼10とタービンケーシングとの間のシール性が確保される。
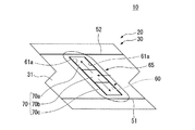
凹部60は、外周端面31における上記第一チップフィン51と第二チップフィン52との間において、該外周端面31から径方向内側に凹んで径方向外側に開口するように形成されている。この凹部60は、外周端面31に沿う方向を長手方向として延在しており、本実施形態では、軸線O方向他方側に向かうに従って周方向他方側に向かう方向を長手方向として延在している。即ち、この凹部60は、翼本体11の上記断面形状の延在方向と同様、ロータ本体2本体の周方向及び軸線O方向にそれぞれ傾斜する方向を長手方向として延在している。この凹部60の長手方向の両端の縁部はそれぞれ円弧状をなしており、該凹部60の短手方向の両側の縁部は互いに平行に長手方向に延びる直線状をなしている。
そして、図2、図4及び図5に示すように、凹部60の底面62には、上記複数の冷却路14のうちの一部の冷却路14(本実施形態では6つの冷却路14のうちの3つ)の径方向外側の端部が開口している。これによって、凹部60とこれら一部の冷却路14とは連通状態とされている。
即ち、複数の冷却路14の径方向外側の端部は、翼本体11の上記断面形状の延在方向に対応してロータ本体2本体の周方向及び軸線O方向にそれぞれ傾斜する方向に配列されている。そして、これら冷却路14の端部の配列方向を長手方向として凹部60が延在するように形成されていることにより、凹部60内に一部の冷却路14の端部が開口している。
また、シュラウド本体30内には、該凹部60内と第一コンタクト面43の第三傾斜面43cとを連通する複数の冷却孔63(図2参照)が形成されているとともに、該凹部60内と第二コンタクト面44の第四傾斜面44aとを連通する複数の冷却孔63(図示省略)が形成されている。さらに、シュラウド本体30内には、凹部60内と第一コンタクト面43の第一傾斜面43aとを連通する複数の冷却孔64が形成されている。これら冷却孔63、64の第三傾斜面43c、第四傾斜面44a及び第一傾斜面43aにおける開口は、第三傾斜面43c、第四傾斜面44a及び第一傾斜面43aの延在方向に沿って配列されている。
ここで、外周端面31における第一チップフィン51よりも軸線O方向他方側に位置し、第一傾斜面43a及び第四傾斜面44aに接続される領域は、該外周端面31の第一主面32とされている。
また、外周端面31における凹部60の長手方向手前側(長手方向一端側、即ち、軸線O方向一方側かつ周方向一方側)の箇所は、第一主面32よりも一段径方向外側に平坦状に隆起した挿入面36とされている。
そして、外周端面31における凹部60の長手方向手前側を除く縁部を含む領域は、該凹部60を短手方向両側及び長手方向奥側(軸線O方向他方側かつ周方向他方側)から囲うように第一主面32及び挿入面36よりも径方向外側に隆起した第二主面33とされている。したがって、凹部60は、外周端面31の第二主面33から径方向内側に凹むように形成されている。また、凹部60の長手方向手前側は、挿入面36側に開口している。
外周端面31の第一主面32には、複数の冷却路14のうちの一部(本実施形態においては6つの冷却路14のうちの2つ)が開口している。また、外周端面31の第二主面33における凹部60の長手方向奥側の箇所には、複数の冷却路14のうちの一部(本実施形態においては6つの冷却路14のうちの1つ)が開口している。
そして、図5に示すように、凹部60におけるその長手方向に沿う一対の側面61、即ち、該凹部60短手方向に対向する一対の側面61には、該長手方向に沿って延びる取付溝61aが形成されている。この取付溝61aは、一対の側面61からそれぞれ矩形に後退するように凹む溝であって、凹部60の長手方向全域にわたって延びている。
この取付溝61aの径方向位置は、挿入面36の径方向位置と略同一とされている。上述した凹部60の挿入面36側への開口は、後述するプラグ70を当該取付溝61aに挿入するためのプラグ挿入口65とされている。なお、プラグ挿入口65と第一チップフィン51との軸線O方向の間隔は、後述する第一プラグ片71及び第二プラグ片72がプラグ挿入口65に挿入可能となる分だけの寸法が確保されている。
プラグ70は、図3及び図6に示すように、複数のプラグ片から構成されており、本実施形態では2つの第一プラグ片71及び第二プラグ片72の二つのプラグ片から構成されている。
第一プラグ片71は、取付溝61aの径方向の溝幅と略同一の厚みを有する板状の部材であって、取付溝61aに挿入されることで、凹部60の開口における長手方向奥側の領域を閉塞可能とされている。
この第一プラグ片71が凹部60の開口における長手方向奥側の領域を閉塞するように取付溝61aに挿入された際の該第一プラグ片71の上記長手方向手前側を向く端面は、該長手方向奥側に向かうに従って凹部60の短手方向一方側に向かって傾斜する第一当接端面71aとされている。
なお、第一プラグ片71の上記長手方向奥側を向く端面は、凹部60の開口の形状に対応して円弧状をなしている。
また、第二プラグ片72は、第一プラグ片71同様、取付溝61aの径方向の溝幅と略同一の厚みを有する板状の部材であって、凹部60の開口における長手方向手前側の領域を閉塞可能とされている。
この第二プラグ片72が凹部60の開口における長手方向手前側の領域を閉塞するように取付溝61aに挿入された際の該第二プラグ片72の上記長手方向奥側を向く端面は、該長手方向奥側に向かうに従って凹部60の短手方向一方側に向かって傾斜する第二当接端面72aとされている。
これら第一プラグ片71、第二プラグ片72は、取付溝61aに挿入された際に、並ぶようにして第一当接端面71a及び第二当接端面72aが互いに当接することにより、協働して凹部60の開口を閉塞する。このように、第一プラグ片71及び第二プラグ片72からなるプラグ70によって凹部60の開口が閉塞されることによって、図5に示すように、チップシュラウド20内には該チップシュラウド20外部と隔離された空間であるキャビティCが画成される。
プラグ70によって凹部60の開口を閉塞する際には、図6(a)に示すように、まず第一プラグ片71をその先端側、即ち、端面が円弧状をなす側からプラグ挿入口65を介して取付溝61aに挿入する。これによって、第一プラグ片71の両側が取付溝61aにそれぞれ挟み込まれた状態となり、第一プラグ片71の径方向の移動が規制される。そして、この状態で第一プラグ片71を凹部60の長手方向奥側にスライドさせることで、凹部60の開口の長手方向奥側の領域に第一プラグ片71を配置させて、第一プラグ片71の先端を凹部60の長手方向奥側に当接させる。
続いて、図6(b)に示すように、第二プラグ片72をその先端側、即ち、第二当接端面72a側からプラグ挿入口65を介して取付溝61aに挿入する。これによって、第二プラグ片72の両側が取付溝61aにそれぞれ挟み込まれた状態となり、第一プラグ片71の径方向の移動が規制される。そして、この状態で第二プラグ片72を凹部60の長手方向奥側にスライドさせることで、凹部60の開口の長手方向手前側の領域に第一プラグ片71を配置させて、第二当接端面72aを第一プラグ片71の第一当接端面71aに当接させる。
このように第一プラグ片71及び第二プラグ片72が取付溝61aに順次挿入されることで、凹部60の開口がその全域にわたって閉塞され、上記キャビティCが形成される。
以上のような構成のガスタービン動翼10を備えたガスタービン1においては、運転時に冷却空気が該翼本体11内の冷却路14に径方向内側から供給される。これによって、翼本体11が内部から冷却される。
また、各冷却路14の径方向外側の端部に到達した冷却空気は、チップシュラウド20内のキャビティCにて合流した後、冷却孔63を通ってチップシュラウド20の外部に放出される。このとき、冷却孔63の内面が冷却空気によって冷却されることで、チップシュラウド20がその内部から冷却される。
ここで、ガスタービンの運転時には、ロータ本体2の回転に伴い遠心力が発生し、当該遠心力がチップシュラウド20のプラグ70にも作用する。これに対して本実施形態では、プラグ70を第一プラグ片71及び第二プラグ片72から構成し、これら第一プラグ片71及び第二プラグ片72のそれぞれを取付溝61aに挿入することにより凹部60の開口を閉塞したため、プラグ70を一枚物として構成した場合に比べて該プラグ70の破損を低減させることができる。したがって、プラグ70の耐久性を向上させることができ、長時間にわたってガスタービンの運転を継続させることができる。
また、このようにプラグ70が分割されているため、プラグ挿入口65の軸線O方向側に第一チップフィン51及び第二チップフィン52がある場合であっても、容易に第一プラグ片71、第二プラグ片72を取付溝61aに挿入することができる。
さらに、本実施形態では、凹部60の長手方向に沿う一対の側面61に取付溝61aが形成されていることから、一対の側面61の対向方向は凹部60の短手方向となる。したがって、凹部60の短手方向に沿う側面に取付溝61aを形成した場合に比べて、一対の取付溝61aの間隔が狭く設定される。これにより、第一プラグ片71及び第二プラグ片72における取付溝61aの対向方向の間隔も狭く設定することができるため、遠心力による第一プラグ片71及び第二プラグ片72の変形を低減させることができる。
即ち、プラグ70がその長手方向全域にわたって取付溝61aに対して近接するように該プラグ70を配置することができるため、プラグ70の中央部が遠心力によって径方向外側に変形してしまうことを極力低減させることができる。
これによって、遠心力による第一プラグ片71及び第二プラグ片72の膨らみをより一層低減させることが可能となる。
また、本実施形態では、凹部60の長手方向が軸線O方向から傾斜する方向に延在しているため、凹部60のプラグ挿入口65の軸線O方向側にチップフィンが設けられている場合であっても、当該チップフィンが妨げになることなく第一プラグ片71及び第二プラグ片72を容易に取付溝61aに挿入することができる。
さらに、凹部60の長手方向が周方向から傾斜する方向に延在しているため、ロータ本体2の周方向の回転加速度によって第一プラグ片71及び第二プラグ片72が取付溝61aから外れて凹部60が露呈してしまうことを防止できる。
また、本実施形態では、側面61に取付溝61aを有する凹部60の長手方向手前側にプラグ挿入口65が形成されており、該プラグ挿入口65に取付溝61aと略同一の径方向位置の挿入面36が形成されているため、第一プラグ片71及び第二プラグ片72を容易に取付溝61aへと案内することができる。これによって、容易かつ確実に取付溝61aに第一プラグ片71及び第二プラグ片72を挿入することができる。
以上、本発明の実施形態について詳細に説明したが、本発明の技術的思想を逸脱しない限り、これらに限定されることはなく、多少の設計変更等も可能である。
例えば実施形態では、シュラウド本体30における外周端面31が第一主面32、第二主面33を有するものとしたが、例えば図7の模式図に示す変形例のように、滑らかな外周端面31に凹部60が形成されたものであってもよい。
即ち、この変形例では、外周端面31における第一チップフィン51と第二チップフィン52との間の領域が、滑らかに湾曲する外周面状をなしており、当該外周端面31から径方向外側に凹むように凹部60が形成されている。そして、実施形態と同様に、取付溝61aに挿入される第一プラグ片71及び第二プラグ片72から構成されたプラグ70によって凹部60の開口が閉塞されるようになっている。これによっても、実施形態同様、プラグ70を第一プラグ片71及び第二プラグ片72に分割したことにより、遠心力によるプラグ70の膨らみを低減できる他、該プラグ70を容易に取付溝61aに挿入することができる。
また、実施形態では、プラグ70を第一プラグ片71及び第二プラグ片72から構成したが、図8に示す第二変形例として、プラグ70を3つのプラグ片70a,70b,70cから構成してもよい。この場合、各プラグ片70a,70b,70cの大きさがプラグ70を二分割した場合よりもさらに小さくなるため、遠心力による膨らみをより低減できるとともにより取付溝61aに挿入し易くなる。なお、プラグ70を4つ以上に分割してもよい。また、実施形態では取付溝61aは直線状に形成されていたが、第二変形例に示すように取付溝61aが曲線状に形成されていてもよい。
さらに、例えば第三変形例として、図9に示すように、凹部60の長手方向に沿う一対の側面61のうちの一方における長手方向中央側に周方向他方側に向けて開口するプラグ挿入口65を設け、当該プラグ挿入口65から第一プラグ片71及び第二プラグ片72を取付溝61a内に挿入するようにしてもよい。この第三変形例では、プラグ挿入口65から挿入されたプラグ片70a,70cは、取付溝61aに沿って長手方向手前側、奥側に一枚ずつ移動される。その後、プラグ挿入口65にさらに一枚のプラグ片70cを挿入することで、計3枚のプラグ片70a,70b,70cによって凹部60の開口を閉塞することとしている。これによって、遠心力によるプラグ70の膨らみをより低減できるとともによりプラグ70を取付溝に挿入し易くすることができる。
また、実施形態では冷却について空気を使って行われるものとして説明したが、空気に限られるものではなく、例えば蒸気であってもよい。即ち、タービン動翼10に複数の冷却路14を設け、複数の冷却路14の一部には蒸気を翼根からロータ本体2の径方向外側に向けて流し、これをチップシュラウド20に設けられた凹部60とプラグ70とにより形成されたキャビティCに回収する。次に、回収された蒸気を、複数の冷却路14の残りを通じてロータ本体2の径方向内側に向けて流し、翼根側で回収する。この構成によれば、蒸気のような回収を要する冷却媒体を用いるタービン動翼10において、プラグ70の耐久性を向上することができる。
1 ガスタービン
2 ロータ本体
5 タービン
5a タービンケーシング
10 タービン動翼
11 翼本体
14 冷却路
20 チップシュラウド
30 シュラウド本体
31 外周端面
51 第一チップフィン(チップフィン)
52 第二チップフィン(チップフィン)
60 凹部
61 側面
61a 取付溝
62 底面
65 プラグ挿入口
70 プラグ
70a プラグ片
70b プラグ片
70c プラグ片
71 第一プラグ片(プラグ片)
71a 第一当接端面
72 第二プラグ片(第二プラグ片)
72a 第二当接端面
C キャビティ

Claims (5)

  1. ロータ本体から径方向に延びるように取り付けられる翼本体と、該翼本体の前記径方向外側に固定されたチップシュラウドとを備えるタービン動翼において、
    前記翼本体内に前記径方向に延びて冷却媒体が流通する冷却路が形成され、
    前記チップシュラウドは、
    前記径方向外側に開口するように外周端面から凹んで前記冷却路の前記径方向外側の端部と連通する凹部が形成されるともに、該凹部の側面に取付溝が形成されたシュラウド本体と、
    前記取付溝に順次挿入されることで互いに協働して前記凹部の開口を閉塞する複数のプラグ片を有するプラグとを備え
    前記凹部は、前記外周端面に沿う方向を長手方向として延在し、
    前記取付溝は、前記長手方向に沿う一対の前記側面に形成され、
    複数の前記プラグ片は、互いに当接するように前記長手方向に並んで前記凹部の開口を閉塞している
    ことを特徴とするタービン動翼。
  2. 前記冷却路は、前記翼本体の内部に複数が形成されており、
    これら複数の冷却路の径方向外側の端部は、前記ロータ本体の周方向及び軸線O方向にそれぞれ傾斜する方向に配列されており、
    前記凹部は、前記冷却路の径方向外側の端部の配列方向を前記長手方向として延在していることを特徴とする請求項に記載のタービン動翼。
  3. 前記シュラウド本体は、
    前記凹部の長手方向の少なくとも一端側に、前記プラグ片を前記取付溝に挿入するためのプラグ挿入口を有することを特徴とする請求項1又は2に記載のタービン動翼。
  4. 前記シュラウド本体は、
    前記外周端面から突出して、前記ロータ本体の周方向に延びるとともに前記ロータ本体の軸線O方向に間隔をあけて配置された複数のチップフィンを有し、
    前記凹部は、前記複数のチップフィンの間に形成されていることを特徴とする請求項1からのいずれか一項に記載のタービン動翼。
  5. 請求項1からのいずれか一項に記載のタービン動翼が取り付けられている前記ロータ本体と、
    該ロータ本体を回転可能に覆うケーシングと、
    を備えていることを特徴とするガスタービン。
JP2011236148A 2011-10-27 2011-10-27 タービン動翼及びこれを備えたガスタービン Active JP5881369B2 (ja)

Priority Applications (6)

Application Number Priority Date Filing Date Title
JP2011236148A JP5881369B2 (ja) 2011-10-27 2011-10-27 タービン動翼及びこれを備えたガスタービン
KR1020147000124A KR101551132B1 (ko) 2011-10-27 2012-10-24 터빈 동익 및 이것을 구비한 가스 터빈
PCT/JP2012/077455 WO2013061997A1 (ja) 2011-10-27 2012-10-24 タービン動翼及びこれを備えたガスタービン
CN201280036830.9A CN103703216B (zh) 2011-10-27 2012-10-24 涡轮动叶片及具备该涡轮动叶片的燃气轮机
EP12844208.4A EP2752555B1 (en) 2011-10-27 2012-10-24 Turbine blade, and gas turbine including same
US13/660,431 US9371741B2 (en) 2011-10-27 2012-10-25 Turbine blade and gas turbine having the same

Applications Claiming Priority (1)

Application Number Priority Date Filing Date Title
JP2011236148A JP5881369B2 (ja) 2011-10-27 2011-10-27 タービン動翼及びこれを備えたガスタービン

Publications (2)

Publication Number Publication Date
JP2013092138A JP2013092138A (ja) 2013-05-16
JP5881369B2 true JP5881369B2 (ja) 2016-03-09

Family

ID=48167824

Family Applications (1)

Application Number Title Priority Date Filing Date
JP2011236148A Active JP5881369B2 (ja) 2011-10-27 2011-10-27 タービン動翼及びこれを備えたガスタービン

Country Status (6)

Country Link
US (1) US9371741B2 (ja)
EP (1) EP2752555B1 (ja)
JP (1) JP5881369B2 (ja)
KR (1) KR101551132B1 (ja)
CN (1) CN103703216B (ja)
WO (1) WO2013061997A1 (ja)

Families Citing this family (9)

* Cited by examiner, † Cited by third party
Publication number Priority date Publication date Assignee Title
US10202852B2 (en) * 2015-11-16 2019-02-12 General Electric Company Rotor blade with tip shroud cooling passages and method of making same
US11092039B2 (en) * 2016-10-27 2021-08-17 General Electric Company Apparatus for circumferential separation of turbine blades
US10494932B2 (en) * 2017-02-07 2019-12-03 General Electric Company Turbomachine rotor blade cooling passage
US11060407B2 (en) * 2017-06-22 2021-07-13 General Electric Company Turbomachine rotor blade
JP6842563B2 (ja) * 2017-10-11 2021-03-17 三菱重工エンジン&ターボチャージャ株式会社 遠心式回転機械のインペラ及び遠心式回転機械
JP7064076B2 (ja) * 2018-03-27 2022-05-10 三菱重工業株式会社 タービン翼及びタービン並びにタービン翼の固有振動数のチューニング方法
US11143286B2 (en) * 2019-03-15 2021-10-12 Hamilton Sundstrand Corporation Differential unit gear shrouds
KR102120417B1 (ko) * 2020-05-27 2020-06-08 두산중공업 주식회사 터빈블레이드, 터빈 및 이를 포함하는 가스터빈
CN114211438B (zh) * 2021-12-14 2023-08-18 东方电气集团东方汽轮机有限公司 一种横置式静叶片装配方法及定位工装

Family Cites Families (14)

* Cited by examiner, † Cited by third party
Publication number Priority date Publication date Assignee Title
CH580750A5 (ja) * 1974-07-17 1976-10-15 Bbc Sulzer Turbomaschinen
CH582305A5 (ja) * 1974-09-05 1976-11-30 Bbc Sulzer Turbomaschinen
US4073599A (en) * 1976-08-26 1978-02-14 Westinghouse Electric Corporation Hollow turbine blade tip closure
JPH03194101A (ja) * 1989-12-21 1991-08-23 Toshiba Corp ガスタービン冷却動翼
JP3510467B2 (ja) 1998-01-13 2004-03-29 三菱重工業株式会社 ガスタービンの動翼
JP3403051B2 (ja) * 1998-02-04 2003-05-06 三菱重工業株式会社 ガスタービン動翼
US6019572A (en) * 1998-08-06 2000-02-01 Siemens Westinghouse Power Corporation Gas turbine row #1 steam cooled vane
EP1041247B1 (en) 1999-04-01 2012-08-01 General Electric Company Gas turbine airfoil comprising an open cooling circuit
US6761534B1 (en) * 1999-04-05 2004-07-13 General Electric Company Cooling circuit for a gas turbine bucket and tip shroud
JP2003065068A (ja) 2001-08-29 2003-03-05 Mitsubishi Heavy Ind Ltd ガスタービン翼頂部の加工孔閉塞方法
US6942450B2 (en) * 2003-08-22 2005-09-13 Siemens Westinghouse Power Corporation Differential pressure sensing system for airfoils usable in turbine engines
US7625172B2 (en) * 2006-04-26 2009-12-01 United Technologies Corporation Vane platform cooling
US7946816B2 (en) * 2008-01-10 2011-05-24 General Electric Company Turbine blade tip shroud
US8322986B2 (en) * 2008-07-29 2012-12-04 General Electric Company Rotor blade and method of fabricating the same

Also Published As

Publication number Publication date
CN103703216B (zh) 2015-09-30
US20130142667A1 (en) 2013-06-06
KR101551132B1 (ko) 2015-09-07
EP2752555A1 (en) 2014-07-09
EP2752555B1 (en) 2019-06-19
JP2013092138A (ja) 2013-05-16
EP2752555A4 (en) 2015-05-06
CN103703216A (zh) 2014-04-02
US9371741B2 (en) 2016-06-21
WO2013061997A1 (ja) 2013-05-02
KR20140029513A (ko) 2014-03-10

Similar Documents

Publication Publication Date Title
JP5881369B2 (ja) タービン動翼及びこれを備えたガスタービン
EP2990608B1 (en) Rotor blade and gas turbine equipped with same
EP3392462B1 (en) Insert assembly, blade, gas turbine, and blade manufacturing method
JP5017064B2 (ja) トリフォリアル先端空洞翼形部
JP6496542B2 (ja) タービンブレード内の構造構成および冷却回路
JP6344869B2 (ja) タービン静翼、タービン、及び、タービン静翼の改造方法
EP2758634B1 (en) Impingement cooling of turbine blades or vanes
KR101543141B1 (ko) 날개 부재 및 회전 기계
CN105026691B (zh) 燃气涡轮机转子叶片和燃气涡轮机转子
JP6739934B2 (ja) ガスタービンのシール
CN107035422B (zh) 带中跨护罩的涡轮转子叶片
JP4902157B2 (ja) 先端に溝を備えたタービン動翼
CN102852565B (zh) 涡轮机静叶
CN104420891A (zh) 具有径向带密封件的旋流机械的叶片
JP6435188B2 (ja) タービン翼における構造的構成および冷却回路
JP6092661B2 (ja) ガスタービン翼
JP2005337258A (ja) ロータブレード
EP3645839A1 (en) Turbine assembly for impingement cooling and method of assembling
JP5669769B2 (ja) ガスタービンのシール装置
CN104884741A (zh) 用于涡轮机的叶片
JP2015127533A (ja) タービンブレード内の構造構成および冷却回路
KR102803712B1 (ko) 돌기 어레이를 갖는 가스 터빈 내부 슈라우드
JP6521273B2 (ja) 蒸気タービン
JP4284643B2 (ja) ガスタービンのタービンノズル冷却構造
JP6086583B2 (ja) タービン動翼

Legal Events

Date Code Title Description
A621 Written request for application examination

Free format text: JAPANESE INTERMEDIATE CODE: A621

Effective date: 20140717

A131 Notification of reasons for refusal

Free format text: JAPANESE INTERMEDIATE CODE: A131

Effective date: 20150407

A521 Request for written amendment filed

Free format text: JAPANESE INTERMEDIATE CODE: A523

Effective date: 20150608

A521 Request for written amendment filed

Free format text: JAPANESE INTERMEDIATE CODE: A821

Effective date: 20150609

TRDD Decision of grant or rejection written
A01 Written decision to grant a patent or to grant a registration (utility model)

Free format text: JAPANESE INTERMEDIATE CODE: A01

Effective date: 20160105

A61 First payment of annual fees (during grant procedure)

Free format text: JAPANESE INTERMEDIATE CODE: A61

Effective date: 20160202

R151 Written notification of patent or utility model registration

Ref document number: 5881369

Country of ref document: JP

Free format text: JAPANESE INTERMEDIATE CODE: R151