JP5857166B2 - 多機能ジャグ及び多機能ジャグを使用する飲料製造機械 - Google Patents

多機能ジャグ及び多機能ジャグを使用する飲料製造機械 Download PDF

Info

Publication number
JP5857166B2
JP5857166B2 JP2015535138A JP2015535138A JP5857166B2 JP 5857166 B2 JP5857166 B2 JP 5857166B2 JP 2015535138 A JP2015535138 A JP 2015535138A JP 2015535138 A JP2015535138 A JP 2015535138A JP 5857166 B2 JP5857166 B2 JP 5857166B2
Authority
JP
Japan
Prior art keywords
jug
beverage
container
cover
stirring device
Prior art date
Legal status (The legal status is an assumption and is not a legal conclusion. Google has not performed a legal analysis and makes no representation as to the accuracy of the status listed.)
Expired - Fee Related
Application number
JP2015535138A
Other languages
English (en)
Other versions
JP2015535721A (ja
Inventor
トネッリ,ステファノ
マッティオーリ,ロメオ
Current Assignee (The listed assignees may be inaccurate. Google has not performed a legal analysis and makes no representation or warranty as to the accuracy of the list.)
Koninklijke Philips NV
Original Assignee
Koninklijke Philips NV
Priority date (The priority date is an assumption and is not a legal conclusion. Google has not performed a legal analysis and makes no representation as to the accuracy of the date listed.)
Filing date
Publication date
Application filed by Koninklijke Philips NV filed Critical Koninklijke Philips NV
Publication of JP2015535721A publication Critical patent/JP2015535721A/ja
Application granted granted Critical
Publication of JP5857166B2 publication Critical patent/JP5857166B2/ja
Expired - Fee Related legal-status Critical Current
Anticipated expiration legal-status Critical

Links

Images

Classifications

    • AHUMAN NECESSITIES
    • A47FURNITURE; DOMESTIC ARTICLES OR APPLIANCES; COFFEE MILLS; SPICE MILLS; SUCTION CLEANERS IN GENERAL
    • A47JKITCHEN EQUIPMENT; COFFEE MILLS; SPICE MILLS; APPARATUS FOR MAKING BEVERAGES
    • A47J31/00Apparatus for making beverages
    • A47J31/44Parts or details or accessories of beverage-making apparatus
    • A47J31/4403Constructional details
    • AHUMAN NECESSITIES
    • A47FURNITURE; DOMESTIC ARTICLES OR APPLIANCES; COFFEE MILLS; SPICE MILLS; SUCTION CLEANERS IN GENERAL
    • A47JKITCHEN EQUIPMENT; COFFEE MILLS; SPICE MILLS; APPARATUS FOR MAKING BEVERAGES
    • A47J31/00Apparatus for making beverages
    • A47J31/44Parts or details or accessories of beverage-making apparatus
    • A47J31/4489Steam nozzles, e.g. for introducing into a milk container to heat and foam milk
    • AHUMAN NECESSITIES
    • A47FURNITURE; DOMESTIC ARTICLES OR APPLIANCES; COFFEE MILLS; SPICE MILLS; SUCTION CLEANERS IN GENERAL
    • A47JKITCHEN EQUIPMENT; COFFEE MILLS; SPICE MILLS; APPARATUS FOR MAKING BEVERAGES
    • A47J43/00Implements for preparing or holding food, not provided for in other groups of this subclass
    • A47J43/04Machines for domestic use not covered elsewhere, e.g. for grinding, mixing, stirring, kneading, emulsifying, whipping or beating foodstuffs, e.g. power-driven
    • A47J43/044Machines for domestic use not covered elsewhere, e.g. for grinding, mixing, stirring, kneading, emulsifying, whipping or beating foodstuffs, e.g. power-driven with tools driven from the top side
    • AHUMAN NECESSITIES
    • A47FURNITURE; DOMESTIC ARTICLES OR APPLIANCES; COFFEE MILLS; SPICE MILLS; SUCTION CLEANERS IN GENERAL
    • A47JKITCHEN EQUIPMENT; COFFEE MILLS; SPICE MILLS; APPARATUS FOR MAKING BEVERAGES
    • A47J43/00Implements for preparing or holding food, not provided for in other groups of this subclass
    • A47J43/04Machines for domestic use not covered elsewhere, e.g. for grinding, mixing, stirring, kneading, emulsifying, whipping or beating foodstuffs, e.g. power-driven
    • A47J43/044Machines for domestic use not covered elsewhere, e.g. for grinding, mixing, stirring, kneading, emulsifying, whipping or beating foodstuffs, e.g. power-driven with tools driven from the top side
    • A47J2043/04454Apparatus of counter top type
    • AHUMAN NECESSITIES
    • A47FURNITURE; DOMESTIC ARTICLES OR APPLIANCES; COFFEE MILLS; SPICE MILLS; SUCTION CLEANERS IN GENERAL
    • A47JKITCHEN EQUIPMENT; COFFEE MILLS; SPICE MILLS; APPARATUS FOR MAKING BEVERAGES
    • A47J43/00Implements for preparing or holding food, not provided for in other groups of this subclass
    • A47J43/04Machines for domestic use not covered elsewhere, e.g. for grinding, mixing, stirring, kneading, emulsifying, whipping or beating foodstuffs, e.g. power-driven
    • A47J43/044Machines for domestic use not covered elsewhere, e.g. for grinding, mixing, stirring, kneading, emulsifying, whipping or beating foodstuffs, e.g. power-driven with tools driven from the top side
    • A47J2043/04454Apparatus of counter top type
    • A47J2043/0449Apparatus of counter top type with a mixing unit detachable from the support

Landscapes

  • Engineering & Computer Science (AREA)
  • Food Science & Technology (AREA)
  • Mechanical Engineering (AREA)
  • Apparatus For Making Beverages (AREA)
  • Food-Manufacturing Devices (AREA)
  • Devices For Dispensing Beverages (AREA)

Description

本発明は、飲料の調製のためのジャグ(jug)又は容器(container)、並びに飲料製造機械及びシステムに関する。
幾つかの飲料製造機械及びシステムが知られており、それらは、例えば、コーヒーをカップ内に直接的に計量分配(ディスペンス)するために、機械に設けられる計量分配注口又はノズルとの組み合わせにおいて、特殊な飲料の調製のためのジャグを使用する。例えば、泡立て牛乳(ミルク)、熱いインスタント飲料、冷たいコーヒー等を製造するために、製造されるべき飲料の種類に応じて、異なる形状及び構成を有するジャグが知られている。
WO2006/136268は、一組の異なるジャグを備えるコーヒーメーカー(コーヒー機械)を開示しており、各ジャグはある種類の飲料の調製に適し、各ジャグをコーヒーメーカーとの組み合わせにおいて用い得る。コーヒーメーカーは蒸気ノズルを備え、蒸気ノズルをジャグに接続して、様々な目的のために蒸気又は熱湯をジャグ内に計量分配し得る。コーヒーメーカーの柔軟性を増大させるために、幾つかの異なるジャグが必要とされ、ジャグは大量の空間を占め、特別なハウジングを必要とする。
EP2186456は、シェークされた飲料、具体的には、冷たいシェークされたコーヒーを調製するための装置を開示している。そこに開示される実施態様の1つにおいて、この既知の装置はコーヒー調製ユニットを含み、コーヒー調製ユニットをコーヒー計量分配注口及びシェーカーに選択的に接続し得る。シェーカーを機械内に導入し、コーヒーメーカーの底に配置されるモータを用いて、機械内に回転式に配置されるブレードを回転させ得る。ブレードはシェーカー内に配置される角氷を粉砕するために用いられる。
この既知の機械は、2つの異なる飲料、即ち、熱いコーヒー又は冷たいシェークされたーヒーの調製のためだけに設計されている。
本発明によれば、飲料の調製のためのジャグであって、飲料の調製のために材料を受け入れるための少なくとも第1の容器と第2の容器とを備える本体と、第1の容器又は第2の容器内に配置されるように設計され且つ構成される少なくとも第1の攪拌装置と、本体を閉じるカバーと、飲料製造機械から材料を受け入れ且つ飲料を第1の容器内に収集するために配置される、飲料製造機械への第1の流体接続部と、第2の容器と流体連絡する、飲料製造機械への第2の流体接続部とを含む、ジャグが提供される。
2つの容器及びこれらの容器の一方に配置される少なくとも1つの攪拌装置は、ジャグの可撓性の改良をもたらす。例えば、熱い及び冷たいカプチーノ、熱い及び冷たいインスタント飲料、入れたての浸出コーヒー、インスタントコーヒー、ミルクコーヒー、アイスコーヒー、エスプレッソ、ホットチョコレート、並びに多くの他のもののような、広範な飲料を調製するために、2つの容器を選択的に或いは組合わせにおいて用い得る。
好適実施態様によれば、第2の攪拌装置が設けられる。第1の攪拌装置及び第2の攪拌装置をジャグに取り付け、第1の容器及び第2の容器内にそれぞれ位置付け得る。攪拌装置はジャグから取り外し可能であるのが好ましい。例えば、それらを選択的にジャグのカバーに接続し或いはジャグのカバーから分離させ得る。使用者の必要に応じて、攪拌装置の一方又は両方をジャグに接続し得る。従って、使用者は第1の攪拌装置、第2の攪拌装置、又はそれらの両方を使用するか否かを決定し得る。1つの攪拌装置だけが用いられるならば、他の攪拌装置がジャグに接続される必要はない。
一部の実施態様では、飲料製造機械から熱湯(高温水)又は蒸気を受け入れるために、飲料製造機械への第2の流体接続部を構成し且つ配置し得る。紅茶又は任意のインスタント飲料のような熱い飲料を調製するために、熱湯を用い得る。粒状又は固形の材料の希釈の改良のために、それぞれの攪拌装置を用い得る。水又は牛乳のような容器内に収容される冷たい液体を加熱するよう水を熱するために、蒸気を代替的に用い得る。例えば、熱い泡立て牛乳を製造するために、撹拌器の回転運動との組み合わせにおいて蒸気の供給を用い得る。容器内に牛乳を注ぎ入れ、その中に蒸気を送らずに攪拌装置を作動させることによって、同じジャグで冷たい泡立て牛乳も調製し得る。
従って、例示的な実施態様において、第1の容器は第1の流体接続部と流体連絡するので、飲料製造機械によって生成される飲料は第1の容器内に計量分配(dispensed)される。飲料製造機械から蒸気又は熱湯を受け入れるために、第2の容器は第2の流体接続部と連絡する。
好適な実施態様では、ジャグのカバーによって第1及び/又は第2の流体接続部を支持し得る。一部の実施態様では、第1の攪拌装置及び第2の攪拌装置もカバーによって支持される。これはジャグの使用をより簡単にし、ジャグの様々な部品の洗浄を容易化する。代替的な実施態様として第1及び/又は第2の攪拌装置をそれぞれの容器の底に配置することを排除しない。
第1の攪拌装置及び第2の攪拌装置は、適切な駆動装置を備え得る。一部の実施態様において、ジャグは、例えば、ジャグカバーによって支持されるか或いはジャグカバーに一体化される、ジャグに設けられる電気モータ構成を含み得る。これは攪拌装置がカバーによって支持されるときに特に適している。他の実施態様では、モータ構成を飲料製造機械内に配置し得る。モータ構成と飲料製造機械との間の機械的リンクをジャグに設け得る。しかしながら、モータ構成をジャグカバーに設けることは設計をより簡単にし、より頑強にし、且つより安価にする。攪拌装置がジャグ容器の底に配置されるならば、モータ構成をジャグの本体内に或いは飲料製造機械の底に設けられるハウジング内に配置し得る。モータ構成と攪拌装置との間に磁気伝動手段を設け得る。
各攪拌装置はその独自のモータを備え得る。他の実施態様において、電気モータ構成は、第1の攪拌装置及び第2の攪拌装置の両方を駆動して回転させる単一の電気モータを含む。回転運動を両方の攪拌装置に伝達するために、機械的リンク、例えば、プーリ−ベルト構成を設け得る。単一の電気モータの使用はジャグをよりコンパクトにし、より安価にし、且つより確実にする。
ジャグの適切な位置に配置される電気接点を用いて、ジャグに、例えば、ジャグ本体に、好ましくは、ジャグカバーに設けられる電気モータ構成に電力供給し得る。ジャグが飲料製造機械に正しく接続されるときにだけモータの給電が可能であるよう、これらの電気接点は機械側に設けられる接点と共同作用するように構成され且つ配置されるのが好ましい。
一部の実施態様において、電気接点並びに第1及び/又は第2の流体接続部は、例えば、飲料製造機械に設けられる窪み(niche)又は凹部(recess)内に配置される電気接点及びノズルと共同作用するために、互いに隣接して配置される。有利な実施態様では、凹部又は窪みを機械の正面パネルに設け得る。例えば、ジャグカバーは、流体接続部及び電気接点をその上に配置するノーズ(nose)又は突起(projection)を備え得る。
一部の実施態様において、第1の攪拌装置及び第2の攪拌装置は、洗浄目的のためにカバーから取り外し可能であるのが好ましい。カバーへの及びカバーからの、より具体的には、ジャグカバーによって支持される回転シャフトのような駆動手段への及び駆動手段からの、攪拌装置の容易な係合及び分離のために、迅速な機械的接続(fast mechanical connection)、例えば、スナップ接続(snap connection)を提供し得る。
ジャグの可撓性を更に改良して取扱いを容易にするために、一部の実施態様において、ジャグは、第1の容器及び第2の容器の一方に、例えば、第2の容器に液体を導入するための通路を含み、第2の流体接続部を通じて蒸気又は熱湯を計量分配し得る。よって、使用者が液体、例えば、牛乳を第2の容器内に注ぎ入れ、次に、飲料製造機械を作動させて、液体を加熱するために、例えば、熱い牛乳又は熱い泡立て牛乳を製造するために、熱湯又は蒸気を計量分配することが可能である。
有利な実施態様において、通路はジャグカバーに形成される。特に有利な実施態様において、ジャグは通路の入口孔を閉じる取外し可能な上方部分を含み得る。使用者による容易なアクセスを向上させるために、一部の実施態様において、通路の入口孔はハンドルの上部に配置される。
第1及び第2の攪拌装置は互いに異なり得る。例えば、インスタント飲料又はコーヒー及び角氷を混ぜてアイスコーヒー又は同等物を製造するために、即ち、攪拌装置がその活性部分で容器の底付近に有利に配置される場合には、より長い攪拌装置を用い得る。攪拌装置の活性部分を容器内に収容される液体物質の自由表面又はその付近に配置することが必要とされる場合には、より短い攪拌装置を用い得る。例えば、熱い又は冷たい牛乳を泡立てるために、攪拌装置を牛乳の自由表面又はその付近に配置しなければならないので、空気及び牛乳が乳化させられて泡を形成するよう、攪拌装置の回転は気泡を牛乳中に捕捉させる。
一部の特に有利な実施態様では、2つの同一の攪拌装置が設けられる。これはジャグの使用をより容易にし且つ使い勝手をより良くする。それはジャグの製造も単純化する。何故ならば、より少数の構成部品、異なる構成部品が必要とされるからである。容器内の攪拌装置の異なる作用を得るために、第1の容器及び第2の容器は異なる深さを有し得る。即ち、第1の容器及び第2の容器の一方は、それらの他方よりも深くあり得る。その場合、2つの同一の攪拌装置は、それらが配置されるそれぞれの容器の底に対して異なる位置を取る。
ジャグの本体は、第1の容器及び第2の容器の両方から飲料を注ぐために配置され且つ構成される注ぎ舌(pouring lip)を備え得る。一部の実施態様において、注ぎ舌は第1の容器及び第2の容器の両方と流体連絡し得るので、2つの容器内で同時に調製される飲料を同時に注ぎ得る。例えば、注ぎ舌は、注ぎ舌を第1の部分と第2の部分とに分割する中間隔壁を備え得る。第1の部分及び第2の部分は、第1の容器及び第2の容器からそれぞれ飲料を受け入れるために配置される。
特に有利な実施態様において、カバーは、ジャグの本体に係合可能な下方部分と、下方部分に係合可能であり且つ下方部分から分離可能である中間部分と、取外し可能な上方部分とを含み、中間部分は、第1の攪拌装置及び第2の攪拌装置を支持する。有利には、攪拌装置を駆動させるためのモータ(複数のモータ)をカバーの中間部分内に収容し得る。カバーの下方部分は、カバーの中間部分に収容されるモータ構成への接続のために攪拌装置を導入する通路又は孔を備え得る。容器の一方に液体を注ぎ入れるための通路が設けられるとき、有利には、通路をカバーの下方部分に形成し得る。カバーの下方部分及び中間部分は、第1の容器に向かう通路を共に形成し得る。
一部の実施態様において、ジャグのカバーは、カバーに対して傾斜可能であり且つ休止位置において弾性的に付勢される孔付き壁を備え得る。休止位置において、孔付き壁はカバーに形成される通路を横断して延びる。通路はジャグ内に材料を導入するために配置される。孔付き壁は、休止位置において孔付き壁を付勢する弾性部材に対してジャグ本体の内部に向かって内向きに傾斜するために構成され且つ配置される。孔付き壁を傾斜させることによって、固形材料、例えば、角氷を容器内に導入し得る。孔付き壁は存在し得る固体残留物を保持し、それらがジャグから注がれるのを防止する。
更なる特徴によれば、飲料製造機械を含むシステムであって、飲料製造機械は、飲料製造ユニットと、飲料ディスペンサと、飲料出口ノズルと、切換え部材と、上述のようなジャグとを含み、飲料ディスペンサは、飲料ディスペンサの下に配置されるカップ内に飲料を計量分配するために配置され、飲料出口ノズルは、飲料出口ノズルに接続されるジャグに飲料を計量分配するために配置され、切換え部材は、飲料製造ユニットを、選択的に、飲料ディスペンサ又は飲料出口ノズルに流体的に接続する、システムが提供される。
本発明の更なる機能及び利点を、その例示的な実施態様の以下の記載中に並びに本記載の一体的な部分を形成する付属の請求項中に示す。
本発明の1つの例示的な非限定的な実施態様を示す添付の図面と共に考察するとき、本発明の及びその利点の多くのより完全な理解は、それらが以下の詳細な記載を参照することによってより十分に理解されるようになるときに、直ちに得られるであろう。
本開示に従ったジャグを示す斜視図である。 図1のジャグを示す分解図である。 ジャグとの組み合わせにおいて飲料製造機械を示す概略図である。 図3の飲料製造機械を示す正面図である。 図4中の線AB−ABに従った図3及び4の飲料製造機械の正面パネルを示す断面図であり、ジャグは取り外されている。 図4Aと同じ断面を示す断面図であり、ジャグは飲料製造機械に接続されている。 図1及び2のジャグを示す頂面図である。 図5の線VI−VIに従った断面を示す断面図である。 図5の線VII−VIIに従った断面を示す断面図である。 図5の線VIII−VIIIに従った断面を示す断面図である。 図5の線IX−IXに従った断面を示す断面図である。 図5の線X−Xに従った断面を示す断面図である。
例示的な実施態様の以下の詳細な記載は、添付の図面を参照する。異なる図面中の同じ参照番号は、同じ又は類似の要素を特定する。加えて、図面は必ずしも原寸通りに描かれていない。また、以下の詳細な記載は本発明を限定しない。むしろ、本発明の範囲は付属の請求項によって定められる。
本明細書を通じた「1つの実施態様」又は「(ある)実施態様」又は「一部の実施態様」への言及は、(ある)実施態様に関連して記載される機能、構成又は特徴が、開示される主題の少なくとも1つの実施態様に含まれることを意味する。よって、本明細書を通じた様々な場所における「1つの実施態様において」又は「(ある)実施態様において」又は「一部の実施態様において」という成句の出現は、必ずしも同じ実施態様を指さない。更に、特定の機能、構成又は特徴を、」1つ又はそれよりも多くの実施態様において任意の適切な方法において組み合わせ得る。
添付の図面において、ジャグは全体的に符号1で印され、飲料製造機械、例えば、コーヒーメーカー(コーヒー製造機械)、カプチーノメーカー又は同等物への接続のために設計される。図3は、飲料製造機械3を含むシステムを例示している。飲料製造機械3にはジャグ1が接続されており、飲料製造機械3の正面パネルが図4に示されている。
ジャグ1は、ジャグ本体5と、ジャグカバー7とを含み、ジャグカバー7は、後により詳細に記載する幾つかの構成部品から成る。ジャグ1は、ジャグハンドル9を更に含む。
図2に最良に示すように、ジャグ1のカバー7は、下方部分11と、中間部分13と、頂部分15とを含む。ここで以下により詳細に説明するように、下方部分11をジャグ1の本体5にスナップ嵌めし得る。下方部分11は一対の攪拌装置17及び19のための通路を含み、攪拌装置17及び19は中間カバー部分13上での回転のために支持される。カバー部分13に容易に接続され且つカバー部分13から容易に切り離されるように攪拌装置を設計し且つ構成し得る。例えば、差込み式の接続を設け得る。使用者は、使用者が製造することを欲する飲料の種類に応じて、選択的に、1つの攪拌装置のみをジャグに接続し、両方の攪拌装置をジャグに接続し、或いは第1及び第2の攪拌装置のいずれをもジャグに接続しない。
他の実施態様では、2つの攪拌装置を異なる方法においてジャグに接続し得る。例えば、それらを容器(receptacle)の底に配置し得る。例えば、この場合には、磁性駆動部材を通じて、飲料製造機械内に配置されるモータ手段によって、攪拌装置を回転させ得る。
一部の実施態様では、攪拌装置がジャグのカバーによって支持されるとき、カバー部分13は2つの攪拌装置17及び19の回転のためのモータ21(例えば図6を参照)も収容する。図示しない他の実施態様では、2つの攪拌装置を駆動させるために、2つの異なるモータを設け得る。他の実施態様では、攪拌装置を回転させるために、異なる発動機又は異なる複数の発動機、例えば、飲料製造機械内に収容されるモータと機械的に接続可能なシャフトを用い得る。
ジャグ1の本体5は、内部的には、2つの容器、即ち、第1の容器23及び第2の容器25を備え得る。2つの容器23及び25の形状及び配置は、カバー7がその上に取り付けられた状態のジャグ1が組立状態(図1、5−10)にあるときに、第1の攪拌装置17が第1の容器23内に導入され且つ第2の攪拌装置19が第2の容器25内に導入されるような形状及び配置である。
隔壁24によって2つの容器23及び25を分離し得る。図面に例示する例示的な実施態様に示すように、2つの容器23及び25は異なる深さを有し得る。例えば、第2の容器25は第1の容器23よりも深くあり得る。即ち、ジャグ1が使用の準備が整った垂直位置に配置されるとき、第2の容器25の底25Bは第1の容器23の底23Bよりも低い位置に配置される。
実施態様において示すように、2つの攪拌装置17及び19は互いに同一であり得る。他の実施態様では、2つの攪拌装置は互いに異なり得る。更なる実施態様(図示せず)では、形状及び機能において異なる2つよりも多くの攪拌装置の組を設け得るので、1つの攪拌装置又は撹拌装置対或いは他の攪拌装置又は攪拌装置対17,19を選択することによって、同じジャグを用いて異なる材料を混ぜ得るし且つ/或いは異なる飲料を製造し得る。
使用者は特別な容器23及び25のために及び/又は特別な飲料のために特別な攪拌装置を選択する必要がないので、2つの攪拌装置17,19を有することは使い勝手がより良い(よりユーザフレンドリーである)。
図面に示すような一部の実施態様では、単一の電気モータ21がカバー7内に、好ましくは、その中間部分13内に収容される。攪拌装置19は、例えば、電気モータ21のモータシャフト21Aに直接的に接続される。モータシャフト21Aから他の攪拌装置17に回転運動を伝達するために、カバー7内に機械的な伝動装置を設け得る。一部の実施態様(特に図8を参照)において、機械的な伝動装置は、歯付きホイール27を含み得る。歯付きホイール27はモータシャフト21Aに取り付けられて、モータシャフト21Aと共に回転する。第1の歯付きホイール27から第2の歯付きホイール29に回転運動を伝達するために、第2の歯付きホイール29及び歯付きベルト31を設け得る。第2の歯付きホイール29はシャフト33に取り付けられ、シャフト33と共に回転して、第1の攪拌装置17を回転させる。
プーリ−ベルト伝動装置の代わりに他の機械的リンクを用い得る。例えば、一部の場合には、歯車伝動装置が適し得る。
カバー7の中間部分13は複数の電気接点35を支持し、それらの少なくとも一部はモータ21に電力供給するために配置され且つ構成される。例示的な実施態様では、カバー7から剛的に突出するプレート37の上に電気接点35を配置し得る。後により詳細に記載するように、飲料製造機械3内に設けられる対応する電気接点と相互作用するために、プレート37は垂直平面に従って進展し、カバー7から突出する。
図8から最良に分かるように、攪拌装置17及び19は、ジャグカバー7の底部分11に設けられる通路41及び43を通じて延びる。このようにして、底部分11をジャグ本体5の頂部に係合させ得るし、ジャグカバー7の中間部分13をジャグ本体5から取り外し得る。
ジャグカバー7の中間部分13は、中間部分13から突出し且つカバー7がジャグ本体5の上に配置されるときにハンドル9と反対のジャグの側に配置される前方突起又はノーズ45(nose)を有する。ノーズ45は飲料製造機械3への接続のために構成され且つ配置される。
ノーズ45は、飲料製造機械3の正面パネル3Bの凹部3A(図4)に設けられる対応するスロット又は案内通路49内に係入する、側方ピン47を備え得る。
コネクタ、例えば、雄コネクタ51が、ノーズ45から前方に延び、飲料製造機械3の正面パネル3Bに設けられる前述の凹部3A内に収容されるコネクタ53、例えば、雌コネクタとの共作用のために設計される(図4)。他の実施態様において、コネクタ51は雌コネクタであってもよく、雄コネクタと共同作用(co-act)する。
後により詳細に説明するように、コネクタ51は、飲料製造機械3内に配置される番号55で概略的に示される飲料製造ユニットによって製造される飲料を受け入れることを目的とする第1の接続部を形成する。飲料製造ユニット55は液圧回路に接続され、液圧回路は雄コネクタ51内の雌コネクタ53を通じて或いは飲料製造機械3の正面パネル3Bによって支持され且つドリップトレイ59より上に配置される飲料注口57を通じて飲料を選択的に計量分配(dispense)し得るように設計され、ドリップトレイ59の上には計量分配注口57から直接的に飲料を収集するためのカップCを配置し得る。飲料製造ユニット55は、例えば、エスプレッソコーヒーを製造するためのコーヒー浸出ユニット(coffee brewing unit)であり得るし、或いは他の飲料を製造するためであり得る。
ノーズ45の正面に支持される雄コネクタ51は、特に図9に示すように、ジャグカバー7内に配置されるパイプ61と流体連絡する。一部の実施態様では、パイプ61をカバー7の中間部分13内に収容させ得る。パイプ61はコネクタ51からカバー7の中間部分13によって形成される第2のコネクタ63(特に図8を参照)に向かって延び得る。飲料製造機械3によって製造される飲料、例えば、コーヒーを、雌コネクタ53、雄コネクタ51、パイプ61、及び第2のコネクタ63を通じて第1の容器23内に直接的に計量分配し得るよう、コネクタ63は第1の容器23内に開口する。
飲料の調製のための1つ又はそれよりも多くの追加的な又は代替的な材料を、ジャグカバー7に設けられる孔を通じて第1の容器23内に導入させ得る。一部の実施態様では、図2から最良に分かるように、カバー7の中間部分13は貫通路65を形成し得る。カバー7が本体5の上に配置されるとき、貫通路65は第1の容器23より上に配置される。カバー7の中間部分13によって形成される貫通路65は、カバー7の下方部分11によって形成される第2の貫通路67に整列させられる。カバー7全体が組み立てられて、ジャグ1の本体5の上に配置されるとき、貫通路65,67はカバー7の上方部分15によって閉じられる。頂部分15が取り外すことによって、通路65,67を通じて第1の容器23へのアクセスを得ることができる。
例えば、角氷又は同等物を容器23内に導入するために、通路65,67によって形成される大きな孔を用い得る。
好適な実施態様では、取り外し可能な孔付き壁69がカバー7の下方部分11によって旋回的に支持される。孔付き壁69を二重矢印に従って傾斜させ得る。孔付き壁69は、弾性部材、例えば、付勢バネによって、図2に示される休止位置、即ち、孔付き壁69が貫通路65,67を部分的に閉じる位置に向かって、弾性的に付勢される。孔付き壁69を頂部から内向きに押すことによって、孔付き壁は矢印f69に従って旋回して、容器23内への角氷又は同等物の導入を可能にする。休止位置に配置されるとき、孔付き壁69は大きな氷片が容器23から注ぎ出されるのを防止し、よって、アイス飲料、例えば、アイスコーヒーの調製を容易化する。
攪拌装置17を回転させることにより角氷を粉砕し或いは角氷を溶解させ且つ飲料製造機械3によって計量分配される熱い(高温の)コーヒーを冷やすことによってアイスコーヒーを製造するために、パイプ61を通じて飲料製造機械3によって計量分配される熱いコーヒーと共に容器23内に導入される角氷を用い得る。一部の実施態様では、使用者が冷たい(低温の)コーヒー又はアイスコーヒーを調製することを欲するときに、より低温のコーヒーを計量分配し得るように飲料製造装置3を構成し得るので、角氷を粉砕し或いは溶解させることによってコーヒーを冷却することがより効果的になる。
一部の実施態様では、角氷を粉砕するのに適した形状を有する攪拌装置17を用い得る。例えば、攪拌装置17はブレードを備え得る。しかしながら、これは必須でない。コーヒーのような熱い飲料と角氷との間の熱交換を改良することによって氷の溶解を促進し或いは加速させるために、その構造が液体飲料及び角氷をその中で混ぜるように設計され且つ構成される、異なる形状の攪拌装置を想起し得る。攪拌装置17を回転させるために、より少ない電力が必要とされる。その上、この場合には、他の操作にも適した、例えば、牛乳泡立てにも適した、攪拌装置を用い得る。よって、2つの同一の攪拌装置17,19を2つの容器内に設けて、上記のように、装置の使用をより容易にする。
一部の実施態様において、ジャグ本体5は二重注ぎ舌73(double pouring lip)を備えるのが有利である。カバー7全体が組み立てられて、ジャグ本体5の上に配置されるとき、二重注ぎ舌73はカバー7の上方部分15によって閉じられる。この目的のために、カバー7の上方部分15は側方拡張部15A(図1及び2を参照)を備える。カバー7の上方部分15を取り外すことによって、第1の容器23にアクセス可能であり、飲料をジャグ1から、例えば、カップ、グラス、又は同等物内に注ぎ得る。
図2から最良に分かるように、一部の実施態様において、注ぎ舌73は中間隔壁75を備え、中間隔壁75は注ぎ舌73を2つの部分73A及び73Bに分割する。容器23内に収容される飲料は注ぎ舌73の部分73Aを通じて注がれるのに対し、ジャグ1の第2の容器25内に収容される飲料は注ぎ舌73の部分73Bを通じて注がれる。よって、ジャグ1の2つの容器23及び25内で同時に調製される2つの異なる飲料を注ぎ入れることが可能であり、2つの飲料がジャグから注がれるまで、それらを別個に維持する。これは例えば冷たいカプチーノを調製するために特に有利である。熱いコーヒー及び氷を他の容器内に維持して、別個の容器内で冷たい牛乳を攪拌装置19で泡立てることは、より効率的な泡立て及びより良好な品質の最終製品をもたらす。
二重注ぎ舌73を提供することは、例えば、カップ内の2つの部分(泡立て牛乳及び冷たいコーヒー)の計量分配をより容易にし、且つ使い勝手をより良くする。
他の実施態様では、2つの別個の注ぎ舌、ジャグの2つの容器の各々のために1つ注ぎ舌を設け得る。しかしながら、そのような構成は二重注ぎ操作を必要にする。
一部の実施態様において、飲料製造機械3は、凹部3A内に配置される1つ又はそれよりも多くの蒸気及び/又は水計量分配ノズルを備え得る(図4)。ノーズ45に設けられる対応する孔を通じて蒸気及び/又は水計量分配ノズルをジャグ1に接続し得る。図面に例示される実施態様において、ジャグ1は、1つだけのそのような蒸気/水ノズルへの接続のために設計される。この目的のために、ノーズ45は第2の容器25に向かう接続の一部を形成する頂部孔77(図5を参照)を備える。垂直方向又は近垂直方向に従って蒸気及び/又は熱湯計量分配ノズルを孔77内に導入して、ジャグ1を飲料製造機械3の蒸気/熱湯回路と流体連絡させ得る。他の実施態様において、計量分配ノズルの挿入は水平方向又は傾斜方向にあり得る。
図6に最良に示されるように、一部の実施態様において、ノーズ45の内側には部材79が収容され、部材79はその中に形成される蒸気及び/又は熱湯経路81を有する。蒸気及び/又は熱湯経路81はノーズ45の頂部に設けられる孔77と流体連絡する。次いで、蒸気及び/又は熱湯経路81は中間カバー部分13に配置されるチューブ83(管)と流体連絡する。チューブ83は中間カバー部分13の底壁13Aを通じて延びるコネクタ85に更に接続され得るし、チューブ83から更なるチューブ又はパイプ87への流路をもたらす。チューブ又はパイプ87は、カバー7の下方部分11に形成される通路を通じて、第2の容器25の底25Bに向かって下向きに延びる。図6に示されるように、パイプ87は容器25の殆ど底25Bまで下向きに延び得る。
中間カバー部分13が下方カバー部分11から取り外されるときに、パイプ87をコネクタ85に拘束させ且つコネクタ85と共に取り外し得る。代替的に、コネクタ85が中間カバー部分13と共に取り外されるときに、パイプ87を下方カバー部分11に拘束させ下方カバー部分11に取り付けられたままとし得る。
この構成を用いて熱湯又は蒸気を第2の容器25内に計量分配し得る。カバー7内に形成されるある種のレース又は通路を通じて、追加的な材料を第2の容器25内に装填し得、図7及び8で見るときに最良に示される。通路は番号89で印され、下方カバー部分11に形成される。通路89は通路入口孔89Aを有する。この孔89Aをハンドル9の上に配置し得る。この孔89Aは水平に亘って僅かな傾斜を伴って延び、第2の容器25の上に配置される下方出力端孔89Bに達する。上方カバー部分15によって通路89を閉じ得る。上方カバー部分15が残余の中間カバー部分13及び下方カバー部分11から取り外されるときには、入口孔89Aを通じた通路89へのアクセスが得られる。材料、例えば、好ましくは、牛乳のような液体材料を、孔89A及び通路89を通じて、第2の容器25内に注ぎ込み得る。
例えば、熱い牛乳又は泡立て牛乳を調製するために、第2の容器25を用い得る。この目的のために、通路89を通じて冷たい牛乳を第2の容器25内に注ぎ得る。牛乳が容器25内に導入されるや否や、頂部カバー部分15をその閉塞位置(図7)において交換し、ジャグ1をノーズ45に設けられる孔77及び蒸気及び/又は熱湯経路81を通じて飲料製造機械3内に配置される蒸気生成器(図示せず)と流体連絡させ得る。蒸気が通路81を通じて計量分配されるならば、第2の容器25内に収容される牛乳を加熱し得る。攪拌装置19が駆動させられて回転するならば、牛乳を泡立て得る。よって、熱い泡立て牛乳を得ることができる。蒸気が計量分配されず、攪拌装置19が回転させられるならば、冷たい泡立て牛乳が生成される。
好適実施態様において、第2の容器25は第1の容器23よりも深いので、攪拌装置19の下方部分は容器25の底からある距離に配置される。泡立て牛乳が望ましいとき、第2の容器25内に導入される牛乳の量は、攪拌装置19の下方部分に達するような量である。よって、攪拌装置の回転は空気を牛乳中に押し込み、牛乳泡を生む。異なる深さを有する容器23,25を設けることによって、液体レベルに対する及びそれぞれの容器23,25の底に対する攪拌装置の位置に応じて、2つの異なる機能を果たすために、2つの同一の攪拌装置17,19を設け得る。
熱湯を経路81を通じて第2の容器25内に計量分配することによって、熱い飲料、例えば、紅茶又はインスタントコーヒーを同じジャグで製造し得る。
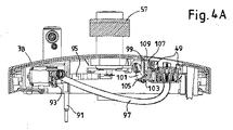
図4、4A及び4Bは、ジャグ1と飲料製造機械3との間の結合を設計する可能な方法を例示している。図4A及び4Bは、ジャグ1が取り外された状態(図4A)及びジャグが機械に取り付けられた状態(図4B)の、飲料製造機械3の正面パネル3Bの図4の線AB−ABに沿う断面を例示している。
図4A及び4Bにおいて、参照番号91は、飲料製造ユニット55、例えば、コーヒー浸出ユニットへの接続のために設けられるチューブを指している。チューブ91は、代替的に及び選択的に、計量分配注口57又は雌コネクタ53と流体連絡する。この目的を達成するために、チューブ91を三方向電子弁93に接続し得る。三方向電子弁93は、チューブ91を、選択的に、第1のホース95又は第2のホース97と流体連絡させ得る。
チューブ91が弁93を介して第1のホース95と連絡するとき、飲料製造ユニット55によって製造される飲料は、注口57を通じて、例えば、ドリップトレイ59上に配置されるカップC内に直接的に計量分配される(図3及び4)。
チューブ91が弁93を介して第2のホース97と流体連絡させられるとき、飲料製造ユニット55によって製造される飲料は、雌コネクタ53を通じてジャグ1に計量分配される。この目的を達成するために、ジャグは図3及び4Bに示されるように機械に正しく接続されなければならない。飲料製造機械3へのジャグ1の正しい接続を検出し、それにより、チューブ91がホース97と流体連絡させられる位置における電子弁93の切換えを可能にするために、マイクロスイッチ又は任意の他の種類のセンサを設け得る。ジャグ1が機械3に正しく接続されていないならば、センサはこの状態における電子弁93の切換えを禁じ、飲料の計量分配は第1のホース95又は注口57を通じてのみ可能である。
図4A及び4Bは、ジャグ1と飲料製造機械3のハウジング内に配置される電気回路との間で電気接続がどのように達成されるかも示している。この実施態様では、内側電気接点99が旋回アーム101上で支持され、旋回アーム101は符号103で飲料製造機械3の正面パネル3Bに蝶番付けされる。旋回アーム101を図4Aに示される休止位置に向かって付勢するために、弾性部材、例えば、バネ105を設け得る。旋回アーム101は付加物107を備え得る。旋回アーム101が休止位置にあるとき、付加物107は機械ハウジングの外側からアクセス可能なシート109の内側に突出する。図4Aに示されるように、ジャグ1が飲料製造機械3に取り付けられないとき、付加物107はシート109内に突出する。
ジャグ1が飲料製造機械3に接続されるときには、プレート37がシート109に入り、付加物107をシートから外に押し出し、内側電気接点99が適切なスロットを通じてシート109内に突出するまで、旋回アーム101を軸103の周りで旋回させる。よって、プレート37上に設けられる接点35が内側電気接点99に対して押し付けられ、ジャグ1に搭載される電気及び/又は電子構成部品、例えば、電気モータ21を励磁し且つ作動させ得る。
ここに記載する主題の開示の実施態様を図面に示し且つ幾つかの例示的な実施態様において具体的に且つ詳細に十分に記載したが、付属の請求項において引用される主題の利点、ここに示される原理及び着想、及び新規な教示から実質的に逸脱することなく、多くの変形、変更、及び省略が可能であることが、当業者に明らかである。故に、開示の革新の適切な範囲は、全てのそのような変形、変更、及び省略を包含するよう、付属の請求項の最広義の解釈によってのみ決定されるべきである。「含む」という用語は、請求項中に列挙される要素又はステップ以外の要素又はステップの存在を排除しない。ある要素に先行する不定冠詞の存在は、複数のそのような要素の存在を排除しない。幾つかの手段を列挙する装置の請求項では、1つ且つ同一のハードウェアの品目によって、これらの手段の幾つかを具現し得る。特定の手段が相互に異なる従属項において引用されているという単なる事実は、これらの手段の組合わせを有利に用い得ないことを示さない。

Claims (17)

  1. 飲料の調製のためのジャグであって、
    飲料の調製のために材料を受け入れるための少なくとも第1の容器と第2の容器とを備える本体と、
    前記第1の容器及び前記第2の容器の一方への配置のために設けられる少なくとも第1の攪拌装置と、
    前記本体を閉じるカバーと、
    飲料製造機械から材料を受け入れ且つ前記飲料を前記第1の容器内に収集するために配置される、第1の流体接続部と、
    前記第2の容器と流体連絡する、飲料製造機械への第2の流体接続部とを含む、
    ジャグ。
  2. 前記飲料製造機械への前記第2の流体接続部は、前記飲料製造機械から熱湯又は蒸気を受け入れるために配置される、請求項1に記載のジャグ。
  3. 前記第1の攪拌装置は、前記第1の容器内への配置のために設けられ、第2の攪拌装置、前記第2の容器内への配置のために設けられる、請求項1又は2に記載のジャグ。
  4. 前記第1の攪拌装置及び前記第2の攪拌装置は、前記カバーによって支持される、請求項3に記載のジャグ。
  5. 前記第1の攪拌装置及び前記第2の攪拌装置は、当該ジャグに設けられる電気モータ構成によって駆動させられて回転する、請求項3又は4に記載のジャグ。
  6. 前記電気モータ構成は、前記カバーによって支持される、請求項5に記載のジャグ。
  7. 前記電気モータ構成は、前記第1の攪拌装置及び前記第2の攪拌装置の両方を駆動して回転させる単一の電気モータを含む、請求項6に記載のジャグ。
  8. 前記第1の容器及び前記第2の容器の一方に液体を導入するための通路を含む、請求項1乃至7のうちのいずれか1項に記載のジャグ。
  9. 前記通路は、前記第2の容器に液体を導入するために配置され且つ構成される、請求項8に記載のジャグ。
  10. 前記通路は、前記カバーに形成され、前記カバーは、前記通路の入口孔を閉じる取外し可能な上方部分を含む、請求項8又は9に記載のジャグ。
  11. 前記第1の容器及び前記第2の容器は、異なる深さを有し、前記第1の容器及び前記第2の容器の一方は、そらの他方よりも深い、請求項1乃至10のうちのいずれか1項に記載のジャグ。
  12. 前記本体は、前記第1の容器及び前記第2の容器の両方から飲料を注ぐために配置され且つ構成される注ぎ舌を有する、請求項1乃至11のうちのいずれか1項に記載のジャグ。
  13. 前記注ぎ舌は、前記注ぎ舌を第1の部分と第2の部分と二分割する中間隔壁を備え、前記第1の部分及び前記第2の部分は、前記第1の容器及び前記第2の容器からそれぞれ飲料を受け入れるために配置される、請求項12に記載のジャグ。
  14. 前記カバーは、当該ジャグの前記本体に係合可能である下方部分と、該下方部分に係合可能であり且つ該下方部分から分離可能である中間部分と、取外し可能な上方部分とを含み、前記中間部分は、前記第1の攪拌装置及び/又は前記第2の攪拌装置を支持する、請求項乃至のうちのいずれか1項に記載のジャグ。
  15. 飲料製造機械を含むシステムであって、
    前記飲料製造機械は、
    飲料製造ユニットと、
    飲料ディスペンサと、
    飲料出口ノズルと、
    切換え部材と、
    請求項1乃至14のうちのいずれか1項に記載のジャグとを含み、
    前記飲料ディスペンサは、前記飲料ディスペンサの下に配置されるカップ内に前記飲料を計量分配するために配置され、
    前記飲料出口ノズルは、前記飲料出口ノズルに接続されるジャグに前記飲料を計量分配するために配置され、
    前記切換え部材は、前記飲料製造ユニットを、選択的に、前記飲料ディスペンサ又は前記飲料出口ノズルに流体的に接続する、
    システム。
  16. 前記ジャグが前記飲料出口ノズルに接続されるときに前記ジャグに配置されるモータに電力供給するための電気接点を含み、該電気接点は、前記電気接点が前記飲料製造機械の内側に収容される回収位置と、動作位置との間で移動可能である、請求項15に記載のシステム。
  17. 前記電気接点は、旋回アームの上に配置され、該旋回アームは、前記ジャグが前記飲料出口ノズルに接続されるときに前記電気接点が前記動作位置にあるよう、前記ジャグと共同作用するために配置され且つ構成される、請求項16に記載のシステム。
JP2015535138A 2012-10-05 2013-09-26 多機能ジャグ及び多機能ジャグを使用する飲料製造機械 Expired - Fee Related JP5857166B2 (ja)

Applications Claiming Priority (3)

Application Number Priority Date Filing Date Title
US201261710066P 2012-10-05 2012-10-05
US61/710,066 2012-10-05
PCT/IB2013/058883 WO2014053963A1 (en) 2012-10-05 2013-09-26 Multi-functional jug and beverage producing machine using same

Publications (2)

Publication Number Publication Date
JP2015535721A JP2015535721A (ja) 2015-12-17
JP5857166B2 true JP5857166B2 (ja) 2016-02-10

Family

ID=49765583

Family Applications (1)

Application Number Title Priority Date Filing Date
JP2015535138A Expired - Fee Related JP5857166B2 (ja) 2012-10-05 2013-09-26 多機能ジャグ及び多機能ジャグを使用する飲料製造機械

Country Status (7)

Country Link
US (1) US10517423B2 (ja)
EP (1) EP2877068B1 (ja)
JP (1) JP5857166B2 (ja)
CN (1) CN104602577B (ja)
BR (1) BR112015004221A2 (ja)
RU (1) RU2637739C2 (ja)
WO (1) WO2014053963A1 (ja)

Families Citing this family (20)

* Cited by examiner, † Cited by third party
Publication number Priority date Publication date Assignee Title
US10449685B2 (en) 2010-04-29 2019-10-22 Whirlpool Corporation Food processor with adjustable blade assembly
US8720325B2 (en) 2010-04-29 2014-05-13 Whirlpool Corporation Food processor with a lockable adjustable blade assembly
US9693649B2 (en) * 2013-03-01 2017-07-04 Whirlpool Corporation Electric stirring tower with lid
US9808774B2 (en) 2013-03-01 2017-11-07 Whirlpool Corporation Stirring wand
EP3000365A1 (de) * 2014-09-24 2016-03-30 Qbo Coffee GmbH Milchschäumergerät
EP3000363A1 (de) * 2014-09-24 2016-03-30 Qbo Coffee GmbH Milchschäumergerät, Getränkezubereitungssystem und Getränkezubereitungsmaschine
EP3000364A1 (de) * 2014-09-24 2016-03-30 Qbo Coffee GmbH Milchschäumergerät
US10085599B2 (en) 2014-12-19 2018-10-02 Whirlpool Corporation Multi-cook and food processing prep product
IT201600099780A1 (it) * 2016-10-05 2018-04-05 De Longhi Appliances Srl Dispositivo emulsionatore di latte ad effetto venturi
FR3057752B1 (fr) * 2016-10-24 2021-05-28 Seb Sa Appareil electromenager de preparation culinaire comportant un couvercle intermediaire
USD853782S1 (en) 2017-02-20 2019-07-16 Whirlpool Corporation Food processor
IT201700086645A1 (it) * 2017-07-27 2019-01-27 De Longhi Appliances Srl Monta latte e macchina da caffè che incorpora un tale monta latte
CN107319246B (zh) * 2017-08-24 2021-01-22 惠州市耶利亚食品饮料有限公司 一种饮料制作生产工艺用制备机
USD867051S1 (en) 2017-10-04 2019-11-19 Whirlpool Corporation Grinder attachment for a stand mixer
EP3505023A1 (en) * 2017-12-28 2019-07-03 Koninklijke Philips N.V. A mixing apparatus having a seal
USD885822S1 (en) 2018-12-14 2020-06-02 Whirlpool Corporation Food grinder
CN113412076B (zh) * 2019-01-04 2022-09-13 希特沃克斯技术有限公司 分配冷、热液体的瓶子
PL3878329T3 (pl) * 2020-03-13 2022-12-27 BSH Hausgeräte GmbH Uchwyt na nóż, kombinacja dzbana i blendera
IT202000008128A1 (it) * 2020-04-16 2021-10-16 De Longhi Appliances Srl Macchina da caffè
CN115736631B (zh) * 2022-10-30 2025-07-11 宁波心想科技有限公司 一种容易清洗的混合装置

Family Cites Families (66)

* Cited by examiner, † Cited by third party
Publication number Priority date Publication date Assignee Title
US258777A (en) * 1882-05-30 leonard
USRE24323E (en) * 1957-05-28 B melville
US3076573A (en) * 1960-05-12 1963-02-05 Bristol Myers Co Dispensing closure
US3211343A (en) * 1962-11-05 1965-10-12 Aaron S Tesler Multiple chambered pressurized spray container
US3261494A (en) * 1965-04-27 1966-07-19 Jr Willie A Walker Individual communion service glasses
US3269605A (en) * 1965-08-03 1966-08-30 Aaron S Tesler Pressurized dispenser assembly having a plurality of individual chambers
US4378078A (en) * 1981-06-26 1983-03-29 Daniels Paul J Granulated material dispenser
DE3422290C2 (de) * 1984-06-15 1986-07-03 HGZ - Maschinenbau AG, Zürich Mengenfrischbrühautomat zum Zubereiten einer vorbestimmmten Menge eines Brühgetränks, insbesondere Kaffee
DE3506781C1 (de) * 1985-02-26 1986-07-17 Württembergische Metallwarenfabrik AG, 7340 Geislingen Kaffeemaschine
US4651900A (en) * 1985-11-08 1987-03-24 Horvath Ronald F Dual compartment serving pot
FR2592292B1 (fr) * 1986-01-02 1988-05-06 Seb Sa Bouilloire electrique comprenant un recipient reposant sur un socle relie electriquement au reseau.
US4750644A (en) * 1986-08-19 1988-06-14 Kolody Robert E Dual beverage dispenser
US4773563A (en) * 1987-02-12 1988-09-27 Taylor Michael S Coffee dispensing apparatus
US4809884A (en) * 1987-10-13 1989-03-07 Stackhouse Wells F Wine steward
US4802406A (en) * 1988-04-29 1989-02-07 Bouldin David W Coffeemaker
JPH0448787Y2 (ja) * 1988-12-19 1992-11-17
US4919295A (en) * 1989-08-21 1990-04-24 Terry Hitzler Multi-cell drink container
US5072858A (en) * 1991-01-04 1991-12-17 Brashier James W Divided beverage server
US5265767A (en) * 1991-06-10 1993-11-30 Split Second Coffee Industries Inc. Container and dispenser for two beverages
US5335813A (en) * 1992-12-02 1994-08-09 Hao Qi Double-vessel can
US5335589A (en) * 1993-08-02 1994-08-09 Yerves Jr Kenneth A Multiple beverage dispenser
US5405030A (en) * 1994-02-23 1995-04-11 Frazier; Sara J. Dual-compartment drinking cup
DE4423110A1 (de) * 1994-07-01 1996-01-04 Braun Ag Deckel für eine Brühgetränkekanne
US5638740A (en) * 1995-02-24 1997-06-17 Cai; Zhihua Apparatus for brewing espresso and cappuccino
US5992677A (en) * 1995-12-12 1999-11-30 Ebine; Akemi Dual compartment beverage container
US5671503A (en) * 1996-09-06 1997-09-30 Uebelacker; Peggy Attachable storage handle for beverage container
US5855163A (en) * 1996-12-10 1999-01-05 Demars; Robert A. Coffee brewer
US5894952A (en) * 1996-12-14 1999-04-20 Mendenhall; Robert Scott Spill-resistant cup lid with condiment funnel and stirring rod
US5779102A (en) * 1997-02-12 1998-07-14 Smith; Dennis Dual compartment beverage dispenser
WO1998038874A1 (en) * 1997-03-07 1998-09-11 Lesser Brian J Disposable beverage filter
US6092647A (en) * 1997-09-15 2000-07-25 Yeh; Frank Beverage container with receptacle
US6079586A (en) * 1999-04-15 2000-06-27 Hanneman; Amy L. Combination cup and food container
US6086240A (en) * 1999-07-16 2000-07-11 Sierra Housewares, Inc. Stirring Pitcher having pivotable stirring handle
JP4708672B2 (ja) * 2000-06-27 2011-06-22 コーニンクレッカ フィリップス エレクトロニクス エヌ ヴィ 速度切り換え手段とかき混ぜツールのための切り離し手段とを持つハンドヘルドミキサー
US6647863B2 (en) * 2000-07-17 2003-11-18 Christoph Lang Device for making mocha coffee
US7637205B2 (en) * 2002-08-28 2009-12-29 Niro-Plan Ag Dispensing device for drinks
US20040237798A1 (en) * 2002-09-30 2004-12-02 Payne Ann Elizabeth Hot mixer or steam blender
US20040196736A1 (en) * 2002-11-25 2004-10-07 Bordan Nancy C Food stirring apparatus
DE602005005803T2 (de) * 2004-03-10 2009-05-07 Nestec S.A. Verfahren zur herstellung von schaum von einer nahrungsmittelflüssigkeit auf milchbasis, sowie anwendung des verfahrens
DE102004024721A1 (de) * 2004-05-19 2005-12-15 Melitta Haushaltsprodukte Gmbh & Co Kommanditgesellschaft Vorrichtung zum Aufschäumen einer Flüssigkeit
KR100613248B1 (ko) * 2004-10-01 2006-08-21 주식회사 로닉 가정용 죽 제조기 및 이를 이용한 죽 제조방법
US7784635B2 (en) * 2004-10-07 2010-08-31 Ropak Corporation Container and lid with multiple chambers
US7002108B1 (en) * 2005-01-24 2006-02-21 Ya Horng Electronic Co., Ltd. Electric frying apparatus
US20060278091A1 (en) * 2005-04-06 2006-12-14 Rutigliano Gerard A Dual coffee maker
ITMI20051178A1 (it) 2005-06-22 2006-12-23 De Longhi Spa Struttura di macchina da caffe'ad elevata flessibilita' di impiego
US7766540B2 (en) * 2006-06-26 2010-08-03 Nottingham-Spirk Design Associates, Inc. Kitchen blender
US7740153B2 (en) * 2006-11-14 2010-06-22 Gustafson David R Dispensing container for two beverages
TW200900033A (en) * 2007-06-21 2009-01-01 Wen-Qing Li Automatic brewing machine
US20090007802A1 (en) * 2007-07-02 2009-01-08 Isaac Taitler Method and device for multi-purpose applications using interchangeable heads
NL1034240C2 (nl) * 2007-08-08 2009-02-10 Foremost Bv Melkopschuimer.
US20100307346A1 (en) * 2007-10-10 2010-12-09 David Menashes Steam mechanism incorporated within kitchenware water heating systems
US20090127263A1 (en) * 2007-11-15 2009-05-21 Hylton Ricardo A Multiple chamber fluid container
EP2186456B1 (en) 2008-11-06 2013-04-10 Mac Design S.r.l. Device for preparing shaken beverages
IT1392393B1 (it) * 2008-12-19 2012-03-02 Lavazza S P A Apparecchio per la preparazione di bevande calde, in particolare bevande a base di latte quali cappuccino, cioccolata e simili
NZ588540A (en) * 2009-10-21 2011-06-30 Arzum Elek Kli Ev Aletleri Sanayi Ve Ticaret Anonim Sirketi Multi chamber thermos that controls dispensing through allignment of orfices in the multi-part cap system
ITFI20090248A1 (it) 2009-11-25 2011-05-26 Saeco Ipr Ltd "macchina da caffe' "
IT1398056B1 (it) * 2010-02-04 2013-02-07 De Longhi Appliances Srl Macchina da caffe' automatica
IT1398946B1 (it) * 2010-03-17 2013-03-28 De Longhi Appliances Srl Dispositivo associabile ad un erogatore di vapore per la produzione di una bevanda aromatica e macchina da caffe' che presenta un tale dispositivo
JP5661759B2 (ja) 2010-06-03 2015-01-28 パナソニックIpマネジメント株式会社 コーヒーメーカー
US9402502B2 (en) * 2010-07-02 2016-08-02 Luigi Lavazza S.P.A. Hot-beverage-making apparatus, in particular for milk beverages such as cappuccino, chocolate and the like
US8322693B2 (en) * 2010-07-11 2012-12-04 Uni-Splendor Corp. Milk froth machine
IT1403148B1 (it) * 2010-11-23 2013-10-04 Lavazza Luigi Spa Apparecchio e sistema per la preparazione di bevande, in particolare bevande a base di latte, quali cappuccino, cioccolata e simili.
USD653896S1 (en) * 2010-12-10 2012-02-14 Tiffany Wilt Separable beverage containers
WO2012158798A2 (en) * 2011-05-16 2012-11-22 Sunbeam Products, Inc. Hot beverage maker
US20130026185A1 (en) * 2011-07-28 2013-01-31 Horvath Ronald F Beverage container
CN202269902U (zh) * 2011-10-14 2012-06-13 广东新宝电器股份有限公司 一种咖啡机蒸汽搅奶发泡装置

Also Published As

Publication number Publication date
US10517423B2 (en) 2019-12-31
EP2877068B1 (en) 2017-03-01
BR112015004221A2 (pt) 2017-07-04
WO2014053963A1 (en) 2014-04-10
CN104602577B (zh) 2016-10-12
US20150238042A1 (en) 2015-08-27
RU2015111683A (ru) 2016-10-20
CN104602577A (zh) 2015-05-06
RU2637739C2 (ru) 2017-12-06
EP2877068A1 (en) 2015-06-03
JP2015535721A (ja) 2015-12-17

Similar Documents

Publication Publication Date Title
JP5857166B2 (ja) 多機能ジャグ及び多機能ジャグを使用する飲料製造機械
US7270156B2 (en) Beverage mixer and heater
JP5963771B2 (ja) モジュール式飲料供給システム
ES2471881T3 (es) Procesador de alimentos controlado a distancia
US10029221B2 (en) Agitation blade, agitation apparatus, beverage preparation apparatus, and agitation portion
CN102137610B (zh) 用于调制奶基液体的器具
JP5969038B2 (ja) ミルク泡立て装置およびこの種のミルク泡立て装置を有するコーヒーまたはエスプレッソマシンおよび自動飲料販売機
RU2691298C2 (ru) Вспениватель молока, система приготовления напитков и машина приготовления напитков
CN103781388A (zh) 清洁的多系统饮料机
CN103781387A (zh) 多系统饮料机安全连接器
US11866318B2 (en) Beverage preparation machine with handy drop stop
US11220419B2 (en) Beverage preparation machine with foam refinement
JP5207767B2 (ja) ミキシング装置および飲料提供装置
CN100544646C (zh) 用于配制混合饮料的装置
JP7283973B2 (ja) 泡立て装置、および、泡立て装置の使用方法

Legal Events

Date Code Title Description
A621 Written request for application examination

Free format text: JAPANESE INTERMEDIATE CODE: A621

Effective date: 20150401

A871 Explanation of circumstances concerning accelerated examination

Free format text: JAPANESE INTERMEDIATE CODE: A871

Effective date: 20150401

A975 Report on accelerated examination

Free format text: JAPANESE INTERMEDIATE CODE: A971005

Effective date: 20150819

A131 Notification of reasons for refusal

Free format text: JAPANESE INTERMEDIATE CODE: A131

Effective date: 20150908

A521 Request for written amendment filed

Free format text: JAPANESE INTERMEDIATE CODE: A523

Effective date: 20151023

TRDD Decision of grant or rejection written
A01 Written decision to grant a patent or to grant a registration (utility model)

Free format text: JAPANESE INTERMEDIATE CODE: A01

Effective date: 20151117

A61 First payment of annual fees (during grant procedure)

Free format text: JAPANESE INTERMEDIATE CODE: A61

Effective date: 20151214

R150 Certificate of patent or registration of utility model

Ref document number: 5857166

Country of ref document: JP

Free format text: JAPANESE INTERMEDIATE CODE: R150

R250 Receipt of annual fees

Free format text: JAPANESE INTERMEDIATE CODE: R250

R250 Receipt of annual fees

Free format text: JAPANESE INTERMEDIATE CODE: R250

LAPS Cancellation because of no payment of annual fees