JP5820249B2 - プラズマアーク溶接方法及びプラズマアーク溶接装置 - Google Patents

プラズマアーク溶接方法及びプラズマアーク溶接装置 Download PDF

Info

Publication number
JP5820249B2
JP5820249B2 JP2011251738A JP2011251738A JP5820249B2 JP 5820249 B2 JP5820249 B2 JP 5820249B2 JP 2011251738 A JP2011251738 A JP 2011251738A JP 2011251738 A JP2011251738 A JP 2011251738A JP 5820249 B2 JP5820249 B2 JP 5820249B2
Authority
JP
Japan
Prior art keywords
welding
pulse
plasma arc
current
frequency
Prior art date
Legal status (The legal status is an assumption and is not a legal conclusion. Google has not performed a legal analysis and makes no representation as to the accuracy of the status listed.)
Active
Application number
JP2011251738A
Other languages
English (en)
Other versions
JP2013107086A (ja
Inventor
和道 細谷
和道 細谷
山本 光
光 山本
中嶋 徹
徹 中嶋
佐藤 豊幸
豊幸 佐藤
勝則 和田
勝則 和田
周平 金丸
周平 金丸
Current Assignee (The listed assignees may be inaccurate. Google has not performed a legal analysis and makes no representation or warranty as to the accuracy of the list.)
Hitachi Construction Machinery Co Ltd
Taiyo Nippon Sanso Corp
Original Assignee
Hitachi Construction Machinery Co Ltd
Nippon Sanso Holdings Corp
Priority date (The priority date is an assumption and is not a legal conclusion. Google has not performed a legal analysis and makes no representation as to the accuracy of the date listed.)
Filing date
Publication date
Application filed by Hitachi Construction Machinery Co Ltd, Nippon Sanso Holdings Corp filed Critical Hitachi Construction Machinery Co Ltd
Priority to JP2011251738A priority Critical patent/JP5820249B2/ja
Priority to PCT/JP2012/079746 priority patent/WO2013073655A1/ja
Priority to EP12849073.7A priority patent/EP2781293B1/en
Priority to CN201280056461.XA priority patent/CN103945974B/zh
Priority to US14/358,655 priority patent/US9375802B2/en
Priority to RU2014123729/02A priority patent/RU2579851C2/ru
Publication of JP2013107086A publication Critical patent/JP2013107086A/ja
Application granted granted Critical
Publication of JP5820249B2 publication Critical patent/JP5820249B2/ja
Active legal-status Critical Current
Anticipated expiration legal-status Critical

Links

Images

Classifications

    • BPERFORMING OPERATIONS; TRANSPORTING
    • B23MACHINE TOOLS; METAL-WORKING NOT OTHERWISE PROVIDED FOR
    • B23KSOLDERING OR UNSOLDERING; WELDING; CLADDING OR PLATING BY SOLDERING OR WELDING; CUTTING BY APPLYING HEAT LOCALLY, e.g. FLAME CUTTING; WORKING BY LASER BEAM
    • B23K10/00Welding or cutting by means of a plasma
    • B23K10/02Plasma welding
    • BPERFORMING OPERATIONS; TRANSPORTING
    • B23MACHINE TOOLS; METAL-WORKING NOT OTHERWISE PROVIDED FOR
    • B23KSOLDERING OR UNSOLDERING; WELDING; CLADDING OR PLATING BY SOLDERING OR WELDING; CUTTING BY APPLYING HEAT LOCALLY, e.g. FLAME CUTTING; WORKING BY LASER BEAM
    • B23K10/00Welding or cutting by means of a plasma
    • B23K10/006Control circuits therefor

Landscapes

  • Engineering & Computer Science (AREA)
  • Physics & Mathematics (AREA)
  • Plasma & Fusion (AREA)
  • Mechanical Engineering (AREA)
  • Arc Welding In General (AREA)
  • Arc Welding Control (AREA)
  • Butt Welding And Welding Of Specific Article (AREA)

Description

本発明は、エネルギー密度が高く、高速度、高品質な溶接が可能なプラズマアーク溶接方法及びプラズマアーク溶接装置に関する。
一般に、プラズマアーク溶接は、ガスメタルア−ク(GMA)溶接、ガスタングステンアーク(GTA)溶接などと比べてエネルギー密度が高い。このため、プラズマアークを母材表面側から裏面側へ貫通させながら溶接する、いわゆるキーホール溶接が可能である。キーホール溶接が可能となれば、母材裏面側からの溶接作業が不要となるため、溶接作業効率が大幅に向上する。しかし、このキーホール溶接は、種々の要因、例えば溶接中の母材温度の上昇や大気温度、あるいはアースの取り方による磁気吹きなどにより施工の途中からキーホールの挙動が不安定となり易いため、熟練した作業員でなければ高品質の溶接作業を行うことができず、自動化が難しい。
そのため、例えば以下の特許文献1では、溶接電流にパルス電流を使用し、プラズマジェットを脈動させて溶融金属を小粒溶滴として吹き飛ばすことで垂れ下がりのない溶接ビードを形成するようにしている。また、以下の特許文献2では、プラズマガス流量をパルス状に変化させることで溶融プールの溶け落ち等の不都合を回避したキーホール溶接が提案されている。
特開昭60−27473号公報 特開平8−39259号公報
しかし、この特許文献1に開示されているような溶接方法は、プラズマジェットを脈動させて溶融金属を小粒溶滴として吹き飛ばす方法であるため、吹き飛ばされた溶融金属の小粒溶滴の後処理が必要となる。また、被溶接物が鋼管の突き合わせ溶接などの場合には吹き飛ばされた溶融金属の小粒溶滴の除去処理が困難な場合がある。一方、前記特許文献2に開示されているような溶接方法は、プラズマガス流量を交互にパルス状に変化させることで溶融プールの溶け落ち等の不都合を回避することは可能であるが、安定した一定高さの裏波ビードを得ることは困難である。
そこで、本発明はこれらの課題を解決するために案出されたものであり、その目的は、キーホール溶接に際して安定した一定高さの裏波ビードを確実に得ることができる新規なプラズマアーク溶接方法及びプラズマアーク溶接装置を提供するものである。
これらの課題を解決すべく本発明者らは、多くの研究・実験を行った結果、溶接時に母材裏側に形成される溶融池の揺れの挙動(振動数)と裏波ビードの形状との関連性を発見し、本発明に至ったものである。
すなわち、前述したようなプラズマアークによるキーホール溶接を行った場合、図2に示すように母材15の裏側であって、キーホール(プラズマアーク)の溶接方向後方には、溶接トーチ10から発生するプラズマアーク16の熱によって溶けた母材15による溶融池Pがその長手方向に沿って形成される。そして、この溶融池Pが、溶接方向前後に揺れることで、安定した一定高さの裏波ビードが形成されることが分かった。このとき溶融池Pの揺れ(挙動)が大きすぎると溶融金属が垂れ落ちてしまうことから溶融池Pの揺れ(挙動)には、安定した一定高さの裏波ビードを形成するための固有の振動数(例えば、30乃至40Hz)が存在することが分かった。また、この固有振動数は、母材15の材質や溶融池Pの大きさ(質量)、粘度などによっても異なる。そして、これらの知見に基づき本発明者らがこの溶融池Pの揺れ(挙動)をさらに詳しく調べたところ、この溶融池Pの揺れ(挙動)は、キーホール溶接時の溶接電流としてパルス電流を使用した場合、そのパルス電流のパルス周波数に大きく影響を受けることが分かった。
そこで、前記の目的を達成するために第1の発明は、被溶接物の溶接部にプラズマアークによるキーホールを形成しながら当該溶接部を連続溶接するプラズマアーク溶接方法であって、溶接電流にパルス電流を用いると共に、当該パルス電流のパルス周波数を前記溶接時に母材裏側に形成される溶融池が同期する周波数に制御して溶接することを特徴とするプラズマアーク溶接方法である。
このような溶接方法によれば、キーホール溶接中の溶融池の揺れをパルス電流のパルス周波数と同期するように制御できるため、垂れ落ちや不整がない安定した一定高さの裏波ビードを確実に得ることができる。
第2の発明は、被溶接物の溶接部にプラズマアークによるキーホールを形成しながら当該溶接部を連続溶接するプラズマアーク溶接方法であって、溶接電流としてパルス電流を供給するパルス電流供給ステップと、当該パルス電流のパルス周波数を前記溶融池が同期する周波数に制御するパルス周波数制御ステップとを含むことを特徴とするプラズマアーク溶接方法である。
このような溶接方法によれば、溶接時に母材裏側に形成される溶融池の揺れをパルス電流のパルス周波数に同期するように制御できるため、垂れ落ちや不整がない安定した一定高さの裏波ビードを確実に得ることができる。
第3の発明は、第1または第2の発明において、前記パルス電流のパルス周波数を前記溶融池の固有振動数の0.8倍以上3.0倍以下になるように制御することを特徴とするプラズマアーク溶接方法である。このように制御すれば、垂れ落ちや不整がない安定した一定高さの裏波ビードを確実に得ることができる。ここで、前記パルス電流のパルス周波数を前記溶融池の固有振動数の0.8倍以上3.0倍以下としたのは、後述するようにこの範囲を超えると、プラズマアークと溶融池間の干渉が大きくなって、不整ビードや垂れ落ち現象を招く可能性が高くなるからである。
第4の発明は、第3の発明において、前記パルス電流のパルス周波数と共に、前記パルス電流のピークまたはベース電流値あるいはパルス幅を制御することを特徴とするプラズマアーク溶接方法である。このような制御方法によれば、前記溶融池の固有振動数の0.8倍以上3.0倍以下の範囲のうちの限界値付近であっても、垂れ落ちや不整がない安定した一定高さの裏波ビードを確実に得ることができる。
第5の発明は、第1または第2の発明において、前記パルス電流のパルス周波数を前記溶融池の固有振動数の1.0倍以上2.0倍以下になるように制御することを特徴とするプラズマアーク溶接方法である。このように制御すれば、垂れ落ちや不整がない安定した一定高さの裏波ビードをより確実に得ることができる。
第6の発明は、第5の発明において、前記パルス電流のパルス周波数と共に、前記パルス電流のピークまたはベース電流値あるいはパルス幅を制御することを特徴とするプラズマアーク溶接方法である。このような制御方法によれば、前記溶融池の固有振動数の1.0倍以上2.0倍以下の範囲のうちの限界値付近であっても、垂れ落ちや不整がない安定した一定高さの裏波ビードを確実に得ることができる。
第7の発明は、プラズマアークを発生する溶接トーチを用いて被溶接物の溶接部にキーホールを形成しながら当該溶接部を連続溶接するプラズマアーク溶接装置であって、溶接電流としてパルス電流を供給するパルス電流供給手段と、当該パルス電流のパルス周波数を前記溶融池が同期する周波数に制御するパルス周波数制御手段とを備えたことを特徴とするプラズマアーク溶接装置である。
このような構成によれば、第2の発明と同様に、溶接時に母材裏側に形成される溶融池の揺れをパルス電流のパルス周波数と同期するように制御できるため、垂れ落ちや不整がない安定した一定高さの裏波ビードを確実に得ることができる。
本発明によれば、溶接電流にパルス電流を用いると共に、このパルス電流のパルス周波数を溶接時に母材裏側に形成される溶融池が同期する周波数に制御して溶接する。これによって、キーホール溶接に際して垂れ落ちや不整がない安定した一定高さの裏波ビードを確実に得ることができる。
本発明に係るプラズマアーク溶接装置100の実施の一形態を示すブロック図である。 溶接時に母材15の裏側に形成される溶融池Pの挙動を示す概念図である。 被溶接物14に対して溶接トーチ10を所定の角度θを傾斜させて溶接している状態を示す概念図である。 本発明方法で使用するパルス電流の波形図である。 被溶接物14に関する溶接条件の一例を示す部分拡大図である。 本発明に係るプラズマアーク溶接方法の処理の流れを示すフローチャート図である。 パルス電流の周波数が溶融池の固有振動数の0.8倍以上1.0倍以下のときの下部溶融池の挙動を示す概念図である。 パルス電流の周波数が溶融池の固有振動数の1.0倍以上2.0倍以下のときの下部溶融池の挙動を示す概念図である。 パルス電流の周波数が溶融池の固有振動数の2.0倍以上3.0倍以下のときの下部溶融池の挙動を示す概念図である。 パルス電流の周波数が溶融池の固有振動数の0.8倍未満および3.0倍を超えたときの溶融池の挙動を示す概念図である。 本発明によるキーホール溶接後の溶接部の状態を示す溶接方向断面図である。
次に、本発明に係るプラズマアーク溶接方法および溶接装置の実施の一形態を添付図面を参照しながら説明する。図1は、本発明に係るプラズマアーク溶接装置100の構成を示したブロック図である。図示するようにこのプラズマアーク溶接装置100は、溶接トーチ10と、この溶接トーチ10を駆動する駆動部20と、溶接電源を供給する電源部30と、溶接トーチ10に溶接ガスを供給するガス供給部40と、これら各部10乃至40を制御する溶接制御部50とから主に構成されている。
溶接トーチ10は、図2に示すように、タングステン電極11を溶接トーチチップ12で覆うと共にその溶接トーチチップ12をシールドキャップ13で覆った構造をしている。そして、図示しない高周波発生器を使ってこのタングステン電極11と溶接トーチチップ12との間にパイロットアークを発生させると共に、その溶接トーチチップ12内にアルゴン(Ar)などの動作ガス(プラズマガスPG)を流すと、このプラズマガスPGがアーク熱によってイオン化してアーク電流の良導体となってタングステン電極11と母材15間で超高温(10000〜20000℃)のプラズマアーク16が発生するようになっている。そして、このプラズマアーク16を母材15の表側から裏面側に貫通させることでキーホール溶接が可能となっている。また、この溶接トーチチップ12とシールドキャップ13間にはアルゴン(Ar)と水素(H)、アルゴン(Ar)と酸素(O)、アルゴン(Ar)と炭酸ガス(CO)などからなるシールドガスSGが供給されており、このシールドガスSGによって溶接部を大気から保護して溶接品質を維持するようになっている。
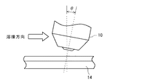
駆動部20は、この溶接トーチ10を被溶接物14に対して例えば図3に示すように所定の間隔および角度θとなるように維持・固定すると共に、溶接制御部50からの制御信号によってその溶接トーチ10を被溶接物14の溶接線に沿って所定の速度で移動(走行)させるようになっている。なお、この駆動部20は、被溶接物14側を固定し、この被溶接物14に対して溶接トーチ10側を移動させる他、溶接トーチ10側を固定し、被溶接物14側を移動させたり、両方をそれぞれ同時に移動(走行)させることも可能となっている。
溶接電源部30は、溶接トーチ10と母材15との間にプラズマアーク16を発生させるために必要な電流を所定の電圧で供給するものであり、その電流値および電圧値は溶接制御部50によって細かく制御されるようになっている。そして、この溶接電源部30は、供給する電流として例えば図4に示すような矩形波のパルス電流を供給するようになっている。図4はこの溶接電源部30から供給されるパルス電流の波形の一例を示したものであり、Iはピーク電流、Iはベース電流、wはパルス幅、fはパルス周波数である。ガス供給部40は、溶接トーチ10に対して前述したプラズマガスやシールドガスなどの溶接ガスを供給するものであり、同じく溶接制御部50によってそのガス流量やタイミングなどが適宜制御されるようになっている。
溶接制御部50は、中央制御部51と、記憶部(データベース)52と、出力電圧計測部53と、溶接電圧周波数解析部56と、入力部54と、出力部55とから構成されている。そして先ず中央制御部51は、コンピュータシステムなどの情報処理装置(CPU、ROM、RAM、入出力インタフェースなど)から構成されており、入力部54から入力される操作指令や所定の制御用プログラムに基づいて前記各部10乃至40などを制御するようになっている。
記憶部(データベース)52は、HDDや半導体メモリなどのデータの書き込み・読み出し自在の記憶装置などから構成されており、各種制御用プログラムなどの他に、少なくとも各種溶接条件とその溶接条件毎に異なる、溶接時に母材15の裏側に形成される溶融池の固有振動数に関するデータが書き込み・読み出し自在に記録されている。
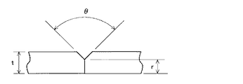
すなわち、この記憶部(データベース)52には、少なくとも様々な溶接条件とその条件下で一意に決まる溶融池Pの固有振動数に関する情報がデータベースとして記録されている。ここで、様々な溶接条件としては、例えば被溶接物14に関する条件と溶接施工条件とが挙げられる。そして、被溶接物14に関する条件としては、材料(母材の種類)の他に、例えば図5に示すように板厚t、開先角度θ、ルート長さrなどがある。一方、溶接施工条件としては、溶接電流、溶接速度、パイロットガス流量、パイロットガス組成、シールドガス組成、溶接トーチチップ穴径、スタンドオフ(母材−溶接トーチチップ間隔)、図3に示すように被溶接物14に対する溶接トーチ10の角度θなどがある。
出力電圧計測部53は、溶接電源部30からの出力電圧を常時あるいは任意の時間計測して溶接電圧周波数解析部56と中央制御部51に入力するようになっている。入力部54は、例えばキーボードやマウスなどの各種入力装置から構成されており、各種の溶接条件や操作指令などを入力するようになっている。出力部はCRTやLCDなどのモニターやスピーカーなどの各種出力装置から構成されており、入力部54からの溶接条件の入力操作の確認のための表示や各種の溶接状況などの情報を表示するようになっている。なお、この出力部55はモニターの表面にタッチパネルなどの入力機能を付加することで入力部54と兼用しても良い。
このような構成をした本発明に係るプラズマアーク溶接装置100によるプラズマ溶接方法としては、例えば図6に示すような流れとなる。すなわち、本発明装置100の溶接制御部50(中央制御部51)は、入力部54から被溶接物14に関する条件と溶接開始指令が入力されたならば、最初のステップS100に移行してその被溶接物14に関する条件に最適な溶接施工条件を記憶部(データベース)52から選択してきてその溶接施工条件を取得して次のステップS102に移行する。
ステップS102では、溶接電源30により、パルス電流のパルス周波数を溶融池Pが同期する周波数に設定し、溶接を開始する。そして、この溶接制御部50(中央制御部51)は、最後のステップS104に移行してその溶接が終了したか否かを判断し、溶接が終了したと判断したとき(YES)は、その処理を終了するが、終了していないと判断したとき(YES)は、ステップS102に戻って溶接作業を継続する。
図7乃至図9は、溶融池Pの挙動に対するパルス電流のパルス周波数(f)の影響を示したものである。先ず、図7はパルス電流のパルス周波数(f)が、溶融池Pの固有振動数(f)の0.8倍以上1.0倍以下(0.8≦f/f≦1.0)の場合の溶融池Pの挙動(振動)を示した模式図である。
同図(A)に示すように、この溶融池Pは、ピーク電流Iが流れたときにその駆動力によって溶接方向逆向きの波(揺れ)が形成される。この波は、溶融池P後端に達したときにその一部が固まって裏波ビードを形成し、残りはベース電流I下で同図(B)に示すように、その溶融池P後端で反射して溶接方向の波となる。この波は、キーホールを突き抜けたプラズマアーク16と干渉することによって減衰される。このような揺れ(振動)を繰り返すことで、垂れ落ちや不整がない安定した一定高さの裏波ビードが形成される。
次に、図8はパルス電流のパルス周波数(f)が、溶融池Pの固有振動数(f)の1.0倍を越え2.0倍以下(1.0<f/f≦2.0)の場合の溶融池Pの挙動(振動)を示した模式図である。この場合も同様に先ず、同図(A)に示すように、溶融池Pは、ピーク電流Iが流れたときに、その駆動力によって溶接方向逆向きの波(揺れ)が形成される。この波は、溶融池P後端に達したときにその一部が固まって裏波ビードを形成し、残りはベース電流I下でその溶融池P後端で反射して溶接方向の波となる。この波は、同図(B)に示すように、溶融池Pの先端側に達する前に、溶融池Pのほぼ中央部において、次のピーク電流Ipによってキーホール側で発生した溶接方向逆向きの新たな溶融金属の波と交差する。それぞれの波は交差することで同図(C)に示すように減衰して、溶融池P全体の振動が抑えられる。このため、溶融金属量が多い場合でも溶け落ちやプラズマアーク16への干渉を抑えることができる。これによって、垂れ落ちや不整がない安定した一定高さの裏波ビードが形成される。
次に、図9はパルス電流のパルス周波数(f)が、溶融池Pの固有振動数(f)の2.0倍を越え3.0倍以下(2.0<f/f≦3.0)の場合の溶融池Pの挙動(振動)を示した模式図である。この場合も同様に先ず、同図(A)に示すように、溶融池Pは、ピーク電流Iが流れたときに、その駆動力によって溶接方向逆向きの波(揺れ)が形成される。しかし、この場合は、ピーク時間(パルス幅w/パルス周波数f)が短いため、ピーク電流時に溶融される金属量も少なく、同図(B)に示すように、溶融池Pの揺れも上記の場合よりも小さい。このため、反射波も次のピーク電流I以降に溶融される溶融金属の波により打ち消され、溶融池Pには、同図(C)に示すように、パルス周波数に同期した後端方向への振動した流れが発生する。これによって、垂れ落ちや不整がない安定した一定高さの裏波ビードが形成される。
一方、図10はパルス電流のパルス周波数(f)が溶融池Pの固有振動数(f)の0.8倍未満の場合、およびパルス電流のパルス周波数(f)が溶融池Pの固有振動数(f)の0.8倍未満および3.0倍を超える場合の下部溶融池Pの挙動(振動)を示した模式図である。これらの場合、溶融池Pは、パルス周波数(f)と同期せずに固有振動数(f)で振動しようとするため、同図(A)および(B)に示すようにこの溶融池Pの溶融金属がプラズマアーク16に干渉してキーホールを一時的に閉じてしまうことがある。その結果、同図(C)に示すようにプラズマアーク16が再びキーホールを形成する際にこの溶融金属を一気に押し退けるように作用してスパッタの発生や垂れ落ちなどの溶接不良を招く可能性があるため、安定した一定高さの裏波ビードを得ることが難しい。
このように本発明は、溶接電流にパルス電流を用いると共に、このパルス電流のパルス周波数を溶融池Pが同期する周波数に制御して溶接するため、図11に示すようにキーホール溶接に際して垂れ落ちや不整がない安定した一定高さの裏波ビードを確実に得ることができる。
また、このようにパルス電流のパルス周波数を所定の範囲内に収まるように制御すると共に、図4に示すようにパルス電流のピーク電流値(I)またはベース電流値(I)あるいはパルス幅を制御しても良い。このようにすれば、パルス電流のパルス周波数が溶融池Pの固有振動数の0.8倍以上3.0倍以下の範囲のうちの限界値付近、すなわち0.8倍付近または3.0倍付近であっても、ピーク電流値(I)またはベース電流値(I)あるいはパルス幅のいずれかあるいは複合して制御すれば、垂れ落ちや不整がない安定した一定高さの裏波ビードを確実に得ることができる。
なお、前記課題を解決するための手段の欄に記載した本発明を構成する各手段(ステップ)のうち、溶接電流としてパルス電流を供給するパルス電流供給手段(ステップ)は、図1の溶接電源部30に対応する。
100…プラズマアーク溶接装置
11…タングステン電極
12…溶接トーチチップ
10…溶接トーチ
13…シールドキャップ
14…被溶接物
15…母材
16…プラズマアーク
20…駆動部
30…溶接電源部
40…溶接ガス供給部
50…溶接制御部
51…中央制御部
52…記憶部(データベース)
53…出力電圧計測部
54…入力部
55…出力部
56…溶接電圧周波数解析部
P…溶融池
PG…プラズマガス
SG…シールドガス

Claims (5)

  1. 被溶接物の溶接部にプラズマアークによるキーホールを形成しながら当該溶接部を連続溶接するプラズマアーク溶接方法であって、
    溶接電流にパルス電流を用いると共に、当該パルス電流のパルス周波数を前記溶接時に母材裏側に形成される溶融池が同期する周波数に制御して溶接するに際し、
    前記パルス電流のパルス周波数を前記溶融池の固有振動数の0.8倍以上3.0倍以下になるように制御することを特徴とするプラズマアーク溶接方法。
  2. 請求項に記載のプラズマアーク溶接方法において、
    前記パルス電流のパルス周波数と共に、前記パルス電流のピークまたはベース電流値あるいはパルス幅を制御することを特徴とするプラズマアーク溶接方法。
  3. 被溶接物の溶接部にプラズマアークによるキーホールを形成しながら当該溶接部を連続溶接するプラズマアーク溶接方法であって、
    溶接電流にパルス電流を用いると共に、当該パルス電流のパルス周波数を前記溶接時に母材裏側に形成される溶融池が同期する周波数に制御して溶接するに際し、
    前記パルス電流のパルス周波数を前記溶融池の固有振動数の1.0倍以上2.0倍以下になるように制御することを特徴とするプラズマアーク溶接方法。
  4. 請求項に記載のプラズマアーク溶接方法において、
    前記パルス電流のパルス周波数と共に、前記パルス電流のピークまたはベース電流値あるいはパルス幅を制御することを特徴とするプラズマアーク溶接方法。
  5. プラズマアークを発生する溶接トーチを用いて被溶接物の溶接部にキーホールを形成しながら当該溶接部を連続溶接するプラズマアーク溶接装置であって、
    前記溶接電流としてパルス電流を供給するパルス電流供給手段と、当該パルス電流のパルス周波数を前記溶融池の固有振動数の0.8倍以上3.0倍以下になるように制御するパルス周波数制御手段とを備えたことを特徴とするプラズマアーク溶接装置。
JP2011251738A 2011-11-17 2011-11-17 プラズマアーク溶接方法及びプラズマアーク溶接装置 Active JP5820249B2 (ja)

Priority Applications (6)

Application Number Priority Date Filing Date Title
JP2011251738A JP5820249B2 (ja) 2011-11-17 2011-11-17 プラズマアーク溶接方法及びプラズマアーク溶接装置
PCT/JP2012/079746 WO2013073655A1 (ja) 2011-11-17 2012-11-16 プラズマアーク溶接方法及びプラズマアーク溶接装置
EP12849073.7A EP2781293B1 (en) 2011-11-17 2012-11-16 Plasma arc welding method and plasma arc welding device
CN201280056461.XA CN103945974B (zh) 2011-11-17 2012-11-16 等离子弧焊方法以及等离子弧焊装置
US14/358,655 US9375802B2 (en) 2011-11-17 2012-11-16 Plasma arc welding method and plasma arc welding device
RU2014123729/02A RU2579851C2 (ru) 2011-11-17 2012-11-16 Способ плазменно-дуговой сварки и устройство для плазменно-дуговой сварки

Applications Claiming Priority (1)

Application Number Priority Date Filing Date Title
JP2011251738A JP5820249B2 (ja) 2011-11-17 2011-11-17 プラズマアーク溶接方法及びプラズマアーク溶接装置

Publications (2)

Publication Number Publication Date
JP2013107086A JP2013107086A (ja) 2013-06-06
JP5820249B2 true JP5820249B2 (ja) 2015-11-24

Family

ID=48429708

Family Applications (1)

Application Number Title Priority Date Filing Date
JP2011251738A Active JP5820249B2 (ja) 2011-11-17 2011-11-17 プラズマアーク溶接方法及びプラズマアーク溶接装置

Country Status (6)

Country Link
US (1) US9375802B2 (ja)
EP (1) EP2781293B1 (ja)
JP (1) JP5820249B2 (ja)
CN (1) CN103945974B (ja)
RU (1) RU2579851C2 (ja)
WO (1) WO2013073655A1 (ja)

Families Citing this family (5)

* Cited by examiner, † Cited by third party
Publication number Priority date Publication date Assignee Title
US20170120365A1 (en) * 2015-10-29 2017-05-04 Lincoln Global, Inc. System and method of communicating in a welding system over welding power cables
WO2019145990A1 (ja) * 2018-01-23 2019-08-01 株式会社Fuji プラズマ発生装置および情報処理方法
CN112091429A (zh) * 2020-08-21 2020-12-18 广东省科学院中乌焊接研究所 一种铝合金焊接方法
US12447641B2 (en) * 2021-05-03 2025-10-21 The Gillette Company Llc Welded razor blade assemblies
CN117206638B (zh) * 2023-09-19 2025-04-01 中国核工业第五建设有限公司 一种复合tig焊接方法

Family Cites Families (21)

* Cited by examiner, † Cited by third party
Publication number Priority date Publication date Assignee Title
US4595820A (en) * 1982-10-22 1986-06-17 The Ohio State University Apparatus and methods for controlling a welding process
JPS6027473A (ja) 1983-07-26 1985-02-12 Mitsubishi Heavy Ind Ltd プラズマ溶接法
US4711986A (en) * 1986-11-24 1987-12-08 General Electric Company Method and apparatus for measuring weld penetration in an arc welding process
SU1558603A1 (ru) * 1987-04-15 1990-04-23 Сибирский автомобильно-дорожный институт им.В.В.Куйбышева Способ сварки в среде защитных газов неплав щимс электродом
US5225654A (en) * 1992-07-15 1993-07-06 The Babcock & Wilcox Company Method for defect free keyhole plasma arc welding
JP3018807B2 (ja) * 1993-01-20 2000-03-13 トヨタ自動車株式会社 消耗電極式パルスアーク溶接装置
JPH07214330A (ja) 1994-02-07 1995-08-15 Kobe Steel Ltd 横向きプラズマアーク溶接方法
US5506384A (en) * 1994-04-21 1996-04-09 Kabushiki Kaisha Komatsu Seisakusho Plasma arc cutting machine with variable constant current source and variable resistor
JPH0839259A (ja) * 1994-07-29 1996-02-13 Kobe Steel Ltd ガスパルスプラズマ溶接方法
JP3327457B2 (ja) * 1997-09-26 2002-09-24 トヨタ自動車株式会社 パルスアーク溶接方法
UA43424C2 (uk) * 1998-02-26 2001-12-17 Інститут Електрозварювання Ім. Є.О. Патона Нан України Спосіб дугового зварювання плавким електродом в середовищі захисних газів
JP3681964B2 (ja) * 2000-08-02 2005-08-10 ダイハツ工業株式会社 アーク溶接方法とアーク溶接装置
JP2002178177A (ja) * 2000-12-07 2002-06-25 Babcock Hitachi Kk レーザビーム溶接装置
US6977357B2 (en) * 2003-07-09 2005-12-20 Lincoln Global, Inc. Welding wire positioning system
JP2007152399A (ja) * 2005-12-06 2007-06-21 Mitsubishi Heavy Ind Ltd 溶接方法
JP5124765B2 (ja) * 2006-08-30 2013-01-23 独立行政法人国立高等専門学校機構 電磁力を用いた溶接方法及び溶接装置
RU2343651C1 (ru) * 2007-06-13 2009-01-10 Государственное Научное Учреждение "Институт Физики Имени Б.И. Степанова Национальной Академии Наук Беларуси" Импульсно-периодический плазмотрон
US8324524B2 (en) * 2008-03-26 2012-12-04 Taiyo Nippon Sanso Corporation Plasma welding process and outer gas for use in the plasma welding process
JP2010172958A (ja) * 2009-02-02 2010-08-12 Daihen Corp プラズマgma溶接方法
JP2010207875A (ja) * 2009-03-11 2010-09-24 Panasonic Corp 複合溶接装置
JP5558881B2 (ja) * 2010-03-29 2014-07-23 株式会社ダイヘン プラズマミグ溶接方法

Also Published As

Publication number Publication date
JP2013107086A (ja) 2013-06-06
US9375802B2 (en) 2016-06-28
RU2579851C2 (ru) 2016-04-10
WO2013073655A1 (ja) 2013-05-23
CN103945974A (zh) 2014-07-23
CN103945974B (zh) 2017-02-22
RU2014123729A (ru) 2015-12-27
EP2781293B1 (en) 2018-04-11
US20140312012A1 (en) 2014-10-23
EP2781293A1 (en) 2014-09-24
EP2781293A4 (en) 2015-09-02

Similar Documents

Publication Publication Date Title
JP5820249B2 (ja) プラズマアーク溶接方法及びプラズマアーク溶接装置
Zhang et al. Arc characteristics and metal transfer behavior in narrow gap gas metal arc welding process
KR101991608B1 (ko) 수평 필릿 용접 방법, 수평 필릿 용접 시스템 및 프로그램
CN105658367A (zh) 用于针对增材制造提供位置反馈的系统和方法
JP2013107087A (ja) プラズマアーク溶接のモニタリング方法及びプラズマアーク溶接装置
CN101269433B (zh) 双电极电弧焊接的起弧控制方法
KR101991607B1 (ko) 수평 필렛 용접 방법, 수평 필렛 용접 시스템 및 프로그램
JP3089060B2 (ja) 自動溶接装置
Hu et al. Effects of coupling between the laser plasma and two arcs on metal transfer in CO2 laser double-wire MIG hybrid welding
JP5820248B2 (ja) プラズマアーク溶接方法及びプラズマアーク溶接装置
CN103687688B (zh) 一种操作焊接电源的方法和焊接电源
CN201950346U (zh) 窄间隙双丝mig/mag焊接装置
JP5154872B2 (ja) パルスアーク溶接の出力制御方法
JP2010214462A (ja) アーク溶接装置
Karimi et al. Processing characteristics of Ni-WC MMC weld cladding by various types of GMAW
JP2012166261A (ja) 溶接方法及び溶接装置
Zheng et al. A novel control approach for the droplet detachment in rapid prototyping by 3D welding
JP2010221302A (ja) アーク溶接方法
Saraev et al. The development and practical application of adaptive pulse-arc welding in the manufacturing and repair of metal structures responsible function
JP2013099793A (ja) 溶接方法
JP2009233739A (ja) 溶接方法及び溶接装置
JP4847142B2 (ja) 消耗電極パルスアーク溶接の出力制御方法
JP2014087818A (ja) アーク溶接方法およびアーク溶接装置
JP2007210019A (ja) 溶接装置、溶接方法
JP4638246B2 (ja) 歪取り装置

Legal Events

Date Code Title Description
A621 Written request for application examination

Free format text: JAPANESE INTERMEDIATE CODE: A621

Effective date: 20140224

A131 Notification of reasons for refusal

Free format text: JAPANESE INTERMEDIATE CODE: A131

Effective date: 20150519

A521 Written amendment

Free format text: JAPANESE INTERMEDIATE CODE: A523

Effective date: 20150721

TRDD Decision of grant or rejection written
A01 Written decision to grant a patent or to grant a registration (utility model)

Free format text: JAPANESE INTERMEDIATE CODE: A01

Effective date: 20150915

A61 First payment of annual fees (during grant procedure)

Free format text: JAPANESE INTERMEDIATE CODE: A61

Effective date: 20151002

R150 Certificate of patent or registration of utility model

Ref document number: 5820249

Country of ref document: JP

Free format text: JAPANESE INTERMEDIATE CODE: R150

S111 Request for change of ownership or part of ownership

Free format text: JAPANESE INTERMEDIATE CODE: R313115

R350 Written notification of registration of transfer

Free format text: JAPANESE INTERMEDIATE CODE: R350