JP5772007B2 - 発光装置及び発光装置の製造方法 - Google Patents

発光装置及び発光装置の製造方法 Download PDF

Info

Publication number
JP5772007B2
JP5772007B2 JP2011012420A JP2011012420A JP5772007B2 JP 5772007 B2 JP5772007 B2 JP 5772007B2 JP 2011012420 A JP2011012420 A JP 2011012420A JP 2011012420 A JP2011012420 A JP 2011012420A JP 5772007 B2 JP5772007 B2 JP 5772007B2
Authority
JP
Japan
Prior art keywords
light emitting
light
emitting element
emitting device
reflecting layer
Prior art date
Legal status (The legal status is an assumption and is not a legal conclusion. Google has not performed a legal analysis and makes no representation as to the accuracy of the status listed.)
Active
Application number
JP2011012420A
Other languages
English (en)
Other versions
JP2012156214A (ja
JP2012156214A5 (ja
Inventor
藤川 康夫
康夫 藤川
英明 竹田
英明 竹田
Current Assignee (The listed assignees may be inaccurate. Google has not performed a legal analysis and makes no representation or warranty as to the accuracy of the list.)
Nichia Corp
Original Assignee
Nichia Corp
Priority date (The priority date is an assumption and is not a legal conclusion. Google has not performed a legal analysis and makes no representation as to the accuracy of the date listed.)
Filing date
Publication date
Application filed by Nichia Corp filed Critical Nichia Corp
Priority to JP2011012420A priority Critical patent/JP5772007B2/ja
Publication of JP2012156214A publication Critical patent/JP2012156214A/ja
Publication of JP2012156214A5 publication Critical patent/JP2012156214A5/ja
Application granted granted Critical
Publication of JP5772007B2 publication Critical patent/JP5772007B2/ja
Active legal-status Critical Current
Anticipated expiration legal-status Critical

Links

Images

Landscapes

  • Led Device Packages (AREA)

Description

本発明は、発光素子がフリップチップ実装された発光装置に関する。
従来、発光素子がフリップチップ実装された発光装置において、発光素子と基板との間に反射性材料からなるアンダーフィルを注入する発明が提案された(特許文献1、2参照)。この発光装置によれば、発光素子から基板に向けて出射された光をアンダーフィルにて反射させ、発光装置を明るくできるとされる。
特開2007−109948号公報 特開2008−140873号公報
しかしながら、図9に示すように、アンダーフィル31は、発光素子30(半導体層30b、半導体層30bを成長させるための成長用基板30a)の側面に付着しやすい。このため、上記従来の発光装置では、発光素子(より具体的には、発光素子の半導体層)の側面から出射されるはずの光が、発光素子の側面に付着したアンダーフィルによって発光素子の内部へ反射されてしまい、発光素子の内部にて吸収されてしまうという問題があった。
そこで、本発明は、発光素子から基板に向けて出射された光を効率よく反射させることが可能な新たな発光装置を提供することを目的とする。
本発明によれば、上記課題は、次の手段により解決される。
本発明は、配線が形成された基板に発光素子がフリップチップ実装された発光装置であって、前記配線上に形成された絶縁性光反射層と、前記絶縁性光反射層を貫通して前記配線に達し、前記配線と前記発光素子とを接続するバンプと、を備えることを特徴とする発光装置である。
また、本発明は、上記の発光装置において、前記発光素子と前記絶縁性光反射層との間に透明樹脂が充填されていることを特徴とする。
また、本発明は、上記の発光装置において、前記発光素子を封止する封止材を備え、前記封止材に蛍光体粒子が含有されていることを特徴とする。
また、本発明は、上記の発光装置において、前記発光素子と前記絶縁性光反射層との間に空気が充填されていることを特徴とする。
また、本発明は、前記発光素子と前記絶縁性光反射層との間に前記蛍光体粒子を含有しない封止材が充填されていることを特徴とする上記の発光装置である。
本発明によれば、発光素子から基板に向けて出射された光を効率よく反射させることが可能な新たな発光装置を提供することができる。
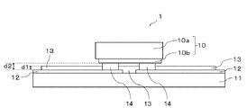
本発明の第1実施形態に係る発光装置の断面図である。 本発明の第2実施形態に係る発光装置の断面図である。 本発明の第3実施形態に係る発光装置の断面図である。 本発明の第4実施形態に係る発光装置の断面図である。 本発明の第5実施形態に係る発光装置の断面図である。 本発明の第1実施形態に係る発光装置を作製する方法の一例について説明する図である。 本発明の実施例1に係るパッケージを説明する図であり、(a)は平面図、(b)は側面図、(c)は配線を強調して示す図である。 本発明の実施例2に係る発光装置を説明する図であり、(a)は平面図、(b)は側面図、(c)は配線を強調して示す図、(d)は切断の様子を示す図である。 従来の発光装置において、アンダーフィルが発光素子の側面に付着する様子を説明する図である。
以下に、添付した図面を参照しつつ、本発明を実施するための形態について説明する。
[本発明の第1実施形態に係る発光装置1]
図1は、本発明の第1実施形態に係る発光装置の断面図である。
図1に示すように、本発明の第1実施形態に係る発光装置1は、発光素子10と、配線12が形成された基板11と、絶縁性光反射層13と、バンプ14と、を備えている。以下、順に説明する。
(発光素子10)
発光素子10としては、p電極とn電極とが同一面側に形成されたLEDチップなどを用いる。発光素子10は、半導体層10bと、半導体層10bを成長させるための成長用基板10aと、を有している。発光素子10は、配線12が形成された基板11にフリップチップ実装される。
(基板11)
基板11としては、樹脂やセラミック等を用いることができる。例えば、樹脂の場合は、FR−4やCEM−3等のリジット基板や、ポリエチレンテレフタレート(PET)、ポリエチレンナフタレート(PEN)、ポリイミド、液晶ポリマー、ナイロン等のフレキシブル基板、セラミックの場合は、窒化アルミニウム、アルミナ、ガラス等を用いることができる。
基板11には、配線12が形成されている。配線12としては、基板11よりも反射率が高い金属(銀メッキされた銅やアルミニウムなど)を用いる。なお、アルミニウムは銀メッキをしなくても、LEDチップから放出された光に対する反射率が高いため、低コストで基板全面の反射率を高めるに当たり、特に好ましく用いることができる。
(絶縁性光反射層13)
絶縁性光反射層13は、配線12上に形成される。絶縁性光反射層13としては、シリコーン樹脂と酸化チタンの粉末を混合させたものを用いる。LEDチップから放出された光に対する耐光性に優れ、反射率も高いためである。
(バンプ14)
バンプ14は、絶縁性光反射層13を貫通して配線12に達し、配線12と発光素子10とを接続する。バンプ14は、圧接接合や超音波接合などの接合方法により、絶縁性光反射層13を突き破って絶縁性光反射層13を貫通し、配線12に達し、配線12に接続される。
なお、絶縁性光反射層13の厚みd1とパンプ14の高さd2との関係については、例えば次のように考える。
すなわち、絶縁性光反射層13の厚みd1を5μmより小さくすると、発光素子10としてのLEDチップから放出された光に対する絶縁性光反射層13の反射率が低くなる。他方、絶縁性光反射層13の厚みd1を20μmより大きくすると、バンプ14によって絶縁性光反射層13を突き破りにくくなる。
また、バンプ14の高さd2を「d1+5μm」より小さくすると、発光素子10としてのLEDチップが絶縁性光反射層13に接触するおそれがある。他方、d2を「d1+30μm」以下とすればバンプ材料のコストを抑えることができる。
以上から、絶縁性光反射層13の厚みd1とパンプ14の高さd2との関係については、絶縁性光反射層13の厚みd1をパンプ14の高さd2より薄くすることが好ましく、さらに、絶縁性光反射層13の厚みd1を5μm〜20μmとし、バンプ14の高さd2を「d1+5μm」〜「d1+30μm」とすることがより好ましい。
なお、超音波接合により接合すれば、バンプ14と配線12との接着強度が増す。
本発明の第1実施形態に係る発光装置1によれば、発光素子10から基板11に向けて出射された光が絶縁性光反射層13により反射される。絶縁性光反射層13は、発光素子10に接触していないため、発光素子10の側面から出射される光を遮らない。
なお、p電極とn電極とが同一面側に形成されたGaN系の発光素子は、活性層(発光層)が発光素子の表面側に形成されていることが多い。このため、GaN系の発光素子を基板にフリップチップ実装した場合は、発光素子の活性層(発光層)が基板に接近するため、アンダーフィルが発光素子の活性層(発光層)側面に付着しやすく、活性層(発光層)から出射した光がアンダーフィルによって遮光されやすい。
しかしながら、本発明の第1実施形態における絶縁性光反射層13は、発光素子10に接触しないため、活性層(発光層)が基板に接近するGaN系の発光素子を用いる場合であっても、発光素子10の側面から出射される光を遮らない。
[本発明の第2実施形態に係る発光装置2]
図2は、本発明の第2実施形態に係る発光装置の断面図である。
図2に示すように、本発明の第2実施形態に係る発光装置2は、発光素子10と絶縁性光反射層13との間に透明樹脂15が充填されている点で、本発明の第1実施形態に係る発光装置1と相違する。
発光素子10と絶縁性光反射層13との間に透明樹脂15を充填すれば、発光素子10と絶縁性光反射層13との接着強度が増す。
また、発光素子10と絶縁性光反射層13との間に半導体層10bの側面を覆うように透明樹脂15を充填すれば、半導体層10bの側面に塵などが付着することを防ぐことができる。このため、発光素子10の半導体層10bから出射した光が、半導体層10bの側面に付着した塵などにより反射されることなく半導体層10bの側面から出射し、光取り出し効率が良くなる。
このような透明樹脂15の材料としては、透光性シリコーンや透光性エポキシ、例えば、信越化学株式会社のLSP−8433や稲畑産業株式会社のEH1600−G2等を用いることができる。
[本発明の第3実施形態に係る発光装置3]
図3は、本発明の第3実施形態に係る発光装置の断面図である。
図3に示すように、本発明の第3実施形態に係る発光装置3は、発光素子10を封止する封止材16を備え、封止材16に蛍光体粒子が含有されている点で、本発明の第1実施形態に係る発光装置1と相違する。
本発明の第3実施形態に係る発光装置3によれば、蛍光体粒子を含有する封止材16で発光素子10が封止されるため、例えば発光素子10として青色光を発するLEDチップを用い、青色光を受けて黄色光を発する蛍光体粒子を封止材16に含有させることにより、発光素子10から出射された光を効率良く白色光に変換することができる。
封止材16は、絶縁性光反射層13や発光素子10との密着性が良好なものが好ましい。封止材16としては例えば透明樹脂を用いることができ、このような透明樹脂の材料としては、透光性シリコーンや透光性エポキシ、具体的には、信越化学株式会社のKJR−9022X−5やLPS−3419やLPS−5547、稲畑産業株式会社のEH1600−G2等が挙げられる。
[本発明の第4実施形態に係る発光装置4]
図4は、本発明の第4実施形態に係る発光装置の断面図である。
図4に示すように、本発明の第4実施形態に係る発光装置4は、発光素子10と絶縁性光反射層13との間に空気17が充填されている点で、本発明の第3実施形態に係る発光装置3と相違する。
蛍光体粒子を含有する封止材16の未硬化時の粘度を高くすれば(例えば、5万[mPa・s]以上)、発光素子10と絶縁性光反射層13との間に空気17が容易に充填されるため、本発明の第4実施形態に係る発光装置4の構成は、容易に実現することができる。
発光素子10と絶縁性光反射層13との間に空気17を充填することにより、発光素子10から出た光が再び発光素子内に戻ってしまうことを防止することができる。また、樹脂等を充填しない分、部材費を低減することができる。
発光素子10と絶縁性光反射層13との間には、上述した透明樹脂15と空気17が混在するように設けられてもよい。これにより、発光素子10と絶縁性光反射層13との接着強度が適度に増し、透明樹脂15等を完全に充填しない分、部材費を低減できる。
[本発明の第5実施形態に係る発光装置5]
図5は、本発明の第5実施形態に係る発光装置の断面図である。
図5に示すように、本発明の第5実施形態に係る発光装置5は、発光素子10と絶縁性光反射層13との間隔d3が封止材16に含有されている蛍光体粒子の直径より小さく、絶縁性光反射層13との間に蛍光体粒子を含有しない封止材18が充填されている点で、本発明の第3実施形態に係る発光装置3と相違する。
発光素子と絶縁性光反射層との間隔d3を封止材16に含有されている蛍光体粒子の直径より小さくすれば(例えば、直径が20μmである蛍光体粒子を用いる場合に、発光素子と絶縁性光反射層との間隔d3を10μmとする)、蛍光体粒子を含有する封止材の未硬化時の粘度を低くすることによって(例えば、5千[mPa・s]以下)、発光素子10と絶縁性光反射層13との間に蛍光体粒子を含有しない封止材18を充填することができる。
発光素子10と絶縁性光反射層13との間に蛍光体粒子を含有しない封止材18を充填すれば、発光素子10と絶縁性光反射層13との接着強度が増す。
また、発光素子10の半導体層10bの側面に蛍光体粒子が存在すると、発光素子10の半導体層10bの側面から出射した光が蛍光体粒子で反射されて発光素子10の半導体層10bに戻ってしまう場合がある。
発光素子10と絶縁性光反射層13との間に半導体層10bの側面を覆うように蛍光体粒子を含有しない封止材18を充填すれば、発光素子10の半導体層10bの側面には、蛍光体粒子を含有しない封止材18が存在することとなる。このため、発光素子10の半導体層10bの側面から出射する光が、発光素子10の半導体層10bの側面に存在する蛍光体粒子で反射され半導体層10bに戻ってしまうことを防止することができる。
また、発光素子10と絶縁性光反射層13との間に封止材18を充填することにより、発光素子10の半導体層10bの下面から出射する光が、再び半導体層10bに戻ってしまうことを防止することができる。
[単品、パッケージ]
以上、本発明の第1実施形態〜第5実施形態に係る発光装置1〜5について説明したが、各実施形態に係る発光装置は、個々に独立した単品として用いることもできるし、一つの基板の上に2つ以上の発光装置が実装されたパッケージとして用いることもできる。
パッケージとして用いる場合、各発光装置を配置する間隔は、50μm〜3000μmとすることが好ましい。
また、パッケージとして用いる場合、絶縁性光反射層13と封止材16は、発光装置ごとに個別に形成することもできるが、2つ以上の発光装置に対して一体に形成することもできる。
[発光装置を作製する方法の一例]
次に、本発明の第1実施形態に係る発光装置を一例として取り上げて、本発明の実施形態に係る発光装置を作製する方法の一例について説明する。
図6は、本発明の第1実施形態に係る発光装置を作製する方法の一例について説明する図である。
図6に示すように、本発明の第1実施形態に係る発光装置1は、例えば次のようにして作製することができる。
(1)まず、バンプ14よりも厚みが薄い絶縁性光反射層13を基板11にスクリーン印刷し、硬化させる。
(2)絶縁性光反射層13を硬化した後、複数の発光素子10を所定の位置に配置する。
(3)次に、圧接接合や超音波接合などによって、発光素子10のバンプ14で絶縁性光反射層13を突き破り、発光素子10のバンプ14を絶縁性光反射層13に貫通させて配線12に接続する。
(4)そして、封止材16で発光素子10を封止する。
なお、各発光装置をパッケージではなく単品として用いる場合は、封止された複数の発光素子10を個々に切断する。
以上説明した作製方法によれば、発光素子10のバンプ14で絶縁性光反射層13を突き破ることにより、発光素子10のバンプ14を絶縁性光反射層13に貫通させて、本発明の第1実施形態に係る発光装置1を容易に作製することができる。
以上、各実施形態について説明したが、本発明はこれらに限定されるものではなく、その趣旨を変えない範囲でさまざまに実施することができる。
例えば、各図面において、発光素子10の半導体層10bの幅が、半導体層10bを成長させるための成長用基板10aの幅よりも小さい場合の例を示しているが、本発明は、これに限定されるものではない。例えば、発光素子10の半導体層10bの幅と、成長用基板10aの幅とを等しくするように変形してもよい。
次に、本発明の第5実施形態に係る発光装置を一例として取り上げて、パッケージとしての本発明の実施形態に係る発光装置を実施例1として説明する。
図7は、本発明の実施例1に係るパッケージを説明する図であり、(a)は平面図、(b)は側面図、(c)は配線を強調して示す図である。
図7に示すように、本発明の実施例1のパッケージは、9個の発光装置を連ねたものである。
この場合、発光素子は3並列の3直列接続となる。絶縁性光反射層13と封止材16は、9個の発光装置に対して一体に形成している。
次に、本発明の第5実施形態に係る発光装置を一例として取り上げて、単品としての本発明の実施形態に係る発光装置を実施例2として説明する。
図8は、本発明の実施例2に係る発光装置を説明する図であり、(a)は平面図、(b)は側面図、(c)は配線を強調して示す図、(d)は切断の様子を示す図である。図8(d)中の破線は、切断線を示す。
図8に示すように、本発明の実施例2に係る発光装置は、9個の発光装置が連なった基板を切断線に沿って個々に切断して得られる。
以上、本発明の実施形態及び実施例について説明したが、これらの説明は、本発明の一例に関するものであり、本発明は、これらの説明によって何ら限定されるものではない。
1 発光装置
2 発光装置
3 発光装置
4 発光装置
5 発光装置
10 発光素子
10a 半導体層を成長させるための成長用基板
10b 半導体層
11 基板
12 配線
13 絶縁性光反射層
14 バンプ
15 透明樹脂
16 封止材
17 空気
18 蛍光体粒子を含有しない封止材
30 発光素子
30a 半導体層を成長させるための成長用基板
30b 半導体層
31 アンダーフィル
d1 絶縁性光反射層の厚み
d2 バンプの高さ
d3 発光素子と絶縁性光反射層との間隔

Claims (5)

  1. 配線が形成された基板に発光素子がフリップチップ実装された発光装置であって、
    前記配線上に形成された絶縁性光反射層と、
    前記絶縁性光反射層を貫通して前記配線に達し、前記配線と前記発光素子とを接続するバンプと、
    前記発光素子を封止する透明樹脂と、を備え、
    前記透明樹脂は、前記発光素子の周囲においては蛍光体粒子を含有、前記発光素子と前記絶縁性光反射層との間においては蛍光体粒子を含有せず、
    前記蛍光体粒子の直径は、前記発光素子と前記絶縁性光反射層との間隔よりも大きい、
    ことを特徴とする発光装置。
  2. 前記絶縁性光反射層が前記発光素子に接触していないことを特徴とする請求項に記載の発光装置。
  3. 配線上に絶縁性光反射層が設けられた基板に発光素子とバンプを配置し、
    前記バンプで前記絶縁性光反射層を突き破り、前記絶縁性光反射層を貫通するバンプで前記発光素子を前記基板に形成された配線に接続し、
    前記発光素子と前記絶縁性光反射層との間隔よりも直径の大きい蛍光体粒子を有する透明樹脂で前記配線に接続された発光素子を封止する、
    ことを特徴とする発光装置の製造方法。
  4. 前記透明樹脂の未硬化時の粘度は、約5千[mPa・s]以下であることを特徴とする請求項に記載の発光装置の製造方法。
  5. 前記絶縁性光反射層が前記発光素子に接触していないことを特徴とする請求項3または4に記載の発光装置の製造方法。
JP2011012420A 2011-01-24 2011-01-24 発光装置及び発光装置の製造方法 Active JP5772007B2 (ja)

Priority Applications (1)

Application Number Priority Date Filing Date Title
JP2011012420A JP5772007B2 (ja) 2011-01-24 2011-01-24 発光装置及び発光装置の製造方法

Applications Claiming Priority (1)

Application Number Priority Date Filing Date Title
JP2011012420A JP5772007B2 (ja) 2011-01-24 2011-01-24 発光装置及び発光装置の製造方法

Publications (3)

Publication Number Publication Date
JP2012156214A JP2012156214A (ja) 2012-08-16
JP2012156214A5 JP2012156214A5 (ja) 2014-03-06
JP5772007B2 true JP5772007B2 (ja) 2015-09-02

Family

ID=46837673

Family Applications (1)

Application Number Title Priority Date Filing Date
JP2011012420A Active JP5772007B2 (ja) 2011-01-24 2011-01-24 発光装置及び発光装置の製造方法

Country Status (1)

Country Link
JP (1) JP5772007B2 (ja)

Families Citing this family (4)

* Cited by examiner, † Cited by third party
Publication number Priority date Publication date Assignee Title
JP6116949B2 (ja) * 2013-03-14 2017-04-19 新光電気工業株式会社 発光素子搭載用の配線基板、発光装置、発光素子搭載用の配線基板の製造方法及び発光装置の製造方法
JP6255747B2 (ja) * 2013-07-01 2018-01-10 日亜化学工業株式会社 発光装置
US9812625B2 (en) 2014-02-18 2017-11-07 Nichia Corporation Light-emitting device having resin member with conductive particles
NL2015982B1 (en) 2015-12-17 2017-07-05 Cati B V An electro-optical assembly.

Family Cites Families (10)

* Cited by examiner, † Cited by third party
Publication number Priority date Publication date Assignee Title
JP4114364B2 (ja) * 2001-11-08 2008-07-09 日亜化学工業株式会社 発光装置およびその製造方法
US7858408B2 (en) * 2004-11-15 2010-12-28 Koninklijke Philips Electronics N.V. LED with phosphor tile and overmolded phosphor in lens
JP4961887B2 (ja) * 2005-09-07 2012-06-27 豊田合成株式会社 固体素子デバイス
JP2007242820A (ja) * 2006-03-08 2007-09-20 Asahi Kasei Corp 発光デバイス及び発光デバイスモジュール
JP5053688B2 (ja) * 2007-04-09 2012-10-17 株式会社ジャパンディスプレイイースト 光源モジュール,光源ユニット、及び液晶表示装置,照明装置
JP4406447B2 (ja) * 2007-05-31 2010-01-27 株式会社東芝 光モジュールおよびその製造方法
TW200906886A (en) * 2007-06-15 2009-02-16 Sekisui Chemical Co Ltd Sealing agent for optical semiconductor element, and optical semiconductor element
JP2009135484A (ja) * 2007-11-09 2009-06-18 Hitachi Chem Co Ltd 光半導体装置
JP2010199105A (ja) * 2009-02-23 2010-09-09 Stanley Electric Co Ltd 発光装置およびその製造方法
JP5144578B2 (ja) * 2009-03-31 2013-02-13 豊田合成株式会社 発光装置の製造方法

Also Published As

Publication number Publication date
JP2012156214A (ja) 2012-08-16

Similar Documents

Publication Publication Date Title
JP6398222B2 (ja) 発光装置およびその製造方法
JP6551478B2 (ja) 光半導体装置
JP6107024B2 (ja) 発光装置およびその製造方法
JP2002033517A (ja) 発光素子とその製造方法
CN104733598B (zh) 半导体发光结构及半导体封装结构
JP6428249B2 (ja) 発光装置
US20150228852A1 (en) Light emitting device package
CN108735878B (zh) 发光装置及其制造方法
JP5772007B2 (ja) 発光装置及び発光装置の製造方法
JP2017069416A (ja) 発光装置
JP2015228397A (ja) 発光装置の製造方法
JP2017022305A (ja) 発光装置の製造方法
CN104487760B (zh) 多个发光装置的连结体
US9991237B2 (en) Light emitting device
CN103887296A (zh) 发光装置及其制造方法
CN103872207A (zh) 一种强光led光源模块及其生产工艺
CN102339941A (zh) 发光二极管封装结构及发光二极管模组
JP6349910B2 (ja) 発光装置及びその製造方法
CN204538029U (zh) 一种倒装led芯片
JP6589259B2 (ja) 発光素子及びこれを用いた発光装置
JP6186691B2 (ja) 発光装置の梱包方法および梱包済み発光装置
CN102456803A (zh) 发光二极管封装结构
TWI565101B (zh) 發光二極體封裝體及其製造方法
JP6237316B2 (ja) 発光装置の製造方法および発光装置
JP2010147040A (ja) 半導体発光装置及びその製造方法

Legal Events

Date Code Title Description
A521 Request for written amendment filed

Free format text: JAPANESE INTERMEDIATE CODE: A523

Effective date: 20140120

A621 Written request for application examination

Free format text: JAPANESE INTERMEDIATE CODE: A621

Effective date: 20140120

A977 Report on retrieval

Free format text: JAPANESE INTERMEDIATE CODE: A971007

Effective date: 20140416

A131 Notification of reasons for refusal

Free format text: JAPANESE INTERMEDIATE CODE: A131

Effective date: 20140422

A521 Request for written amendment filed

Free format text: JAPANESE INTERMEDIATE CODE: A523

Effective date: 20140617

A131 Notification of reasons for refusal

Free format text: JAPANESE INTERMEDIATE CODE: A131

Effective date: 20141104

A521 Request for written amendment filed

Free format text: JAPANESE INTERMEDIATE CODE: A523

Effective date: 20141211

TRDD Decision of grant or rejection written
A01 Written decision to grant a patent or to grant a registration (utility model)

Free format text: JAPANESE INTERMEDIATE CODE: A01

Effective date: 20150602

A61 First payment of annual fees (during grant procedure)

Free format text: JAPANESE INTERMEDIATE CODE: A61

Effective date: 20150615

R150 Certificate of patent or registration of utility model

Ref document number: 5772007

Country of ref document: JP

Free format text: JAPANESE INTERMEDIATE CODE: R150

R250 Receipt of annual fees

Free format text: JAPANESE INTERMEDIATE CODE: R250

R250 Receipt of annual fees

Free format text: JAPANESE INTERMEDIATE CODE: R250

R250 Receipt of annual fees

Free format text: JAPANESE INTERMEDIATE CODE: R250

R250 Receipt of annual fees

Free format text: JAPANESE INTERMEDIATE CODE: R250

R250 Receipt of annual fees

Free format text: JAPANESE INTERMEDIATE CODE: R250

R250 Receipt of annual fees

Free format text: JAPANESE INTERMEDIATE CODE: R250

R250 Receipt of annual fees

Free format text: JAPANESE INTERMEDIATE CODE: R250