JP5711552B2 - エネルギー分析器の軸合わせ方法及び装置 - Google Patents

エネルギー分析器の軸合わせ方法及び装置 Download PDF

Info

Publication number
JP5711552B2
JP5711552B2 JP2011017142A JP2011017142A JP5711552B2 JP 5711552 B2 JP5711552 B2 JP 5711552B2 JP 2011017142 A JP2011017142 A JP 2011017142A JP 2011017142 A JP2011017142 A JP 2011017142A JP 5711552 B2 JP5711552 B2 JP 5711552B2
Authority
JP
Japan
Prior art keywords
ispectr
sample
energy
intensity
peak position
Prior art date
Legal status (The legal status is an assumption and is not a legal conclusion. Google has not performed a legal analysis and makes no representation as to the accuracy of the status listed.)
Expired - Fee Related
Application number
JP2011017142A
Other languages
English (en)
Other versions
JP2012160261A (ja
Inventor
敬典 後藤
敬典 後藤
山内 幸彦
幸彦 山内
黒河 明
明 黒河
繁夫 田沼
繁夫 田沼
Current Assignee (The listed assignees may be inaccurate. Google has not performed a legal analysis and makes no representation or warranty as to the accuracy of the list.)
National Institute of Advanced Industrial Science and Technology AIST
National Institute for Materials Science
Original Assignee
National Institute of Advanced Industrial Science and Technology AIST
National Institute for Materials Science
Priority date (The priority date is an assumption and is not a legal conclusion. Google has not performed a legal analysis and makes no representation as to the accuracy of the date listed.)
Filing date
Publication date
Application filed by National Institute of Advanced Industrial Science and Technology AIST, National Institute for Materials Science filed Critical National Institute of Advanced Industrial Science and Technology AIST
Priority to JP2011017142A priority Critical patent/JP5711552B2/ja
Publication of JP2012160261A publication Critical patent/JP2012160261A/ja
Application granted granted Critical
Publication of JP5711552B2 publication Critical patent/JP5711552B2/ja
Expired - Fee Related legal-status Critical Current
Anticipated expiration legal-status Critical

Links

Images

Landscapes

  • Electron Sources, Ion Sources (AREA)
  • Electron Tubes For Measurement (AREA)

Description

本発明は、エネルギー偏向器を備え、電子ビーム等の1次プローブビーム(電子ビーム、イオンビーム、光子ビーム、以下1次ビーム;電子ビームを例に挙げる)を試料に照射し発生する2次電子を検出することにより試料の観察を行うエネルギー分析器の軸と1次ビームの軸とを3次元的に軸合わせするための方法及び装置に関するものである。
従来より、エネルギー分析器を用い、試料に電子ビーム等の1次ビームを照射し、発生する2次電子を検出することにより試料の表面状態等を分析することが行われている(特許文献1等)。エネルギー分析器(以下、分析器とも称する)を正しい状態で使うためには、試料に照射する1次ビームの軸と分析器の軸が試料上で合致していなければ最適な結果は得られない。分析者は、設計通りの性能が得られるように、両者の軸合わせを行おうとするが、通常、この軸合わせの作業は訓練と経験を積んだ者でも日常的に容易に実現できないのが実情である。十分に軸合わせをしたつもりでも試料を変えると、そのつど設定条件は最適値からはずれているということは日常普通に経験している。従来、最適の軸合わせを行うには、よく整備された分析器を十分な暖気運転の後、よく定義された試料を使って初めて可能であった。
従来の最適化は、1次ビームと試料を3次元的に動かして信号強度が最大となる条件を求めることで行っていた。試料が均一ならばこの手法で特に大きな誤りは生じないが、試料が不均一で最適値の近傍に大きな信号強度を示す条件が存在すると、その点を最適としてしまう。また、最適点が見つからないときは、過去の条件に照らして統計的に妥当と思われる位置を設定しているのが現状であった。
特開平6−242032号公報
本発明は、以上のような従来技術の実情に鑑みてなされたものであり、軸合わせの作業に未習熟な者でも、容易にかつ精度良くエネルギー分析器の軸合わせを行うことができる技術を提供することを課題とする。
本発明は、上記課題を解決するため、エネルギー偏向器を備え、1次ビームを試料に照射し発生する2次電子を検出することにより試料の観察を行うエネルギー分析器の軸と1次ビームの軸とを3次元的に軸合わせするための方法であって、試料を3次元的(x方向、y方向、z方向)に移動可能な試料ステージに載置し、エネルギー偏向器の直前にスリットを備えた2次電子捕集器を設け、エネルギー偏向器の直前に設けた2次電子捕集器のスリットから特定の信号電子を通過させ、エネルギー偏向器を通して出射した特定の信号電子の前記スペクトル強度Ispectrを検出するとともに、2次電子捕集器により2次電子を捕集し、2次電子強度Isを検出し、特定の信号電子のスペクトル強度Ispectrと2次電子の強度との比Ispectr/Isを算出し、x−y平面で1次ビームを移動させ、前記の算出法によりx−y平面における位置に対する強度比Ispectr/Isの曲線を得て、ピーク位置を求めるとともに、試料をz方向に移動させ、前記の算出法によりz方向の位置に対する強度比Ispectr/Isの曲線を得て、ピーク位置を求め、x−y平面における前記ピーク位置とz方向における前記ピーク位置を最適点とすることを特徴とするエネルギー分析器の軸合わせ方法を提供する。
また、本発明は、エネルギー偏向器を備え、1次ビームを試料に照射し発生する2次電子を検出することにより試料の観察を行うエネルギー分析器の軸と1次ビームの軸とを3次元的に軸合わせするための装置であって、試料を3次元的(x方向、y方向、z方向)に移動可能に載置する試料ステージと、エネルギー偏向器の直前に設けられたスリットを備えた2次電子捕集器と、エネルギー偏向器の直前に設けた2次電子捕集器のスリットから特定の信号電子を通過させ、エネルギー偏向器を通して出射した特定の信号電子のスペクトル強度Ispectrを検出する検出器と、検出器で検出した特定の信号電子のスペクトル強度Ispectrと2次電子捕集器により捕集して得られた2次電子スペクトル強度Isとの比Ispectr/Isを算出する割り算器と、x−y平面で1次ビームを移動させて得られ、前記割り算器で算出された、x−y平面における位置に対する強度比Ispectr/Isの曲線からピーク位置を求めるとともに、試料をz方向に移動させて得られ、前記割り算器で算出された、z方向の位置に対する強度比Ispectr/Isの曲線からピーク位置を求める、x−y平面における前記ピーク位置とz方向における前記ピーク位置を最適化位置として演算する演算手段とを備えることを特徴とするエネルギー分析器の軸合わせ装置を提供する。
本発明によれば、前記技術的手法ないし技術的手段を採用したので、軸合わせの作業に訓練と経験を積んだ者でなくとも、容易にかつ精度良くエネルギー分析器の軸合わせを行うことが可能となる。
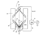
本発明による軸合わせの原理を模式的に示した説明図である。 実際に軸合わせの最適化を行うために用いた同軸円筒鏡型エネルギー分析器(CMA)を模式的に示した説明図である。 軸合わせにおけるx−y方向(1次ビームの偏向器)の最適化のためのx−y方向位置に対するスペクトル強度比Ispectr/Isの曲線の例である。 軸合わせにおけるz方向の最適化のためのz方向位置に対するスペクトル強度比Ispectr/Isの曲線の例である。
以下、本発明の実施形態について詳細に説明する。
本発明は、エネルギー偏向器を備えたエネルギー分析器を正しい状態で使用するため、電子ビーム等の1次ビームが試料に入射し、それによって試料から放射される特定の信号電子(オージェ電子、背面散乱反射電子、背面散乱非弾性電子、エネルギー損失電子等)と2次電子(1次電子(プローブ)の励起(衝撃・入射等)により、試料より放射された全ての電子)の強度比を取ってこれが最大強度になるように最適化して3次元的に軸を合わせようとするものである。この手法によれば、たとえ1次電子ビームが時間的に揺らいでいても強度比は一定であるので安定した最適化が可能になる。この比を取るということは一種の規格化(Normalization)である。
図1は、本発明による軸合わせの原理を模式的に示した説明図である。図中1は90度偏向型エネルギー分析器であり、エネルギー偏向器2を備えている。試料3はx方向、y方向、z方向の3次元方向に移動可能な試料ステージの上に載置されている。エネルギー偏向器2の直前にはスリット4が形成された2次電子捕集器5が配置されている。6は1次電子ビーム(x−y平面上に移動可能)、7は上記した特定の信号電子、8は2次電子である。エネルギー偏向器2の出口にはスリット9が設けられている。検出器10はスリット9を通過した集光された特定の信号電子7の信号強度を検出し、検出したスペクトル強度のデータIspectrを割り算器11に送る。割り算器11は2次電子捕集器5から捕集した電子の信号強度Isを受け取る。そして割り算器11は特定の信号電子7のスペクトル強度Ispectrと2次電子8のスペクトル強度Isの比Ispectr/Isを算出する。図中f0は1次電子ビーム6の試料3上の照射位置である。
本発明では、まず、x−y平面で1次ビーム6を移動させてx−y平面における位置に対するスペクトル強度比Ispectr/Isを計測し最適点(最大値)を求める。次に試料3をz方向に上下させてz方向における位置に対するスペクトル強度比Ispectr/Isを同様に求める。図2に示す同軸円筒鏡型エネルギー分析器(CMA)のように、特定の信号電子28が大きく広がる機種では、z軸方向の最適化ではエネルギー偏向電圧もスペクトルが最大となるように調整する必要がある。なおエネルギー偏向電圧の調整はx−y平面での最適化では狭い範囲なら通常特に必要ない。このようにして3次元的にそれぞれピーク位置となる1点を最適点とする。なお計測の順番は特に問わないが、ここで述べた順序が実際的である。この最適点の算出は例えばパーソナルコンピュータ等を用いて自動的に行うことができる。
次に、実際にエネルギー分析器の軸合わせを行った例について述べる。ここでは、図2に示す同軸円筒鏡型エネルギー分析器(CMA)21を用いた。このCMA21は内筒と外筒の2重の筒で形成されるエネルギー偏向器22を備える。エネルギー偏向器22には入射スリット23と出射スリット24が設けられている。試料25は、図1の場合と同様にx方向、y方向、z方向の3次元方向に移動可能な試料ステージの上に載置されている。エネルギー偏向器22の直前には入射スリット23が形成された2次電子捕集器26が配置されている。27は1次電子ビーム、28は上記した特定の信号電子、29は2次電子である。エネルギー偏向器22の出口には検出器30が配置され、この検出器30は出射スリット24を通過した集光された特定の信号電子28のスペクトル強度を検出し、検出したスペクトル強度のデータIspectrを割り算器31に送る。割り算器31は2次電子捕集器26から捕集した電子のスペクトル強度Isを受け取る。そして割り算器31は特定の信号電子28のスペクトル強度Ispectrと2次電子29の信号強度Isとの比Ispectr/Isを算出する。
この同軸円筒鏡型エネルギー分析器(CMA)21の動作は、基本的に図1に示す場合と同様である。すなわち、検出器30で検出した特定の信号電子28のスペクトル強度Ispectrと2次電子捕集器26により2次電子29を捕集して得られた2次電子強度Isとの比Ispectr/Isを割り算器31で求める。そしてx−y平面で1次ビーム27を移動させて得られ、割り算器31で算出された、x−y平面における位置に対するスペクトル強度比Ispectr/Isの曲線からピーク位置を求めるとともに、試料23をz方向に移動させて得られ、割り算器31で算出された、z方向の位置に対するスペクトル強度比Ispectr/Isの曲線からピーク位置を求める、図示しないパーソナルコンピュータ等の演算手段により、x−y平面における前記ピーク位置とz方向における前記ピーク位置で定まる1点を最適点として特定する。
この同軸円筒鏡型エネルギー分析器(CMA)21を用い、表面組成にむらのある清浄化してないAl(111)について最適化を行った。1次電子ビーム27の加速電圧は2.5kV、電流は約1μAとした。
図3にエネルギー偏向器22の最適化、すなわち1次ビーム27のx−y面での最適化を行うための試料位置とスペクトル強度比との関係をグラフで示す。スペクトル強度比Ispectr/Isのピーク位置が最適点である。
また、図4に試料高さの最適化、すなわち試料25のz方向での最適化を行うための試料位置とスペクトル強度比との関係をグラフで示す。スペクトル強度比Ispectr/Isのピーク位置が最適点である。
以上で求めたx−y面での最適点とz方向での最適点のデータに基づき、3次元的な最適点が1点だけ特定され、最適化された軸合わせを行うことができた。
この実験で使用した割り算器31単独の実験では特定の信号電子28と2次電子29の狭い範囲、たとえば通常経験する10%の変動に対して割り算器31の出力(両者の比)は0.01%の変動に収まっており、大幅に性能が改善されていることがわかった。
以上、本発明の実施形態を90度偏向型エネルギー分析器と同軸円筒鏡型エネルギー分析器(CMA)により説明してきたが、180度偏向型エネルギー分析器等のその他のタイプのエネルギー分析器に対しても本発明は適用可能である。
また、上記実施形態では1次ビームとして電子ビームを用いたが、本発明においては光、X線、やイオン等のビーム線を用いることも可能である。
1、21 エネルギー分析器
2、22 エネルギー偏向器
3、25 試料
4、9、23、24 スリット
5、26 2次電子捕集器
6、27 1次電子ビーム
7、28 特定の信号電子
8、29 2次電子
10、30 検出器
11、31 割り算器

Claims (2)

  1. エネルギー偏向器を備え、1次ビームを試料に照射し発生する2次電子を検出することにより試料の観察を行うエネルギー分析器の軸と1次ビームの軸とを3次元的に軸合わせするための方法であって、
    試料を3次元的(x方向、y方向、z方向)に移動可能な試料ステージに載置し、
    エネルギー偏向器の直前にスリットを備えた2次電子捕集器を設け、
    エネルギー偏向器の直前に設けた2次電子捕集器のスリットから特定の信号電子を通過させ、エネルギー偏向器を通して出射した特定の信号電子の前記スペクトル強度Ispectrを検出するとともに、2次電子捕集器により2次電子を捕集し、2次電子強度Isを検出し、特定の信号電子のスペクトル強度Ispectrと2次電子の強度との比Ispectr/Isを算出し、x−y平面で1次ビームを移動させ、前記の算出法によりx−y平面における位置に対する強度比Ispectr/Isの曲線を得て、ピーク位置を求めるとともに、試料をz方向に移動させ、前記の算出法によりz方向の位置に対する強度比Ispectr/Isの曲線を得て、ピーク位置を求め、
    x−y平面における前記ピーク位置とz方向における前記ピーク位置を最適点とすることを特徴とするエネルギー分析器の軸合わせ方法。
  2. エネルギー偏向器を備え、1次ビームを試料に照射し発生する2次電子を検出することにより試料の観察を行うエネルギー分析器の軸と1次ビームの軸とを3次元的に軸合わせするための装置であって、
    試料を3次元的(x方向、y方向、z方向)に移動可能に載置する試料ステージと、
    エネルギー偏向器の直前に設けられたスリットを備えた2次電子捕集器と、
    エネルギー偏向器の直前に設けた2次電子捕集器のスリットから特定の信号電子を通過させ、エネルギー偏向器を通して出射した特定の信号電子のスペクトル強度Ispectrを検出する検出器と、
    検出器で検出した特定の信号電子のスペクトル強度Ispectrと2次電子捕集器により捕集して得られた2次電子スペクトル強度Isとの比Ispectr/Isを算出する割り算器と、
    x−y平面で1次ビームを移動させて得られ、前記割り算器で算出された、x−y平面における位置に対する強度比Ispectr/Isの曲線からピーク位置を求めるとともに、試料をz方向に移動させて得られ、前記割り算器で算出された、z方向の位置に対する強度比Ispectr/Isの曲線からピーク位置を求める、x−y平面における前記ピーク位置とz方向における前記ピーク位置を最適化位置として演算する演算手段とを備えることを特徴とするエネルギー分析器の軸合わせ装置。
JP2011017142A 2011-01-28 2011-01-28 エネルギー分析器の軸合わせ方法及び装置 Expired - Fee Related JP5711552B2 (ja)

Priority Applications (1)

Application Number Priority Date Filing Date Title
JP2011017142A JP5711552B2 (ja) 2011-01-28 2011-01-28 エネルギー分析器の軸合わせ方法及び装置

Applications Claiming Priority (1)

Application Number Priority Date Filing Date Title
JP2011017142A JP5711552B2 (ja) 2011-01-28 2011-01-28 エネルギー分析器の軸合わせ方法及び装置

Publications (2)

Publication Number Publication Date
JP2012160261A JP2012160261A (ja) 2012-08-23
JP5711552B2 true JP5711552B2 (ja) 2015-05-07

Family

ID=46840652

Family Applications (1)

Application Number Title Priority Date Filing Date
JP2011017142A Expired - Fee Related JP5711552B2 (ja) 2011-01-28 2011-01-28 エネルギー分析器の軸合わせ方法及び装置

Country Status (1)

Country Link
JP (1) JP5711552B2 (ja)

Family Cites Families (5)

* Cited by examiner, † Cited by third party
Publication number Priority date Publication date Assignee Title
JPS53138790A (en) * 1977-05-10 1978-12-04 Nippon Steel Corp Method and device for full electronic monitor
JPS5831702B2 (ja) * 1979-02-28 1983-07-07 日本電子株式会社 オ−ジエ電子分光装置
JP2002181747A (ja) * 2000-12-08 2002-06-26 Canon Inc 光電子分光分析装置および光電子分光分析方法
JP2002214170A (ja) * 2001-01-22 2002-07-31 Shimadzu Corp 光電子分光装置
JP3741012B2 (ja) * 2001-09-17 2006-02-01 株式会社日立製作所 電子線分析方法

Also Published As

Publication number Publication date
JP2012160261A (ja) 2012-08-23

Similar Documents

Publication Publication Date Title
Kaur et al. Electron beam characterisation methods and devices for welding equipment
KR20150143339A (ko) 형광 x 선 분석 장치
JP2016057294A5 (ja)
Prasad et al. Calibration of Thomson parabola—MCP assembly for multi-MeV ion spectroscopy
CN106093094A (zh) 一种介质材料的二次电子能谱测量装置及测量方法
CN103728282B (zh) 一种快速测定材料中夹杂物含量的仪器分析方法
CN112255149B (zh) 松散颗粒堆积物粒度尺寸的检测方法、系统及存储介质
JP5711552B2 (ja) エネルギー分析器の軸合わせ方法及び装置
Matsuyama et al. Automation of multi-modal beam focusing of an MeV sub-microprobe for ion beam analysis
CN110320220B (zh) 分析材料短程有序结构和长程有序结构的装置和方法
Androić et al. Measurement of the Parity-Violating Asymmetry in Inclusive Electroproduction<? format?> of π-near the Δ 0 Resonance
CN109916510A (zh) 基于飞行时间谱真空紫外光横向分布在线测量装置及方法
Wang et al. High resolution laser Thomson scattering system with automatic data analysis software platform for diagnosis of the low-temperature plasmas
Hofmann et al. Laser based stripping system for measurement of the transverse emittance of H-beams at the CERN LINAC4
CN109916507B (zh) 基于离子成像的真空紫外光横向分布在线测量装置及方法
Palomino et al. Performance of the second Deep Inelastic Neutron Scatering spectrometer at the Bariloche electron LINAC
Yoshikawa et al. Measuring electron temperature in the tandem mirror GAMMA 10 plasma using a Yttrium-Aluminum-Garnet Thomson scattering system
Windelius et al. A collinear angle-resolved photoelectron spectrometer
Cheong et al. A parallel radial mirror energy analyzer attachment for the scanning electron microscope
Feng et al. Progress of Thomson scattering diagnostic on HL-2A tokamak
Liu et al. Improvement in data processing of Thomson scattering diagnostic on HL-2A tokamak
US20080061223A1 (en) Universal X-ray fluorescence calibration technique for wire surface analysis
Scandale et al. Double-crystal setup measurements at the CERN SPS
Mießner et al. An ionization profile monitor for the determination of the FLASH and PITZ beam parameter
JP2019153537A5 (ja)

Legal Events

Date Code Title Description
A621 Written request for application examination

Free format text: JAPANESE INTERMEDIATE CODE: A621

Effective date: 20131218

A521 Request for written amendment filed

Free format text: JAPANESE INTERMEDIATE CODE: A523

Effective date: 20131218

A977 Report on retrieval

Free format text: JAPANESE INTERMEDIATE CODE: A971007

Effective date: 20140725

A131 Notification of reasons for refusal

Free format text: JAPANESE INTERMEDIATE CODE: A131

Effective date: 20140805

A521 Request for written amendment filed

Free format text: JAPANESE INTERMEDIATE CODE: A523

Effective date: 20141006

TRDD Decision of grant or rejection written
A01 Written decision to grant a patent or to grant a registration (utility model)

Free format text: JAPANESE INTERMEDIATE CODE: A01

Effective date: 20150210

A61 First payment of annual fees (during grant procedure)

Free format text: JAPANESE INTERMEDIATE CODE: A61

Effective date: 20150306

R150 Certificate of patent or registration of utility model

Ref document number: 5711552

Country of ref document: JP

Free format text: JAPANESE INTERMEDIATE CODE: R150

S533 Written request for registration of change of name

Free format text: JAPANESE INTERMEDIATE CODE: R313533

R350 Written notification of registration of transfer

Free format text: JAPANESE INTERMEDIATE CODE: R350

S533 Written request for registration of change of name

Free format text: JAPANESE INTERMEDIATE CODE: R313533

R350 Written notification of registration of transfer

Free format text: JAPANESE INTERMEDIATE CODE: R350

R250 Receipt of annual fees

Free format text: JAPANESE INTERMEDIATE CODE: R250

R250 Receipt of annual fees

Free format text: JAPANESE INTERMEDIATE CODE: R250

R250 Receipt of annual fees

Free format text: JAPANESE INTERMEDIATE CODE: R250

LAPS Cancellation because of no payment of annual fees