JP5649587B2 - ストラットマウント - Google Patents

ストラットマウント Download PDF

Info

Publication number
JP5649587B2
JP5649587B2 JP2011545984A JP2011545984A JP5649587B2 JP 5649587 B2 JP5649587 B2 JP 5649587B2 JP 2011545984 A JP2011545984 A JP 2011545984A JP 2011545984 A JP2011545984 A JP 2011545984A JP 5649587 B2 JP5649587 B2 JP 5649587B2
Authority
JP
Japan
Prior art keywords
outer cylinder
vehicle body
side panel
body side
strut mount
Prior art date
Legal status (The legal status is an assumption and is not a legal conclusion. Google has not performed a legal analysis and makes no representation as to the accuracy of the status listed.)
Active
Application number
JP2011545984A
Other languages
English (en)
Other versions
JPWO2011074259A1 (ja
Inventor
井上 剛
剛 井上
Current Assignee (The listed assignees may be inaccurate. Google has not performed a legal analysis and makes no representation or warranty as to the accuracy of the list.)
Bridgestone Corp
Original Assignee
Bridgestone Corp
Priority date (The priority date is an assumption and is not a legal conclusion. Google has not performed a legal analysis and makes no representation as to the accuracy of the date listed.)
Filing date
Publication date
Application filed by Bridgestone Corp filed Critical Bridgestone Corp
Priority to JP2011545984A priority Critical patent/JP5649587B2/ja
Publication of JPWO2011074259A1 publication Critical patent/JPWO2011074259A1/ja
Application granted granted Critical
Publication of JP5649587B2 publication Critical patent/JP5649587B2/ja
Active legal-status Critical Current
Anticipated expiration legal-status Critical

Links

Images

Classifications

    • FMECHANICAL ENGINEERING; LIGHTING; HEATING; WEAPONS; BLASTING
    • F16ENGINEERING ELEMENTS AND UNITS; GENERAL MEASURES FOR PRODUCING AND MAINTAINING EFFECTIVE FUNCTIONING OF MACHINES OR INSTALLATIONS; THERMAL INSULATION IN GENERAL
    • F16FSPRINGS; SHOCK-ABSORBERS; MEANS FOR DAMPING VIBRATION
    • F16F9/00Springs, vibration-dampers, shock-absorbers, or similarly-constructed movement-dampers using a fluid or the equivalent as damping medium
    • F16F9/32Details
    • F16F9/54Arrangements for attachment
    • BPERFORMING OPERATIONS; TRANSPORTING
    • B60VEHICLES IN GENERAL
    • B60GVEHICLE SUSPENSION ARRANGEMENTS
    • B60G13/00Resilient suspensions characterised by arrangement, location or type of vibration dampers
    • B60G13/001Arrangements for attachment of dampers
    • B60G13/003Arrangements for attachment of dampers characterised by the mounting on the vehicle body or chassis of the damper unit
    • BPERFORMING OPERATIONS; TRANSPORTING
    • B60VEHICLES IN GENERAL
    • B60GVEHICLE SUSPENSION ARRANGEMENTS
    • B60G15/00Resilient suspensions characterised by arrangement, location or type of combined spring and vibration damper, e.g. telescopic type
    • B60G15/02Resilient suspensions characterised by arrangement, location or type of combined spring and vibration damper, e.g. telescopic type having mechanical spring
    • B60G15/06Resilient suspensions characterised by arrangement, location or type of combined spring and vibration damper, e.g. telescopic type having mechanical spring and fluid damper
    • B60G15/067Resilient suspensions characterised by arrangement, location or type of combined spring and vibration damper, e.g. telescopic type having mechanical spring and fluid damper characterised by the mounting on the vehicle body or chassis of the spring and damper unit
    • FMECHANICAL ENGINEERING; LIGHTING; HEATING; WEAPONS; BLASTING
    • F16ENGINEERING ELEMENTS AND UNITS; GENERAL MEASURES FOR PRODUCING AND MAINTAINING EFFECTIVE FUNCTIONING OF MACHINES OR INSTALLATIONS; THERMAL INSULATION IN GENERAL
    • F16FSPRINGS; SHOCK-ABSORBERS; MEANS FOR DAMPING VIBRATION
    • F16F1/00Springs
    • F16F1/36Springs made of rubber or other material having high internal friction, e.g. thermoplastic elastomers
    • F16F1/38Springs made of rubber or other material having high internal friction, e.g. thermoplastic elastomers with a sleeve of elastic material between a rigid outer sleeve and a rigid inner sleeve or pin, i.e. bushing-type
    • BPERFORMING OPERATIONS; TRANSPORTING
    • B60VEHICLES IN GENERAL
    • B60GVEHICLE SUSPENSION ARRANGEMENTS
    • B60G2204/00Indexing codes related to suspensions per se or to auxiliary parts
    • B60G2204/10Mounting of suspension elements
    • B60G2204/12Mounting of springs or dampers
    • B60G2204/128Damper mount on vehicle body or chassis
    • BPERFORMING OPERATIONS; TRANSPORTING
    • B60VEHICLES IN GENERAL
    • B60GVEHICLE SUSPENSION ARRANGEMENTS
    • B60G2204/00Indexing codes related to suspensions per se or to auxiliary parts
    • B60G2204/40Auxiliary suspension parts; Adjustment of suspensions
    • B60G2204/418Bearings, e.g. ball or roller bearings
    • BPERFORMING OPERATIONS; TRANSPORTING
    • B60VEHICLES IN GENERAL
    • B60GVEHICLE SUSPENSION ARRANGEMENTS
    • B60G2206/00Indexing codes related to the manufacturing of suspensions: constructional features, the materials used, procedures or tools
    • B60G2206/01Constructional features of suspension elements, e.g. arms, dampers, springs
    • B60G2206/013Constructional features of suspension elements, e.g. arms, dampers, springs with embedded inserts for material reinforcement
    • BPERFORMING OPERATIONS; TRANSPORTING
    • B60VEHICLES IN GENERAL
    • B60GVEHICLE SUSPENSION ARRANGEMENTS
    • B60G2206/00Indexing codes related to the manufacturing of suspensions: constructional features, the materials used, procedures or tools
    • B60G2206/01Constructional features of suspension elements, e.g. arms, dampers, springs
    • B60G2206/40Constructional features of dampers and/or springs
    • B60G2206/41Dampers
    • BPERFORMING OPERATIONS; TRANSPORTING
    • B60VEHICLES IN GENERAL
    • B60GVEHICLE SUSPENSION ARRANGEMENTS
    • B60G2206/00Indexing codes related to the manufacturing of suspensions: constructional features, the materials used, procedures or tools
    • B60G2206/01Constructional features of suspension elements, e.g. arms, dampers, springs
    • B60G2206/80Manufacturing procedures
    • B60G2206/82Joining
    • BPERFORMING OPERATIONS; TRANSPORTING
    • B60VEHICLES IN GENERAL
    • B60GVEHICLE SUSPENSION ARRANGEMENTS
    • B60G2206/00Indexing codes related to the manufacturing of suspensions: constructional features, the materials used, procedures or tools
    • B60G2206/01Constructional features of suspension elements, e.g. arms, dampers, springs
    • B60G2206/90Maintenance
    • B60G2206/91Assembly procedures

Landscapes

  • Engineering & Computer Science (AREA)
  • General Engineering & Computer Science (AREA)
  • Mechanical Engineering (AREA)
  • Vehicle Body Suspensions (AREA)
  • Fluid-Damping Devices (AREA)
  • Vibration Prevention Devices (AREA)
  • Springs (AREA)

Description

中心軸線の下方に向けて拡径するテーパ状をなす外筒と、外筒の内周側に配置した内筒と、該外筒と内筒とを連結するとともに、外筒の外周面および端部を被覆する弾性部材とを具えてなり、車輪側から延びるストラットロッドの上端部を、前記内筒の内部に貫通させ、底面に貫通孔を設けた倒立皿状形状の車体側パネルの内側に、前記外筒を嵌め合わせて使用に供されるストラットマウントに関し、ストラットマウントの、車体側パネルの内側への嵌合姿勢を適正かつ確実なものとすることによって、車両の走行時の安定性および乗り心地性を向上させる技術を提案するものである。
この種のストラットマウントとしては、特許文献1に記載されたものがあり、図8に縦断面図で示すこのストラットマウント51は、中心軸線の下方に向けて拡径するテーパ状をなす外筒52と、外筒52の内周側に配置した内筒53と、外筒52と内筒53とを連結するとともに、外筒52の外周面および端部を被覆する弾性部材54とを具えてなるものである。
かかるストラットマウント51は、内筒53の内部に、車輪側に配設した、図示しないショックアブソーバの一部をなすストラットロッド55の上端部55aを貫通させて配置するとともに、ストラットマウント51の外筒52を、底面に貫通孔56aを設けた倒立皿状形状の車体側パネル56の内側に嵌め合わせ、併せて、外輪郭寸法が前記貫通孔56aより大きいストッパ金具57に締付け固定し使用に供されて、車体と車輪との間で振動の伝達を抑制する懸架装置として機能する。
すなわち、このような懸架装置は、車両の走行時に路面から受ける、車輪側から車体側への入力の大部分を、コイルスプリング58およびショックアブソーバで吸収するとともに、コイルスプリング58およびショックアブソーバにより吸収できなかった入力部分をストラットマウント51で吸収し、また、車体側から車輪側への入力を、ストラットマウント51の弾性部材54の、主として剪断変形により吸収して、路面からの振動の、車体への伝達を十分に抑制し、それによって、車両の乗り心地性を向上させるものである。
特開2004−232824号公報
ところで、倒立皿状形状の車体側パネル56の内側に嵌め合わされる、テーパ状の外筒52を具える従来のこのストラットマウント51では、車体側パネル56の加工誤差、つまり、車体側パネル56を加工成形する上でやむを得ず生じることがある、たとえばテーパ側壁56bの傾斜角度等の加工誤差によっては、ストラットマウント51を、車体側パネル56とストラットロッド55との間に配設する際に、図9に、ストラットマウント51の、車体側パネル56への嵌合部分を拡大断面図で誇張して示すように、ストラットマウント51の弾性部材54が、それの、外筒53の上端部を被覆する部分54aでのみ、車体側パネル56の内側に接触することになって、弾性部材54の、外筒53の外周面を被覆する部分54bの下方側で、弾性部材54と、車体側パネル56のテーパ側壁56bの内周面とに隙間57が生じる場合がある。
そして、ストラットマウント51と、車体側パネル56の内側との間に、このような隙間57が生じた場合には、ストラットマウント51の中心軸線が、車体側パネル56の貫通孔5aの中心軸線に対して傾斜する向きにずれた状態で、ストラットマウント51が、車体側パネル56の内側に嵌合されることがあり、また、車両の走行時に、ストラットマウント51に、たとえば、それの中心軸線を、車体側パネル56の中心軸線に対して傾斜させる向きの力、ストラットマウント51の中心軸線に対して直交する向きの力、あるいはストラットマウント51をそれの中心軸線周りに回転させる向きの力が作用すると、車輪側のストラットロッド55に連結したストラットマウント51が、車体側パネル56の内側で、車体側パネル56に対して上記の力の各向きに相対変位することがあり、これらのことが、車両の走行時の安定性および乗り心地性に影響を及ぼすおそれがあった。
この発明は、従来技術が抱えるこのような問題を解決することを課題とするものであり、それの目的とするところは、車体側パネルの加工精度のいかんによらず、ストラットマウントを車体側パネルに嵌め合わせた際の、その嵌合姿勢のずれや、車両の走行時の、ストラットマウントの、車体側パネルに対する相対的な変位の発生を防止して、車両の走行安定性および乗り心地性を向上させたストラットマウントを提供することにある。
この発明のストラットマウントは、中心軸線の下方に向けて拡径するテーパ状をなす外筒と、外筒の内周側に配置した内筒と、該外筒と内筒とを連結するとともに、外筒の外周面および端部を被覆する弾性部材とを具えてなり、車輪側から延びるストラットロッドの上端部を、前記内筒の内部に貫通させ、底面に貫通孔を設けた倒立皿状形状の車体側パネルの内側に、前記外筒を嵌め合わせて使用に供されるものであって、外筒の外周面を、倒立皿状形状の車体側パネルの、テーパ側壁の内周面よりも、外筒の中心軸線に対して大きく傾斜させて、車体側パネルへの嵌合姿勢で、前記弾性部材を、弾性部材の、外筒の外周面を被覆する部分でのみ、車体側パネルの内側に接触させてなるものである。
なおここで、「外筒の外周面を、倒立皿状形状の車体側パネルの、テーパ側壁の内周面よりも、外筒の中心軸線に対して大きく傾斜」させることは、外筒の外周面の、それの中心軸線に対する傾斜角度を、車体側パネルのテーパ側壁の、外筒の中心軸線に対する傾斜角度の設計値よりも大きくすることを意味する。
ここで好ましくは、弾性部材の、外筒の外周面を被覆する部分の厚みを、外筒の中心軸線の下方側部分よりも上方側部分で厚くする。
また好ましくは、外筒の下端部の内周面に、半径方向の内側に向く湾曲面を、全周にわたって形成し、さらに好ましくは、外筒の下端部を、全周にわたって、半径方向の外側に向けて湾曲させる。
そしてまた好ましくは、外筒の上端部の外周面に、全周にわたって、半径方向の外側に向けて膨出する膨出部を形成する。
この発明のストラットマウントによれば、外筒の外周面を、倒立皿状形状の車体側パネルの、テーパ側壁の内周面よりも、外筒の中心軸線に対して大きく傾斜させて、ストラットマウントの、車体側パネルへの嵌合姿勢で、前記弾性部材を、外筒の外周面を被覆する部分でのみ、車体側パネルの内側に接触させることにより、ストラットマウントが、それの外筒の外周面の、主には、下端側部分を被覆する弾性部材部分で、車体側パネルの内側に大きく接触することになるとともに、ストラットマウントへの車体重量の作用に起因する、外筒と車体側パネルとの間に挟まれる弾性部材部分の逃げ変形に基き、弾性部材のテーパ状側面と、車体側パネルのテーパ側壁の内周面との接触部分が増大することになる。
これにより、車体側パネルの加工誤差のいかんによらず、ストラットマウントを、車体側パネル内側に、各種のずれの発生なしに、車体側パネルに常に適正に嵌め合わせることができ、また、ストラットマウントと、車体側パネルの内周面との密着度の高まりによって、車両の走行時に、ストラットマウントの、車体側パネルに対する相対的な変位が生じ難くなって、車両の走行時の安定性および乗り心地性を向上することができる。
しかもこの発明のストラットマウントでは、外筒の外周面を、倒立皿状形状の車体側パネルの、テーパ側壁の内周面よりも、外筒の中心軸線に対して大きく傾斜させたことによって、外筒の下端側の外周面が、それの上端側の外周面よりも、車体側パネルの内側に接近することになって、ストラットマウントに、車体側パネルの内部へ押込まれる向きの力が作用しても、剛性材料からなる外筒の下端側の部分が、その下端側部分の外周面を被覆する弾性部材部分を介して、かかる押込まれ力に抵抗することになるので、車両の走行時に、ストラットマウントに作用する種々の力に起因する、ストラットマウントの弾性部材の変形が生じた場合であっても、ストラットマウントの、外筒の外周面を被覆する弾性部材部分のみでの、車体側パネルの内側への接触を維持することができる。
ここで、弾性部材の、外筒の外周面を被覆する部分の厚みを、外筒の中心軸線の下方側部分よりも上方側部分で厚くしたときは、外筒の下端側部分の弾性部材部分のみならず、厚みを厚くした上方側部分の弾性部材部分もまた、車体側パネルの内周面に接触することになって、弾性部材と、車体側パネルのテーパ側壁の内周面との接触面積がより大きくなるので、ストラットマウントの、車体側パネルへの嵌合姿勢が一層確実なものとなる。
そして、外筒の下端部の外周面を、全周にわたって、半径方向の内側に向けて窪ませ、とくに、外筒の下端部を、全周にわたって、半径方向の外側に向けて湾曲させたときは、ストラットマウントへの、各種の入力の作用時に、外筒の下端部から外筒の外周面に回り込む逃げ変形をする弾性部材と、外筒の下端部との接触に起因する、外筒の下端部での、弾性部材への亀裂の発生を有効に防止でき、これにより、ストラットマウントの耐久性能を向上することができる。
ここにおいて、外筒の上端部の外周面に、全周にわたって、半径方向の外側に向けて膨出する膨出部を形成したときは、ストラットマウントの、車体側パネルへの嵌合姿勢で、車体側パネルのテーパ側壁の内周面と、その膨出部を被覆する弾性部材部分との間に生じる面圧、つまり摩擦力が、他の外筒被覆部分との間に比して大きくなるので、車両の走行時に生じる、ストラットマウントの、車体側パネルに対する相対変位がより一層抑制されて、車両の走行安定性および乗り心地性をさらに向上させることができる。
また、このような膨出部を、外筒の上端側の外周面に形成したことによって、ストラットマウントに、車体側パネルの内部へ押込まれる向きの力が作用した際に、その膨出部が、車体側パネルに対して十分に反力を発揮して、かかる力に抵抗することになるので、ストラットマウントの、外筒の外周面を被覆する弾性部材部分のみでの、車体側パネルの内側への接触が確保され、車両の走行時の安定性および乗り心地性の向上という上記の効果がより一層高まることになる。
この発明のストラットマウントを取り付けた懸架装置を示す、中心軸線を含む縦断面図である。 図1に示すストラットマウントと車体側パネルとの嵌合部分の、要部拡大縦断面図である。 外筒の外周面を被覆する弾性部材部分の外表面の傾斜角度を、車体側パネルへの嵌合前の状態で示す要部拡大断面図である。 他の実施形態のストラットマウントと車体側パネルとの嵌合部分を示す要部拡大縦断面図である。 他の実施形態のストラットマウントと車体側パネルとの嵌合部分を示す要部拡大縦断面図である。 他の実施形態のストラットマウントと車体側パネルとの嵌合部分を示す要部拡大縦断面図である。 他の実施形態のストラットマウントの外筒を、ストラットマウントから取り出した状態で示す拡大断面図である。 従来のストラットマウントを取り付けた懸架装置を示す、中心軸線を含む縦断面図である。 図8に示すストラットマウントと車体側パネルとの嵌合部分の、要部拡大縦断面図である。
以下に図面を参照しながら、この発明のストラットマウントの実施の形態について説明する。
図中1は、車体側部材と車輪側部材との間に配設したストラットマウントを示す。
このストラットマウント1は、中心軸線Cの下方に向けて拡径するテーパ状をなす外筒2と、外筒2の内周側に配置した内筒3と、外筒2の内周面と内筒3の外周面とを連結して、外筒2の外周面および端部を被覆する弾性部材4とを具えてなる。
このようなストラットマウント1の適用に当っては、外筒2を、底面に貫通孔11を設けた倒立皿状形状の車体側パネル10の内側に嵌め合わす一方で、内筒3の内部に、図示しない車輪側のショックアブソーバの一部をなすストラットロッド21の上端部21aを貫通させて、ストラットマウント1を、車体側パネル10と、周囲をコイルスプリング22で取り囲んだショックアブソーバとの間に配設する。
このように、車輪側のストラットロッド21の上端部21aの周りに配設したストラットマウント1は、弾性部材4が、外筒2を介して車体側パネル10の内周面に接触して、車体側パネル10からの車体重量を弾性的に支持するとともに、車輪が路面から受ける入力の、ショックアブソーバおよびコイルスプリング22により吸収できなかった部分を吸収するべく機能する。
ここで、外筒2および内筒3はともに、金属材料等の剛性材料により形成し、また図に示すところでは、これらの外筒2および内筒3はいずれも、両筒2、3の共通の中心軸線Cの上方側から下方側に向けて直径が増加する円筒形状をなす。
但し、図示のこの実施形態では、外筒2は、中心軸線Cの上方側から下方側に向けて直径が直線状に増加するテーパ状の円筒としたのに対し、外筒2よりも肉厚の内筒3は、中心軸線C方向の略中央域に、それの全周にわたって外周側に向けて膨出する肩部3aを形成してなる異形の円筒としている。
またここで、外筒2の内周面と内筒3の外周面とを連結する弾性部材4は、上記のように外筒2の外周面および両端部を被覆して、ストラットマウント1を、弾性部材4のこの外筒被覆部分で、車体側パネル10の内周側に接触させ、また、図示のストラットマウント1では、内筒3の内周面および両端部をも弾性部材4で被覆して、ストラットマウント1を、弾性部材4のこの内筒被覆部分で、内筒3の肩部3aの内部に配置する後述のスラストベアリング23およびブラケット24に接触させる。
なお好ましくは、外筒2の上端部の内径が、内筒3の下端部の外径よりも小さくなるように、両筒2、3を形成する。これによれば、車体側パネル10を支持するストラットマウント1の弾性部材4が、車両の走行時に万一破断したとしても、内筒3が車輪側のショックアブソーバのストラットロッド21とともに外筒2の上方に突き抜けることによる車両の走行不能を防止することができる。
ここにおいて、この発明のストラットマウント1では、図2に、ストラットマウント1と車体側パネル10との接触部分を拡大して示すように、外筒2の外周面を、車体側パネル10のテーパ側壁12の内周面よりも、外筒2の中心軸線Cに対して大きく傾斜させる。すなわち、外筒2の、図の鉛直方向からの傾斜角度αを、車体側パネル10のテーパ側壁12の、同様の傾斜角度の設計値βよりも、好ましくは1〜5°程度大きくする。
さらに、この発明では、車体側パネル10への嵌合姿勢で、弾性部材4を、それの、外筒2の外周面を被覆する部分4aでのみ、車体側パネル10の内側に接触させる。
ストラットマウント1をかかる構成にすることによって、それの、車体側パネル10への嵌合姿勢で、外筒2の上端部を被覆する弾性部材部分4bが、車体側パネル10の貫通孔11の周縁を形成する平坦環状部13の内面に接触せずに、外筒2の下方側や上方側への変形が容易な弾性部材部分4aが、車体側パネル10のテーパ側壁12の内周面に接触して、この弾性部材部分4aのみで車体重量を支持することになる。
そして、車体重量の作用により、外筒2と車体側パネル10との間で挟まれる弾性部材部分4aに、外筒2の下方側や上方側への逃げ変形が生じて、弾性部材部分4aの、外筒2の下端側での接触面積が増大することになるので、ストラットマウント1の、車体側パネル10への嵌合姿勢を常に、適正かつ確実なものとすることができる。
また、外筒2の傾斜角度αを、車体側パネル10のテーパ側壁12の傾斜角度の設計値βよりも大きくしたことから、ストラットマウント1に車体重量が作用した際に、剛性材料からなる外筒2が、それの下端側部分で、ストラットマウント1が車体側パネル10内に押込まれる向きの力に抵抗することになるので、外筒2の上端部を被覆する弾性部材部分4bの、車体側パネル10の平坦環状部13の内面への接触が防止される。
なお、外筒2の上端部を被覆する弾性部材部分4bと、車体側パネル10の平坦環状部13の内面との距離Lは、ストラットマウントの、車体側パネルへの嵌合姿勢で、0.5mm以上となることが好ましい。これらの部材間に0.5mm以上離隔した隙間があることにより、車両の走行時に、ストラットマウント1に作用する種々の力に起因する、弾性部材4の変形が生じてなお、外筒2の上端部を被覆する弾性部材部分4bと、車体側パネル10の平坦環状部13の内面とが接触せずに、外筒2の外周面を被覆する弾性部材部分4aのみを、車体側パネル10の内周面に接触させることができる。
ここで、外筒2の傾斜角度αの対比対象を、車体側パネル10のテーパ側壁12の傾斜角度の設計値βとしているのは、この発明のストラットマウント1が、それを車体側パネル10に嵌め合わせたときに、車体側パネル10の加工誤差に起因する、ストラットマウント1と車体側パネル10との嵌合姿勢のずれ等を防止するものであることによる。
ところで、図3に示すような、ストラットマウント1の、車体側パネル10への嵌合前の状態で、外筒2の外周面を被覆する弾性部材部分4aの外表面の、少なくとも車体側パネル10に接触する領域の、外筒2の中心軸線からの傾斜角度γは、図の上方側に破線で示す車体側パネル10のテーパ側壁12の、同様の傾斜角度の設計値βと略等しくすることが、車体側パネル10への嵌合姿勢で、外筒2の上端部を被覆する弾性部材部分4bを、車体側パネル10の平坦環状部13の内面に対して非接触とするこのストラットマウント1の耐久性能の低下を防止するとの観点から好ましい。
すなわち、弾性部材4の外表面の傾斜角度γを、車体側パネル10の内周面の傾斜角度の設計値βよりも小さくした場合は、ストラットマウント1を、車体側パネル10に嵌合させて使用に供する際に、弾性部材部分4bを平坦環状部13に接触させないストラットマウント1では、車体重量の大部分が作用する、外筒2の外周面を被覆する弾性部材部分4aに、テーパ状をなす外筒2の外周面に沿う斜め下向きの大きな変形が生じるので、弾性部材部分4aの上記の変形に引き摺られる、外筒上端部の周囲の弾性部材部分4bが、圧縮力の作用下の、外筒2の内周側の弾性部材部分の逃げ変形とも相俟って、外筒2の上端部の内周側から外周側へ回り込む変形をすることになって、弾性部材部分4bが外筒2の上端部から剥離するおそれがある。
この一方で、弾性部材4の外表面の傾斜角度γを、車体側パネル10の内周面の傾斜角度の設計値βよりも大きくした場合は、ストラットマウント1の、車体側パネル10への嵌合姿勢で、外筒2の外周面を被覆する弾性部材部分4aの下方側の箇所に、大きな車体重量が作用することになるので、外筒下端部の周囲の弾性部材部分の耐久性が低下するおそれがある他、弾性部材4のテーパ状外表面と、車体側パネル10のテーパ側壁の内周面との接触領域の減少によって、この発明の、車両の走行時の安定性および乗り心地性の向上との効果を十分に得ることができない懸念もある。
また、図1、2に示すところでは、弾性部材4の外筒被覆部分4aの厚みを、外筒2の中心軸線Cの上方側から下方側にわたって一定の厚みとしたが、弾性部材部分4aと車体側パネル10の内側との密着度をより一層高めるとの観点からは、図3、4に示すように、この厚みを、外筒の中心軸線の下方側よりも上方側で厚くすることが好ましい。
また好ましくは、弾性部材4のこの外筒被覆部分4aの厚みを、最も薄い部分でも0.5mm以上とする。車体側パネル10の加工精度の誤差の有無によらず、弾性部材4のこの外筒被覆部分4aの変形によって、ストラットマウント1の、車体側パネル10への適正な嵌合姿勢を実現するためである。
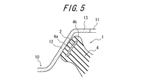
そしてまた好ましくは、図5に示すように、外筒2の下端部を、全周にわたって、半径方向の外側に向けて湾曲させたり、図6に示すように、外筒2の上端部の外周面に、全周にわたって、半径方向の外側に向けて膨出する膨出部2aを形成する。
ここにおいて、外筒2に、上述した湾曲部や膨出部を形成するには、図7に、外筒を、ストラットマウントから取り出した状態で示すように、たとえば、図に破線で示す、予め円錐台状に形成した環状体30の上端部分及び下端部分のそれぞれに、図に白抜き矢印で示す如く、半径方向内側及び外側の各々への折り曲げ加工を施し、しかる後、それらの折り曲げ部をともに、図に矢印で示すように、該折り曲げ部の側面と直交する向きにプレス切断することによって行うことができる。
このことによれば、外筒2の上端部及び下端部の各端面の、高い切断品質の下で、上端部及び下端部のそれぞれに膨出部2a及び湾曲部2bを形成することができるので、ストラットマウント1の使用に際し、弾性部材4によって被覆された外筒2の上端部及び下端部のそれぞれで、外筒2の外周側に回り込む逃げ変形をする弾性部材4と、外筒2の各端部、とくに前記切断端面との接触による、弾性部材へのクラックの発生を、より一層効果的に防止できる。
なお、図7に示す、外筒2の外周面の、下方側の半部領域Aは、その表面を被覆する弾性部材4を介して、車体側パネル10に接触する領域とすることができる。
なおここで、図示は省略するが、ストラットマウント1には、それの弾性部材4の、車体側パネル10のテーパ側壁12との接触部分、すなわち外筒2の外周面を被覆する部分4aの表面に、半径方向外側に向かって突出する一または複数のゴム突起を設けることもできる。
ところで、図1に示すストラットマウント1の適用に当って、内筒3の肩部3aの内側に、下方に向けて突出する筒部23aを下面に具えたリング状のスラストベアリング23を嵌め合わせ、このスラストベアリング23の下面に、筒部23aを取り囲んで、ブラケット24を、コイルスプリング22の押圧下で取り付けるとともに、スラストベアリング23の筒部23a内にストラットロッド21の先端部を挿入配置する。
ここで、ブラケット24は、スラストベアリング23の筒部23aを取り囲む孔を上面に形成した、図示の断面で倒立U字状をなす底壁付きの円筒部24aと、円筒部24aの下端側の周縁に形成した、図示の断面で略L型のフランジ部24bと、フランジ部24bの外周側の周縁に連続させて形成されて、そのフランジ部24bから隆起して位置する平板環状部24cとからなる。
そして、図に示すところでは、ブラケット24の、L型フランジ24bからの隆起側壁の外周面および、平板環状部24cの下面を覆うように、弾性材料からなるリング状のばね受け板25を配設して、このばね受け板25に、コイルスプリング22を着座させることで、コイルスプリング22の押圧力をブラケット24で支持する。
またここでは、ストラットロッド21の上端部21aに形成した雄ねじ部21bを、スラストベアリング23の内部に貫通させ、その雄ねじ部21bを、下側雌ねじ部材26での締込みによって、スラストベアリング23に連結する。
かかる構成により、ストラットマウント1は、特別の連結固定手段を設けることなしに、車体側パネル10の内側に押し付けられた状態で組み付けられることになる。
さらに、図示の懸架装置では、車体側パネル10の底面に形成した貫通孔11内に、この貫通孔11の径よりも幾分小さい外径の周壁を具える皿状形状のストッパ金具27を配置する。
そして、ストッパ金具27の底壁に形成した穴に、下側雌ねじ部材26から上方に突出した、ストラットロッド21の雄ねじ部21bの上端部分を挿入し、そして、この雄ねじ部21bに、上側雌ねじ部材28を螺合させることで、ストッパ金具27を、上下の雌ねじ部材間でストラットロッド21に締付け固定する。
皿状形状のこのストッパ金具27は、ストラットロッド21に、中心軸線Cの下向きの力が作用した際に、ストッパ金具27の上端に連続させて形成したフランジ27aが、車体側パネル10の平坦環状部13に当接して、ストラットロッド21の、ストラットマウント1からの引抜けを防止するものであるが、ここでは、ストッパ金具27の、車体側パネル10への当接箇所となるフランジ27aを、保護ゴム29で被覆して、これらの部材への損傷の発生を防止している。
1 ストラットマウント
2 外筒
2a 膨出部
2b 湾曲部
3 内筒
3a 肩部
4 弾性部材
4a 外筒の外周面を被覆する部分
4b 外筒の上端部を被覆する部分
10 車体側パネル
11 貫通孔
12 テーパ側壁
13 平坦環状部
21 ストラットロッド
21a 上端部
21b 雄ねじ部
22 コイルスプリング
23 スラストベアリング
23a 筒部
24 ブラケット
24a 円筒部
24b フランジ部
24c 平板環状部
25 ばね受け板
26 下側雌ねじ部
27 ストッパ金具
27a フランジ
28 上側雌ねじ部
29 保護ゴム
30 環状体

Claims (5)

  1. 中心軸線の下方に向けて拡径するテーパ状をなす外筒と、外筒の内周側に配置した内筒と、該外筒と内筒とを連結するとともに、外筒の外周面および端部を被覆する弾性部材とを具えてなり、
    車輪側から延びるストラットロッドの上端部を、前記内筒の内部に貫通させ、底面に貫通孔を設けた倒立皿状形状の車体側パネルの内側に、前記外筒を嵌め合わせて使用に供されるストラットマウントにおいて、
    外筒の外周面を、倒立皿状形状の車体側パネルの、テーパ側壁の内周面よりも、外筒の中心軸線に対して大きく傾斜させて、
    車体側パネルへの嵌合姿勢で、前記弾性部材を、弾性部材の、外筒の外周面を被覆する部分でのみ、車体側パネルの内側に接触させてなるストラットマウント。
  2. 弾性部材の、外筒の外周面を被覆する部分の厚みを、外筒の中心軸線の下方側部分よりも上方側部分で厚くしてなる請求項1に記載のストラットマウント。
  3. 外筒の下端部の内周面に、半径方向の内側に向く湾曲面を、全周にわたって形成してなる請求項1または2に記載のストラットマウント。
  4. 外筒の下端部を、全周にわたって、半径方向の外側に向けて湾曲させてなる請求項3に記載のストラットマウント。
  5. 外筒の上端部の外周面に、全周にわたって、半径方向の外側に向けて膨出する膨出部を形成してなる請求項1〜4のいずれかに記載のストラットマウント。
JP2011545984A 2009-12-16 2010-12-15 ストラットマウント Active JP5649587B2 (ja)

Priority Applications (1)

Application Number Priority Date Filing Date Title
JP2011545984A JP5649587B2 (ja) 2009-12-16 2010-12-15 ストラットマウント

Applications Claiming Priority (4)

Application Number Priority Date Filing Date Title
JP2009285368 2009-12-16
JP2009285368 2009-12-16
PCT/JP2010/007288 WO2011074259A1 (ja) 2009-12-16 2010-12-15 ストラットマウント
JP2011545984A JP5649587B2 (ja) 2009-12-16 2010-12-15 ストラットマウント

Publications (2)

Publication Number Publication Date
JPWO2011074259A1 JPWO2011074259A1 (ja) 2013-04-25
JP5649587B2 true JP5649587B2 (ja) 2015-01-07

Family

ID=44167029

Family Applications (1)

Application Number Title Priority Date Filing Date
JP2011545984A Active JP5649587B2 (ja) 2009-12-16 2010-12-15 ストラットマウント

Country Status (5)

Country Link
US (1) US8888081B2 (ja)
EP (1) EP2514992B1 (ja)
JP (1) JP5649587B2 (ja)
CN (1) CN102713338B (ja)
WO (1) WO2011074259A1 (ja)

Families Citing this family (9)

* Cited by examiner, † Cited by third party
Publication number Priority date Publication date Assignee Title
EP2750906B1 (en) * 2011-08-31 2017-04-12 BeijingWest Industries Co. Ltd. A vibroisolating device with a nonlinear force vs. displacement characteristic and a motor vehicle suspension system comprising such vibroisolating device
US9434228B1 (en) 2015-07-28 2016-09-06 Honda Motor Co., Ltd. Vehicle component mounting apparatus, and methods of use and manufacture thereof
EP3368355B1 (en) 2015-10-31 2023-01-18 Firestone Industrial Products Company, LLC Gas spring and damper for vehicle
CN107009836B (zh) 2015-12-08 2021-11-09 斯凯孚公司 支柱安装轴承单元
CN105402294A (zh) * 2015-12-16 2016-03-16 安徽鼎封橡胶减震技术有限公司 一种外连接套
CN107310341B (zh) * 2016-04-27 2020-08-28 上海汽车集团股份有限公司 悬架支撑结构、悬架及汽车
DE102019200695A1 (de) * 2019-01-21 2020-07-23 Aktiebolaget Skf Aufhängungsaxiallagervorrichtung und ein mit einer solchen Vorrichtung ausgerüstetes Federbein
US11623490B2 (en) * 2020-06-03 2023-04-11 Nissan North America, Inc. Vibration attenuation assembly
FR3139294B1 (fr) * 2022-09-06 2024-08-23 Ntn Snr Roulements Butée de suspension ET JAMBE DE SUSPENSION

Citations (3)

* Cited by examiner, † Cited by third party
Publication number Priority date Publication date Assignee Title
JPS5663143A (en) * 1979-10-25 1981-05-29 Nissan Motor Co Ltd Upper mounting insulator of strat for vehicle
JP2004232824A (ja) * 2003-01-31 2004-08-19 Tokai Rubber Ind Ltd ストラットマウント
JP2007107714A (ja) * 2005-09-15 2007-04-26 Toyo Tire & Rubber Co Ltd ストラットマウント

Family Cites Families (11)

* Cited by examiner, † Cited by third party
Publication number Priority date Publication date Assignee Title
DE3041985C2 (de) * 1980-11-07 1983-01-27 Volkswagenwerk Ag, 3180 Wolfsburg Karosserieseitige Lagerung eines Federbeins oder Federdämpfers eines Kraftfahrzeuges
DE3713699C2 (de) * 1986-05-02 1994-12-01 Volkswagen Ag Karosserieseitige Lagerung eines Federbeins oder Federdämpfers eines Kraftfahrzeuges
DE3876528T2 (de) * 1987-07-29 1993-04-15 Mazda Motor Fahrzeugaufhaengungssystem.
FR2630375B1 (fr) * 1988-04-21 1990-08-24 Skf France Roulement de butee de suspension pour vehicule et son procede d'assemblage
GB2266941B (en) * 1992-05-09 1995-08-16 Ford Motor Co Motor vehicle suspension systems
US6616160B2 (en) * 2001-04-05 2003-09-09 Toyo Tire & Rubber Co., Ltd. Strut mount
JP4126528B2 (ja) * 2002-02-04 2008-07-30 Nok株式会社 ストラットマウント
JP4076539B2 (ja) * 2003-04-21 2008-04-16 東洋ゴム工業株式会社 液封入式防振装置
JP2006090366A (ja) * 2004-09-21 2006-04-06 Toyo Tire & Rubber Co Ltd サスペンションサポート
JP2007196982A (ja) * 2005-12-26 2007-08-09 Bridgestone Corp ストラットマウント
JP2009047185A (ja) * 2007-08-13 2009-03-05 Nissan Motor Co Ltd ストラット式フロントサスペンション装置

Patent Citations (3)

* Cited by examiner, † Cited by third party
Publication number Priority date Publication date Assignee Title
JPS5663143A (en) * 1979-10-25 1981-05-29 Nissan Motor Co Ltd Upper mounting insulator of strat for vehicle
JP2004232824A (ja) * 2003-01-31 2004-08-19 Tokai Rubber Ind Ltd ストラットマウント
JP2007107714A (ja) * 2005-09-15 2007-04-26 Toyo Tire & Rubber Co Ltd ストラットマウント

Also Published As

Publication number Publication date
EP2514992A1 (en) 2012-10-24
US8888081B2 (en) 2014-11-18
US20120280441A1 (en) 2012-11-08
CN102713338A (zh) 2012-10-03
CN102713338B (zh) 2015-04-29
WO2011074259A1 (ja) 2011-06-23
JPWO2011074259A1 (ja) 2013-04-25
EP2514992A4 (en) 2016-03-23
EP2514992B1 (en) 2017-04-05

Similar Documents

Publication Publication Date Title
JP5649587B2 (ja) ストラットマウント
JP6475217B2 (ja) スプリングシートラバー
CN103097764B (zh) 油箱用橡胶垫
US10309477B2 (en) Tubular vibration-damping device having bracket
US9739338B2 (en) Vibration- damping support device
US9976619B2 (en) Tubular vibration-damping device
US8157251B2 (en) Vibration damping mounting assembly
US8894079B2 (en) Upper support for vehicle suspension
US11358427B2 (en) Suspension for vehicle
JP2007196982A (ja) ストラットマウント
CN104619542B (zh) 燃料箱用缓冲部件
JP6745213B2 (ja) スプリングシート構造
JP2006170386A (ja) サスペンション装置用のバウンドストッパ
JP2013213562A (ja) スプリングシートラバー
JP5005583B2 (ja) 防振装置
JP2007107714A (ja) ストラットマウント
US20210387493A1 (en) Strut mount
JP2011069446A (ja) 車両用サスペンションのスプリングシート
JP2014074481A (ja) 車体側パネルへのストラットロッドの取付構造
JP2008151177A (ja) ストラットマウント
FR3034046A1 (fr) Dispositif de butee de suspension
JP2009293768A (ja) ストラットマウント
JP2011133035A (ja) 防振マウント
JP2007239916A (ja) ストラットマウント
JP4716388B2 (ja) 防振装置

Legal Events

Date Code Title Description
A621 Written request for application examination

Free format text: JAPANESE INTERMEDIATE CODE: A621

Effective date: 20130611

A131 Notification of reasons for refusal

Free format text: JAPANESE INTERMEDIATE CODE: A131

Effective date: 20140729

TRDD Decision of grant or rejection written
A01 Written decision to grant a patent or to grant a registration (utility model)

Free format text: JAPANESE INTERMEDIATE CODE: A01

Effective date: 20141014

A61 First payment of annual fees (during grant procedure)

Free format text: JAPANESE INTERMEDIATE CODE: A61

Effective date: 20141111

R150 Certificate of patent or registration of utility model

Ref document number: 5649587

Country of ref document: JP

Free format text: JAPANESE INTERMEDIATE CODE: R150

R250 Receipt of annual fees

Free format text: JAPANESE INTERMEDIATE CODE: R250

R250 Receipt of annual fees

Free format text: JAPANESE INTERMEDIATE CODE: R250

R250 Receipt of annual fees

Free format text: JAPANESE INTERMEDIATE CODE: R250

R250 Receipt of annual fees

Free format text: JAPANESE INTERMEDIATE CODE: R250

R250 Receipt of annual fees

Free format text: JAPANESE INTERMEDIATE CODE: R250

S111 Request for change of ownership or part of ownership

Free format text: JAPANESE INTERMEDIATE CODE: R313111

R350 Written notification of registration of transfer

Free format text: JAPANESE INTERMEDIATE CODE: R350

R250 Receipt of annual fees

Free format text: JAPANESE INTERMEDIATE CODE: R250

R250 Receipt of annual fees

Free format text: JAPANESE INTERMEDIATE CODE: R250

R250 Receipt of annual fees

Free format text: JAPANESE INTERMEDIATE CODE: R250