JP5634026B2 - 差動流体圧力測定装置 - Google Patents

差動流体圧力測定装置 Download PDF

Info

Publication number
JP5634026B2
JP5634026B2 JP2009012874A JP2009012874A JP5634026B2 JP 5634026 B2 JP5634026 B2 JP 5634026B2 JP 2009012874 A JP2009012874 A JP 2009012874A JP 2009012874 A JP2009012874 A JP 2009012874A JP 5634026 B2 JP5634026 B2 JP 5634026B2
Authority
JP
Japan
Prior art keywords
fluid pressure
sensing element
sensor device
pressure sensor
passage
Prior art date
Legal status (The legal status is an assumption and is not a legal conclusion. Google has not performed a legal analysis and makes no representation as to the accuracy of the status listed.)
Expired - Fee Related
Application number
JP2009012874A
Other languages
English (en)
Other versions
JP2009186467A (ja
Inventor
ハジルーカス コスタス
ハジルーカス コスタス
ウィルナー アンドリュー
ウィルナー アンドリュー
アマトルダ アンドリュー
アマトルダ アンドリュー
クラジェウスキー ジョージ
クラジェウスキー ジョージ
Original Assignee
センサータ テクノロジーズ インコーポレーテッド
センサータ テクノロジーズ インコーポレーテッド
Priority date (The priority date is an assumption and is not a legal conclusion. Google has not performed a legal analysis and makes no representation as to the accuracy of the date listed.)
Filing date
Publication date
Application filed by センサータ テクノロジーズ インコーポレーテッド, センサータ テクノロジーズ インコーポレーテッド filed Critical センサータ テクノロジーズ インコーポレーテッド
Publication of JP2009186467A publication Critical patent/JP2009186467A/ja
Application granted granted Critical
Publication of JP5634026B2 publication Critical patent/JP5634026B2/ja
Expired - Fee Related legal-status Critical Current
Anticipated expiration legal-status Critical

Links

Images

Classifications

    • GPHYSICS
    • G01MEASURING; TESTING
    • G01LMEASURING FORCE, STRESS, TORQUE, WORK, MECHANICAL POWER, MECHANICAL EFFICIENCY, OR FLUID PRESSURE
    • G01L13/00Devices or apparatus for measuring differences of two or more fluid pressure values
    • GPHYSICS
    • G01MEASURING; TESTING
    • G01LMEASURING FORCE, STRESS, TORQUE, WORK, MECHANICAL POWER, MECHANICAL EFFICIENCY, OR FLUID PRESSURE
    • G01L13/00Devices or apparatus for measuring differences of two or more fluid pressure values
    • G01L13/02Devices or apparatus for measuring differences of two or more fluid pressure values using elastically-deformable members or pistons as sensing elements
    • G01L13/025Devices or apparatus for measuring differences of two or more fluid pressure values using elastically-deformable members or pistons as sensing elements using diaphragms
    • GPHYSICS
    • G01MEASURING; TESTING
    • G01LMEASURING FORCE, STRESS, TORQUE, WORK, MECHANICAL POWER, MECHANICAL EFFICIENCY, OR FLUID PRESSURE
    • G01L7/00Measuring the steady or quasi-steady pressure of a fluid or a fluent solid material by mechanical or fluid pressure-sensitive elements
    • G01L7/02Measuring the steady or quasi-steady pressure of a fluid or a fluent solid material by mechanical or fluid pressure-sensitive elements in the form of elastically-deformable gauges
    • G01L7/08Measuring the steady or quasi-steady pressure of a fluid or a fluent solid material by mechanical or fluid pressure-sensitive elements in the form of elastically-deformable gauges of the flexible-diaphragm type
    • GPHYSICS
    • G01MEASURING; TESTING
    • G01LMEASURING FORCE, STRESS, TORQUE, WORK, MECHANICAL POWER, MECHANICAL EFFICIENCY, OR FLUID PRESSURE
    • G01L9/00Measuring steady of quasi-steady pressure of fluid or fluent solid material by electric or magnetic pressure-sensitive elements; Transmitting or indicating the displacement of mechanical pressure-sensitive elements, used to measure the steady or quasi-steady pressure of a fluid or fluent solid material, by electric or magnetic means
    • G01L9/02Measuring steady of quasi-steady pressure of fluid or fluent solid material by electric or magnetic pressure-sensitive elements; Transmitting or indicating the displacement of mechanical pressure-sensitive elements, used to measure the steady or quasi-steady pressure of a fluid or fluent solid material, by electric or magnetic means by making use of variations in ohmic resistance, e.g. of potentiometers, electric circuits therefor, e.g. bridges, amplifiers or signal conditioning
    • G01L9/06Measuring steady of quasi-steady pressure of fluid or fluent solid material by electric or magnetic pressure-sensitive elements; Transmitting or indicating the displacement of mechanical pressure-sensitive elements, used to measure the steady or quasi-steady pressure of a fluid or fluent solid material, by electric or magnetic means by making use of variations in ohmic resistance, e.g. of potentiometers, electric circuits therefor, e.g. bridges, amplifiers or signal conditioning of piezo-resistive devices

Landscapes

  • Physics & Mathematics (AREA)
  • General Physics & Mathematics (AREA)
  • Measuring Fluid Pressure (AREA)

Description

本出願は、概して流体圧力を測定する装置に関し、特に、高い圧力源および低い圧力源の各々と通じる流体内に配置するための2つのダイヤフラムを用いた、媒体と隔離された差動圧力センサを提供するような装置に関する。
ピエゾ抵抗圧力感知素子のような半導体圧力感知素子は、媒体に対して頑丈なフレキシブルな金属ダイヤフラムによって感知される媒体から隔離され、保護される。典型的にシリコーンオイルのような非圧縮性流体は、ダイヤフラムから感知素子へ圧力を伝達するのに使用される。一般に、対向する方向に面する第1および第2のダイヤフラムが提供され、それらの間に感知素子が配置される。センサに損傷を及ぼしかねないダイヤフラム上の媒体からのすす(soot)、水、凝縮液のような物質の蓄積を減少させるため、重力や圧力ポートに対して排水可能な方向にダイヤフラムを置くことがしばしば要求される。例えば、2007年4月3日に発行された米国特許第7,197、936号では、ダイヤフラムの表面は、重力の方向に平行に配向されている。これは、所望の剛性を提供するために、特許に示されているように分厚い搭載ブラケットの使用をも必要とする高いアスペクト比になる。さらに、ダイヤフラムが対向する方向で直面するダイヤフラムの搭載は、各々が感知される媒体に頑丈であることを必要とする分離されたハウジング部材の使用を要求され得る。
本発明の目的は、ダイヤフラムの表面が重力の方向と垂直であるように容易に配向することができる差動流体圧力センサを提供することである。本発明の他の目的は、コンパクトであり、かつ典型的に要求されるものよりも高価な材料でないものから作ることができる差動流体圧力センサを提供することである
。さらなる本発明の目的は、その表面が時間節約の組立動作の使用を可能にする差動流体圧力センサを提供することである。
簡潔に、本発明の好ましい実施例では、ベースには、共通の方向に面するダイヤフラム搭載面から離れて2つの離間された開口間を延びる通路が形成される。1つの開口は、拡大され、ピエゾ抵抗感知素子アッセンブリのような流体圧力応答感知素子を受け取る。ダイヤフラムおよび通路は、感知素子へ圧力を伝達するための非圧縮性のオイルが充填される2つのチャンバーを形成する。
ベースの一方の面に双方のダイヤフラムを持つことは、組立工程を簡単にする。例えば、ダイヤフラムの取り付けのための接着性のリングを形成し、ダイヤフラムをリング上に配置し、かつキュア(curing)することは、双方のダイヤフラムについて同時に行うことができる。
以下に述べる本発明の好ましい実施例では、感知素子は、端子ピンの一方の端部へのワイヤボンドに接続され、端子ピンの他方の端部は、条件付け回路を有するプリント回路基板に結合され、これは、次に、金属スプリングによってコネクタ端子に接続される。シーラント(封止剤)がピンの周りに配置され、ピン/ベースのインターフェースを介してオイル漏れが防止される。
本発明の例示的な実施例が図面に提示され、かつ明細書に説明される。
本発明の第1の実施例に従い作成されたセンサアッセンブリの平面図である。 図1の2−2線断面図である。 金属ダイヤフラムの搭載前に示されたアッセンブリであり、図2に示された感知素子モジュールの底面図である。 モジュールに形成された通路で切り取られた図3のモジュールの断面図である。 感知素子アッセンブリの詳細を示す図3の拡大部分である。 図5の6−6線に沿って切り取られた断面図である。 縮小されたスケールで示された感知素子モジュールの平面図である。 図7の8−8線に沿って切り取られた断面図である。 図4と同様の拡大された断面図であるが、ダイヤフラムが取り付けられかつオイルチャンバーが充填された後を示している。 変更された感知素子モジュールの底面図である。 図10の11−11線に沿って切り取られた断面図である。 図10の12−12線に沿って切り取られた断面図である。 別の変更された感知素子モジュールの底面図である。 図13の14−14線に沿って切り取られた断面図である。
特に図1および図2を参照すると、本発明の第1の好ましい実施例に従い作成された差動流体圧力センサアッセンブリ10は、例えばPEI(ポリエーテルイミド)のような適切なモールド可能な材料からなる上部ハウジング12を含み、上部ハウジング12には、3つのインサートモールドされた端子12b(図2に1つが示されている)を有するコネクタ部分12aが形成される。監視されるべき高低の流体圧力源のポートを有するサポートにアッセンブリを搭載するため、上部ハウジングは12には、金属ブッシング(軸受筒)16間に感知素子モジュール14を受け取るための窪みが形成されている。PEIのような適切なモールド可能な材料からなる下部ハウジング18は、図2に示されるように、圧力感知モジュール14の下方に上部ハウジング12の窪みに受容される。
取り囲むOリング20は、上部ハウジング12と感知素子モジュール14の表面との間に形成された回路チャンバー12cに形成されたシートに配置される。回路ボード22は、チャンバー12c内の感知素子モジュール14の表面に配置される。コンタクトスプリング24は、各々の端子12bの端部12dと回路ボード22間の上部ハウジング12の壁の適切なボア(口径)内を延在し、図2にはそのような1つのスプリングが示されている。アッセンブリおよびキャリブレーションの直後に、でボアは、RTVのような適切な材料で封止される。
感知素子モジュール14は、並んで、第1および第2のほぼ円形状の金属ディスク14a、14bを搭載するボディ(本体)を含む。第1および第2のディスクは、後述される。下部ハウジング18には、各ディスク14a、14bと整合されOリング26を受け取るためのOリングシートが形成される。各ポート18a、18bには、好ましくは、開口を規定するクロスバーのようなグリル状の配列が形成され、そこを介して流体が流され、図2の断面図は、バーの1つで切り取られている。外部Oリング28は、下部ハウジング18の底面の各ポート18a、18bの周りの適切なOリングシート内に配置され、センサアッセンブリ10と高低の流体圧力源を含むハウジング(図示されない)との間に流体シールを提供する。
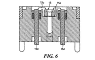
図3および4を参照すると、フレキシブルな金属ダイヤフラムの搭載前の感知素子モジュール14が示されている。感知素子モジュール14は、PPS(ポリフェニールサルファイド)のような適切な材料からなるベースのような概ね硬いプレートのように形成され、平坦な底面14cを有する。窪み14dは、底面14cに形成され、金属ディスク14a、14bを伴うように構成され、ディスク14a、14bの底面が同じ方向に面し、かつ好ましくは同一面に横たわる。ディスク14a、14bには、それぞれのディスクを介して窓14fが形成され、窪み14dは、各々の窓に延在しかつ各窓の全体的な外周に選択された深さのチャンネル14eを形成するように構成される。チャンネル14eは、エラストマー(弾性的な)シール材が充填され、オイル漏れを防止する。
ほぼU字形状の通路14gは、モジュールのベースを介して形成され、ディスク14aの窓14fの面14cの開口からディスク14bの窓14fの面14cの開口まで通じる。第1の実施例の特徴によれば、U字形状の通路の湾部(bight portion)は、真鍮または他の適切な材料からなるチューブ14hによって形成されている。ディスク14bの窓14fの通路の一端の拡大された開口14kには、図5および図6により明瞭に示されるように、ピエゾ抵抗素子15のような圧力感知素子の配置が提供され、圧力感知素子は、シリコーンベースの接着剤または他の適切な接着材料15aによって拡大された開口14kのフランジに取り付けられる。ワイヤ15cは、圧力感知素子15と各電気端子ピン15d間に結合される。接着性のジェル(gel)は、端子ピンと周囲のプラスチック間の強固な圧力封止を提供するために使用される。
エポキシやシリコーンベースの材料からなる適切な接着材料14Iは、図3に示されるように、円形状のリングまたは窓14fを越える他の所望の幾何学をステンシル塗りまたはディスペンス(分配)することによりディスク14a、14bの外側の表面に塗布され、それからフレキシブル金属ダイヤフラム14mがディスク14a、14bの各搭載面上に取り付けられる。
感知素子の上面を示す図7を参照すると、図4と同様に、オイル注入穴14nがベースと各ディスク14a、14bとを通して形成される。通路は空にされ、そして、オイル注入穴14nを介してシリコーンオイルのような非圧縮性の流体が充填され、それから、ディスク14a、14bに溶接された図8に示すボール14oによってシールされ、図9に示すアッセンブリが提供される。
ベースの一方の面上に双方のダイヤフラムを持つことは、上記したように組立工程を簡易にすることが理解されよう。例えば、接着性のリングを形成し、ダイヤフラムを位置決めし、かつ接着剤をキュアすることは、双方のダイヤフラムについて同時になし得ることができる。もし、所望ならば、さらなる工程の簡略化のため、2つの分離されたダイヤフラムの部材ではなく、単一部材の金属を使用することができる。長期間の信頼性のため、使用されるダイヤフラムは、感知される媒体(流体)に対して不浸透性でありかつ頑強であることが必要とされる。例えば、酸性の排出ガス媒体の使用のために適切な材料は、タンタル、ニオブ、チタンおよびステンレススチールを含むことができる。
本発明に従い、センサアッセンブリ10は、重力に対して垂直な面に横たわるダイヤフラムの表面に搭載することができ、すなわち、図2に示すようにである。これは、従来技術で使用された金属ブラケットの必要をなくしたよりコンパクトなセンサアッセンブリとなる。本発明のセンサ装置は、感知される媒体に対して頑強である唯一のハウジング部材、すなわち下部ハウジング18を必要とし、その結果、他の部材は、高価でない材料を使用することが可能である。
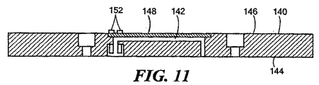
もし、所望ならば、感知素子モジュールは、図4のモールド可能なプラスチック以外の材料から形成することができる。第2の好ましい実施例に従い、感知素子モジュールは、図10−12に示されるように、ステンレス鋼のような適切な材料から形成することができる。図10において、モジュール140は、ステンレス鋼から形成されたベース部材を含み、さらに平坦な面144に開口するほぼU字形状の通路142を有し、その結果、ダイヤフラムを平坦な面144上に直接取り付けることができる。通路142は、ステンレス鋼のプレート部材148またはモジュール140に溶接可能な部材によって、上面146で閉じられたトレンチ(溝)によって形成される。通路142の1つの開口は、図1、2の素子15に対応するピエゾ抵抗感知素子を受容するために拡大される。端子ピン152は、ガラスシール154によって搭載されかつ絶縁される。オイル注入穴156は、図7のオイル注入穴14nに対応する。
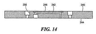
セラミックに関して、センサ感知モジュール240は、図13および14に示され、例えばアルミナから形成することができ、モジュール140の実施例と同様の方法で、底面244を通して開口する対応するU字形状の通路242が形成される。通路は、アルミナのカバー246またはモジュール240にガラスで取り付けられる部材によって閉じられる。オイル注入穴256は、第2の実施例のオイル注入穴156に対応する。この場合、オイル注入穴は、プラスチックプラグで密封することができる。ガラス254で搭載された端子ピン252は、本実施例でも同様に使用され得る。
種々の変更は、本発明を逸脱することなく上記の構成に成しえることができ、上記の記載に含まれまたは添付図面に示されたすべての事項は、例示として解釈されかつ限定されるものでないことを意図している。

Claims (13)

  1. 差動流体圧力センサ装置であって、
    共通の方向に面する第1および第2のダイヤフラム搭載面を有する感知素子モジュールを搭載するハウジングと、
    前記感知素子モジュールは、窪みによってそれぞれ離間された第1および第2の窓を有し、第1および第2の窓は、前記第1および第2のダイヤフラム搭載面の一部を提供し、
    前記感知素子モジュール内に形成され、かつ第1および第2のダイヤフラム搭載面間を延在しかつ搭載面の内側に開口を形成する通路と、
    第1および第2のダイヤフラム搭載面上であって各々の開口上に搭載されるフレキシブルな金属ダイヤフラムと、
    前記通路の開口の1つに配置された圧力応答感知素子と、
    通路を充填しかつ前記金属ダイヤフラムと係合し通路内に封止される非圧縮性流体と、
    前記圧力応答感知素子に動作可能に接続された電気信号条件付け回路と、
    監視のために、前記金属ダイヤフラムに高い流体圧力と低い流体圧力をそれぞれ提示する第1および第2の流体圧力接続手段とを有し、
    前記通路は、間に湾部を有する2つの脚部を有するほぼU字形状であり、一方の脚部が第1の窓に接続され、他方の脚部が第2の窓に接続され、前記湾部は金属製のチューブを有する、差動流体圧力センサ装置。
  2. 第1および第2のダイヤフラム搭載面は、共通の面に置かれる、請求項1に記載の差動流体圧力センサ装置。
  3. 前記感知素子モジュールは、主として樹脂製材料から構成される、請求項1に記載の差動流体圧力センサ装置
  4. 前記感知素子モジュールは、主として金属から構成される、請求項1に記載の差動流体圧力センサ装置。
  5. 前記感知素子モジュールは、主としてセラミックから構成される、請求項1に記載の差動流体圧力センサ装置。
  6. 前記圧力応答感知素子は、ピエゾ抵抗素子である、請求項1に記載の差動流体圧力センサ装置。
  7. 差動流体圧力センサ装置であって、
    ハウジングと、
    ハウジング内に搭載された感知素子モジュールであって、感知素子モジュールは、第1および第2の金属ダイヤフラム搭載ディスクを搭載し、第1および第2のディスクは、それぞれ平坦なダイヤフラム搭載面を有し、第1および第2の搭載面は共通の方向に面しており、窪みによってそれぞれ離間された第1および第2の窓がそれぞれ第1および第2のディスクを介して形成されかつ第1および第2の窓は第1および第2の金属ダイヤフラム搭載面の一部を提供し、通路が感知素子モジュール内に形成されかつ第1および第2の窓の間を延在する、前記感知素子モジュールと、
    流体シールされた関係でかつ第1および第2の金属ダイヤフラム搭載面上に搭載されかつ第1および第2の窓上に延在するフレキシブルな金属ダイヤフラムと、
    前記通路を充填しかつ前記金属ダイヤフラムと係合しかつ通路内に封止される非圧縮性流体と、
    第1のディスクの窓の前記通路内の圧力を受け取る通路内に配置され、各ダイヤフラムによって伝達された流体圧力の差に応答する圧力応答感知素子と、
    前記圧力応答感知素子に動作可能に接続された電気信号条件付け回路と、
    第1および第2のダイヤフラムとの流体伝達において前記ハウジング上に搭載された第1および第2の流体圧力接続手段とを有し、
    前記通路は、間に湾部を有する2つの脚部を有するほぼU字形状であり、一方の脚部が第1の窓に接続され、他方の脚部が第2の窓に接続され、前記湾部は金属製のチューブを有する、差動流体圧力センサ装置。
  8. 前記感知素子モジュールは、モールド可能なプラスチックから主に構成される、請求項7に記載の差動流体圧力センサ装置。
  9. 前記第1および第2の流体圧力接続手段は、前記感知素子モジュールに隣接して配置された他のハウジングの一部であり、前記他のハウジングは、流体圧力センサ装置によって監視される流体媒体に対して頑強な材料から形成される、請求項8に記載の差動流体圧力センサ装置。
  10. 前記感知素子モジュールは、主として金属から構成される、請求項7に記載の差動流体圧力センサ装置。
  11. 前記感知素子モジュールは、主としてセラミックから構成される、請求項7に記載の差動流体圧力センサ装置。
  12. 前記圧力応答感知素子は、ピエゾ抵抗素子である、請求項7に記載の差動流体圧力センサ装置。
  13. 前記第1および第2のディスクのダイヤフラム搭載面は、共通の面にある、請求項7に記載の差動流体圧力センサ装置。
JP2009012874A 2008-02-11 2009-01-23 差動流体圧力測定装置 Expired - Fee Related JP5634026B2 (ja)

Applications Claiming Priority (2)

Application Number Priority Date Filing Date Title
US12/069,522 2008-02-11
US12/069,522 US7578194B1 (en) 2008-02-11 2008-02-11 Differential fluid pressure measurement apparatus

Publications (2)

Publication Number Publication Date
JP2009186467A JP2009186467A (ja) 2009-08-20
JP5634026B2 true JP5634026B2 (ja) 2014-12-03

Family

ID=40612974

Family Applications (1)

Application Number Title Priority Date Filing Date
JP2009012874A Expired - Fee Related JP5634026B2 (ja) 2008-02-11 2009-01-23 差動流体圧力測定装置

Country Status (5)

Country Link
US (1) US7578194B1 (ja)
EP (1) EP2088414A3 (ja)
JP (1) JP5634026B2 (ja)
KR (1) KR101530092B1 (ja)
CN (1) CN101509817B (ja)

Cited By (1)

* Cited by examiner, † Cited by third party
Publication number Priority date Publication date Assignee Title
JP2015232538A (ja) * 2013-11-18 2015-12-24 センサータ テクノロジーズ インコーポレーテッド 油充填パッケージングにおける表面電荷耐性のためのmems圧力センサフィールドシールドレイアウト

Families Citing this family (33)

* Cited by examiner, † Cited by third party
Publication number Priority date Publication date Assignee Title
WO2009006944A1 (en) * 2007-07-12 2009-01-15 Abb Research Ltd Pressure sensor
US8082797B2 (en) 2009-11-11 2011-12-27 Honeywell International Inc. Pressure sensor assembly
US8375799B2 (en) 2010-12-10 2013-02-19 Honeywell International Inc. Increased sensor die adhesion
WO2012141973A1 (en) * 2011-04-08 2012-10-18 Rosemount, Inc. Corrosion resistant isolator assembly for process devices
DE102011102837A1 (de) * 2011-05-30 2012-12-06 Epcos Ag Drucksensor und Verfahren zur Herstellung eines Drucksensors
KR101303419B1 (ko) * 2011-10-28 2013-09-05 주식회사 현대케피코 차압 센서
CN103278285A (zh) * 2013-06-08 2013-09-04 无锡隆盛科技股份有限公司 一种压差传感器
US9103739B2 (en) 2013-09-27 2015-08-11 Rosemount Inc. Seal for pressure transmitter for use in industrial process
US20150135853A1 (en) * 2013-11-18 2015-05-21 Mark P. McNeal Mems pressure sensor field shield layout for surface charge immunity in oil filled packaging
US9316552B2 (en) * 2014-02-28 2016-04-19 Measurement Specialties, Inc. Differential pressure sensing die
US9593995B2 (en) * 2014-02-28 2017-03-14 Measurement Specialties, Inc. Package for a differential pressure sensing die
EP3112830B1 (en) 2015-07-01 2018-08-22 Sensata Technologies, Inc. Temperature sensor and method for the production of a temperature sensor
CN105067181B (zh) * 2015-08-12 2017-11-28 凯龙高科技股份有限公司 一种气体压差传感器
US9638559B1 (en) 2016-02-10 2017-05-02 Sensata Technologies Inc. System, devices and methods for measuring differential and absolute pressure utilizing two MEMS sense elements
CN107290099B (zh) 2016-04-11 2021-06-08 森萨塔科技公司 压力传感器、用于压力传感器的插塞件和制造插塞件的方法
EP3236226B1 (en) 2016-04-20 2019-07-24 Sensata Technologies, Inc. Method of manufacturing a pressure sensor
KR101734851B1 (ko) 2016-09-30 2017-05-16 대한민국 압력보정식 장력계
US10428716B2 (en) 2016-12-20 2019-10-01 Sensata Technologies, Inc. High-temperature exhaust sensor
US10545064B2 (en) 2017-05-04 2020-01-28 Sensata Technologies, Inc. Integrated pressure and temperature sensor
US10502641B2 (en) 2017-05-18 2019-12-10 Sensata Technologies, Inc. Floating conductor housing
US10323998B2 (en) 2017-06-30 2019-06-18 Sensata Technologies, Inc. Fluid pressure sensor
US10724907B2 (en) 2017-07-12 2020-07-28 Sensata Technologies, Inc. Pressure sensor element with glass barrier material configured for increased capacitive response
US10557770B2 (en) 2017-09-14 2020-02-11 Sensata Technologies, Inc. Pressure sensor with improved strain gauge
US10605686B2 (en) * 2017-10-19 2020-03-31 Veoneer Us, Inc. Dual wet and dry combination mounting
CN107884243B (zh) * 2017-11-13 2020-07-03 刘俊香 一种临床检验快速涂片装置
EP3534131B1 (de) * 2018-03-02 2021-06-02 Grundfos Holding A/S Drucksensor
CN108713799A (zh) * 2018-07-27 2018-10-30 广元元亨科技有限公司 一种高可靠度高精确度烟量可控式电子烟
CN108713800A (zh) * 2018-07-27 2018-10-30 广元元亨科技有限公司 一种可动态控制发热丝温度的烟量可控式电子烟
CN209326840U (zh) 2018-12-27 2019-08-30 热敏碟公司 压力传感器及压力变送器
CN214793590U (zh) * 2020-10-18 2021-11-19 武汉飞恩微电子有限公司 一种芯体结构以及压力传感器
CN112129453A (zh) * 2020-10-18 2020-12-25 武汉飞恩微电子有限公司 烧结座、芯体结构、基座组件以及压差传感器
US12313483B2 (en) * 2023-03-31 2025-05-27 Te Connectivity Solutions Gmbh Sensor having a plurality of diaphragms
CN119492477B (zh) * 2023-08-14 2025-10-28 精量电子(深圳)有限公司 压差传感器和压差检测装置

Family Cites Families (20)

* Cited by examiner, † Cited by third party
Publication number Priority date Publication date Assignee Title
FR1553013A (ja) * 1966-11-26 1969-01-10
US3901082A (en) * 1973-10-01 1975-08-26 Itt Fluid pressure sensing system and differential pressure unit therefor
US4370890A (en) * 1980-10-06 1983-02-01 Rosemount Inc. Capacitive pressure transducer with isolated sensing diaphragm
JPS6048136U (ja) * 1983-09-12 1985-04-04 株式会社日立製作所 完全差圧形圧力変換器
JPS60181642U (ja) * 1984-05-12 1985-12-02 株式会社山武 差圧発信器
US4625560A (en) * 1985-05-13 1986-12-02 The Scott & Fetzer Company Capacitive digital integrated circuit pressure transducer
US4754365A (en) * 1987-06-15 1988-06-28 Fischer & Porter Company Differential pressure transducer
US4841777A (en) * 1988-03-22 1989-06-27 Honeywell Inc. Pressure transmitter assembly
JPH02280027A (ja) * 1989-04-21 1990-11-16 Yokogawa Electric Corp 差圧測定装置
US4909083A (en) * 1989-06-26 1990-03-20 Itt Corporation Pressure/differential pressure measuring device
US5184514A (en) * 1991-07-12 1993-02-09 Rosemount Inc. Corrosion resistant isolator
JPH05346363A (ja) * 1992-06-16 1993-12-27 Hitachi Ltd 差圧伝送器
SG41962A1 (en) * 1993-09-24 1997-08-15 Rosemount Inc Pressure transmitter isolation diaphragm
US5672808A (en) * 1996-06-11 1997-09-30 Moore Products Co. Transducer having redundant pressure sensors
JPH10300613A (ja) * 1997-04-23 1998-11-13 Hitachi Ltd 差圧伝送器
JP2003315193A (ja) * 2002-04-24 2003-11-06 Denso Corp 圧力センサ
JP2005156307A (ja) 2003-11-25 2005-06-16 Denso Corp 圧力センサ
US7117745B2 (en) * 2004-02-09 2006-10-10 Rosemount Inc. Process seal for process control transmitter
JP2005249515A (ja) * 2004-03-03 2005-09-15 Denso Corp 圧力センサ
US7234357B2 (en) * 2004-10-18 2007-06-26 Silverbrook Research Pty Ltd Wafer bonded pressure sensor

Cited By (1)

* Cited by examiner, † Cited by third party
Publication number Priority date Publication date Assignee Title
JP2015232538A (ja) * 2013-11-18 2015-12-24 センサータ テクノロジーズ インコーポレーテッド 油充填パッケージングにおける表面電荷耐性のためのmems圧力センサフィールドシールドレイアウト

Also Published As

Publication number Publication date
EP2088414A2 (en) 2009-08-12
CN101509817A (zh) 2009-08-19
US7578194B1 (en) 2009-08-25
JP2009186467A (ja) 2009-08-20
CN101509817B (zh) 2012-02-15
KR20090086909A (ko) 2009-08-14
EP2088414A3 (en) 2016-04-27
KR101530092B1 (ko) 2015-06-18
US20090199647A1 (en) 2009-08-13

Similar Documents

Publication Publication Date Title
JP5634026B2 (ja) 差動流体圧力測定装置
CN102589791B (zh) 具有低成本封装的压力传感器
JP5127140B2 (ja) 圧力・温度共用トランスデューサー
CN101900625B (zh) 基于微电子封装工艺的湿/湿差动压力感测器设计
US10466125B2 (en) Pressure sensor sub assembly and fabrication
US5522267A (en) Modular diaphragm pressure sensor with peripherally mounted electrical terminals
US9310267B2 (en) Differential pressure sensor
CN102589787B (zh) 介质隔离的压力传感器
KR102276887B1 (ko) 차압 감지 다이를 위한 패키지
CN107782485B (zh) 集成有共模误差补偿的差压传感器
JP2001527210A (ja) 圧力検知装置用の汎用媒体パッケージ
NO301252B1 (no) Lavkostnads vått-til-vått trykkavfölerpakke
CN101371118A (zh) 基于硅压阻技术的湿/湿放大式压差传感器的设计
CA2940374A1 (en) Differential pressure sensing die
CN111837021A (zh) 用于确定压差大小的压差传感器
EP0197130A1 (en) Pressure transducer
EP0497534B1 (en) Piezoresistive pressure transducer with a conductive elastomeric seal
US11953391B2 (en) Differential pressure sensor and method of using the same
JPH02280026A (ja) 半導体式圧力検出装置
CN106461485A (zh) 用于感测在测量室中的流体介质压力的压力传感器
JP6830174B2 (ja) 圧力センサアセンブリ、測定装置、およびそれらの製造方法
KR20130138943A (ko) 밀폐형 압력 트랜스듀서
JP2001272296A (ja) 圧力センサ
CN113108104B (zh) 传感器装置和阀组件
JP2002296136A (ja) 変換器のケース構造

Legal Events

Date Code Title Description
A621 Written request for application examination

Free format text: JAPANESE INTERMEDIATE CODE: A621

Effective date: 20110926

A977 Report on retrieval

Free format text: JAPANESE INTERMEDIATE CODE: A971007

Effective date: 20130308

A131 Notification of reasons for refusal

Free format text: JAPANESE INTERMEDIATE CODE: A131

Effective date: 20130312

A521 Request for written amendment filed

Free format text: JAPANESE INTERMEDIATE CODE: A523

Effective date: 20130514

A131 Notification of reasons for refusal

Free format text: JAPANESE INTERMEDIATE CODE: A131

Effective date: 20140128

A521 Request for written amendment filed

Free format text: JAPANESE INTERMEDIATE CODE: A523

Effective date: 20140411

TRDD Decision of grant or rejection written
A01 Written decision to grant a patent or to grant a registration (utility model)

Free format text: JAPANESE INTERMEDIATE CODE: A01

Effective date: 20141014

A61 First payment of annual fees (during grant procedure)

Free format text: JAPANESE INTERMEDIATE CODE: A61

Effective date: 20141014

R150 Certificate of patent or registration of utility model

Ref document number: 5634026

Country of ref document: JP

Free format text: JAPANESE INTERMEDIATE CODE: R150

R250 Receipt of annual fees

Free format text: JAPANESE INTERMEDIATE CODE: R250

R250 Receipt of annual fees

Free format text: JAPANESE INTERMEDIATE CODE: R250

R250 Receipt of annual fees

Free format text: JAPANESE INTERMEDIATE CODE: R250

R250 Receipt of annual fees

Free format text: JAPANESE INTERMEDIATE CODE: R250

LAPS Cancellation because of no payment of annual fees