JP5620976B2 - 錠剤を形成するための方法及び前記方法を適用するのに適した装置 - Google Patents
錠剤を形成するための方法及び前記方法を適用するのに適した装置 Download PDFInfo
- Publication number
- JP5620976B2 JP5620976B2 JP2012507722A JP2012507722A JP5620976B2 JP 5620976 B2 JP5620976 B2 JP 5620976B2 JP 2012507722 A JP2012507722 A JP 2012507722A JP 2012507722 A JP2012507722 A JP 2012507722A JP 5620976 B2 JP5620976 B2 JP 5620976B2
- Authority
- JP
- Japan
- Prior art keywords
- cavity
- pellet
- solid
- flowable formulation
- pellets
- Prior art date
- Legal status (The legal status is an assumption and is not a legal conclusion. Google has not performed a legal analysis and makes no representation as to the accuracy of the status listed.)
- Active
Links
Images
Classifications
-
- A—HUMAN NECESSITIES
- A61—MEDICAL OR VETERINARY SCIENCE; HYGIENE
- A61J—CONTAINERS SPECIALLY ADAPTED FOR MEDICAL OR PHARMACEUTICAL PURPOSES; DEVICES OR METHODS SPECIALLY ADAPTED FOR BRINGING PHARMACEUTICAL PRODUCTS INTO PARTICULAR PHYSICAL OR ADMINISTERING FORMS; DEVICES FOR ADMINISTERING FOOD OR MEDICINES ORALLY; BABY COMFORTERS; DEVICES FOR RECEIVING SPITTLE
- A61J3/00—Devices or methods specially adapted for bringing pharmaceutical products into particular physical or administering forms
- A61J3/06—Devices or methods specially adapted for bringing pharmaceutical products into particular physical or administering forms into the form of pills, lozenges or dragees
-
- A—HUMAN NECESSITIES
- A61—MEDICAL OR VETERINARY SCIENCE; HYGIENE
- A61K—PREPARATIONS FOR MEDICAL, DENTAL OR TOILETRY PURPOSES
- A61K9/00—Medicinal preparations characterised by special physical form
- A61K9/0012—Galenical forms characterised by the site of application
- A61K9/0053—Mouth and digestive tract, i.e. intraoral and peroral administration
- A61K9/0056—Mouth soluble or dispersible forms; Suckable, eatable, chewable coherent forms; Forms rapidly disintegrating in the mouth; Lozenges; Lollipops; Bite capsules; Baked products; Baits or other oral forms for animals
-
- A—HUMAN NECESSITIES
- A61—MEDICAL OR VETERINARY SCIENCE; HYGIENE
- A61K—PREPARATIONS FOR MEDICAL, DENTAL OR TOILETRY PURPOSES
- A61K9/00—Medicinal preparations characterised by special physical form
- A61K9/20—Pills, tablets, discs, rods
- A61K9/2095—Tabletting processes; Dosage units made by direct compression of powders or specially processed granules, by eliminating solvents, by melt-extrusion, by injection molding, by 3D printing
-
- F—MECHANICAL ENGINEERING; LIGHTING; HEATING; WEAPONS; BLASTING
- F26—DRYING
- F26B—DRYING SOLID MATERIALS OR OBJECTS BY REMOVING LIQUID THEREFROM
- F26B5/00—Drying solid materials or objects by processes not involving the application of heat
- F26B5/04—Drying solid materials or objects by processes not involving the application of heat by evaporation or sublimation of moisture under reduced pressure, e.g. in a vacuum
- F26B5/06—Drying solid materials or objects by processes not involving the application of heat by evaporation or sublimation of moisture under reduced pressure, e.g. in a vacuum the process involving freezing
Landscapes
- Health & Medical Sciences (AREA)
- Life Sciences & Earth Sciences (AREA)
- Veterinary Medicine (AREA)
- Medicinal Chemistry (AREA)
- Chemical & Material Sciences (AREA)
- Pharmacology & Pharmacy (AREA)
- Animal Behavior & Ethology (AREA)
- General Health & Medical Sciences (AREA)
- Public Health (AREA)
- Epidemiology (AREA)
- Engineering & Computer Science (AREA)
- Mechanical Engineering (AREA)
- General Engineering & Computer Science (AREA)
- Zoology (AREA)
- Nutrition Science (AREA)
- Physiology (AREA)
- Molecular Biology (AREA)
- Medicinal Preparation (AREA)
- Medical Preparation Storing Or Oral Administration Devices (AREA)
Description
錠剤は、例えば直接的な経口、直腸または非経口投与のため、または間接的な投与(例えば、溶解または分散された形態で投与すべく担体材料、特に液体と混合した後)のための固体剤形である。錠剤は、該錠剤を個別に手で取り扱うことができる点で、粉末または細粒と区別できる。錠剤の最短長は1mm、好ましくは2mm、より好ましくは4mm、典型的には(必須ではないが)4〜20mmである。
本発明を以下の非限定例を用いてより詳細に説明する。
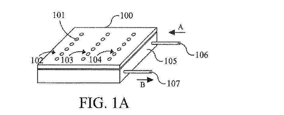
図1Aは、凍結ペレットを得るための方法において使用するためのキャビティトレー100及び対応する冷却エレメント105を概略的に示す。キャビティトレー100は、6mmの厚さを有する中実スチールプレート(グレード316Lのステンレス鋼製)である。プレート中には、3列(102、103及び104)のキャビティ101が形成されている。図1Bは、第1のタイプのキャビティの例を与える。図示されているキャビティ101は2.9mmの半径r及び2.1mmの深さdの球状形状を有する。このキャビティでは、(約2.9mmの半径を有する)約100μlの容量の球状ペレット30が形成され得る。より大きな錠剤のために使用され得る別の例を、図1Bに示す。このキャビティ101’も、4.9mmの半径r及び4.0mmの深さを有する球状である。このキャビティでは、(約4.9mmの半径を有する)約500μlの容量の球状ペレット30’が形成され得る。実際、例えば(“M&M−”または“Smartie”形状としても公知の)偏球状ペレット、卵形ペレット、長円形(ツェッペリン形)ペレット等を得るためには、他の大きさ(例えば、50〜1000μl)及び形状を用意してもよい。特に、偏球状ペレットは、6.0mmの長さ及び幅、3.3mmの深さを有する偏球状キャビティにおいて約300μlの容量を投入することにより形成され得る。
図2は、凍結ペレットを得るための装置の基本的部品を概略的に示す。図1に図示したのと同じトレー100及び冷却エレメント105が見られ得る。正面(トレー100の下流側)には、黒色プラスチックコンテナ15が示されており、このコンテナは、該コンテナを手動で取り扱うためのハンドル16を有している。このコンテナ15は、冷却エレメント105に対して直接配置されている。コンテナは、液体窒素を使用することにより冷却されているその支持体(図示せず)を設けることにより約−45℃の温度まで冷却されている。トレー100の反対側(上流側)には、収集エレメント120が示されており、この収集エレメントは、3つのコンパートメント121、122及び123に分けられている。この収集エレメントは、トレー100の表面(収集エレメント120の底部とトレー100の表面間に約0.2mmのスペースを有する)上を方向Cに移動し、凍結ペレットをそのキャビティから押し出す。その後、これらのペレットは、コンパートメント121、122及び123の各々に収集され、最終的にコンテナ15に運ばれる。ブラケット131を介して収集エレメント120に分配ユニット130が接続されている。この分配ユニットは、それぞれキャビティ列102、103及び104に対応する3本の針132、133及び134を含む。これらの針は、流動性処方物を各キャビティ中に分配するために使用される。流動性処方物は、それぞれチューブ152、153及び154を介して針の各々に供給される。
図3は、図2に図示した装置の幾つかの部品の概略平面図である。この概略図では、収集エレメント120の内部配置を示す。各コンパートメント121、122及び123は、それぞれ傾斜した内壁141、142及び143を含む。これらの壁は、各々移動方向Cに対して10°の角度で傾斜している。壁は、凍結ペレットにぶつかり、ペレットをそのキャビティから押し出す。各壁が傾斜しているので、ペレットは接線方向の力で押し出される。このことは、ペレットが多かれ少なかれそのキャビティからねじり出されるという利点を有する。これによりペレットが損傷するリスクが大きく低下すると見られる。押し出されると、ペレットは、コンパートメントの裏側に(この場合、それぞれラウンディング161、162及び163中に)収集される。(コンテナ15に隣接する)エレメント120の下流側位置で、ペレットはコンテナ15中に自動的に落ちる。
図4は、対応するキャビティと共に充填針を概略的に示す。針132はチップ232を有する。このチップ232は、該チップがキャビティ101中で形成しようとするペレット30の最上部分と合致するように、トレー100の表面に対して垂直位置を有するように配置されている。この位置からキャビティに流動性処方物が充填される。充填速度は、所望の充填プロセスが得られるように調整され得る。例えば、非常に遅い速度を選択すると、例えば流体がキャビティ壁を完全に湿らすことができないので、かなり不揃いな形状のペレットが形成されるであろう。十分に速い速度を選択すると、完全に湿らすことができる。この速度は、例えばキャビティに充填時の流体の実際の温度、キャビティ壁の温度、流体の粘度等に応じる。処方物毎に、この速度は、ルーチンの実験を実施することにより見つけられ得る。所要量の流動性処方物を充填したら、針は更に次のキャビティに移動する。しかしながら、全ての処方物が分配された時点と、針が再び移動し始める時点との間に待機時間(例えば、約0.1秒)を設けることが好ましい。これにより、投入されたペレットが機械的に乱れるのが防止され得る。この特定例では、球状ペレット30が描かれていることに注目されたい。しかしながら、他の形状も形成され得る。いずれの場合も、チップの最適位置は、形成しようとするペレットの最上部分で直角をなしている。
図5中には、凍結乾燥機(凍結乾燥装置)が概略的に示されている。この凍結乾燥機の例は、オランダ国ブロイケレンに所在のSalm en Kippから入手可能なChrist Epsilon 2−12Dであり得る。凍結乾燥機1は、ハウジング2及び複数の棚3を含む。Epsilon 2−12Dは4+1枚の棚を含む。便宜上これらの棚のうち3枚の棚(すなわち、棚3a、3b及び3c)が図1に示されている。これらの棚の各々に、棚3を均一に加熱するために加熱エレメント5(それぞれ、参照符号5a、5b及び5cが付されている)が設けられている。処理ユニット10を使用することにより加熱がコントロールされる。ハウジングは、該ハウジング2内の圧力を十分低くするためにポンプユニット11に接続している。ハウジングの内部は、冷却ユニット12、特に凝縮器(実際、約−60℃に維持されており、昇華した氷を凝縮させるための駆動力として作用する凝縮器である)を含む冷却ユニット12を使用することにより−60℃くらいの低い温度まで冷却され得る。棚3a及び3bには、黒色PTFEプレート8及び8’がその底部に固定されて設けられている。これらのプレートの輻射率係数は0.78である。これらの黒色プレートと棚を均密に接触させることにより、これらプレートは、棚そのものと同じ温度まで実質的に加温され得る。こうして、プレート8は棚3そのものに加えた熱源として見なされ得る。
図6は、錠剤の圧潰強度を調べるための引張試験機を概略的に示す。この図は、錠剤30の圧潰強度を試験するためのロードセル400を有する、LR5K Plus引張試験機(英国のLloyd Instrumentsから入手可能)の概略側面図である。このために、錠剤30が支持体300上に載っている間に、錠剤にロッド401を用いて荷重力を加える。
図7には、本発明に従う錠剤を含むパッケージ500が概略的に示されている。パッケージ500は、長方形ベース及び複数のブリスター501を含み、ブリスター中には錠剤30が収容されている。このブリスターパッケージは、長方形ベースに固定されている層(図示せず)をはぎ取って、ブリスターのそれぞれ1つを開け、それぞれの錠剤を取り出すことができるピールオフタイプであり得る。特に錠剤の機械的安定性が十分な場合には、層は、各錠剤が該層を介して圧出されるより一般的なタイプ(しばしば、アルミニウムホイル)のものであり得る。
図8は、ODTの機械的安定性を調べるための別のデバイスを概略的に示す。このデバイスを用いて、ホイルを介して圧出した後、凍結乾燥した錠剤が無傷のままである傾向を調べる。ダイ3001及び3002は、13直径を有する円筒状孔を含むユニットである。5μmの厚さのアルミニウムホイル3005が、ダイの間に置かれており、ホイルが動くのを防ぐためにゴムリング3003によりカバーされている。凍結乾燥した錠剤30を、ホイル上に置き、ガラス棒4001を用い、その棒上に手で力を加えることによりホイルを介して錠剤を圧出し得る。ホイルを介して錠剤を圧出した後、完全な錠剤または錠剤の断片がダイ3002の下に集められ得る。
図9は、ホイルを介して圧出した後、無傷のままである傾向を調べるための試験を実施した後の錠剤または錠剤の断片の例を示す。図9aは、5μmのホイルを介して圧出したとき無傷のままである錠剤30を示す。図9bは、同一試験にかけたときに断片化した錠剤30”を示す。
K=2R/D
相対曲率の値が高いほど、表面は扁平である。この試験で使用した球は約1.0の相対曲率Kを有していた。偏球は、約1.2の相対曲率Kを有しており、扁平な錠剤は不確定な大きさの相対曲率Kを有していた。1〜1.2の範囲のK値が最適であると結論づけることができる。
Claims (14)
- 薬物を含有する速崩壊錠の製造方法であって、
薬物を含む流動性処方物を用意するステップと、
少なくとも1つのキャビティが形成されている固体エレメントを用意するステップと、
固体エレメントを流動性処方物の凍結温度より下の温度まで冷却するステップと、
固体エレメントの冷却後、キャビティに流動性処方物を充填するステップと、
キャビティに存在している間に流動性処方物を固化して、固体ペレットの全表面を能動的に成形することなく薬物を含む固体ペレットを形成するステップと、
固体ペレットをキャビティから取り出すステップと、
固体ペレットを真空中で乾燥して速崩壊錠を得るステップとを含んでおり、
キャビティの容量が、ペレットの容量の50%より小さい、前記方法。 - 流動性処方物から熱を、キャビティ壁を介して伝導により抽出することにより、流動性処方物を冷却する、請求項1に記載の方法。
- ペレットの容量が、キャビティに充填するときに使用される温度及び圧力で、流動性処方物の自由液滴の最大容量よりも大きい、請求項1または2に記載の方法。
- キャビティに流動性処方物を充填する速度が、固体ペレットをキャビティから取り出す前のキャビティ内にある固体ペレットの部分の表面が、本質的にキャビティの表面のネガティブプリントであるように選択される、請求項3に記載の方法。
- キャビティ内にある固体ペレットの部分の断面が、キャビティの入口のキャビティの断面よりも小さい、請求項1から4のいずれかに記載の方法。
- キャビティの容量が、ペレットの容量よりも小さい、請求項1から5のいずれかに記載の方法。
- 固体ペレットのキャビティ壁からの自動脱離を補助する手段を講ずる、請求項1から6のいずれかに記載の方法。
- キャビティが、固体エレメントに形成されており、固体エレメントの温度を流動性処方物の凍結温度よりも十分に低く保持することにより自動脱離が補助される、請求項7に記載の方法。
- 固体ペレットに押圧力を加えることにより、該固体ペレットをキャビティから取り出す、請求項8に記載の方法。
- 固体ペレットを接線方向の力を用いてキャビティから押し出す、請求項9に記載の方法。
- 複数の固体ペレットを真空中で乾燥する前に、該固体ペレットを詰め込んだベッドの形で配置する、請求項1から10のいずれかに記載の方法。
- 固体ペレットを底壁及び側壁を有する熱伝導性コンテナに詰め込み、熱源を、詰め込んだ固体ペレットの上層の上方に設け、熱源が、ベッドの上層に向けられた表面を有しており、前記熱源の表面は、少なくとも0.4の輻射率係数を有しており、その後、固体ペレットの乾燥を補助するように粒子に対して熱を与えるために少なくともコンテナの底部及び前記表面を加熱しながら、固体ペレットを真空にかける、請求項11に記載の方法。
- 請求項1から12のいずれかに記載の方法を実施するためのシステムであって、
複数のキャビティを備えたエレメントと、
各キャビティに薬物を含む流動性処方物を充填するための充填ユニットと、
薬物を含む固体ペレットが、流動性処方物の凍結時に各キャビティで形成され得るように、前記エレメントを流動性処方物の凍結温度より下に冷却するための冷却ユニットと、
固体ペレットをそれぞれのキャビティから押し出すための押しエレメントと、
固体ペレットを真空中で乾燥して、液体と接触すると崩壊する速崩壊錠を形成するためのチャンバとを含んでおり、
固体ペレットが接線方向の力を用いてキャビティから押し出される、前記システム。 - 薬物を含有する少なくとも1つの速崩壊錠を有するコンテナを含むパッケージであって、前記速崩壊錠が、該速崩壊錠が包装されているコンテナとは異なるキャビティで、請求項1から12のいずれかに記載の方法を用いて形成される、パッケージ。
Applications Claiming Priority (5)
| Application Number | Priority Date | Filing Date | Title |
|---|---|---|---|
| US17363109P | 2009-04-29 | 2009-04-29 | |
| EP09159040 | 2009-04-29 | ||
| US61/173,631 | 2009-04-29 | ||
| EP09159040.6 | 2009-04-29 | ||
| PCT/EP2010/055679 WO2010125084A1 (en) | 2009-04-29 | 2010-04-28 | Process to form a tablet and apparatus suitable for applying this process |
Publications (2)
| Publication Number | Publication Date |
|---|---|
| JP2012525175A JP2012525175A (ja) | 2012-10-22 |
| JP5620976B2 true JP5620976B2 (ja) | 2014-11-05 |
Family
ID=41110766
Family Applications (1)
| Application Number | Title | Priority Date | Filing Date |
|---|---|---|---|
| JP2012507722A Active JP5620976B2 (ja) | 2009-04-29 | 2010-04-28 | 錠剤を形成するための方法及び前記方法を適用するのに適した装置 |
Country Status (10)
| Country | Link |
|---|---|
| EP (1) | EP2424485B1 (ja) |
| JP (1) | JP5620976B2 (ja) |
| CN (1) | CN102413808B (ja) |
| AR (1) | AR076464A1 (ja) |
| BR (1) | BRPI1016215C1 (ja) |
| ES (1) | ES2558852T3 (ja) |
| HU (1) | HUE027459T2 (ja) |
| RU (1) | RU2529785C2 (ja) |
| TW (1) | TWI468157B (ja) |
| WO (1) | WO2010125084A1 (ja) |
Families Citing this family (31)
| Publication number | Priority date | Publication date | Assignee | Title |
|---|---|---|---|---|
| US8097245B2 (en) | 2005-12-28 | 2012-01-17 | Advanced Bionutrition Corporation | Delivery vehicle for probiotic bacteria comprising a dry matrix of polysaccharides, saccharides and polyols in a glass form and methods of making same |
| EP2435554B1 (en) | 2009-05-26 | 2017-07-26 | Advanced Bionutrition Corporation | Stable dry powder composition comprising biologically active microorganisms and/or bioactive materials and methods of making |
| US9504750B2 (en) | 2010-01-28 | 2016-11-29 | Advanced Bionutrition Corporation | Stabilizing composition for biological materials |
| EP2529004B1 (en) | 2010-01-28 | 2017-06-07 | Advanced Bionutrition Corporation | Dry glassy composition comprising a bioactive material |
| BR112013015009B1 (pt) | 2010-12-22 | 2020-11-10 | Intervet International B.V | vacina para proteger um animal contra uma doença clínica decorrente de uma infecção com bordetella bronchiseptica |
| US8192659B1 (en) * | 2011-09-12 | 2012-06-05 | On Demand Therapeutics, Inc. | Methods of making microtablets for drug delivery |
| BR112014009565A2 (pt) | 2011-10-21 | 2017-04-18 | Intervet Int Bv | vírus da doença de marek não patogênico recombinante, ácido nucleico recombinante, vacina, e, método para ajudar na proteção de um frango contra vírus |
| CN103874508A (zh) | 2011-10-21 | 2014-06-18 | 英特维特国际股份有限公司 | 提供多价免疫的重组非致病性mdv载体 |
| CN102755253A (zh) * | 2012-01-17 | 2012-10-31 | 海南卫康制药(潜山)有限公司 | 制造在相连的盛药皿包装内冷冻干燥片剂的方法 |
| WO2013114400A2 (en) * | 2012-01-20 | 2013-08-08 | Rubicon Research Private Limited | Compressed pharmaceutical compositions of atypical antipsychotics |
| CA2866889C (en) * | 2012-03-23 | 2021-08-31 | Advanced Bionutrition Corporation | Stabilizing composition for biological materials |
| US20140017318A1 (en) * | 2012-07-10 | 2014-01-16 | Kevin O'Connell | Method to produce a medicinal product comprising a biologically active protein and the resulting product |
| US9314519B2 (en) | 2012-08-21 | 2016-04-19 | Intervet Inc. | Liquid stable virus vaccines |
| JP6196677B2 (ja) | 2012-10-26 | 2017-09-13 | インターベット インターナショナル ベー. フェー. | 交差防御性サルモネラワクチン |
| US9597291B2 (en) | 2012-12-11 | 2017-03-21 | Alfred E. Tiefenbacher (Gmbh & Co. Kg) | Orally disintegrating tablet containing asenapine |
| US9480739B2 (en) | 2013-03-15 | 2016-11-01 | Intervet Inc. | Bovine virus vaccines that are liquid stable |
| US9393298B2 (en) | 2013-03-15 | 2016-07-19 | Intervet Inc. | Liquid stable bovine virus vaccines |
| AR097762A1 (es) | 2013-09-27 | 2016-04-13 | Intervet Int Bv | Formulaciones secas de vacunas que son estables a temperatura ambiente |
| AR099470A1 (es) | 2014-02-17 | 2016-07-27 | Intervet Int Bv | Vacunas de virus de aves de corral líquidas |
| TWI670085B (zh) | 2014-02-19 | 2019-09-01 | 荷蘭商英特威國際公司 | 液體穩定之豬病毒疫苗 |
| WO2015162273A1 (en) | 2014-04-25 | 2015-10-29 | Merck Sharp & Dohme Bv | A method to dry multiple individual frozen bodies and a system for applying this method |
| BR112018001784B1 (pt) | 2015-07-29 | 2022-05-10 | Advanced Bionutrition Corp | Composições probióticas secas estáveis para usos dietéticos especiais, seu método de preparação e método de preparação de uma fórmula para bebês |
| CN106551804B (zh) * | 2015-09-30 | 2022-04-26 | 董玲 | 一种使用滚模制备冻干赋形制剂的方法及其产品 |
| EP3471766B1 (en) | 2016-06-17 | 2022-12-14 | Intervet International B.V. | Recombinant non-pathogenic marek's disease virus constructs encoding infectious laryngotracheitis virus and infectious bursal disease virus antigens |
| JP2019002652A (ja) * | 2017-06-19 | 2019-01-10 | 株式会社島川製作所 | 真空加熱炉 |
| WO2019072964A1 (en) | 2017-10-12 | 2019-04-18 | Intervet International B.V. | Recombinant non-pathogenic marek's disease virus constructs encoding multiple heterologous antigens |
| SG11202012860WA (en) | 2018-06-29 | 2021-01-28 | Univ Gent | Freezing, drying and/or freeze-drying of product dose units |
| KR102281776B1 (ko) * | 2019-09-10 | 2021-07-27 | 주식회사 제네웰 | 동결건조용 몰드 및 이를 사용하는 수용성 고분자 구의 제조방법 |
| CN111888257B (zh) * | 2020-08-25 | 2022-11-22 | 泉州烜之璟医疗设备有限公司 | 一种天麻制丸设备 |
| RU2755154C1 (ru) * | 2021-02-26 | 2021-09-13 | Екатерина Сергеевна Стаценко | Способ получения пищевой добавки на основе сои |
| CN113137835A (zh) * | 2021-05-18 | 2021-07-20 | 甘肃省方熙药业科技有限公司 | 一种紫草干燥加工方法 |
Family Cites Families (11)
| Publication number | Priority date | Publication date | Assignee | Title |
|---|---|---|---|---|
| US2552027A (en) * | 1948-01-17 | 1951-05-08 | American Cyanamid Co | Casting gelatin tablets |
| US3545097A (en) * | 1968-12-09 | 1970-12-08 | Pennwalt Corp | High thermal conductivity plastic tray for freeze drying of products |
| US5079018A (en) * | 1989-08-14 | 1992-01-07 | Neophore Technologies, Inc. | Freeze dry composition and method for oral administration of drugs, biologicals, nutrients and foodstuffs |
| DK0617613T3 (da) * | 1991-12-20 | 1996-06-17 | Pfizer | Porøse formgivne afgivelsesindretninger og fremgangsmåde til fremstilling deraf |
| US5382437A (en) * | 1993-10-25 | 1995-01-17 | Hunter Research Corporation | Frozen liquified gas composition and method for oral administration of drugs, biologicals, nutrients and foodstuffs |
| AU713062B2 (en) * | 1996-06-17 | 1999-11-25 | Janssen Pharmaceutica N.V. | Biconvex rapidly disintegrating dosage forms |
| US20060057207A1 (en) * | 2001-11-30 | 2006-03-16 | Pfizer Inc | Fast-disintegrating dosage forms of 5,8,14-triazatetracyclo[10.3.1.02,11.04,9]-hexadeca-2(11),3,5,7,9-pentaene |
| JP3981569B2 (ja) * | 2002-02-26 | 2007-09-26 | 天野実業株式会社 | 乾燥装置 |
| PT1501534E (pt) * | 2002-05-07 | 2006-09-29 | Ferring Bv | Formulacoes farmaceuticas |
| FR2868520B1 (fr) * | 2004-04-06 | 2006-07-07 | Millennium Energy Sa | Installation de deshydratation par zeolithes |
| US20070048369A1 (en) * | 2005-08-26 | 2007-03-01 | National Starch And Chemical Investment Holding Corporation | Mucosal delivery tablet |
-
2010
- 2010-04-26 TW TW99113081A patent/TWI468157B/zh active
- 2010-04-27 AR ARP100101407A patent/AR076464A1/es active IP Right Grant
- 2010-04-28 BR BRPI1016215A patent/BRPI1016215C1/pt active IP Right Grant
- 2010-04-28 JP JP2012507722A patent/JP5620976B2/ja active Active
- 2010-04-28 RU RU2011148341/15A patent/RU2529785C2/ru active
- 2010-04-28 ES ES10718551.4T patent/ES2558852T3/es active Active
- 2010-04-28 EP EP10718551.4A patent/EP2424485B1/en active Active
- 2010-04-28 CN CN201080018720.0A patent/CN102413808B/zh active Active
- 2010-04-28 WO PCT/EP2010/055679 patent/WO2010125084A1/en not_active Ceased
- 2010-04-28 HU HUE10718551A patent/HUE027459T2/en unknown
Also Published As
| Publication number | Publication date |
|---|---|
| BRPI1016215B8 (pt) | 2021-03-30 |
| AR076464A1 (es) | 2011-06-15 |
| TW201103529A (en) | 2011-02-01 |
| BRPI1016215A2 (pt) | 2016-04-26 |
| TWI468157B (zh) | 2015-01-11 |
| WO2010125084A1 (en) | 2010-11-04 |
| BRPI1016215B1 (pt) | 2021-01-05 |
| EP2424485B1 (en) | 2015-11-04 |
| RU2011148341A (ru) | 2013-06-10 |
| CN102413808B (zh) | 2015-02-18 |
| ES2558852T3 (es) | 2016-02-09 |
| EP2424485A1 (en) | 2012-03-07 |
| RU2529785C2 (ru) | 2014-09-27 |
| HUE027459T2 (en) | 2016-09-28 |
| BRPI1016215C1 (pt) | 2021-05-25 |
| CN102413808A (zh) | 2012-04-11 |
| BRPI1016215A8 (pt) | 2018-01-02 |
| JP2012525175A (ja) | 2012-10-22 |
Similar Documents
| Publication | Publication Date | Title |
|---|---|---|
| JP5620976B2 (ja) | 錠剤を形成するための方法及び前記方法を適用するのに適した装置 | |
| JP5620977B2 (ja) | ヒトに使用するための口腔内崩壊錠の形成方法 | |
| AU713062B2 (en) | Biconvex rapidly disintegrating dosage forms | |
| PT101139B (pt) | Artigos medicamentosos para administracao conformados e porosos e processos para a sua preparacao | |
| dos Santos Garcia et al. | Orally disintegrating films of biopolymers for drug delivery | |
| Aarti et al. | Orodispersible tablets: A comprehensive review | |
| HK1019200B (en) | Biconvex rapidly disintegrating dosage forms | |
| MXPA98010822A (en) | Biconvexas forms of dosage that disappear rapidame | |
| Solan | INTERNATIONALE PHARMACEUTICA SCIENCIA | |
| Supe et al. | A REVIEW ON MOUTH DISSILVING TABLET. | |
| KR20000015849A (ko) | 양쪽 볼록형 급속붕괴 제형_ |
Legal Events
| Date | Code | Title | Description |
|---|---|---|---|
| A621 | Written request for application examination |
Free format text: JAPANESE INTERMEDIATE CODE: A621 Effective date: 20121121 |
|
| A977 | Report on retrieval |
Free format text: JAPANESE INTERMEDIATE CODE: A971007 Effective date: 20131126 |
|
| A131 | Notification of reasons for refusal |
Free format text: JAPANESE INTERMEDIATE CODE: A131 Effective date: 20140107 |
|
| A521 | Request for written amendment filed |
Free format text: JAPANESE INTERMEDIATE CODE: A523 Effective date: 20140331 |
|
| RD03 | Notification of appointment of power of attorney |
Free format text: JAPANESE INTERMEDIATE CODE: A7423 Effective date: 20140404 |
|
| RD04 | Notification of resignation of power of attorney |
Free format text: JAPANESE INTERMEDIATE CODE: A7424 Effective date: 20140408 |
|
| TRDD | Decision of grant or rejection written | ||
| A01 | Written decision to grant a patent or to grant a registration (utility model) |
Free format text: JAPANESE INTERMEDIATE CODE: A01 Effective date: 20140826 |
|
| A61 | First payment of annual fees (during grant procedure) |
Free format text: JAPANESE INTERMEDIATE CODE: A61 Effective date: 20140919 |
|
| R150 | Certificate of patent or registration of utility model |
Ref document number: 5620976 Country of ref document: JP Free format text: JAPANESE INTERMEDIATE CODE: R150 |
|
| R153 | Grant of patent term extension |
Free format text: JAPANESE INTERMEDIATE CODE: R153 |
|
| R250 | Receipt of annual fees |
Free format text: JAPANESE INTERMEDIATE CODE: R250 |
|
| R250 | Receipt of annual fees |
Free format text: JAPANESE INTERMEDIATE CODE: R250 |
|
| R250 | Receipt of annual fees |
Free format text: JAPANESE INTERMEDIATE CODE: R250 |
|
| R250 | Receipt of annual fees |
Free format text: JAPANESE INTERMEDIATE CODE: R250 |
|
| R250 | Receipt of annual fees |
Free format text: JAPANESE INTERMEDIATE CODE: R250 |
|
| R250 | Receipt of annual fees |
Free format text: JAPANESE INTERMEDIATE CODE: R250 |
|
| R250 | Receipt of annual fees |
Free format text: JAPANESE INTERMEDIATE CODE: R250 |
|
| R250 | Receipt of annual fees |
Free format text: JAPANESE INTERMEDIATE CODE: R250 |
|
| R250 | Receipt of annual fees |
Free format text: JAPANESE INTERMEDIATE CODE: R250 |
