JP5551908B2 - 脱着可能な塗料カートリッジを備えた静電塗装機 - Google Patents

脱着可能な塗料カートリッジを備えた静電塗装機 Download PDF

Info

Publication number
JP5551908B2
JP5551908B2 JP2009218332A JP2009218332A JP5551908B2 JP 5551908 B2 JP5551908 B2 JP 5551908B2 JP 2009218332 A JP2009218332 A JP 2009218332A JP 2009218332 A JP2009218332 A JP 2009218332A JP 5551908 B2 JP5551908 B2 JP 5551908B2
Authority
JP
Japan
Prior art keywords
paint
cartridge
coating machine
bag
valve
Prior art date
Legal status (The legal status is an assumption and is not a legal conclusion. Google has not performed a legal analysis and makes no representation as to the accuracy of the status listed.)
Expired - Fee Related
Application number
JP2009218332A
Other languages
English (en)
Other versions
JP2011067711A (ja
Inventor
隆次 谷
貞夫 猪野瀬
Current Assignee (The listed assignees may be inaccurate. Google has not performed a legal analysis and makes no representation or warranty as to the accuracy of the list.)
Carlisle Fluid Technologies Ransburg Japan KK
Original Assignee
Ransburg Industrial Finishing KK
Priority date (The priority date is an assumption and is not a legal conclusion. Google has not performed a legal analysis and makes no representation as to the accuracy of the date listed.)
Filing date
Publication date
Application filed by Ransburg Industrial Finishing KK filed Critical Ransburg Industrial Finishing KK
Priority to JP2009218332A priority Critical patent/JP5551908B2/ja
Priority to TW099131664A priority patent/TW201119745A/zh
Priority to PCT/JP2010/066334 priority patent/WO2011037112A1/ja
Priority to CN201080042982.0A priority patent/CN102639249B/zh
Priority to KR1020127010206A priority patent/KR20120072374A/ko
Publication of JP2011067711A publication Critical patent/JP2011067711A/ja
Application granted granted Critical
Publication of JP5551908B2 publication Critical patent/JP5551908B2/ja
Expired - Fee Related legal-status Critical Current
Anticipated expiration legal-status Critical

Links

Images

Classifications

    • BPERFORMING OPERATIONS; TRANSPORTING
    • B05SPRAYING OR ATOMISING IN GENERAL; APPLYING FLUENT MATERIALS TO SURFACES, IN GENERAL
    • B05BSPRAYING APPARATUS; ATOMISING APPARATUS; NOZZLES
    • B05B12/00Arrangements for controlling delivery; Arrangements for controlling the spray area
    • B05B12/14Arrangements for controlling delivery; Arrangements for controlling the spray area for supplying a selected one of a plurality of liquids or other fluent materials or several in selected proportions to a spray apparatus, e.g. to a single spray outlet
    • B05B12/1463Arrangements for controlling delivery; Arrangements for controlling the spray area for supplying a selected one of a plurality of liquids or other fluent materials or several in selected proportions to a spray apparatus, e.g. to a single spray outlet separate containers for different materials to be sprayed being moved from a first location, e.g. a filling station, where they are fluidically disconnected from the spraying apparatus, to a second location, generally close to the spraying apparatus, where they are fluidically connected to the latter
    • BPERFORMING OPERATIONS; TRANSPORTING
    • B05SPRAYING OR ATOMISING IN GENERAL; APPLYING FLUENT MATERIALS TO SURFACES, IN GENERAL
    • B05BSPRAYING APPARATUS; ATOMISING APPARATUS; NOZZLES
    • B05B5/00Electrostatic spraying apparatus; Spraying apparatus with means for charging the spray electrically; Apparatus for spraying liquids or other fluent materials by other electric means
    • B05B5/16Arrangements for supplying liquids or other fluent material
    • BPERFORMING OPERATIONS; TRANSPORTING
    • B05SPRAYING OR ATOMISING IN GENERAL; APPLYING FLUENT MATERIALS TO SURFACES, IN GENERAL
    • B05BSPRAYING APPARATUS; ATOMISING APPARATUS; NOZZLES
    • B05B15/00Details of spraying plant or spraying apparatus not otherwise provided for; Accessories
    • B05B15/50Arrangements for cleaning; Arrangements for preventing deposits, drying-out or blockage; Arrangements for detecting improper discharge caused by the presence of foreign matter

Landscapes

  • Electrostatic Spraying Apparatus (AREA)
  • Spray Control Apparatus (AREA)

Description

本発明は、一般的には、静電塗装機に関し、より詳しくは、脱着可能な塗料カートリッジを備えた静電塗装機に関する。
水性塗料、メタリック塗料などの導電性塗料に適した静電塗装機として、塗料カートリッジ式の静電塗装機が知られている。塗料カートリッジ式静電塗装機は、塗装機本体に脱着可能に装着される塗料カートリッジを有し、この塗料カートリッジに収容されている導電性塗料を使って自動車ボディなどの塗装が行われる。塗料カートリッジ式静電塗装機は、高電圧が導電性塗料を通じて外部へリークするのを遮断することができるという利点がある。
外部の塗料源から塗料の供給を受ける伝統的な静電塗装機は、回転霧化頭(いわゆる「ベルカップ」)を備えた回転霧化式塗装機と、スプレー式塗装機とに大別されるが、この両者の方式の塗装機に塗料カートリッジが適用されるのは勿論である。
塗料カートリッジは、塗料カセット又は塗料タンクユニットとも呼ばれているが、大別すると、第1に、ピストンで塗料を押し出すピストン式(特許文献1〜3)と、第2に、塗料バッグに圧力を加えて塗料バッグを押し潰すことで塗料バッグから塗料を押し出す塗料バッグ式(特許文献4〜7)とに分類することができる。
具体的には、特許文献1〜3のピストン式塗料カートリッジは、ピストンで画成される塗料収容室と、ピストンを挟んで、塗料収容室とは反対側の作動液室とを有し、作動液室に作動液(典型的にはシンナーなどの非導電性液体)を供給してピストンを押し下げることで塗料収容室の塗料を塗料カートリッジから押出し、この塗料をフィードチューブを通じてベルカップに供給する。なお、特許文献1〜3の塗料カートリッジは、塗装機本体に挿入可能なフィードチューブを備えていることから、フィードチューブ付き塗料カートリッジと呼ぶこともできる。
特許文献4は、前述したように、塗料収容室を形成する塗料バッグを備えた塗料カートリッジを開示するものであるが、この特許文献4の塗料カートリッジは、塗装機本体に挿入可能なフィードチューブを備えている。したがって、この特許文献4に開示の塗料カートリッジもフィードチューブ付き塗料カートリッジと呼ぶことができる。特許文献4は、塗料バッグを押し潰す方法として、2つのやり方を開示している。その一つは、塗料バッグの周囲に作動液を供給して、この作動液で塗料バッグに直接的に圧力を加えて塗料バッグを押し潰す方法である。他の一つは、塗料バッグに隣接し且つ作動液室を形成する作動液バッグを用意し、この作動液バッグに作動液を供給して作動液バッグを拡張させ、この拡張する作動液バッグで塗料バッグに圧力を加えて塗料バッグを押し潰す方法である。
特許文献5は、塗料バッグ及び作動液バッグを備えた塗料カートリッジにおいて、塗料バッグと作動液バッグとの接触面を互いに連結して、塗料バッグと作動液バッグとの相対的な変位を防止することを提案している。また、この特許文献5は、塗料バッグと作動液バッグとの隙間を第3の液体で満たすことを提案している。
特許文献6は、塗料バッグを備えた塗料カートリッジの外側ケースを透明な硬質プラスチックであるナイロン樹脂で作ることで、内部の様子を観察できるようにした塗料カートリッジを提案している。また、この特許文献6は、塗料バッグも透明な樹脂で構成することを開示している。
特許文献7は、フィードチューブ無しのバッグ式塗料カートリッジを開示している。このバッグ式塗料カートリッジは、塗料カートリッジの塗料出口ポートを構成するスリーブを有し、このスリーブに、ボール弁(可動弁)で構成された一方向弁が取り付けられている。この塗料カートリッジが搭載される塗装機本体は、この塗装機本体内の塗料通路の上流端を開け閉めするシャッターを有している。また、塗装機本体は、外部から洗浄液の供給を受ける洗浄液供給通路を有し、シャッターが閉じ状態のときに、このシャッターで形成される連結通路(「シャッター通路」という)を介して、上記洗浄液供給通路が上記塗料通路に連通される。
洗浄液供給通路の途中に開閉弁が介装されている。この開閉弁は上記シャッターと機械的に連係されている。シャッターが開くと開閉弁が閉じ、シャッターが閉じると開閉弁が開放される。バッグ式塗料カートリッジを塗装機本体に搭載するとシャッターが開いて、カートリッジの塗料出口ポートが塗装機本体内の塗料通路に連通する。これにより、カートリッジ(塗料バッグ)から塗料を塗装機本体に供給することができる。塗料カートリッジが空になり、塗料カートリッジを塗装機本体から取り外すとシャッターが閉じ、また、このシャッターの閉じ動作に連動して洗浄液開閉弁が開く。上述したように、閉じ状態のシャッターによってシャッター通路が形成され、このシャッター通路を介して洗浄液供給通路と塗料通路とが連通される。塗料カートリッジを取り外した状態で、外部から洗浄液を塗装機本体(洗浄液供給通路)に供給すると、この洗浄液によって塗装機本体内の塗料通路を清浄化することができる。
なお、作動液を使って塗料を押し出す方法として、特許文献8に記載の膜ポンプが知られている。この特許文献8の膜ポンプは塗料カートリッジに関するものでない。しかし、膜ポンプのケースは、その一端面に開口した塗料ポートと、他端面に開口した作動液ポートとを有し、ケースの内部は、伸縮可能な膜によって塗料収容室と作動液室とに区画されている。作動液ポートを通じて作動液を作動液室に供給することで、塗料収容室に充填された塗料が塗料ポートを通じて流出し、流出した塗料は静電塗装機に供給される。したがって、特許文献8の膜ポンプの原理は塗料カートリッジに適用可能である。
塗装機本体に脱着可能な塗料カートリッジは、これが収容できる塗料の量は有限である。このため、例えば1台の自動車ボディの塗装が終了すると、次の自動車ボディの塗装のために塗料カートリッジの交換が行われる。
特許文献9は、静電塗装機を備えた塗装ロボットの塗料カートリッジの交換に関する技術開示を行っている。具体的には、一台の自動車ボディの塗装が終わると、塗料カートリッジ交換ステーションにおいて、使用済みの塗料カートリッジを塗装機本体から取り外し、次いで、新しい塗料カートリッジを塗装機本体に装着する。つまり、塗料カートリッジの交換である。そして、塗装ロボットが自動車ボディの塗装を行っている最中に、塗料カートリッジ交換ステーションでは、使用済みの塗料カートリッジに塗料を充填する作業が行われ、塗料を充填した塗料カートリッジは再利用のためにストックされる。
空になった塗料カートリッジに塗料を充填して再利用することに関し、ピストン式の塗料カートリッジでは色替えが実際に実施されている。すなわち、ピストン式の塗料カートリッジは、同じ色の塗料を充填することも行われるが、特許文献1、2に詳しく説明されているとおり、塗料カートリッジの内部(塗料収容室)を洗浄して別の色の塗料を充填することも行われる。いわゆる色替えである。特許文献1に開示の塗料カートリッジにあっては、この塗料カートリッジの洗浄は、先ず、塗料収容室の最深部よりも少し手前までピストンを押し下げて、塗料カートリッジに収容されている塗料を排出する。ピストンを最深部まで押し下げることなく、その少し手前でピストンを停止するのは、ピストンを塗料収容室の最深部つまり塗料収容室の底壁まで押し下げると、洗浄液を塗料収容室の中に入れても、この塗料収容室の内部で洗浄液が流動できなくなるためである。(特許文献1の明細書の段落[0153])
この状態つまりピストンを最深部よりも少し手前の位置に位置決めした状態で、塗料収容室の底壁に開口している洗浄液供給ポートを通じて塗料収容室に洗浄液が供給され、この洗浄液は、塗料収容室つまり最深部よりも少し手前の位置に位置決めしたピストンで規定される塗料収容室の内部を流動した後に、フィードチューブを通じて外部に排出される。
特許文献2は、ピストン式塗料カートリッジの洗浄に関して、上記特許文献1の塗料カートリッジの問題点を指摘している。特許文献1は、上述したように、ピストンを最深部よりも少し手前の位置に位置決めして、このピストンで規定される塗料収容室の内部を洗浄することを提案するものであるが、その問題点として、特許文献2は、この特許文献1の方法では、塗料カートリッジの底部の洗浄液供給ポートを通じて塗料収容室に供給される洗浄液の流れが乱流となって、塗料収容室の内部を均等に洗浄できないと指摘している。特許文献2によれば、特に、ピストンの側面と塗料収容室の側壁との間の隙間に入り込んでいる塗料を洗い落とすのが難しく、これを洗い落とすのに時間を要するという問題点を指摘している。そして、特許文献1の問題点を解決するために、特許文献2は、塗料収容室の底壁に、当該底壁の中心部に向けて径方向に延びる溝を形成することを提案している。
JP特開2002−11396号公報 JP特開2004−42036号公報 JP特開平08−229446号公報 JP特開2005−87810号公報 JP特開2005−296750号公報 JP特開2006−347606号公報 JP特開2006−334549号公報 JP実開平04−87759号公報 JP特開2000−317354号公報
塗料カートリッジ式静電塗装機は自動車ボディの塗装で実用化されている。そして、自動車ボディの塗装を行うのに、静電塗装機をアームに装着した塗装ロボットが活用されているのは周知のとおりである。静電塗装機の色替えの際には、特許文献7に開示のように塗装機本体の洗浄が行われる。
なお、塗料カートリッジの色替えに関して、ピストン式の塗料カートリッジについては、上述したように内部洗浄を行って別の色の塗料を充填することが実際に行われている。しかし、バッグ式の塗料カートリッジでは、同じ色の塗料に限定して再利用されているだけであり、塗装機本体から取り外した塗料カートリッジの塗料がA色の塗料であったとすると、このA色の塗料が塗料カートリッジに充填される。
静電塗装機本体の洗浄に関し、前述したように、塗装機本体から塗料カートリッジを取り外した状態で行われる(特許文献7)。塗装機本体の洗浄で問題になるのが、塗装機本体と塗料カートリッジとの連結部分の洗浄である。特許文献7にあっては、塗装機本体の上端にシャッターを設け、このシャッターを閉じることで塗装機本体の上端面つまり塗料カートリッジとの連結部分に付加的な洗浄通路を形成することを提案している。
しかしながら、特許文献7の提案は、シャッターを塗料カートリッジの脱着に連動させる機械的な機構が必要であり、また、シャッター周りのシール性を確保する必要があるなど塗装機本体の構造が複雑になる。このことは塗装機本体の製造コストが上昇してしまう要因になる。
本発明の目的は、簡単な構成でありながら、塗装機本体と塗料カートリッジとの連結部分つまり塗料カートリッジの塗料出口を含めて塗装機本体の塗料通路を洗浄することのできる塗料カートリッジ付き静電塗装機を提供することにある。
上記の技術的課題は、本発明によれば、
塗装機本体に対して脱着可能な塗料カートリッジを備え、前記塗装機本体が前記塗料カートリッジから供給される塗料を受け取ってワークに対する塗装を行う静電塗装機において、
前記塗料カートリッジが、
(i)該塗料カートリッジの前記塗料の出口を構成し且つ上下に変位可能なスリーブと、
(ii)該スリーブを下方に向けて付勢する第1のバネと、
(iii)前記スリーブに設けられ且つ塗料通路の出口を開閉する塗料開閉弁と、を有し、
前記塗装機本体が、
(i)前記スリーブを受け入れる凹所と、
(ii)該凹所の底面に開放した開口を有し、該開口を通じて前記塗料カートリッジからの塗料を受け入れる塗料通路と、
(iii)外部からの洗浄液を受け入れて該洗浄液を前記凹所の近傍である前記塗料通路の上端部に導く洗浄液供給通路と、
(iv)前記凹所の底面に配設され且つ前記塗料通路の上端開口の外周部分に設けられたシールリングと、を有し、
前記塗料カートリッジが前記塗装機本体に装着されたときに、前記第1のバネのバネ力によって前記スリーブの下端面が前記シールリングに押し付けられることを特徴とする静電塗装機を提供することにより達成される。
本発明のカートリッジ式静電塗装機によれば、色替えの際に、塗装機本体に塗料カートリッジを装着した状態で塗装機本体内の塗料通路の洗浄が行われる。すなわち、本発明の静電塗装機では、塗料カートリッジの塗料は、上記スリーブで構成される塗料出口を通じて塗装機本体に供給される。塗料カートリッジの出口と、塗装機本体の塗料通路の上端開口との間の連結部位は上記シールリングでシールされている。したがって、塗料カートリッジから出た塗料が、塗料カートリッジと塗装機本体との連結部位を汚染するのを防止することができる。また、色替えの際には、塗料カートリッジの塗料開閉弁を閉じ状態にした後に、外部から洗浄液を塗装機本体内に導入することで、塗装機本体内に入り込んだ洗浄液で、シールリングで規定される塗料カートリッジの出口近傍を含めて塗装機本体内の塗料通路を清浄化することができる。
本発明の好ましい実施形態では、塗料カートリッジの前記塗料開閉弁は、前記スリーブの下端に形成された固定弁座と、該固定弁座に着座する可動弁体と、該可動弁体を前記固定弁座に向けて付勢する第2のバネとで構成される。塗装機本体側から前進するプッシュロッドで上記可動弁体を押し上げることで、この塗料開閉弁を強制開放することができる。逆に、プッシュロッドを後退することで上記塗料開閉弁を閉じることができる。変形例として、塗料カートリッジの上記塗料開閉弁を開閉させるアクチュエータを塗料カートリッジに内蔵させてもよい。
本発明の塗料カートリッジは、従来の塗料カートリッジで採用されているフィードチューブを備えていない。したがって、塗装機本体の塗料通路に、開閉弁からなるトリガバルブ設けるのが容易になる。このトリガバルブの開閉は塗装の開始タイミング及び終了タイミングに同期して実行される。したがって、静電塗装機の塗料の噴霧の開始及び終了を塗装工程の開始及び終了のタイミングに同期させることができる。
本発明の静電塗装機は、任意の種類の塗料カートリッジを採用することができる。具体的には、塗料カートリッジはピストンによって塗料を押し出すピストン式カートリッジであってもよいし、塗料バッグを押し潰すことで塗料を押し出すバッグ式カートリッジであってもよい。また、塗料カートリッジの塗料収容室を、伸縮可能な膜で塗料収容室を形成した塗料カートリッジを採用してもよい(膜ポンプ式カートリッジ)。
本発明の他の目的及び作用効果は、以下の本発明の好ましい実施の形態の説明から明らかになろう。
塗装ロボットに取り付けた実施例のバッグ式塗料カートリッジを備えた静電塗装機の概略図であり、静電塗装機の塗装工程を示す図である。 図1の塗料カートリッジに収容される塗料バッグの正面図である。 図2のIII−III線に沿ったバッグ本体の横断面図である。 図2のIV−IV線に沿った上端口部の横断面図である。 塗料カートリッジの塗料バッグの下端口部に通じる塗料通路の下端に設けられた一方向弁の詳細図であり、塗装機本体に塗料カートリッジを固定した状態を示す。 図5に対応する図であり、塗装機本体側のプッシュロッド付きアクチュエータによって、塗料カートリッジの塗料通路の下端に設けられた一方向弁を強制開放した状態を示す図である。 塗料カートリッジの密閉空間に通じる作動液供給通路の下端に設けた一方向弁を強制開放するためのプッシュロッド付きアクチュエータの詳細図である。 図7の要部を抽出した要部拡大図であり、塗料カートリッジの作動液供給通路の一方向弁がプッシュロッドによって強制開放することが可能であることを説明するための図である。 塗料カートリッジの塗料を使い切った後に、この塗料カートリッジを装着したままで塗装機本体の塗料供給通路を洗浄する工程を説明するための図である。 塗装機本体の洗浄が完了した後に、塗装機本体から取り外した空の塗料カートリッジを塗料バッグ洗浄ステーションの所定の位置に固定して塗料バッグの内部を洗浄する工程を説明するための図である。 塗料カートリッジを洗浄した後に塗料バッグに塗料を充填する工程を説明するための図である。 塗料カートリッジの洗浄方法の変形例を説明するための図であり、また、塗料バッグの変形例を説明するための図である。 本発明が適用可能な、作動液バッグを備えた塗料カートリッジの洗浄方法を説明するための図である。 本発明が適用可能な、作動液バッグを備えた塗料カートリッジの他の洗浄方法を説明するための図である。 本発明をピストン式の塗料カートリッジの洗浄にも適用可能であることを説明するための図である。
以下に、添付の図面に基づいて本発明の好ましい実施例を説明する。図1は、塗装ロボットに装着された静電塗装機の概要を説明するための図である。図1において参照符号1は塗装ロボットのアームを示し、ロボットアーム1の先端には、静電塗装機2が取り付けられている。静電塗装機2は、例示的に、塗料霧化手段としてのベルカップ4を備えた回転霧化式塗装機を図示してあるが、スプレー式に対しても本発明を好適に適用することができる。
静電塗装機2は塗料カートリッジ式の塗装機である。具体的には、静電塗装機2は、ロボットアーム1の先端に固定された塗装機本体6と、塗装機本体6の上端面つまりベルカップ4とは反対側の面に搭載される塗料カートリッジ10とを有する。この塗料カートリッジ10は塗装機本体6に対して脱着可能である。
塗料カートリッジ10は、塗料を充填するための塗料収容室を構成する塗料バッグ12を有する。この塗料バッグ12に外側から圧力を加えて塗料バッグ12を押し潰して、この塗料バッグ12で形成される塗料収容室の容積を強制的に小さくすることで、塗料バッグ12の塗料を塗装機本体6に供給することができる。
塗料カートリッジ10は、塗料バッグ12を収容した密閉空間14を有し、この密閉空間14はアウターケース16によって形成されている。アウターケース16は、好ましくは、透明又は半透明の硬質の材料で作られるのがよく、典型的には透明又は半透明のプラスチック材料で作られる。
この塗料カートリッジ10は、塗料バッグ12に対して作動液で直接的に圧力を加える方式のカートリッジである。このことから塗料バッグ12の周りは作動液で満たされる。作動液は絶縁性の液体が好適に採用され、典型的には絶縁性シンナーが作動液として使用される。作動液室を構成する密閉空間14内の作動液にエアが混入するのは望ましくないことから、密閉空間14内のエアを捕獲するために、密閉空間14は、その頂部に凸形状のエア溜め14aを備えているのが好ましい。
図2は塗料バッグ12の正面図である。塗料バッグ12は、上下に開放した筒状の柔軟なプラスチック成形品である。図2を参照して具体的に説明すると、塗料バッグ12は、上下に延びる筒状のバッグ本体12aと、このバッグ本体12aの上端から上方に延びる上端口部12bと、バッグ本体12aの下端から下方に延びる下端口部12cとを有している。すなわち、塗料バッグ12は、上端及び下端の口部12b、12cを通じて上下に開放している。この塗料バッグ12は、上端口部12b及び下端口部12cが塗料カートリッジ10に固定され、密閉空間14に供給される作動液によってバッグ本体12aが横方向に押し潰される。塗料バッグ12のバッグ本体12aは、上端口部12b及び下端口部12cとの間のコーナ部分が滑らかに湾曲した形状に形作られている。
ところで、現在実施されている塗料バッグは、2枚の薄い柔軟なシートを熱融着させることで作られており、塗料バッグの内面に塗料が付着し易く、また、塗料バッグに残留する塗料の量を極力少なくすることに関して何らの配慮も無かったと言うことができる。このことから分かるように、従来のバッグ式塗料カートリッジにあっては、同じ色の塗料を充填して再利用するという考えに止まっており、塗料バッグの内部の洗浄を行って再利用するという発想は全く無かった、と言うことができる。
実施例の塗料バッグ12は、成形型を使って製造した可撓性の合成樹脂材料からなる成形品であり、塗料バッグ12の内面はシームレス且つ平滑な面で構成されている。この実施例の塗料バッグ12では、その材料として低分子ポリエチレンが採用されているが、これはブロー成形で薄肉の且つ柔軟なバッグを作るのに好適な材料が低分子ポリエチレンであったという理由による。低分子ポリエチレンは、塗料バッグ12の内部を洗浄して何回も塗料バッグ12を再利用する上で必要とされる耐久性を備えた樹脂材料である。
勿論、塗料バッグ12の材料及び成型方法は、上述した低分子ポリエチレンやブロー成形に限定されない。塗料バッグ12の内部洗浄及び洗浄時に廃棄する塗料の量を極限まで低減するには、塗料バッグ12の特性として、(1)少なくともバッグ本体12aの適度な柔軟性、(2)撥水性の内面、(3)シームレス且つ平滑な内面を有しているのがよい。したがって、この条件を満たす限り、塗料バッグ12の成型方法や樹脂材料は任意に選択できる。また、塗料バッグ12の内面に処理を施すことで、塗料バッグ12の内面に撥水性やシームレス且つ平滑性を付与するようにしてもよい。例えば、ナイロン樹脂やフッ素樹脂系のFEPは耐薬品性や自己潤滑性に優れた樹脂材料であるが、これらの樹脂を使って塗料バッグ12を作っても良い。また、例えば、FEP材料で塗料バッグ12の内面をコーティングするようにしてもよい。塗料バッグ12の内面処理の方法として、コーティング方法、ライニング方法、樹脂蒸着方法を例示的に挙げることができる。また、塗料バッグ12を適当な樹脂材料の液に浸漬することで、塗料バッグ12の内面にコーティング層を形成することもできる。
図2の塗料バッグ12は、前述したように、バッグ本体12aが横方向に潰れることで下端口部12cから塗料を押し出す設計になっている。このバッグ本体12aの潰れ特性を改善するのに必要であれば、図2、図4に仮想線で示すように、バッグ本体12aに、その長手方向に延びる単数又は複数の縦長の畝12dを一体成形してもよい。
塗料収容室を構成する塗料バッグ12は、少なくともバッグ本体12aが透明又は半透明であるのがよい。バッグ本体12aが透明又は半透明であると、バッグ本体12aの中の塗料の色や塗料の充填量を外部から目視で確認できるという利点がある。また、塗料バッグ12が損傷して塗料が漏れ出しているのを発見するのが容易になる。この利点は、作動液室(密閉空間14)を形成するアウターケース16が透明又は半透明であることが前提となる。
図3は本体12aの横断面形状を示し、図4は上端口部12bの横断面形状を示す。上端口部12bは断面円形であり、図示を省略したが下端口部12cも同様に断面円形の形状を有している。これら上端口部12b及び下端口部12cは塗料カートリッジ10に固定される。
図1に戻って、塗料カートリッジ10は、第1〜第4の4つの内部通路20、22、24、26を有している。第1の内部通路20は、塗料バッグ12の下端口部12cに連通した塗料通路である。第2の内部通路22は、作動液室を構成する密閉空間14の下端に連通した作動液供給通路である。第3の内部通路24は、塗料バッグ12の上端口部12bに連通した洗浄液供給通路である。第4の内部通路26は、密閉空間14の上端(エア溜め14a)に連通した作動液排出通路である。
第1〜第4の内部通路20〜26は、塗料カートリッジ10の下面に開口されている。塗料カートリッジ10の下面は、この塗料カートリッジ10を塗装機本体6に搭載するときに塗装機本体6に対する接触面を構成している。
第1〜第4の内部通路20〜26には、夫々、開閉弁として機能する逆止弁30、32、34、36が組み付けられている。図1では、第1〜第4の逆止弁30〜36が塗料カートリッジ10の下面から離れた位置に図示してあるが、これは作図上の理由によるものであり、第1〜第4の逆止弁30、32、34、36は、実際は、塗料カートリッジ10の下面に隣接して配設されている。開閉弁として機能する第1〜第4の逆止弁30〜36は、固定弁座と、バネ付勢された可動弁体とで構成されている。このような逆止弁は従来から周知であるので、その詳細な説明は省略するが、第1内部通路(塗料通路)20の第1逆止弁30は特別に設計した逆止弁が採用されている。第1の逆止弁30は、後に、図5、図6を参照して詳しく説明する。
引き続き図1を参照して塗装機本体6及びロボットアーム1を説明する。塗装機本体6は、その上端面つまりベルカップ4とは反対側の面に凹所40が形成され、この凹所40によって塗料カートリッジ10が受け入れられる。塗料カートリッジ10が凹所40に受け入れられると、エアによって動作するロック機構42によって、塗料カートリッジ10が塗装機本体6に固定される。
塗装機本体6は、塗料カートリッジ10から受け取った塗料をベルカップ4に供給する塗料供給通路44を有し、この塗料供給通路44にはトリガバルブ46が介装されている。このトリガバルブ46は、パイロットエアによって開閉動作する開閉弁で構成されている。図中、参照符号48はエアモータであり、このエアモータ48によってベルカップが回転駆動される。
JP特開平11−262699号公報は、特許文献1〜3と同様のピストン式塗料カートリッジを開示し、また、フィードチューブ付きの塗料カートリッジを開示するものである。このJP特開平11−262699号公報の図5には、フィードチューブの先端(下端)開口を開閉する弁機構の詳細が図示されている。フィードチューブの先端(下端)の弁機構は、上記のトリガバルブ46に相当するものであるが、JP特開平11−262699号公報の弁機構は、塗装機本体に内蔵したエアシリンダのピストンロッドがフィードチューブの上流端から挿入され、このフィードチューブの全長に亘ってピストンロッドが延在している。そして、ピストンロッドの先端部(下端部)とフィードチューブの先端部(下端部)とでニードル弁機構が構成されている。このニードル弁機構は、本願発明の実施例に含まれる上記のトリガバルブ46に対応するものである。
これに対して、本願発明の実施例では、フィードチューブ無しの塗料カートリッジ10が採用されているため、塗装機本体6の内部の塗料開閉弁として、塗装機本体6の塗料供給通路44にエア駆動式のトリガバルブ46を介装するだけの簡単な構成を採用することができる。
塗装機本体6は、塗料カートリッジ10に作動液を供給する作動液供給通路50を有し、この塗装機本体内の作動液供給通路50は、ロボットアーム1のアーム内作動液供給通路52に通じている。
ロボットアーム1の作動液供給通路52について説明すると、このアーム内作動液供給通路52は、作動液源54から供給される作動液を塗料カートリッジ10に圧力下で供給するポンプ56を有し、このポンプ56はロボットアーム1に搭載されている。ポンプ56は緻密な流量制御が可能な例えばギアポンプであるのが好ましい。ポンプ56から圧力下で供給される作動液は、ロボットアーム1又は塗装機本体6に設けられた通路切替えバルブ58を動作させることにより、塗料カートリッジ10に供給され、又は、還流通路60を通じて作動液源54に戻される。作動液源54の作動液は絶縁性の液体(典型的には絶縁シンナー)が採用される。変形例として、ポンプ56をロボットアーム1内に設置するのではなく、塗装ロボットの外部に設置して、塗料カートリッジ10に対する作動液の供給制御をロボットアーム1又は塗装機本体6に内蔵した通路切替えバルブ58によって行うようにしてもよい。
ロボットアーム1には、上記のポンプ56(ギアポンプ)の他に、高電圧発生器62が内蔵されている。高電圧発生器62で生成された高電圧はベルカップ4に印加される。勿論、高電圧発生器62を塗装機本体6に内蔵させてもよい。
図1において、参照符号64は、作動液(絶縁シンナー)に混入したエアを抜き取るためのエア抜き通路を示し、このエア抜き通路64は、エアによって駆動される開閉弁66を介して塗装機本体内作動液供給通路50に接続されている。開閉弁66を時々開弁して、塗装機本体内作動液供給通路50やアーム内作動液供給通路52の作動液を作動液源54に戻すことで、塗装機本体内作動液供給通路50やアーム内作動液供給通路52内に混入したエアを排出することができる。
注目すべき点として、塗装機本体6は洗浄液供給通路70を有する。この洗浄液供給通路70は、その一端が、塗装機本体内の上述した塗料供給通路44の上流端つまりカートリッジ受け入れ凹所40に隣接する部位で塗料供給通路44に接続されている。この塗装機本体内の洗浄液供給通路70の他端(上流端)は、塗装機本体6の上端部の側面に開口しており、この開口部分に第5の逆止弁72が配設されている。この第5の逆止弁72は、従来から周知の固定弁座と、バネ付勢された可動弁体とで構成されている。
第2に注目すべき点として、塗装機本体6は、カートリッジ受け入れ凹所40に隣接して、2つのプッシュロッド付きアクチュエータ74、76を有し、この第1、第2のアクチュエータ74、76はエアによって駆動される。第1のアクチュエータ74のプッシュロッド74a(図6)は、塗料カートリッジ10の第1の逆止弁30(塗料通路)に対して作用して第1逆止弁30を強制開放させる。第2のアクチュエータ76のプッシュロッド76aは、塗料カートリッジ10の第2の逆止弁32(作動液供給通路)に対して作用して、第2逆止弁32を強制開放させる(図8)。
図5、図6は塗料カートリッジ10の第1逆止弁30を示している。前述したように、第1逆止弁30は塗料バッグ12から出た塗料が通過する第1内部通路20に介装されている。図5、図6を参照して、塗料カートリッジ10は、その下端面から下方に突出して位置して上下に変位可能な段付きスリーブ300を有し、この可動スリーブ300の下端に、第1逆止弁30の弁座302が形成されている。この弁座302に着座する可動弁体304は内周バネ306によって弁座302に着座する方向(下方向)に付勢されている。他方、段付きスリーブ300は外周バネ308によって下方に付勢されている。可動弁体304の下端面には、下方に突出する受け部材310が形成され、この受け部材310は、段付きスリーブ300から下方に突出している。前述した第1アクチュエータ74のプッシュロッド74aは上記受け部材310に当接してこれを押し上げることで、開閉弁とし採用した第1逆止弁30を強制開放させることができる(図6)。
塗装機本体6の凹所40には、上記段付きスリーブ300の下端部分つまり小さな直径部分300aを受け入れるための第2の凹所402が形成されており、この第2の凹所402の中心部分に、塗装機側の塗料供給通路44が開口されている。すなわち、第2の凹所402の底面には、その中心部分に上記塗料供給通路44が開口している。また、この第2の凹所402の底面には、塗料供給通路44の開口の外周にシールリング404が配設されている。
図5及び図6は、塗装機本体6の凹所40に塗料カートリッジ10を位置決めして、ロック手段42(図1)によって塗料カートリッジ10を塗装機本体6に固定した状態を示す。段付きスリーブ300の下端面と第2凹所402の底面との間にシールリング404が介在していることに注目されたい。塗料カートリッジ10の段付きスリーブ300が外周バネ308によって下方に付勢されていることから、塗料カートリッジ10を塗装機本体6に固定することで、段付きスリーブ300の下端面はシールリング404に押し付けられた状態になる。塗料カートリッジ10の第1内部通路(塗料通路)20と、塗装機本体6の塗料供給通路44との連結部位がシールリング404によってシールされていることから、塗料カートリッジ10から出た塗料が、塗装機本体6のカートリッジ受け入れ凹所40や第2凹所402に回り込んで、これら凹所40、402を汚染してしまうのを防止することができる。
図5は、塗料カートリッジ10の第1逆止弁30がストッパ弁の機能を発揮する状態を示し、この図5の状態では、第1逆止弁30が本来の逆止弁の機能を発揮して塗料カートリッジ10から塗料が流出するのを阻止する(カートリッジ内塗料通路20が閉塞)。
他方、図6は、第1逆止弁30の可動弁体304をプッシュロッド74aによって強制的に押し上げて、第1逆止弁30を強制的に開放した状態を示す。プッシュロッド74aは、前述したように、第1逆止弁30に関連して塗装機本体6に設置された第1アクチュエータ74によって動作する。第1アクチュエータ74はエアによって駆動される。図6に図示の強制開放状態では、開閉弁として採用した第1逆止弁30の可動弁体304が弁座302から離れた状態になることから、塗料バッグ12の塗料は、その下端開口12cからカートリッジ内塗料通路20を通って塗料カートリッジ10から流出することができる(カートリッジ内塗料通路20が開放)。
上述したように、塗料カートリッジ10は上下に変位可能なスリーブ300を有している。このスリーブ300は、塗料収容室を構成する塗料バッグ12の塗料が流出する出口部分を構成し、また、塗料カートリッジ10の下面から下方に突出して配設されている。そして、このスリーブ300の下端に第1逆止弁30が設けられている。また、外周バネ308によって可動スリーブ300が下方に向けて付勢されている。他方、塗装機本体6は、スリーブ300の小径部分300aを受け入れる第2凹所402を有し、この第2凹所402の底面の中心部分に、塗装機本体6の塗料供給通路44の上端が開口し、この開口の周囲にシールリング404が配設されている。
塗料カートリッジ10を塗装機本体6に組み付けると、バネ付勢された可動スリーブ300(小径部分300a)の下端面がシールリング404に圧接し、これにより、塗料カートリッジ10の塗料出口を構成するスリーブ300と、塗装機本体6の塗料供給通路44との間の塗料移行通路がシールリング404によってシールされた状態となる。これにより、塗料カートリッジ10から出た塗料が第2凹所402の壁面などを汚染することを防止することができる。
上記の構成により、塗料カートリッジ10を装着した状態のままで塗装機本体6の塗料供給通路44を洗浄することが可能になる。この利点は、実施例のバッグ式塗料カートリッジ10に限定されず、従来から知られているピストン式の塗料カートリッジや特許文献7に開示の膜ポンプを採用した塗料カートリッジにおいても同様であり、したがって、ピストン式や膜ポンプ式の塗料カートリッジにおいて、特にフィードチューブを省いた構成の塗料カートリッジであれば、上記の構造を採用する利点は大きい。
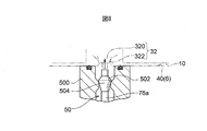
図7、図8は、塗料カートリッジ10の第2内部通路(作動液供給通路)22の第2逆止弁32を強制開放するために、塗装機本体6に設けられた第2アクチュエータ76の詳細図である。この第2アクチュエータ76はエアの出し入れによってプッシュロッド76aを進退させ、プッシュロッド76aが前進することで第2逆止弁32の可動弁体320を強制的に弁座322から離間させることができる(図8)。この点に関しては、前述した第1アクチュエータ74及び第1逆止弁30と同様であるが、次の点でプッシュロッド76a付きの第2アクチュエータ76は特徴的な構造が採用されている。
すなわち、塗装機本体6の第2アクチュエータ76のプッシュロッド76aは、その上端面で第2逆止弁32の可動弁体320を強制的に弁座322から離間させる機能を有するだけでなく(図8)、このプッシュロッド76aは、塗装機本体6の作動液供給通路50を開け閉めする開閉弁機構の一部を構成している。
図7を参照して、上記プッシュロッド76aは、塗装機本体内の作動液供給通路50の出口部分(カートリッジ受け入れ凹所40に臨む作動液出口部分)を構成するスリーブ500によって包囲され、このスリーブ500の上端部における内周面には弁座502が形成されている。他方、プッシュロッド76aは、その上端部に、径方向に膨出した弁体504が形成されている。これら弁座502及び弁体504は塗装機本体6の作動液供給通路50の出口部分を開け閉めする開閉弁機構506を構成している。
開閉弁機構506は、図7において、プッシュロッド76aが上方に変位すると、当該プッシュロッド76aと一体の弁体504が弁座502から離間して開弁する。上述したように、このプッシュロッド76aが上方に変位すると、塗料カートリッジ10の第2逆止弁32を強制開放する(図8の矢印)。
プッシュロッド76aが下方に変位すると、弁体504が弁座502に着座して開閉弁機構506は閉じ状態になる。勿論、このプッシュロッド76aの後退動作によって、塗料カートリッジ10の第2逆止弁32は、その本来の逆止弁としての機能を発揮することになるため、この第2逆止弁32によって塗料カートリッジ10から作動液が漏出するのを阻止することができる。
プッシュロッド76aはその基端部(図7の下端部)に固設されたフランジ78を有し、このフランジ78はバネ80によって下方に付勢されている。したがって、プッシュロッド76aは、常時、下方に向けてバネ付勢され、この結果、開閉弁機構506はバネ80によって閉弁方向に付勢されている。
上記の構成により、塗料カートリッジ10が塗装機本体6に取り付けられる過程、また、塗装機本体6に塗料カートリッジ10が固定されたとしても、第2アクチュエータ76を動作させない限り、塗装機本体6から作動液(絶縁シンナー)が漏れ出すことはない。勿論、塗料カートリッジ10においても、第2逆止弁32によって密閉空間14(作動液室)から作動液(絶縁シンナー)が漏出するのが阻止される。
図1に再び戻って、この図1を参照して塗装工程での静電塗装機2の動作を説明する。塗装工程では、第1、第2のアクチュエータ74、76が動作してプッシュロッド74a、76aが前進し、このプッシュロッド74a、76aの前進によって第1、第2の逆止弁30、32は強制開放した状態に維持される(カートリッジ内塗料通路20及びカートリッジ内作動液供給通路22が共に開放)。
(1)第1逆止弁30(カートリッジ内塗料通路)は強制開放;
(2)第2逆止弁32(カートリッジ内作動液供給通路)は強制開放。
ギアポンプ56をON/OFF制御する、又は、通路切替えバルブ58を制御することで、塗料カートリッジ10に供給する作動液(絶縁シンナー)の量を制御することができる。そして、塗料カートリッジ10に供給する作動液によって塗料バッグ12に圧力を加えることで、塗料バッグ12から塗料を制御した状態で流出させることができる。ギアポンプ56のON/OFFや通路切替えバルブ58の通路切替え動作は、塗装機本体6のトリガバルブ46の開閉に同期して行われる。これによりベルカップ4に対する塗料の供給開始及び供給停止の制御の精度を高めることができる。
所定の塗装が完了した時点では、塗料収容室を構成する塗料バッグ12が完全に押し潰された状態にあり、このときに塗料バッグ12(塗料収容室)の内部容積は最小であり、したがって塗料バッグ12に残留する塗料の量は、従来のピストン式の塗料カートリッジと対比して極めて少量である。
静電塗装機2の色替えを行うときには、塗料カートリッジ10を塗装機本体6から取り外して別の色の塗料の塗料カートリッジ10と交換する前に、塗料カートリッジ10を装着したままで塗装機本体6の中の塗料供給通路44及びベルカップ4の洗浄が行われる。
図9は、塗装機本体6の塗料供給通路44及びベルカップ4の洗浄工程を示す。この洗浄工程では、使用済みの塗料カートリッジ10を塗装機本体6に装着したままで洗浄が実施される。洗浄工程では、第1、第2のアクチュエータ74、76の動作が解除されてプッシュロッド74a、76aが後退し、これにより第1、第2の逆止弁30、32は本来の逆止弁の機能を発揮してカートリッジ内塗料通路20及び作動液供給通路22を閉じる。
塗装機本体6の側面に開口している洗浄液供給通路70に洗浄ノズル84が挿入される。この洗浄ノズル84を洗浄液供給通路70の入口に挿入すると、この洗浄液供給通路70の入口に配設されている第5の逆止弁72が洗浄ノズル84によって強制開放される。外部通路切替えバルブ86を動作させることにより洗浄ノズル84から洗浄液又はエアが圧力下で洗浄液供給通路70に供給される。この洗浄液又はエアの供給に先立って、塗装機本体内塗料供給通路44に介装されているトリガバルブ46は開弁される。また、洗浄ノズル84からの洗浄液の供給開始と共にベルカップ4が回転駆動される。
塗装機本体内の塗料供給通路44の洗浄工程での各弁の状態は次の通りである。
(1)第1逆止弁30(塗料)の強制開放は解除(通常の逆止弁の機能);
(2)第2逆止弁32(作動液供給)の強制開放は解除(通常の逆止弁の機能);
(3)第5逆止弁72(塗装機本体内の洗浄液)は洗浄ノズル84によって強制開放;
(4)トリガバルブ46は開弁;
(5)ベルカップ4は回転。
洗浄ノズル84から圧力下で洗浄液又はエアを供給すると、この洗浄液又はエアは、塗装機本体6の洗浄液供給通路70を通って塗装機本体内塗料供給通路44に流入し、この塗料供給通路44を通ってベルカップ4から排出される。この洗浄液又はエアの流れによって塗装機本体内の塗料供給通路44及びベルカップ4が浄化される。典型的には、洗浄ノズル84から洗浄液とエアとが交互に塗装機本体6に供給される。
洗浄液供給通路70は、その下流端が、上述したように塗装機本体内塗料供給通路44の上流端部(上端部)に接続されているため、塗料供給通路44に流入した洗浄液又はエアは、塗料カートリッジ10の下端から突出して位置している第1逆止弁30の先端まで到達して、この第1逆止弁30の先端部を浄化する。第1逆止弁30は本来の逆止弁の機能を発揮してカートリッジ内塗料通路20を閉じているため(図5)、カートリッジ内塗料通路20と塗装機本体内塗料供給通路44とは第1逆止弁30によって切り離された状態にある。したがって、第1逆止弁30によって洗浄液が塗料バッグ12の内部に侵入してしまうのを防止することができる。洗浄液は典型的にはシンナーであるが、水に界面活性剤を添加した洗浄水であってもよい。
また、この第1逆止弁30を組み込んだスリーブ300と、このスリーブ300の下端小径部分300aを受け入れている第2凹部402との間に、スリーブ300の先端面が圧接するシールリング404が介装されているため(図5)、このシールリング404で規定される塗料移行通路部分も洗浄液又はエアによって清浄化されるのは勿論であるが、塗料を含む洗浄液によって第2凹部402の壁面全体を汚染してしまうのを防止することができる。したがって、上記の洗浄液によって塗装機本体6の塗料供給通路44だけでなく、塗料カートリッジ10との接続部分をも清浄化することができる。更に、塗料カートリッジ10の塗料出口を構成するスリーブ300の先端部も清浄化することができる。このことは従来に見られない注目すべき利点である。勿論、この利点を奏する構成は、一般論として、バッグ式の塗料カートリッジに限定されず、ピストン式の塗料カートリッジ、膜ポンプ式のカートリッジにも適用可能である。なお、ベルカップ4の洗浄に関して、必要であれば、外部から洗浄液をベルカップ4に散布するようにしてもよい。塗装機本体6の洗浄が完了すると、最後にエアが洗浄ノズル84から塗装機本体6に供給され、これにより塗装機本体内の塗料供給通路44及びベルカップ4に付着している洗浄液が除去される。
塗装機本体6の洗浄が完了したら、次に、塗装機本体6に搭載されている塗料カートリッジ10の交換が行われる。塗装機本体6の洗浄及びシールリング404の洗浄が完了しているため、別の色の塗料を充填した塗料カートリッジ10を塗装機本体6に装着するだけで塗装を再開することができる。
塗装機本体6から取り外した塗料カートリッジ10は、塗料バッグ12の洗浄が施される。図10は塗料バッグ洗浄工程を説明するための図である。使用済みの塗料カートリッジ10は、バッグ洗浄ステーション88の所定位置に位置決めされる。この位置決めは塗装機本体6に対する位置決めと同じであり、塗料カートリッジ10が所定位置に位置決めされるとロック機構90によって塗料カートリッジ10が固定される。
バッグ洗浄ステーション88には、塗料カートリッジ10の第1〜第4の逆止弁30、32、34、36に対応した第1〜第4のプッシュロッド付きのアクチュエータ880、882、884、886が設置されている。この第1〜第4のプッシュロッド付きアクチュエータ880〜886は、前述した塗装機本体6の第1、第2のプッシュロッド付きアクチュエータ74、76と実質的に同じ機能を発揮するものであることから、その詳しい説明は省略する。
バッグ洗浄ステーション88に設置された当初の塗料カートリッジ10の塗料バッグ12は押し潰された状態にある。塗料収容室を構成する塗料バッグ12の洗浄は、(i)塗料バッグ12を拡張させて塗料収容室の容積を拡大する、(ii)塗料バッグ12を押し潰して塗料収容室の容積を小さくする、という操作を伴いつつ塗料バッグ12の中に洗浄液、エアを入れ、また、洗浄液、エアの排出が行われる。塗料バッグ12の「拡張、押し潰し」を一つの組として、これを一回で終わらせてもよいし、複数回反復してもよい。勿論、必要であれば、塗料バッグ12の洗浄に先立って、塗料バッグ12を最大限まで押し潰して、塗料バッグ12の中に残留する塗料を最大限まで回収するのがよい。
塗料バッグの拡張工程での各開閉弁つまり逆止弁30、32、34、36の状態は次の通りである。
(1)第1逆止弁30(塗料)の強制開放は解除(通常の逆止弁の機能);
(2)第2逆止弁32(作動液供給)の強制開放は解除(通常の逆止弁の機能);
(3)第3逆止弁34(洗浄液供給)は強制開放;
(4)第4逆止弁36(作動液排出)は強制開放。
バッグ洗浄ステーション88には、図10に示すようにエア源及び洗浄液源(シンナー又は水)が設置され、このエア源及び洗浄液源からエアや洗浄液が供給される。エアと洗浄液の切替えは通路切替えバルブ888によって行われる。この通路切替えバルブ888を介してエア、洗浄液が交互に塗料カートリッジ10の第3内部通路(洗浄液供給通路)24を通じて塗料バッグ12に供給される。上述したように、塗料バッグ12の出口(下端口部12c)の第1逆止弁30は通常の逆止弁の機能を発揮して塗料通路20を閉じた状態にある。塗料カートリッジ10の第3内部通路(洗浄液供給通路)24から塗料バッグ12の上端口部12bを通じて塗料バッグ12の内部にエア又は塗料を供給することで塗料バッグ12は拡張する。これに伴い、塗料カートリッジ10の作動液室を構成する密閉空間14を満たしている作動液は、エア溜め14aに開口している第4内部通路26(作動液排出通路)を通じて塗料カートリッジ10から強制的に且つ受動的に押し出される。塗料カートリッジ10から出た作動液は作動液源に回収される。
塗料バッグ12の具体的な洗浄方法として、次の例を挙げることができる。
第1工程(塗料バッグの拡張工程):第3内部通路(洗浄液供給通路)24を通じて塗料バッグ12にエアを供給して塗料バッグ12を拡張させて、塗料バッグ12の内部容積を略最大値まで拡大させる。これにより、塗料バッグ12の本体12aを皺の無い状態にすることができる。第1逆止弁30(塗料)は閉じ状態にある。
第2工程(洗浄液供給工程):洗浄液を塗料バッグ12に供給して塗料バッグ12の内面に沿って洗浄液を流して、塗料バッグ12を洗浄する。第1逆止弁30(塗料)は閉じ状態にある。
第3工程(塗料バッグの押し潰し工程):塗料バッグ12を押し潰して、塗料バッグ12の内部容積を縮小させて塗料バッグ12の洗浄液を排出させる。
必要に応じて、第2、第3の工程を繰り返す。
塗料バッグ12の上記第3工程(押し潰し工程)での各開閉弁(逆止弁30、32、34、36)の状態は次の通りである。
(1)第1逆止弁30(塗料)は強制開放;
(2)第2逆止弁32(作動液供給)は強制開放;
(3)第3逆止弁34(洗浄液供給)の強制開放は解除(通常の逆止弁の機能);
(4)第4逆止弁36(作動液排出)の強制開放は解除(通常の逆止弁の機能)。
バッグ洗浄ステーション88には、図10に示すようにギアポンプ890が設置されている。上記第3工程(押し潰し工程)では、ギアポンプ890によって制御された量の作動液が塗料カートリッジ10に圧力下で供給される。塗料カートリッジ10の密閉空間14(作動液室)に作動液が入ると、この作動液によって塗料バッグ12が押し潰され、塗料バッグ12内のエア及び洗浄液が下端口部12cを通じて外部に押し出される。図10の参照符号892は廃液タンクを示し、塗料バッグ12から出た洗浄液は廃液タンク892に収容される。
上述したように、塗料バッグ12の拡張(塗料バッグ12の内部容積の拡大)、押し潰し(塗料バッグ12の内部容積の縮小)を組として、これを1回又は複数回繰り返して塗料バッグ12の内部が清浄化される。そして最後にエアを塗料バッグ12の中に入れて塗料バッグ12の内部に付着している洗浄液を排出することで、塗料バッグ12の洗浄工程が終わる。塗料バッグ12の洗浄工程が完了した段階では、塗料バッグ12は押し潰された状態(塗料バッグ12の内部容積が最小の状態)にある。
塗料バッグ12の洗浄が完了した塗料カートリッジ10は次に塗料バッグ12に塗料が充填される。図11は塗料充填工程を説明するための図である。洗浄後の塗料カートリッジ10は、塗料充填ステーション92の所定位置に位置決めされる。この位置決めは塗装機本体6やバッグ洗浄ステーション88と同じであり、塗料カートリッジ10が所定位置に位置決めされるとロック機構94によって塗料カートリッジ10が固定される。
塗料充填ステーション92には、塗料カートリッジ10の第1〜第4の逆止弁のうち、作動液供給に関する第2逆止弁32、洗浄液供給に関する第3逆止弁34を除く第1、第4の逆止弁30、36に対応した第1、第4のプッシュロッド付きのアクチュエータ920、922が設置されている。この第1、第4のプッシュロッド付きアクチュエータ920、922は、前述した塗装機本体6の第1、第2のプッシュロッド付きアクチュエータ74、76と実質的に同じ機能を発揮するものであることから、その詳しい説明は省略する。
塗料充填工程での各開閉弁つまり逆止弁30、36の状態は次の通りである。
(1)第1逆止弁30(塗料)は強制開放;
(2)第4逆止弁36(作動液排出)は強制開放。
塗料充填ステーション92には塗料源の塗料を塗料バッグ12に圧力下で充填するためにギアポンプ96が設置されており、このギアポンプ96を制御することによって所定量の塗料が塗料バッグ12の下端口部12cを通じて塗料バッグ12に充填される。このギアポンプ96の流量制御の代わりに、ポンプから圧力下で塗料バッグ12に供給する塗料の量を制御するための流量計と、該流量計で計測した塗料の量が所定値に達したら塗料バッグ12への塗料の供給を停止する流量制御弁との組み合わせを採用してもよい。塗料の充填により塗料バッグ12は拡張することになるが、密閉空間14を満たしている作動液は、エア溜め14a及び第4内部通路(作動液排出通路)26を通じて外部に排出され、この排出された作動液は作動液源に回収される。
勿論、塗料を充填する前に塗料カートリッジ10の洗浄が完了していることから、塗料カートリッジ10に充填する塗料の色は任意である。塗料の充填が完了した塗料カートリッジ10は次の塗装のためにストックされる。
以上、作動液として絶縁性シンナーを採用した場合の実施例を説明したが、水などの導電性液体を作動液として採用するときには、ボルテージブロック機構をロボットアーム1に設置して、静電塗装機2に高電圧を印可しているときには(塗装作業中)、ボルテージブロック機構によって電気的に絶縁するのがよい。
上記実施例の変形例として次の例を挙げることができる。
(1)塗料カートリッジ10に内蔵した第1〜第4の逆止弁30〜36はエア駆動式の開閉弁で構成してもよい。
(2)上記の実施例では、塗料バッグ12は上下の口部12、12を備えているが、上端口部12を省いて、下端口部12だけを備えた塗料バッグであってもよい(図12)。図12に示す参照符号896は通路切替えバルブを示す。図12において、塗料バッグ12に通じる塗料カートリッジ内通路や、密閉空間14(作動液室)に通じる塗料カートリッジ内通路に介装した逆止弁30〜36は図示を省略してある。
(3)図1の実施例では、塗料バッグ12に対して直接的に作動液で加圧する方式が採用されているが、図13に例示するように、塗料バッグ12に隣接した作動液バッグ8を備えた塗料カートリッジであってもよい。この作動液バッグ8は作動液室を構成し、この作動液バッグ8に作動液を供給して作動液バッグ8を拡張することで、塗料バッグ12を押し潰す。
(4)作動液バッグ8が2つの上下の口部8a、8bを備えて、上端口部8aから作動液バッグ内の作動液を排出し、他方、作動液を下端口部8bから作動液バッグ8に供給して作動液バッグ8を拡張するようにしてもよい(図13)。
(5)作動液バッグ8が一つの口部8bを備えて、この一つの口部8bを通じて作動液を作動バッグ8に供給し、また、作動液バッグ8から作動液を排出させるようにしてもよい(図14)。図14において、塗料バッグ12に通じる塗料カートリッジ内通路や作動液バッグ8に通じる塗料カートリッジ内通路に介装した逆止弁は図示を省略してある。
(6)バッグ洗浄ステーション88に加振源28を設け、この加振源28で洗浄中の塗料カートリッジ10を上下及び/又は左右に振動させるようにしてもよい(図12)。
(7)バッグ洗浄ステーション88に回転テーブル894を用意し(図12、図14)、この回転テーブル894に塗料カートリッジ10を固定して、洗浄中の塗料カートリッジ10を回転させるようにしてもよい。図中、参照符号Oは回転中心軸を示す。この回転は、一方向の回転であってよいが、好ましくは、正方向の回転と逆方向の回転を交互に繰り返すのがよい。
以上、塗料バッグ12を備えた塗料カートリッジ10を例示して本発明の実施例を説明したが、本発明は、ピストン式や膜ピストン式の塗料カートリッジにも適用可能である。なお、図15を参照してピストン式の塗料カートリッジ130の内部洗浄方法の一例を説明すると、次の通りである。
図15において、図示の塗料カートリッジ130はピストン132を有し、このピストン132を挟んで、その上方に作動液室134が形成され、ピストン132の下方に塗料収容室136が形成されている。図15の(I)は洗浄ステーションにピストン式塗料カートリッジ130を位置決めした当初の状態を模式的に示してある。この洗浄ステーションは、上述したバッグ洗浄ステーション88(図10)に対応するものである。
先ず、塗料カートリッジ130の作動液室134に作動液を供給して、ピストン132を塗料収容室136の最深部まで押し下げて、塗料収容室136に残留する塗料を回収する(図15の工程(II))。次いで、塗料収容室136に洗浄液を供給してピストン132を押し上げる(図15の工程(III))。次いで、作動液室134に作動液を供給してピストン132を押し下げて、塗料収容室136の洗浄液を排出する(図15の工程(IV))。図15の工程(III)及び工程(IV)でのピストン132の上げ下げの程度は任意であり、例えば、ピストン132を最上部まで押し上げてもよいし、その途中まででピストン132の押し上げを停止し、次の排出工程(図15の工程(IV))に移行してもよい。ピストン132を押し上げながら塗料収容室136を洗浄するのに、洗浄液とエアとを交互に塗料収容室136に供給してもよい。また、エアによってピストン132をある程度の高さまで押し上げて、その後に洗浄液を塗料収容室136に供給するようにしてもよい。このように、エアと洗浄液の供給態様の組み合わせは任意であり、実験によって決定すればよい。
上記の工程IIIと工程IVを一組として、これを一回又は複数回反復してもよい。また、図12を参照して説明したように、洗浄中に塗料カートリッジ130を上下又は左右或いは上下及び左右に振動を加えるようにしてもよい。また、図12及び図14を参照して説明したように、洗浄中に塗料カートリッジ130を回転させるようにしてもよい。なお、図14において、塗料カートリッジ130の作動液室134や塗料収容室136に通じる塗料カートリッジ内通路には、前述したバッグ式の塗料カートリッジ10と同様に逆止弁が介装されているが、図14ではその図示を省略してある。当業者であれば容易に理解できることであるが、ピストン式の塗料カートリッジ130においても、図1などで説明した作動液排出通路26を採用し、作動液室134に作動液を供給するカートリッジ内作動液供給通路と、作動液室134の作動液を排出するカートリッジ内作動液排出通路とを塗料カートリッジ130に形成してもよい。
本発明は、特許文献8(JP実開平04−87759号公報)で採用されている膜ポンプを採用した塗料カートリッジに対しても好適に適用することができる。
本発明は静電塗装に適用される。特に、塗装ロボットに好適に適用される。
1 塗装ロボットのアーム
2 静電塗装機
4 ベルカップ
6 塗装機本体
10 塗料カートリッジ
12 塗料バッグ(塗料収容室)
20 塗料カートリッジの第1内部通路(塗料通路)
30 第1逆止弁(カートリッジ内の塗料通路)
44 塗装機本体内の塗料通路
46 トリガバルブ
70 塗装機本体内の洗浄液供給通路
300 スリーブ
302 スリーブ下端の固定弁座
304 可動弁体
306 内周バネ(可動弁体を付勢:第2のバネ)
308 外周バネ(スリーブを付勢:第1のバネ)
402 スリーブを受け入れる第2凹所
404 シールリング

Claims (8)

  1. 塗装機本体に対して脱着可能な塗料カートリッジを備え、前記塗装機本体が前記塗料カートリッジから供給される塗料を受け取ってワークに対する塗装を行う静電塗装機において、
    前記塗料カートリッジが、
    (i)該塗料カートリッジの前記塗料の出口を構成し且つ上下に変位可能なスリーブと、
    (ii)該スリーブを下方に向けて付勢する第1のバネと、
    (iii)前記スリーブに設けられ且つ塗料通路の出口を開閉する塗料開閉弁と、を有し、
    前記塗装機本体が、
    (i)前記スリーブを受け入れる凹所と、
    (ii)該凹所の底面に開放した開口を有し、該開口を通じて前記塗料カートリッジからの塗料を受け入れる塗料通路と、
    (iii)外部からの洗浄液を受け入れて該洗浄液を前記凹所の近傍である前記塗料通路の上端部に導く洗浄液供給通路と、
    (iv)前記凹所の底面に配設され且つ前記塗料通路の上端開口の外周部分に設けられたシールリングと、を有し、
    前記塗料カートリッジが前記塗装機本体に装着されたときに、前記第1のバネのバネ力によって前記スリーブの下端面が前記シールリングに押し付けられることを特徴とする静電塗装機。
  2. 前記塗料開閉弁が、
    前記スリーブの下端に形成された固定弁座と、
    該固定弁座に着座する可動弁体と、
    該可動弁体を前記固定弁座に向けて付勢する第2のバネとを有する、請求項1に記載の静電塗装機。
  3. 前記塗装機本体に、前記塗料カートリッジの可動弁体を押し上げるプッシュロッドを備えたアクチュエータが内蔵されている、請求項2に記載の静電塗装機。
  4. 前記塗料カートリッジに、前記塗料開閉弁を開閉させるアクチュエータが内蔵されている、請求項1に記載の静電塗装機。
  5. 前記塗装機本体の塗料通路に、開閉弁からなるトリガバルブが設けられている、請求項1に記載の静電塗装機。
  6. 前記塗料カートリッジが、ピストンによって塗料を押し出すピストン式カートリッジである、請求項1に記載の静電塗装機。
  7. 前記塗料カートリッジが、塗料バッグを押し潰すことで塗料を押し出すバッグ式カートリッジである、請求項1に記載の静電塗装機。
  8. 前記塗料カートリッジが、伸縮可能な膜で塗料収容室を形成した膜ポンプ式カートリッジである、請求項1に記載の静電塗装機。
JP2009218332A 2009-09-23 2009-09-23 脱着可能な塗料カートリッジを備えた静電塗装機 Expired - Fee Related JP5551908B2 (ja)

Priority Applications (5)

Application Number Priority Date Filing Date Title
JP2009218332A JP5551908B2 (ja) 2009-09-23 2009-09-23 脱着可能な塗料カートリッジを備えた静電塗装機
TW099131664A TW201119745A (en) 2009-09-23 2010-09-17 Electrostatic paint applicator having detachably mountable paint cartridge
PCT/JP2010/066334 WO2011037112A1 (ja) 2009-09-23 2010-09-21 脱着可能な塗料カートリッジを備えた静電塗装機
CN201080042982.0A CN102639249B (zh) 2009-09-23 2010-09-21 包括能装拆的涂料筒的静电涂装机
KR1020127010206A KR20120072374A (ko) 2009-09-23 2010-09-21 탈착 가능한 도료 카트리지를 구비한 정전 도장기

Applications Claiming Priority (1)

Application Number Priority Date Filing Date Title
JP2009218332A JP5551908B2 (ja) 2009-09-23 2009-09-23 脱着可能な塗料カートリッジを備えた静電塗装機

Publications (2)

Publication Number Publication Date
JP2011067711A JP2011067711A (ja) 2011-04-07
JP5551908B2 true JP5551908B2 (ja) 2014-07-16

Family

ID=43795859

Family Applications (1)

Application Number Title Priority Date Filing Date
JP2009218332A Expired - Fee Related JP5551908B2 (ja) 2009-09-23 2009-09-23 脱着可能な塗料カートリッジを備えた静電塗装機

Country Status (5)

Country Link
JP (1) JP5551908B2 (ja)
KR (1) KR20120072374A (ja)
CN (1) CN102639249B (ja)
TW (1) TW201119745A (ja)
WO (1) WO2011037112A1 (ja)

Families Citing this family (4)

* Cited by examiner, † Cited by third party
Publication number Priority date Publication date Assignee Title
KR102516650B1 (ko) * 2017-04-21 2023-04-03 요트. 바그너 게엠베하 분무기용 액체 탱크
JP7187275B2 (ja) * 2018-11-13 2022-12-12 タクボエンジニアリング株式会社 塗装用スプレーガン装置
GB202208009D0 (en) * 2022-05-31 2022-07-13 Micropply Ltd An autonomous ground deposition machine with removable cartridges
US20250241285A1 (en) * 2022-04-06 2025-07-31 Micropply Limited A detachable ground deposition accessory

Family Cites Families (10)

* Cited by examiner, † Cited by third party
Publication number Priority date Publication date Assignee Title
JP2521102Y2 (ja) * 1990-11-30 1996-12-25 トリニティ工業株式会社 導電性塗料の静電塗装装置
JP4458644B2 (ja) * 2000-08-21 2010-04-28 サーパス工業株式会社 接続器具
JP2003211036A (ja) * 2002-01-17 2003-07-29 Asahi Sunac Corp 塗装装置
WO2003099455A1 (fr) * 2002-05-23 2003-12-04 Abb K.K. Cartouche d'application de peinture
CN100408200C (zh) * 2003-09-12 2008-08-06 托利尼迪工业株式会社 涂敷机
EP1868917B1 (en) * 2005-04-13 2011-02-09 Illinois Tool Works Inc. Canister with a resilient flexible chamber for electrostatic applicators
JP4759320B2 (ja) * 2005-06-06 2011-08-31 トリニティ工業株式会社 塗布機
JP4799918B2 (ja) * 2005-06-17 2011-10-26 ハジメ産業株式会社 塗料タンクおよびその加工方法
JP4357552B2 (ja) * 2007-08-31 2009-11-04 トヨタ自動車株式会社 塗料充填装置
JP5586110B2 (ja) * 2009-09-23 2014-09-10 ランズバーグ・インダストリー株式会社 静電塗装機用の塗料カートリッジの洗浄方法及び塗料バッグ

Also Published As

Publication number Publication date
TW201119745A (en) 2011-06-16
CN102639249A (zh) 2012-08-15
WO2011037112A1 (ja) 2011-03-31
JP2011067711A (ja) 2011-04-07
KR20120072374A (ko) 2012-07-03
CN102639249B (zh) 2015-04-15

Similar Documents

Publication Publication Date Title
JP5596951B2 (ja) 塗料カートリッジ及び静電塗装機
JP5586110B2 (ja) 静電塗装機用の塗料カートリッジの洗浄方法及び塗料バッグ
JP5596950B2 (ja) 静電塗装機用の塗料カートリッジ及びこれを含む静電塗装機
JP5551908B2 (ja) 脱着可能な塗料カートリッジを備えた静電塗装機
KR20130039755A (ko) 카트리지용 도료 충전 장치 및 그 도료 충전 방법
JPH11262699A (ja) 回転霧化頭型塗装装置
CA2876841C (en) Electrostatic coating device and electrostatic coating method
JP6158073B2 (ja) 塗装用シリンジガン及びそのシリンジガンを用いた塗装用シリンジガンシステム、塗装用シリンジガンへの塗料充填方法
JP4220302B2 (ja) 塗装用カートリッジ
JP4759320B2 (ja) 塗布機
EP2274568B1 (en) Cleaning fluid cartridge
JP3621592B2 (ja) 回転霧化頭型塗装装置の塗装方法
WO2003099455A1 (fr) Cartouche d'application de peinture
JP2010264350A (ja) 塗料カートリッジ及びその洗浄方法
JP4850515B2 (ja) 静電塗装機
JP3689837B2 (ja) 一組の塗料・洗浄カップラー
JP2004337812A (ja) 押出塗布ヘッド
WO2006001123A1 (ja) 塗装用カートリッジ
JPH0342063A (ja) 塗装装置の塗料開閉弁

Legal Events

Date Code Title Description
A621 Written request for application examination

Free format text: JAPANESE INTERMEDIATE CODE: A621

Effective date: 20120921

A131 Notification of reasons for refusal

Free format text: JAPANESE INTERMEDIATE CODE: A131

Effective date: 20131108

A521 Written amendment

Free format text: JAPANESE INTERMEDIATE CODE: A523

Effective date: 20140106

TRDD Decision of grant or rejection written
A01 Written decision to grant a patent or to grant a registration (utility model)

Free format text: JAPANESE INTERMEDIATE CODE: A01

Effective date: 20140515

A61 First payment of annual fees (during grant procedure)

Free format text: JAPANESE INTERMEDIATE CODE: A61

Effective date: 20140523

R150 Certificate of patent or registration of utility model

Ref document number: 5551908

Country of ref document: JP

Free format text: JAPANESE INTERMEDIATE CODE: R150

LAPS Cancellation because of no payment of annual fees