JP5515280B2 - 位置検出装置及び電気光学装置 - Google Patents

位置検出装置及び電気光学装置 Download PDF

Info

Publication number
JP5515280B2
JP5515280B2 JP2008300515A JP2008300515A JP5515280B2 JP 5515280 B2 JP5515280 B2 JP 5515280B2 JP 2008300515 A JP2008300515 A JP 2008300515A JP 2008300515 A JP2008300515 A JP 2008300515A JP 5515280 B2 JP5515280 B2 JP 5515280B2
Authority
JP
Japan
Prior art keywords
light
position detection
guide plate
light source
photodetector
Prior art date
Legal status (The legal status is an assumption and is not a legal conclusion. Google has not performed a legal analysis and makes no representation as to the accuracy of the status listed.)
Active
Application number
JP2008300515A
Other languages
English (en)
Other versions
JP2010127671A (ja
Inventor
康憲 大西
Current Assignee (The listed assignees may be inaccurate. Google has not performed a legal analysis and makes no representation or warranty as to the accuracy of the list.)
Epson Imaging Devices Corp
Original Assignee
Epson Imaging Devices Corp
Priority date (The priority date is an assumption and is not a legal conclusion. Google has not performed a legal analysis and makes no representation as to the accuracy of the date listed.)
Filing date
Publication date
Application filed by Epson Imaging Devices Corp filed Critical Epson Imaging Devices Corp
Priority to JP2008300515A priority Critical patent/JP5515280B2/ja
Publication of JP2010127671A publication Critical patent/JP2010127671A/ja
Application granted granted Critical
Publication of JP5515280B2 publication Critical patent/JP5515280B2/ja
Active legal-status Critical Current
Anticipated expiration legal-status Critical

Links

Images

Landscapes

  • Position Input By Displaying (AREA)
  • Length Measuring Devices By Optical Means (AREA)

Description

本発明は位置検出装置及び電気光学装置に係り、特に、対象物体の平面位置を光学的に検出するための位置検出装置の構造に関する。
一般に、タッチパネルと呼ばれる、平面位置を検出するための位置検出装置がモニタ画面の操作を行うために使用され、このタッチパネルの種類としては、通常、抵抗膜方式、超音波方式、静電容量方式、光学式などが知られている。抵抗膜方式は低コストであるが静電容量方式とともに透過率が低く、超音波方式や静電容量方式は高い応答速度を有するが、耐環境性が低い。これに対して、光学式は耐環境性、透過率、応答速度をそれぞれ高くすることができるという特徴がある。(例えば、以下の特許文献1及び2参照)。
特開2004−295644号公報 特開2004−303172号公報
しかしながら、前述の光学式タッチパネルでは、表示画面の近傍に、検出すべき位置座標の分解能に対応する多数の光源及び光検出器或いは光スイッチや導光構造などを配列させる必要があるので、光学素子の数が多くなるために高い製造コストを負担しなければならないという問題点がある。
そこで、本発明は上記問題点を解決するものであり、光学式の位置検出手段を低コストに構成できる位置検出装置、及び、これを用いた電気光学装置(表示装置)を実現することにある。
斯かる実情に鑑み、本発明の位置検出装置は、多角形状に構成された検出平面範囲内において対象物体の平面位置を光学的に検出するための位置検出装置であって、第1の位置検出光を放出する第1の位置検出用光源と、第2の位置検出光を放出する第2の位置検出用光源と、前記第1の位置検出光を内部に採り込む第1の光入射面、前記第2の位置検出光を内部に採り込む第2の光入射面、並びに、当該第1の光入射面及び前記第2の光入射面と隣接するとともに交差し、内部を伝搬する前記第1の位置検出光及び前記第2の位置検出光を出射する光出射面、を有する導光板と、該導光板に対し前記第1の位置検出光及び前記第2の位置検出光の出射側に配置され、前記検出平面範囲に向けられた受光部を備え、前記検出平面範囲の角部の外側に隣接配置された光検出器と、を具備する。
この発明によれば、第1の位置検出光及び第2の位置検出光が導光板の光出射面から出射され、これが導光板の第1の位置検出光及び第2の位置検出光の出射側に配置された対象物体によって反射されると、この反射光が光検出器によって検出される。対象物体によって反射される第1の位置検出光及び第2の位置検出光の導光板の内部を伝搬する距離(第1の光入射面及び第2の光入射面から入射した後光出射面から出射するまでの距離)は、導光板の光出射側の対象物体の平面位置によって変化する。したがって光検出器により第1の位置検出光と第2の位置検出光を検出することにより、両位置検出光の光量比や位相差等に基づいて対象物体の平面位置の情報を取得することが可能になる。
本発明では、第1の位置検出光と第2の位置検出光を導光板の光出射面より面状に並行して出射させることで上記のように対象物体の平面位置の情報を取得可能に構成されるので、検出平面範囲に沿って多数の光学素子、光スイッチ、導光構造、光検出器等を配列させる必要がなくなることから、低コストに位置検出装置を構成することができる。
また、光検出器は、その受光部が検出平面範囲を向いた姿勢で、多角形状の検出平面範囲の角部の外側に隣接配置されることにより、光検出器の検出可能角度範囲が狭い場合でも、或いは、光検出器の受光部を検出平面範囲から離間させなくても、検出平面範囲内のいずれの位置から入射する反射光でも検出することが可能になる。したがって、光検出器の検出可能角度範囲に対する制約が小さくなり、光検出器の数の低減、光検出器の入手コストの低減や選択範囲の拡大を図ることができるとともに、光検出器を検出平面範囲に接近して配置することができるので、検出平面範囲の外側に広がる額縁領域の縮小が可能となり、位置検出器の小型化を図ることができる。
本発明の一の態様においては、前記導光板において前記第1の光入射面と前記第2の光入射面は互いに対向する位置に設けられ、前記第1の位置検出用光源と前記第2の位置検出用光源は前記導光板を挟んで互いに対向する位置に配置される。このようにすると、第1の位置検出光と第2の位置検出光とが互いに対向する位置から互いに逆向きに導光板の内部を伝搬することとなるので、対象物体の平面位置に応じた第1の位置検出光の内部伝搬距離と第2の位置検出光の内部伝搬距離とが互いに相補的な関係(一方が増大すれば他方が減少する関係)となるため、第1の位置検出用光源と第2の位置検出用光源とを結ぶ方向の対象物体の平面位置情報を容易かつ精度良く取得することが可能になる。
本発明の他の態様においては、前記検出平面範囲は矩形状に構成される。検出平面範囲としては矩形状が最も一般的でありしかも好ましい。また、表示画面においても矩形状が最も一般的で好ましいため、この表示画面と対応する形状の検出平面範囲を設定することが効果的である。
本発明の別の態様においては、前記光検出器による前記第1の位置検出光と前記第2の位置検出光の検出値に基づいて前記対象物体の平面位置情報を求める位置情報取得手段をさらに具備する。この位置情報取得手段は、位置検出装置自体に含まれる必要はなく、例えば、位置検出装置が搭載される電子機器内の制御部(MPU;マイクロプロセッサユニットや電子回路)によって構成されていてもよいが、位置検出装置に位置情報取得手段を設けることで、取得された位置情報をそのまま搭載されるべき電子機器に出力することができる。位置情報取得手段は、例えば、光検出器の検出信号に基づいて第1の位置検出光と第2の位置検出光の光量比、位相差などのデータを導出し、このデータから対象物体の検出平面範囲内の位置を求める。
次に、本発明の電気光学装置は、多角形状に構成された検出平面範囲内において対象物体の平面位置を光学的に検出するための以下の構成、(a)第1の位置検出光を放出する第1の位置検出用光源、(b)第2の位置検出光を放出する第2の位置検出用光源、(c)前記第1の位置検出光を内部に採り込む第1の光入射面と、前記第2の位置検出光を内部に採り込む第2の光入射面と、前記第1の光入射面及び前記第2の光入射面と隣接するとともに交差し、内部を伝搬する前記第1の位置検出光及び前記第2の位置検出光を出射する光出射面と、を有する導光板、(d)該導光板に対し前記第1の位置検出光及び前記第2の位置検出光の出射側に配置され、前記検出平面範囲に向けられた受光部を備え、前記検出平面範囲の角部の外側に隣接配置された光検出器、を有する位置検出装置と、少なくとも一部が前記検出平面範囲と重なる表示領域を備え、前記光検出器に対して前記第1の位置検出光及び前記第2の位置検出光の進行方向とは逆側に配置された電気光学パネルと、を具備する。
この発明によれば、第1の位置検出光及び第2の位置検出光が導光板の光出射面から出射され、これが導光板の第1の位置検出光及び第2の位置検出光の出射側に配置された対象物体によって反射されると、この反射光が光検出器によって検出される。対象物体によって反射される第1の位置検出光及び第2の位置検出光の導光板の内部を伝搬する距離(第1の光入射面及び第2の光入射面から入射した後光出射面から出射するまでの距離)は、導光板の光出射側の対象物体の平面位置によって変化する。したがって光検出器により第1の位置検出光と第2の位置検出光を検出することにより、両位置検出光の光量比や位相差等に基づいて対象物体の平面位置の情報を取得することが可能になる。
本発明では、第1の位置検出光と第2の位置検出光を導光板の光出射面より面状に並行して出射させることで上記のように対象物体の平面位置の情報を取得可能に構成されるので、検出平面範囲に沿って多数の光学素子、光スイッチ、導光構造、光検出器等を配列させる必要がなくなることから、低コストに位置検出装置を構成することができる。
また、光検出器は、その受光部が検出平面範囲を向いた姿勢で、多角形状の検出平面範囲の角部の外側に隣接配置されることにより、光検出器の検出可能角度範囲が狭い場合でも、或いは、光検出器の受光部を検出平面範囲から離間させなくても、検出平面範囲内のいずれの位置から入射する反射光でも検出することが可能になる。したがって、光検出器の検出可能角度範囲に対する制約が小さくなり、光検出器の数の低減、光検出器の入手コストの低減や選択範囲の拡大を図ることができるとともに、光検出器を検出平面範囲に接近して配置することができるので、検出平面範囲の外側に広がる額縁領域の縮小が可能となり、位置検出器の小型化を図ることができる。
本発明の一の態様においては、前記電気光学パネルは前記導光板と前記光検出器の間に配置され、前記表示領域は前記第1の位置検出光及び前記第2の位置検出光を透過可能に構成されている。これによれば、電気光学パネルが導光板と光検出器の間に配置されることで、表示領域において形成される画像が導光板を介することなく電気光学装置の視認側(位置検出装置の操作側、以下同様。)から視認可能とされるので、表示画面を明瞭に表示することができる。また、導光板から出射される第1の位置検出光及び第2の位置検出光は電気光学パネルの表示領域を透過して表示画面上に出射される。
ただし、視認側から見て導光板の背後に電気光学パネルを配置したときに導光板が電気光学パネルの表示領域を透視可能に構成されるならば、導光板を電気光学パネルと光検出器の間に配置しても構わない。
本発明の他の態様においては、前記電気光学パネルは第1の基板と第2の基板の間に電気光学物質が配置されてなり、前記第1の基板には前記第2の基板の外形より周囲に張り出した基板張出部が設けられ、前記光検出器が前記基板張出部と平面的に重ねて配置される。これによれば、光検出器が基板張出部と平面的に重ねて配置されることにより、検出平面範囲の外側に光検出器を配置しても、光検出器を配置するためだけの理由から表示領域や検出平面範囲の外側にあるスペースを拡大する必要がなくなるため、光検出器の配置スペースを確保しつつ、表示領域や検出平面範囲の外側の額縁領域を低減し、装置の小型化を図ることができる。なお、上記基板張出部には電子部品若しくは配線部材が実装される場合がある。
本発明の別の態様においては、前記電気光学パネルは液晶パネルであり、前記電気光学装置は、照明用光源と、該照明用光源の放出する照明光を内部に採り込む光入射面及び該光入射面に隣接し交差する光出射面を備え、前記電気光学パネルと平面的に重ねて配置される照明用導光板と、をさらに具備する。なお、照明用導光板は、いわゆるバックライトとして電気光学パネルの背後(視認側とは反対側)に配置される場合に、前記導光板と電気光学パネルの間に配置されてもよく、或いは、前記導光板に対し前記電気光学パネルとは反対側に配置されてもよい。
本発明のさらに別の態様においては、前記光検出器による前記第1の位置検出光と前記第2の位置検出光の検出値に基づいて前記対象物体の平面位置情報を求める位置情報取得手段をさらに具備する。この位置情報取得手段は、電気光学装置自体に含まれる必要はなく、例えば、電気光学装置が搭載される電子機器内の制御部(MPU;マイクロプロセッサユニットや電子回路)によって構成されていてもよいが、電気光学装置に位置情報取得手段を設けることで、取得された位置情報をそのまま搭載されるべき電子機器に出力することができる。位置情報取得手段は、例えば、光検出器の検出信号に基づいて第1の位置検出光と第2の位置検出光の光量比、位相差などのデータを導出し、このデータから対象物体の検出平面範囲内の位置を求める。
次に、添付図面を参照して本発明の実施形態について詳細に説明する。
[第1実施形態]
図1は本発明に係る第1実施形態の位置検出装置或いは電気光学装置の構成を模式的に示す概略断面図、図2は位置検出装置或いは電気光学装置において検出平面範囲と光検出器の検出可能角度範囲との関係を示す平面図、図3は位置検出装置或いは電気光学装置の主要構成を示す分解斜視図、図4は位置検出用光源及び導光板の平面配置と光検出器の検出可能角度範囲との関係を示す平面図である。
なお、以下に説明する各実施形態はいずれも本発明の位置検出装置と電気光学装置のいずれにも対応するものであり、また、本発明の位置検出装置としては、各実施形態から電気光学パネル(液晶表示パネル)を取り除いた構成を採ることもできる。ただし、以下の説明では、各実施形態を単に電気光学装置と呼ぶこととする。
本実施形態の電気光学装置100は、位置検出ユニット10と、この位置検出ユニット10に組み合わされた電気光学パネル20とを備えている。位置検出ユニット10は、図3及び図4に示すように、位置検出光L2a〜L2dを放出する位置検出用光源12A〜12Dと、位置検出光L2a〜L2dが入射する光入射面13a〜13dを周囲の端面部に備えると共に、位置検出光L2a〜L2dが内部を伝搬した後に出射する光出射面13sを一方の表面(図示上面)に備える導光板13を有している。上記位置検出用光源12A〜12Dは光入射面13a〜13dと対向するように配置され、好ましくは光入射面13a〜13dと密接するように配置される。
位置検出用光源12A〜12Dは例えばLED(発光ダイオード)等の発光素子で構成され、図示しない駆動回路から出力される駆動信号に応じて例えば赤外線である位置検出光L2a〜L2dを放出する。位置検出光は特に限定されないが、後述する信号処理等によって外光と区別して検出可能なものが好ましく、可視光とは波長分布が異なるか、或いは、点滅するなど変調が加えられることで発光態様が異なることが好ましい。また、指やタッチペン等の対象物体Obにより効率的に反射される波長域を有することが好ましい。例えば対象物体Obが指等の人体であれば、人体の表面で反射率の高い赤外線(特に可視光領域に近い近赤外線、例えば波長で850nm付近)であることが望ましい。
位置検出用光源12A〜12Dは本質的に複数設けられ、相互に異なる位置から位置検出光を放出するように構成される。本発明の第1の位置検出用光源と第2の位置検出用光源は、たとえば、上記位置検出用光源12A〜12Dのうちの任意の二つに相当する。
図4に示すように、導光板13の互いに対向する光入射面13aと13bにはそれぞれ第1の位置検出用光源12Aと第2の位置検出用光源12Bが対向配置され、その結果、第1の位置検出用光源12Aと第2の位置検出用光源12Bは導光板13を挟んで互いに対向するように配置される。この構成により、図1に示すように、第1の位置検出光L2aと第2の位置検出光L2bは、導光板13の内部を図示X方向に沿って互いに逆向きに伝搬しながら、それらの伝搬方向に沿って徐々に光出射面13sから出射される。
同様に、導光板13の互いに対向する光入射面13cと13dにはそれぞれ第1の位置検出用光源12Cと第2の位置検出用光源12Dが対向配置され、その結果、第1の位置検出用光源12Cと第2の位置検出用光源12Dは導光板13を挟んで互いに対向するように配置される。この構成により、第1の位置検出光L2cと第2の位置検出光L2dは、導光板13の内部を図示Y方向に沿って互いに逆向きに伝搬しながら、それらの伝搬方向に沿って徐々に光出射面13sから出射される。
導光板13はポリカーボネートやアクリル樹脂等の透明な樹脂材料で構成されることが好ましい。また、図示例では平面視矩形状で全体として平板状に構成されている。導光板13は四つの端面がそれぞれ上記光入射面13a〜13dとなっており、これらの光入射面13a〜13dに一つずつ上記位置検出用光源12A〜12D(の光放出部)が対向配置されている。
上記光出射面13s又はこの光出射面13sの反対側の背面13tには図示しない表面凹凸構造、プリズム構造、散乱層などが設けられ、このような光散乱構造によって、光入射面13a〜13dから入射して内部を伝搬する光は、その伝搬方向に進むに従って徐々に偏向されて光出射面13sより出射するように構成されている。
導光板13の背後には反射シート等で構成される光反射板14が配置され、導光板13の背面13tから出射される位置検出光L2a〜L2dを導光板13の内部に戻すように機能する。
さらに、導光板13の光出射側には、必要に応じて、位置検出光L2a〜L2dの均一化を図るための光拡散板、位置検出光L2a〜L2dの指向性を高めるためのプリズムシート等の集光板などの光学シート16が適宜に配置される。特に、光学シート16としては、導光板13の光出射面13sから出射される位置検出光L2a〜L2dの出射角(光出射面13sの法線方向との角度)が小さくなるように屈折させるための集光シートが用いられることが好ましい。これによって位置検出光L2a〜L2dが効率的に視認側(操作側)に出射され、高精度の、しかも安定した位置検出が可能になるように構成できる。
電気光学装置100において、導光板13の光出射側には、透過型の液晶表示体等の液晶表示パネルで構成される電気光学パネル20が配置される。この電気光学パネル20は、たとえば、透明な基板21と22をシール材23で貼り合わせ、基板間に液晶24を配置してなり、この液晶24の配向状態を図示しない電極によりそれぞれ制御可能に構成した複数の画素を備えている。
基板21には基板22の外形より周囲に張り出した基板張出部21tが設けられている。この基板張出部21t(の基板22側の表面)上には駆動回路等の電子部品25が実装されている。また、この基板張出部21tには、フレキシブル配線基板(FPC)等の配線部材26も実装されている。ただし、基板張出部21t上には配線部材26のみが実装されていても良く、さらには、電子部品25と配線部材26のいずれも実装されていなくてもよい。なお、必要に応じて基板21及び22の外面側には偏光板(図示せず)が配置される。表示領域20R内に配列される各画素は上記電子部品25などで構成される半導体ICチップ等よりなる駆動回路が出力する駆動信号によって駆動され、画素ごとに所定の透過状態となるように制御される。
電気光学パネル20の視認側(操作側)には光透過性を有する表装板30が配置され、この表装板30の外面(電気光学パネル20とは反対側の面)上に光検出器15が配置される。この光検出器15はフォトダイオード等の受光素子で構成され、上記位置検出光L2a〜L2dの強度を検出可能となるように構成される。例えば、後述するように位置検出光L2a〜L2dが赤外線であれば、光検出器15も赤外線に感度を有する受光素子で構成される。光検出器15の受光感度を位置検出光L2a〜L2dの波長域を選択的に検出できるように選定することにより、外光などの他の光による影響を低減できる。
表装板30の光検出器15側には、電気光学装置100を保持固定するための枠体や電気光学装置100を搭載する電子機器の筐体などで構成される表面板31(図1に二点鎖線で示す。)が配置され、この表面板31には、表装板30のうちの上記位置検出ユニット10の検出平面範囲10R、及び、上記電気光学パネル20の表示領域20Rを露出する開口部31aが設けられる。
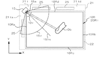
ここで、上記検出平面範囲10Rは、位置検出光L2a〜L2dが視認側(操作側)に出射される平面範囲であり、その結果、対象物体Obによる反射光が生じうる平面範囲である。図示例の場合、検出平面範囲10Rは矩形状であり、四つの辺10Ra〜10Rdを備えている。辺10Raと10Rbは短辺であり、辺10Rcと10Rdは長辺である。隣接する各辺の角部の内角範囲10rは90度となっている。この内角範囲10rは、本実施形態では図4に示す導光板13の角部の内角範囲13rと対応し、同一の角度範囲とされている。ただし、内角範囲10rは表面板31の開口部31aにより導光板13の内角範囲13rとは独立して設定することができる。
なお、検出平面範囲10Rは図示例では表面板31の開口部31aによって画成されるが、本発明はこれに限らず、導光板13の光出射面13sそのものによって規定される場合、電気光学パネル20の位置検出光の透過領域によって規定される場合、その他の遮光部材によって規定される場合など、結果として位置検出光が視認側(操作側)に出射される範囲であれば、その形成態様は特に問わない。
また、上記表示領域20Rは、電気光学パネル20の表示画像が形成可能な平面範囲であり、例えば、電気光学パネル20内において複数の画素(図示せず)が配列されている範囲である。図示例の場合、表示領域20Rは四つの辺を備えた矩形状であり、上記検出平面領域10Rと合同形状を有し、その位置は検出平面領域10Rと平面的に完全に一致している。ただし、本発明の場合、検出平面範囲10Rと表示領域20Rは少なくとも一部が平面的に重なっていればよい。
本実施形態の電気光学パネル20は、少なくとも表示領域20Rにおいて位置検出光L2a〜L2dを透過可能に構成される。これは、電気光学パネル20が導光板13よりも視認側(操作側)に配置されているからであり、後述するように、対象物体Obの平面位置を検出するためには、位置検出光L2a〜L2dを対象物体Obによる操作が行われる視認側へ出射させる必要があるからである。
一方、電気光学パネル20が導光板13の視認側とは反対側に配置される場合には表示領域20Rが位置検出光L2a〜L2dを透過するように構成されている必要は必ずしもないが、その代りに、表示領域Rが導光板13を通して視認側より透視可能に構成される必要がある。
なお、図示例とは異なり、表装板30や表面板31は設けられていなくても構わない。たとえば、表装板30が設けられずに直接電気光学パネル20が露出した構造としてもよい。
光検出器15は、図1に示すように、表面板31の開口縁部31bに取り付けられ、その受光部15aが検出平面範囲10Rに向かう姿勢で固定されている。受光部15aは開口縁部31bにおける検出平面範囲10R側の開口部31aに臨む縁部端面に露出している。なお、図示例では、光検出器15が開口縁部31bと平面的に重ねられ、視認側(操作側)から被覆された状態とされている。これにより、外装デザインへの制約を低減することができる。
図2に示すように、本実施形態において光検出器15は辺10Raと辺10Rdが交差する角部(図示例では上記検出平面範囲10Rの図示上側の二つの角部のうちの一方の角部)の外側に配置され、その受光部15aは当該角部の内側に向いている。光検出器15の受光部15aの検出可能角度範囲15rは検出中心軸15rsを中心として両側に60度ずつ合計120度の範囲である。そして、当該検出可能角度範囲15rは検出平面範囲10Rをすべて包含するように設定されている。すなわち、検出平面範囲10R内のすべての位置から受光部15aに向かう位置検出光を光検出器15が検出可能となるように構成される。図示例の場合、受光部15aの検出可能角度範囲15r(120度)が上記角部の内角範囲10r(90度)以上とされ、上記検出可能角度範囲15rが上記内角範囲10rの全体を包含するように構成される。
光検出器15は、電気光学パネル20に設けられた上記基板張出部21tと平面的に重なる位置に配置される。特に、図示例の場合には、光検出器15の全体が基板張出部21tと平面的に重なる範囲に配置されるように構成されている。図示例の基板張出部21tは、上記辺10Ra及び10Rdの外側に沿った帯状部分21taと21tdが連結されたL字状に構成され、帯状部分21taと21tdの連結部分が上記角部の外側に設けられ、光検出器15はこの連結部分と平面的に重なるように配置されている。
光検出器15の受光部15aの向きは、上記検出可能角度範囲15rが上記検出平面範囲10R内のすべての位置から入射する反射光を検出可能となるように構成される限り、特に限定されるものではないが、図示例では、受光部15aは、上記検出可能角度範囲15rの検出中心軸15rsが隣接する角部の内角の中心角度方向と一致する姿勢とされている。
以上のように構成された本実施形態においては、位置検出用光源12A〜12Dから放出された位置検出光L2a〜L2dはそれぞれ光入射面13a〜13dから導光板13の内部に入射し、導光板13の内部を伝搬しながら徐々に光出射面13sから出射し、その結果、位置検出光L2a〜L2dは並行して光出射面13sから面状に放出される。たとえば、位置検出光L2aは光入射面13aから光入射面13bに向けて導光板13の内部を伝搬しながら徐々に光出射面13sから放出されていく。
上記位置検出光L2a〜L2dは、光学シート16及び電気光学パネル20を透過して表装板30の視認側(操作側)に検出平面範囲10R全体から出射される。そして、表装板30の視認側(操作側)に指などの対象物体Obが配置されると、対象物体Obにより上記位置検出光L2a〜L2dが反射され、その反射光の一部が上記光検出器15により検出される。
なお、図示例では導光板13の各辺の端面である光入射面13a〜13dの中央部にそれぞれ位置検出用光源12A〜12Dが対向配置されているため、位置検出用光源12A〜12Dの光放出角度によっては光出射面13sの一部に位置検出光L2a〜L2dが放出されない領域も存在するが、このような領域は上記検出平面範囲10Rから除外されるように設定される。すなわち、前述のように、最終的に視認側(操作側)に位置検出光L2a〜L2dが並行して出射される平面範囲が上記検出平面範囲10Rとされる。
次に、上記光検出器15での検出に基づいて対象物体Obの位置情報の取得方法について説明する。この位置情報の取得方法は種々のものが考えられるが、例えば、その一例として、二つの位置検出光の検出光量の比率に基づいてそれらの減衰係数の比率を求め、この減衰係数の比率から両位置検出光の伝播距離を求めることにより、対応する二つの光源を結ぶ方向の位置座標を求める方法が挙げられる。
より具体的には、第1の位置検出用光源として12Aを、第2の位置検出用光源として12Bを用いる場合を挙げて説明すると、第1の位置検出用光源12Aの制御量(例えば電流量)、変換係数及び放出光量をIa、k及びEa、第2の位置検出用光源12Bの制御量(電流量)、変換係数及び放出光量をIb、k及びEbとすれば、Ea=k・Ia、Eb=k・Ibとなる。また、第1の位置検出光L2aの減衰係数及び検出光量をfa及びGa、第2の位置検出光L2bの減衰係数及び検出光量をfb及びGbとすれば、Ga=fa・Ea=fa・k・Ia、Gb=fb・Eb=fb・k・Ibとなる。
したがって、光検出器15において両位置検出光の検出光量の比であるGa/Gbが検出できるとすれば、Ga/Gb=(fa・Ea)/(fb・Eb)=(fa/fb)・(Ia/Ib)となるから、放出光量の比Ea/Eb及び制御量の比Ia/Ibに相当する値が分かれば、減衰係数の比fa/fbが判明する。この減衰係数の比と両位置検出光の伝播距離の比との間には正の相関があるので、この相関関係を予め設定しておくことで、対象物体Obの位置情報(第1の位置検出用光源から第2の位置検出用光源へ向かう方向の位置座標を得ることができる。
上記減衰係数の比fa/fbを求める方法としては、例えば、第1の位置検出用光源12Aと第2の位置検出用光源12Bを逆相で点滅(例えば、矩形波状若しくは正弦波状の駆動信号を伝播距離の差に起因する位相差が無視できる周波数で相互に180度の位相差を持つように動作)させた上で、検出光量の波形を解析する。より現実的には、例えば、一方の制御量Iaを固定し(Ia=Im)、検出波形が観測できなくなるように(すなわち、検出光量の比Ga/Gbが0となるように)他方の制御量Ibを制御し、このときの制御量Ib=Im・(fa/fb)から上記減衰係数の比fa/fbを導出する。
また、両制御量の和が常に一定Im=Ia+Ibとなるように制御してもよい。この場合には、Ib=Im・fb/(fa+fb)となるので、fb/(fa+fb)=αとすると、fa/fb=(1−α)/αにより、減衰係数の比が求まる。
本実施形態の場合、対象物体Obの図示X方向の位置情報は、第1の位置検出用光源12Aと第2の位置検出用光源12Bを相互に逆相で駆動することで取得することができる。また、対象物体ObのY方向の位置情報は、第1の位置検出用光源としての12Cと第2の位置検出用光源としての12Dを相互に逆相で駆動することで取得することができる。したがって、制御系において上記X方向とY方向の検出動作を順次行って対象物体Obの平面上の位置座標を取得できる。
また、第1の位置検出用光源として12Aと12Cとを同相で駆動し、第2の位置検出用光源として12Bと12Dとを同相で駆動して、第1の位置検出用光源と第2の位置検出用光源とを相互に逆相で駆動して検出する場合と、第1の位置検出用光源として12Aと12Dとを同相で駆動し、第2の位置検出用光源12Bと12Cとを同相で駆動して、第1の位置検出用光源と第2の位置検出用光源とを相互に逆相で駆動して検出する場合とを切り換えて順次に座標を求めることでも、対象物体Obの平面上の位置座標を取得できる。このような位置検出用光源を複数同時に点灯する構成によれば、例えば、第1の位置検出用光源としての12A及び12Cの側から、対向する第2の位置検出用光源としての12B及び12Dの側に向かう方向、あるいはその逆の方向の、位置検出にとって望ましい光出射面上の出射光量分布(位置検出光の良好な明暗の傾斜分布)が、1つの位置検出用光源を点灯する構成よりも広い幅の範囲で得られるため、より正確な位置検出が可能である。
上記のように、光検出器15により検出される第1の位置検出光と第2の位置検出光の光量比に基づいて対象物体Obの検出平面範囲10R内の平面位置情報を取得する方法としては、たとえば、位置情報取得手段としてマイクロプロセッサユニット(MPU)を用い、これにより所定のソフトウエア(動作プログラム)を実行することに従って処理を行う構成や、位置情報取得手段として論理回路等のハードウエアを用いて処理を行う構成などが挙げられる。これらの位置情報取得手段は、電気光学装置100の一部として組み込まれていても良く、或いは、電気光学装置100が搭載される電子機器の内部において構成されていてもよい。
なお、位置情報の取得方法としては、上記のように導光板13の内部の伝搬距離に対応する第1の位置検出光と第2の位置検出光の光量比に基づく方法の他に、たとえば、上記伝搬距離に対応する第1の位置検出光と第2の位置検出光の位相差に基づく方法も考えられる。この場合には、当該位相差の大小と上記伝搬距離の差との関係に応じて対象物体Obの平面位置情報を算出する。
以上のように構成された本実施形態では、上記検出平面範囲10R内において対象物体Obの位置情報を検出することができるが、位置検出光L2a〜L2dを導光板13の光入射面13a〜13dから入射させ、光入射面と交差(図示例では直交)する光出射面13sから出射させることで、従来のように多数の光源や光検出器、或いは、光スイッチ等を配列させる方法に比べると、位置検出用の素子数を大幅に低減することができるため、大幅な構造の簡易化、製造コストの低減、及び消費電力の低減を図ることができる。
特に、第1の位置検出用光源と第2の位置検出用光源とが導光板13を挟んで互いに対向する位置に配置されていることにより、それぞれの光源より放出される第1の位置検出光と第2の位置検出光とが導光板13の内部を互いに逆向きに伝搬することとなるので、対象物体Obにより反射される両光の内部伝搬距離の大小関係が相補的な関係、すなわち、一方の伝搬距離が増大すると他方の伝搬距離が減少する関係となるので、両光源を結ぶ方向の対象物体Obの位置情報を容易にしかも高精度に検出することができる。
また、本実施形態によれば、図2に示すように、上記光検出器15が矩形状の検出平面範囲10Rの角部の外側に隣接配置され、受光部15aが検出平面範囲10Rに向いた姿勢とされることにより、受光部15aの検出可能角度範囲15rが限定されている場合でも、容易かつ確実に、検出平面範囲10Rのいずれの位置から入射する反射光をも検出できるように構成できる。また、このように構成するために光検出器15の数を増大させたり、光検出器15を検出平面範囲10Rより離間させたり、検出可能角度範囲の広い光検出器15を用いたりする必要がなくなるので、製造コストの低減や電気光学装置の小型化を図ることができる。
なお、上記実施形態では、検出平面範囲10Rを矩形状としたが、三角形状、矩形以外の四角形状、五角形状など、任意の多角形状の検出平面範囲10Rにおいても、光検出器15を角部の外側に隣接配置することで上記と同様の効果を得ることができる。ここで、多角形状とは、角部が丸められた多角形、角部が面取りされた多角形なども含む意味とされる。
本実施形態では、光検出器15が電気光学パネル20の基板張出部21tと平面的に重なる領域に配置されるので、光検出器15を配置することによる電気光学装置100の平面範囲(特に額縁領域)の増大量を無くすか、或いは、低減することができるため、電気光学装置100の小型化を図ることができる。すなわち、基板張出部21tは表示領域20Rの外側に形成されるので、基板張出部21tを検出平面範囲10Rの外側に配置することに支障はなく、したがって、検出平面範囲10Rと表示領域20Rから外れた部分を平面的に重ねることでスペース効率を向上することができる。
特に、本実施形態では、基板張出部21tが検出平面範囲10Rの隣接する二辺に沿った帯状部21ta,21tdが連結されてなるL字状に構成され、当該連結部分が光検出器15の配置される検出平面範囲10Rの角部の外側に設けられる。したがって、この連結部分と光検出器15とが平面的に重なるように構成することにより、光検出器15を容易に基板張出部21tと平面的に重ねることができる。特に光検出器15の全体が当該基板張出部21tの平面範囲内に収まるように容易に構成できる。
なお、本実施形態では、光入射面13a〜13dの各辺の中央部にそれぞれ位置検出用光源12A〜12Dを対向配置したが、位置検出用光源12A〜12Dの各辺における位置は特に限定されず、例えば、各辺の両端部や導光板13の角部にそれぞれ位置検出用光源を対向配置してもよい。ただし、第1の位置検出用光源と第2の位置検出用光源とが導光板13を挟んで互いに対向するように配置させることが好ましい点は上記と同様である。
また、本実施形態では、矩形状の検出平面範囲10Rのうち、表示領域20Rの上側に相当する角部(図示上側の角部)の外側に光検出器15を隣接配置することで、指やタッチペン等の対象物体Obからの反射光を効率的に反射させることができる。すなわち、一般的に対象物体Obの先端部、例えば指やタッチペンの先端部からの反射光については、他の指や掌などの障害物が配置されにくい表示画面の上方(本実施形態の場合には斜め上方)には支障なく到達するものと考えられるので、表示画面の下方に光検出器を配置する場合に比べて確実かつ安定的に検出を行うことができる。
[第2実施形態]
次に、図5乃至図7を参照して本発明に係る第2実施形態について説明する。図5は第2実施形態の縦断面図、図6は平面図、図7は主要構成の分解斜視図である。なお、本実施形態において、第1実施形態と対応する部分には同一符号を付し、第1実施形態と同様の内容については説明を省略する。
本実施形態では、第1実施形態と同様の位置検出用光源12A〜12D、導光板13、反射板14、電気光学パネル20、表装板30、表面板31を備えているが、さらに、電気光学パネル20を照明するための照明装置40を設けている点で第1実施形態とは異なる。
本実施形態では、照明装置40は、照明用光源41と、この照明用光源41から放出される照明光を伝搬させながら出射する照明用導光板43とを有している。照明用光源41は例えばLED(発光ダイオード)等の発光素子で構成され、図示しない駆動回路から出力される駆動信号に応じて例えば白色の照明光L4を放出する。好ましくは、図7に示すように、複数の照明用光源41が第1の光入射面43aに沿って配列される。
図7に示すように、照明用導光板43は平面視矩形状に構成され、そのうちの一辺に設けられた光入射面43aから照明用光源41から放出される照明光L4が入射される。照明光L4は光入射面43aから内部に採り込まれ、その内部を反対側の外縁部43bへ向けて伝播していく。そして、照明光L4は照明用導光板43の内部を伝搬しながら徐々に一方の表面である光出射面43sから出射される。
本実施形態の照明用の照明用導光板43は本質的に光入射面43a側から反対側の外縁部43bに向けて内部伝播光に対する光出射面43sからの出射光の光量比率が単調に増加する導光構造を有している。この導光構造は、例えば、照明用導光板43の光出射面43s又はその反対側の表面である背面43tに形成された光偏向用若しくは光散乱用の微細な凹凸形状の屈折面の面積、印刷された散乱層の形成密度などを上記内部伝播方向に向けて徐々に高めることで実現される。このような導光構造を設けることで、光入射面43aから入射した照明光L4は光出射面43sからほぼ均一に出射される。したがって、本実施形態においては照明用導光板43は照明用の面状光源として用いられる。
上記照明用導光板43は電気光学パネル20の視認側とは反対側に、電気光学パネル20の表示領域20Rと平面的に重なるように配置され、いわゆるバックライトとして機能する。ただし、照明用導光板43を電気光学パネル20の視認側に配置して、いわゆるフロントライトとして機能するように構成してもよい。また、図示例の場合、照明用導光板43は位置検出用の導光板13と光学シート16の間に配置されている。ただし、照明用導光板43を導光板13の視認側とは反対側に配置してもよい。
また、図示例では光学シート16を導光板13と照明用導光板43で(すなわち、位置検出光L2a〜L2dと照明光L4とで)共用としているが、照明用導光板43の光出射側に上記光学シート16とは別の専用の光学シートを配置してもよい。これは、照明用の照明用導光板43においては光出射面43sから出射される照明光L4の平面輝度を均一化するために十分な光拡散作用を呈する光拡散板を用いることが多いが、位置検出用の導光板13においては光出射面13sから出射される位置検出光L2a〜L2dを大きく拡散させてしまうと位置検出の妨げとなるため、光拡散板を設けないか、或いは、比較的軽度の光拡散作用を呈する光拡散板を用いる必要があることから、光拡散板については照明用導光板43の専用品とすることが好ましいからである。ただし、プリズムシートなどの集光作用のある光学シートについては共用としても構わない。
なお、本実施形態の照明用導光板43では、光入射面43aに隣接する光出射側の表面部分(光出射面43sの光入射面43a側の外周部)には傾斜面43gが設けられ、これにより照明用導光板43では光入射面43aに向けて厚みが徐々に増加するように構成される。この傾斜面43gを有する入光構造によって光出射面43sが設けられる部分の厚みの増加を抑制しつつ、光入射面43aの高さを大きくして照明用光源41の光放出領域の高さと対応するように形成される。これは、近年の表示装置の薄型化の要請に応えるために照明用導光板43の厚みを小さくしつつ、小型化が進展していない発光素子(照明用光源41)からの放出光の採り込み効率を高めて照明輝度を向上させるためである。
本実施形態では、電気光学パネル20が透過型若しくは半透過型の液晶表示パネルとして構成され、これによって、表示領域20Rが位置検出光L2a〜L2dのみならず、照明光L4も透過可能に構成されている。ここで、図6に示すように、照明光L4による照明範囲43Rは、表示領域20Rを全て含む範囲とされ、その結果、表示領域20R全体が面状に照明される。
[第3実施形態]
次に、図8を参照して本発明に係る第3実施形態について説明する。図8は本実施形態の平面図である。なお、本実施形態において図示しない事項及び説明しない事項は上記第1実施形態及び第2実施形態と同様に構成することができる。
本実施形態では、図8に示すように、光検出器15の受光部15aの検出可能角度範囲15rが上記検出平面範囲10Rをすべて含むように設定されている点では上記と同様であるが、その検出中心軸15rsが上記検出平面範囲10Rにおける、光検出器15と隣接する角部と対向する角部に向いている点で異なる。
このように、光検出器15の受光部15aの検出可能角度範囲15rは、上記検出平面範囲10Rにおける光検出器15が隣接する角部の内角10rによって規定される方向を全て含むように構成されていれば足り、第1及び第2実施形態のように検出中心軸15rsが上記検出平面範囲10Rにおける光検出器15が隣接する角部の内角10rの中心角度と一致している必要はない。ただし、上記検出中心軸15rsが矩形状の検出平面範囲10Rの対向する角部を通過するように設定されることで、光検出器15の受光部15aの検出可能角度範囲15rが上記検出平面範囲10R内の全ての位置からの反射光を検出可能となるように構成されるように光検出器15を形成しておけば、光検出器15の組み立て時(例えば、表面板31に対する取り付け固定時)において容易に光検出器15の位置決め或いは姿勢の確認をすることができるという利点が得られる。
[第4実施形態]
次に、図9を参照して本発明に係る第4実施形態について説明する。図9は本実施形態の平面図である。なお、本実施形態において図示しない事項及び説明しない事項は上記第1実施形態及び第2実施形態と同様に構成することができる。
本実施形態では、図9に示すように、光検出器15の受光部15aの検出可能角度範囲15rが、上記検出平面範囲10Rの隣接する角部から外れている。ただし、上記検出可能角度範囲15rは、当該角部を除いて、上記検出平面範囲10R内の他の全ての位置からの反射光を検出可能となるように設定されている。このように構成しても、光検出器15が上記検出平面範囲10Rの角部の外側において上記検出平面範囲10Rに向いた姿勢で設置されている点では上記各実施形態と同様である。
本実施形態では、図示例のように、電気光学パネル20において基板張出部21tが上記検出平面範囲10Rの辺10Raに沿った帯状部21taのみで構成されている。そして、光検出器15を、基板張出部21tと平面的に重なる範囲内に収まるように上記角部よりやや辺10Ra側にシフトさせて配置している。
[第5実施形態]
次に、図10を参照して本発明に係る第5実施形態について説明する。図10は本実施形態の平面図である。なお、本実施形態において図示しない事項及び説明しない事項は上記第1実施形態及び第2実施形態と同様に構成することができる。
本実施形態では、図10に示すように、光検出器15の受光部15aの検出可能角度範囲15rが、光検出器15に隣接する上記検出平面範囲10Rの角部の内角10rと実質的に一致するように構成される。すなわち、上記検出可能角度範囲15rは、上記検出平面範囲10Rの相互に隣接する辺10Raと10Rdの間の角度範囲となるように構成される。
このように構成すると、光検出器15が検出可能な光は上記検出平面範囲10R内の位置から入射する光に限定されるので、位置検出光以外の、外光その他のノイズとなるべき光を検出する可能性を低減することができる。
なお、上記の説明では、光検出器15の受光部15aの検出可能角度範囲15rを上記検出平面範囲10R上の平面上の角度範囲としてのみ述べてきたが、実際には光検出器15の受光部15aは、上記検出平面範囲10Rの平面と直交する角度方向(視認側、或いは、視認側とは反対側)にも検出可能角度範囲を備えており、この角度方向の検出可能角度範囲が広すぎると、外光その他のノイズとなるべき光を検出してしまったり、導光板13や43から直接入射する光を検出してしまったりする可能性が増大する。したがって、当該角度方向の検出可能角度範囲については、指などの対象物体Obが表装板30と接触したときに確実に位置検出光L2a〜L2dを検出可能な範囲でなるべく狭く設定することが好ましい。
ただし、本発明の位置情報取得手段では、上述のように位置検出光の波長を可視光領域から外れた波長領域に設定したり、位置検出光を点滅させるなど変調を加えたりすることによって、上記の外光その他のノイズによる影響を低減し若しくは無くすことができる。
[第6実施形態]
次に、図11を参照して本発明に係る第6実施形態について説明する。図11は本実施形態の平面図である。なお、本実施形態において図示しない事項及び説明しない事項は上記第1実施形態及び第2実施形態と同様に構成することができる。
本実施形態では、図11に示すように、光検出器15の本体形状と、その受光部15aの姿勢との関係を上記各実施形態とは異なる関係としたものである。図示例では、光検出器15が平面視で矩形状の外形を備え、その矩形状の隣接する二辺が電気光学パネル20(の基板張出部21t)の平面範囲の外縁の隣接する二辺と平行になるように、当該平面範囲の角部内に配置されている。
一方、光検出器15の受光部15aは、光検出器15の外形の受光部15aの側の辺に対して偏った上記検出可能角度範囲15rを有している。すなわち、当該検出可能角度範囲15rの一方の境界方向は光検出器15の受光部15aの側の辺に対してほぼ直交し、他方の境界方向は受光部15aの側の辺に対してほぼ平行となっている。
なお、図示例では、上記検出可能角度範囲15rは、上記検出平面範囲10R内から入射する反射光の入射角範囲と実質的に一致している。すなわち、当該検出可能角度範囲15rの一方の境界方向は、上記検出平面範囲10Rにおける、光検出器15に隣接する角部及び当該角部と対向する角部以外の残りの二つの角部(すなわち、辺10Rdと10Rbが交差してなる角部、及び、辺10Raと10Rcが交差してなる角部)のうちの一方の角部に向かう方向とされ、他方の境界方向は、当該二つの角部のうち他方の角部に向かう方向とされる。
[比較例]
最後に、上記実施形態とは異なる比較例について図12及び図13を参照して説明する。図12は光検出器15を上記検出平面範囲10Rの辺10Rdの中央部の外側に隣接配置した場合を示す平面図である。
図12に示すように、この比較例では、光検出器15の受光部15aの検出可能角度範囲15rには、上記検出平面範囲10Rのうち光検出器15が隣接配置された辺10Rdの両側の角部近傍の領域10Rx、10Ryに向かう方位が含まれず、したがって、当該両角部近傍からの反射光を検出することができない。
光検出器15の位置を変えずに上記の問題を解決するには、上記検出可能角度範囲15rを広げるか、或いは、複数の光検出器15を配置して検出不能領域を無くす必要がある。しかし、このような方法では、特殊な光検出器を用いたり、光検出器の数を増やしたりする必要があるので、いずれにしても製造コストが増大する。
また、他の解決策としては、図13に示すように、光検出器15を上記検出平面範囲10Rから遠ざけることで、同じ検出可能角度範囲15rであっても、その中に上記検出平面範囲10R内の全ての位置へ向かう方位が含まれるように構成することが考えられる。しかしながら、この方法では、検出平面範囲10Rの外縁から光検出器15の受光部15aまでの距離Lxを大きくし、光検出器15を上記検出平面範囲10Rの周囲外側へ離間させる必要があるので、装置の平面範囲が増大し、特に上記検出平面範囲10Rや表示領域20Rの周囲に設けられる額縁領域が増加して、装置の小型化が妨げられるという致命的な問題を生ずる。
これに対して上記の実施形態では、光検出器15を上記検出平面範囲10Rの角部の外側に配置することで、光検出器の数を低減し、特殊な光検出器を用いる必要もなくすことができることで製造コストを低減できるという利点があり、また、装置の小型化を図ることができるという利点をも有する。
尚、本発明の位置検出装置及び電気光学装置は、上述の図示例にのみ限定されるものではなく、本発明の要旨を逸脱しない範囲内において種々変更を加え得ることは勿論である。たとえば、上記各実施形態では一つの光検出器15のみを設けているが、本発明において規定される上記の位置に光検出器15が配置されていれば、その他にさらに別の光検出器が適宜の位置に配置されていても構わない。
また、上記電気光学パネル20としては、上述の液晶表示パネルに限らず、本発明の原理を妨げるものでなければ、有機エレクトロルミネッセンスパネルなどといった他の形式のパネルを用いることも可能である。
電気光学装置の第1実施形態の構成を模式的に示す概略断面図。 第1実施形態を視認側から見た様子を示す平面図。 電気光学装置の第1実施形態の主要構成を示す分解斜視図。 第1実施形態の位置検出用光源、導光板及び光検出器の位置関係を示す平面図。 電気光学装置の第2実施形態の構成を模式的に示す概略断面図。 第2実施形態を視認側から見た様子を示す平面図。 第2実施形態の主要構成を示す分解斜視図。 第3実施形態を視認側から見た様子を示す平面図。 第4実施形態を視認側から見た様子を示す平面図。 第5実施形態を視認側から見た様子を示す平面図。 第6実施形態を視認側から見た様子を示す平面図。 比較例を視認側から見た様子を示す平面図。 異なる比較例を視認側から見た様子を示す平面図。
符号の説明
10…位置検出ユニット、11…照明用光源、12A、12B、12C、12D…位置検出用光源、13…導光板、13a、13b、13c、13d…光入射面、13s…光出射面、14…光反射板、15…光検出器、15a…受光部、15r…検出可能角度範囲、15rs…検出中心軸、16…光学シート、20…電気光学パネル、30…表装板、31…表面板、31a…開口部、31b…開口縁部、41…照明用光源、43…照明用導光板、L2a、L2b、L2c、L2d…位置検出光、L4…照明光

Claims (6)

  1. 検出範囲の中にある対象物体の位置を検出する位置検出装置であって、
    光を放出する第1の位置検出用光源と、
    光を放出する第2の位置検出用光源と、
    前記第1の位置検出用光源により放出された光および前記第2の位置検出用光源により放出された光を伝搬するとともに外部に出射する導光板と、
    前記導光板から出射した光のうち前記対象物体によって反射された光を受ける光検出器と、を備え、
    前記対象物体の位置を検出するときには、前記第1の位置検出用光源の電流値である第1電流値および前記第2の位置検出用光源の電流値である第2電流値の和が一定になるように制御することを特徴とする位置検出装置。
  2. 前記検出範囲は多角形状に構成されており、
    前記導光板に設けられ、前記第1の位置検出用光源により放出された第1の位置検出光を受ける第1の光入射面と、
    前記導光板に設けられ、前記第2の位置検出用光源により放出された第2の位置検出光を受ける第2の光入射面と、
    前記導光板に設けられ、前記第1の位置検出光および前記第2の位置検出光を出射する光出射面と、
    前記導光板に対し前記第1の位置検出光及び前記第2の位置検出光の出射側に配置され、前記検出範囲に向けられた受光部と、
    を備えることを特徴とする請求項1に記載の位置検出装置
  3. 前記導光板において、前記第1の光入射面と前記第2の光入射面とは互いに対向する位置に設けられ、前記第1の位置検出用光源と前記第2の位置検出用光源とは前記導光板を挟んで互いに対向する位置に配置されることを特徴とする請求項2に記載の位置検出装置。
  4. 前記検出範囲は矩形状に構成されることを特徴とする請求項1に記載の位置検出装置。
  5. 検出範囲の中にある対象物体の位置を光学的に検出するための以下の構成、
    (a)光を放出する第1の位置検出用光源、
    (b)光を放出する第2の位置検出用光源、
    (c)前記第1の位置検出用光源により放出された前記光および前記第2の位置検出用光源により放出された前記光を伝搬するとともに外部に出射する導光板、
    (d)前記導光板から出射した光が前記対象物体によって反射した光を受ける光検出器、
    (e)前記対象物体の位置を検出するときには、前記第1の位置検出用光源の電流値である第1電流値および前記第2の位置検出用光源の電流値である第2電流値の和が一定になるように制御する制御部、
    を有する位置検出装置と、
    少なくとも一部が前記検出範囲と重なる表示領域を備え、前記光検出器に対して前記第1の位置検出用光源により放出された光および前記第2の位置検出用光源により放出された光の進行方向とは逆側に配置された電気光学パネルと、
    を具備する電気光学装置。
  6. 前記電気光学パネルは前記導光板と前記光検出器の間に配置され、前記表示領域は前記第1の位置検出光及び前記第2の位置検出光を透過可能に構成されていることを特徴とする請求項5に記載の電気光学装置。
JP2008300515A 2008-11-26 2008-11-26 位置検出装置及び電気光学装置 Active JP5515280B2 (ja)

Priority Applications (1)

Application Number Priority Date Filing Date Title
JP2008300515A JP5515280B2 (ja) 2008-11-26 2008-11-26 位置検出装置及び電気光学装置

Applications Claiming Priority (1)

Application Number Priority Date Filing Date Title
JP2008300515A JP5515280B2 (ja) 2008-11-26 2008-11-26 位置検出装置及び電気光学装置

Publications (2)

Publication Number Publication Date
JP2010127671A JP2010127671A (ja) 2010-06-10
JP5515280B2 true JP5515280B2 (ja) 2014-06-11

Family

ID=42328194

Family Applications (1)

Application Number Title Priority Date Filing Date
JP2008300515A Active JP5515280B2 (ja) 2008-11-26 2008-11-26 位置検出装置及び電気光学装置

Country Status (1)

Country Link
JP (1) JP5515280B2 (ja)

Families Citing this family (10)

* Cited by examiner, † Cited by third party
Publication number Priority date Publication date Assignee Title
JP5533407B2 (ja) * 2010-08-04 2014-06-25 セイコーエプソン株式会社 光学式位置検出装置および位置検出機能付き機器
JP5533408B2 (ja) * 2010-08-04 2014-06-25 セイコーエプソン株式会社 光学式位置検出装置および位置検出機能付き機器
JP5521995B2 (ja) 2010-11-18 2014-06-18 セイコーエプソン株式会社 光学式位置検出装置および位置検出機能付き機器
JP5625866B2 (ja) 2010-12-16 2014-11-19 セイコーエプソン株式会社 光学式位置検出装置および位置検出機能付き機器
JP5732980B2 (ja) 2011-04-04 2015-06-10 セイコーエプソン株式会社 光学式位置検出装置、光学式位置検出システム、および入力機能付き表示システム
JP5742398B2 (ja) 2011-04-06 2015-07-01 セイコーエプソン株式会社 光学式位置検出装置、および入力機能付き表示システム
JP5821333B2 (ja) 2011-06-30 2015-11-24 セイコーエプソン株式会社 光学式位置検出装置および入力機能付き表示システム
JP5754266B2 (ja) 2011-06-30 2015-07-29 セイコーエプソン株式会社 指示部材、光学式位置検出装置、および入力機能付き表示システム
JP2013024579A (ja) 2011-07-15 2013-02-04 Seiko Epson Corp 光学式位置検出装置および入力機能付き表示システム
JP5799627B2 (ja) 2011-07-15 2015-10-28 セイコーエプソン株式会社 位置検出装置、位置検出システムおよび入力機能付き表示システム

Family Cites Families (4)

* Cited by examiner, † Cited by third party
Publication number Priority date Publication date Assignee Title
JPS63128415A (ja) * 1986-11-19 1988-06-01 Fujitsu Ltd 光学式座標検出装置
JPH0540574A (ja) * 1991-08-06 1993-02-19 Fujitsu Ltd 位置認識装置
JP2003280802A (ja) * 2002-03-22 2003-10-02 Canon Inc 座標入力装置
JP2005025415A (ja) * 2003-06-30 2005-01-27 Sony Corp 位置検出装置

Also Published As

Publication number Publication date
JP2010127671A (ja) 2010-06-10

Similar Documents

Publication Publication Date Title
JP5515280B2 (ja) 位置検出装置及び電気光学装置
JP4513918B2 (ja) 照明装置及び電気光学装置
US8896576B2 (en) Touch panel, liquid crystal panel, liquid crystal display device, and touch panel-integrated liquid crystal display device
JP4623154B2 (ja) 照明装置、座標入力装置、電気光学装置及び電子機器
US10152174B2 (en) Position input device and touch panel
CN101989155B (zh) 光学位置检测装置和带位置检测功能的显示装置
JP4683135B2 (ja) 位置検出機能付き表示装置および電子機器
US8581892B2 (en) Optical position detecting device and display device with position detecting function
JP4706771B2 (ja) 位置検出装置及び電気光学装置
JP2009295318A (ja) 照明装置及び電気光学装置
JP2011257338A (ja) 光学式位置検出装置および位置検出機能付き表示装置
JP5493674B2 (ja) 光検出器、光学式位置検出装置および位置検出機能付き表示装置
US20110063253A1 (en) Optical position detector and display device with position detection function
TWI410685B (zh) 波導模組、光學觸控模組以及提高光學觸控模組之訊雜比之方法
JP2014021790A (ja) 座標入力装置、座標検出方法、及び座標入力システム
JP2004030003A (ja) 光学式タッチパネル装置
US20100225581A1 (en) Optical position detecting device, display device with position detecting function, and electronic apparatus
JP2010198548A (ja) 位置検出装置、電気光学装置及び電子機器
JP5412868B2 (ja) 位置検出装置、電気光学装置及び電子機器
TWI526900B (zh) 光學觸控裝置及用於其之顯示模組與光源組件
JP4952726B2 (ja) 位置検出装置、電気光学装置及び電子機器
JP2013250815A (ja) 座標入力装置及び座標入力システム
JP2013250817A (ja) 座標入力装置及び座標入力システム
JP5029631B2 (ja) 光学式位置検出装置、位置検出機能付き表示装置、および電子機器
JP2011252882A (ja) 光学式位置検出装置

Legal Events

Date Code Title Description
A621 Written request for application examination

Free format text: JAPANESE INTERMEDIATE CODE: A621

Effective date: 20110316

A977 Report on retrieval

Free format text: JAPANESE INTERMEDIATE CODE: A971007

Effective date: 20120907

A131 Notification of reasons for refusal

Free format text: JAPANESE INTERMEDIATE CODE: A131

Effective date: 20121002

A521 Written amendment

Free format text: JAPANESE INTERMEDIATE CODE: A523

Effective date: 20121203

A131 Notification of reasons for refusal

Free format text: JAPANESE INTERMEDIATE CODE: A131

Effective date: 20130903

A521 Written amendment

Free format text: JAPANESE INTERMEDIATE CODE: A523

Effective date: 20131028

A131 Notification of reasons for refusal

Free format text: JAPANESE INTERMEDIATE CODE: A131

Effective date: 20131203

A521 Written amendment

Free format text: JAPANESE INTERMEDIATE CODE: A523

Effective date: 20140116

TRDD Decision of grant or rejection written
A01 Written decision to grant a patent or to grant a registration (utility model)

Free format text: JAPANESE INTERMEDIATE CODE: A01

Effective date: 20140304

A61 First payment of annual fees (during grant procedure)

Free format text: JAPANESE INTERMEDIATE CODE: A61

Effective date: 20140317

R150 Certificate of patent or registration of utility model

Ref document number: 5515280

Country of ref document: JP

Free format text: JAPANESE INTERMEDIATE CODE: R150

R250 Receipt of annual fees

Free format text: JAPANESE INTERMEDIATE CODE: R250

R250 Receipt of annual fees

Free format text: JAPANESE INTERMEDIATE CODE: R250