JP5497528B2 - 積層ゴム支承 - Google Patents

積層ゴム支承 Download PDF

Info

Publication number
JP5497528B2
JP5497528B2 JP2010107994A JP2010107994A JP5497528B2 JP 5497528 B2 JP5497528 B2 JP 5497528B2 JP 2010107994 A JP2010107994 A JP 2010107994A JP 2010107994 A JP2010107994 A JP 2010107994A JP 5497528 B2 JP5497528 B2 JP 5497528B2
Authority
JP
Japan
Prior art keywords
metal material
cap plate
plug
laminated rubber
elastic
Prior art date
Legal status (The legal status is an assumption and is not a legal conclusion. Google has not performed a legal analysis and makes no representation as to the accuracy of the status listed.)
Active
Application number
JP2010107994A
Other languages
English (en)
Other versions
JP2011236957A (ja
Inventor
栄 上田
Current Assignee (The listed assignees may be inaccurate. Google has not performed a legal analysis and makes no representation or warranty as to the accuracy of the list.)
Nippon Pillar Packing Co Ltd
Original Assignee
Nippon Pillar Packing Co Ltd
Priority date (The priority date is an assumption and is not a legal conclusion. Google has not performed a legal analysis and makes no representation as to the accuracy of the date listed.)
Filing date
Publication date
Application filed by Nippon Pillar Packing Co Ltd filed Critical Nippon Pillar Packing Co Ltd
Priority to JP2010107994A priority Critical patent/JP5497528B2/ja
Publication of JP2011236957A publication Critical patent/JP2011236957A/ja
Application granted granted Critical
Publication of JP5497528B2 publication Critical patent/JP5497528B2/ja
Active legal-status Critical Current
Anticipated expiration legal-status Critical

Links

Images

Landscapes

  • Springs (AREA)
  • Buildings Adapted To Withstand Abnormal External Influences (AREA)
  • Vibration Prevention Devices (AREA)

Description

本発明は、積層ゴム支承に関する。さらに詳しくは、弾塑性金属材料プラグ挿入型積層ゴム支承に関する。
集合住宅、ビル(商業ビルなど)、官庁建物、病院、工場、戸建て住宅など免震建物の支承装置として、積層ゴム支承が用いられている。積層ゴム支承としては、鉛、錫などのプラグが挿入された鉛(錫)プラグ挿入型積層ゴム支承、およびこのようなプラグを有さない積層ゴム支承が挙げられる。
地震の際の振動減衰能力の観点から、鉛(錫)プラグ挿入型積層ゴム支承が、一般的に用いられている(特許文献1〜3)。鉛(錫)プラグは、通常、金属性のキャッププレートによって塞がれており、直接空気などと接触しない。しかし、キャッププレートが固定されているフランジプレートも金属製であり、キャッププレートとフランジプレートとの固定部分は、金属接触部となるため、例えば、特許文献1に記載のように単にボルトで固定するだけでは、微小な隙間が存在する。
このような隙間から水が侵入してプラグと接触すると、鉛、錫などを含む成分が溶出して、土壌中に漏洩したり、あるいは空気が侵入すると、鉛、錫などの酸化物が大気中に漏洩したりする。鉛、錫などは重金属であり、土壌中、大気中などに漏洩すると、環境に悪影響を与えることになる。
このような漏洩を防止するために、特許文献2の免震支承装置では、キャッププレートの代わりにゴム柱を用いて、接着剤で固定している。しかし、接着剤で固定するだけでは、完全に隙間を塞ぐことは困難である。
一方、特許文献3の積層ゴム支承体では、シール材が用いられているものの、シール材は、鉛などの成分の漏洩を防止する目的ではなく、鉛の被拘束性が保持できなくなることを防止する目的で用いられている。すなわち、特許文献3のようなシール材の使用方法では、鉛などの成分の漏洩を防止することはできない。
特開平10−168822号公報 特開2005−233205号公報 特開2009−115176号公報
本発明の目的は、優れた振動減衰能力を有し、さらにプラグとして用いられる鉛、錫などの成分が大気中、土壌中などに漏洩せず環境汚染を防止し得る積層ゴム支承を提供することにある。
本発明は、鋼板とゴム層とを交互に積層した積層体、フランジプレート、キャッププレート、シール手段、および弾塑性金属材料プラグを備える積層ゴム支承を提供し、該積層ゴム支承は、該積層体が、積層方向に貫通する貫通孔を有し、該貫通孔に密着するように該弾塑性金属材料プラグが挿入され、該弾塑性金属材料プラグの上下端面が、それぞれ該キャッププレートに接触し、該積層体の上下端面が、それぞれ該フランジプレートに接合され、該キャッププレートが、該フランジプレートに嵌合され、そして該フランジプレートと該キャッププレートとの隙間が、該シール手段によって封止されている。
1つの実施態様では、上記弾塑性金属材料プラグは、鉛プラグまたは錫プラグである。
ある実施態様では、上記シール手段は、Oリング、グランドパッキン、樹脂系封止剤およびガスケットからなる群より選択される少なくとも1種である。
本発明によれば、優れた振動減衰能力を有し、さらにプラグとして用いられる鉛、錫などの成分が大気中、土壌中などに漏洩せず環境汚染を防止し得る積層ゴム支承を提供することができる。
本発明の積層ゴム支承の一実施態様を示す縦断面図である。 本発明の積層ゴム支承において、弾塑性金属材料プラグの端面を、キャッププレートおよびシール手段によって封止する一実施態様を示す縦断面図である。 本発明の積層ゴム支承において、弾塑性金属材料プラグの端面を、キャッププレートおよびシール手段によって封止する他の実施態様を示す縦断面図である。 本発明の積層ゴム支承において、弾塑性金属材料プラグの端面を、キャッププレートおよびシール手段によって封止するさらに他の実施態様を示す縦断面図である。 本発明の積層ゴム支承において、弾塑性金属材料プラグの端面を、キャッププレートおよびシール手段によって封止する別の実施態様を示す縦断面図である。 本発明の積層ゴム支承において、弾塑性金属材料プラグの端面を、キャッププレートおよびシール手段によって封止するさらに別の実施態様を示す縦断面図である。 本発明の積層ゴム支承において、弾塑性金属材料プラグの端面を、キャッププレートおよびシール手段によって封止する他の実施態様を示す縦断面図である。 本発明の積層ゴム支承において、弾塑性金属材料プラグの端面を、キャッププレートおよびシール手段によって封止するさらに他の実施態様を示す縦断面図である。 本発明の積層ゴム支承において、弾塑性金属材料プラグの端面を、キャッププレートおよびシール手段によって封止する別の実施態様を示す縦断面図である。
本発明の積層ゴム支承を、図面を参照して説明する。
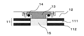
図1は、本発明の積層ゴム支承の一実施態様を示す縦断面図である。図1の積層ゴム支承1は、鋼板111とゴム層112とを交互に積層した積層体11、フランジプレート12、キャッププレート13、シール手段14、および弾塑性金属材料プラグ15を備える。
本発明に用いられる積層体11は、鋼板111とゴム層112との積層構造を有する。
鋼板111としては、例えば、鉄系の鋼板、ステンレス系の鋼板などが挙げられる。これらの鋼板の中でも、腐食しにくいステンレス系の鋼板などが好ましい。
ゴム層112に用いられるゴム材料としては、例えば、天然ゴム、ブタジエンゴム、イソプレンゴム、ブチルゴム、クロロプレンゴム、ニトリルゴムなどが挙げられる。
鋼板111とゴム層112との積層数は、積層ゴム支承として用いられ得る積層数であれば特に限定されず、好ましくは20層〜60層、より好ましくは30層〜50層である。さらに、積層体11の上面および底面は、いずれもゴム層112であることが好ましい。
積層体11の側面は、通常、被覆ゴム113で被覆されている。被覆ゴム113に用いられるゴム材料としては、上記のゴム層112に用いられるゴム材料が挙げられる。
積層体11の形状は、免震建物の構造、大きさ、設置される地形などによって適宜設定され得る。例えば、円柱状、角柱状などが挙げられる。角柱状としては、四角柱が挙げられる。積層体11の材料の性状に方向性がない点で、円柱状が好ましい。
積層体11は、通常、後述する弾塑性金属材料プラグ15を挿入するための貫通孔を有する。貫通孔は、好ましくは、積層体11の中心付近で積層方向に上面から底面まで貫通するように形成される。貫通孔の断面形状としては円形、四角形などが挙げられ、通常、円形である。貫通孔の断面形状が円形の場合、直径は、好ましくは50cm〜500cm、より好ましくは90cm〜350cmである。さらに、貫通孔は、複数形成されてもよい。
本発明に用いられるフランジプレート12は、一般的な積層ゴム支承に用いられるフランジプレートが用いられる。フランジプレート12は、積層体11の上下端面に接合され、通常、鉄製、ステンレス製など金属製の板である。フランジプレート12の形状、大きさ、厚みなどは、積層体11の形状、大きさなどに応じて適宜設定され得る。
フランジプレート12には、通常、後述するキャッププレート13を嵌合するための孔が、積層体11の貫通孔に対応する場所に形成されている。
本発明に用いられるキャッププレート13は、後述する弾塑性金属材料プラグ15の上下端面に接触させる。キャッププレート13の弾塑性金属材料プラグ15に接する接触端面は、好ましくは平均平面粗さ5μm〜25μmに形成され、弾塑性金属材料プラグ15に対するアンカー効果により地震エネルギーを入力し易い構造となっている。平均平面粗さが5μm未満の場合は、十分なアンカー効果が得られないおそれがある。また、平均平面粗さが25μmより大きい場合でも、アンカー効果が得られるが、25μmで十分なアンカー効果が得られるため、25μmを超える平均平面粗さは特に必要ない。キャッププレート13は、通常、鉄製、ステンレス製など金属製である。
キャッププレート13は、一般的に、弾塑性金属材料プラグ15の上下端面に接触させる際にフランジプレート12に嵌合される。しかし、上記のように、フランジプレート12とキャッププレート13との嵌合部分は、金属接触部となり微小な隙間が存在する。この隙間からの水、空気などの侵入、鉛、錫などを含む成分の漏洩を防ぐために、本発明においては、シール手段14が用いられる。シール手段14によって、フランジプレート12とキャッププレート13との隙間が封止される。
シール手段14としては、例えば、パッキン(Oリング、グランドパッキンなど)、樹脂系封止剤(エポキシ樹脂、シリコンシーラントなどの液状ガスケット)、ガスケットなどが挙げられる。これらの中でも、Oリング、グランドパッキン、樹脂系封止剤、ガスケットなどが好ましい。
Oリング、グランドパッキンなどのパッキンは、キャッププレート13の形状に応じて適宜設定され得、断面の形状は、例えば、円形状、角形状などである。Oリングを用いる場合、中空Oリングを用いてもよい。Oリングの材料としては、例えば、上記のゴム材料などが挙げられる。グランドパッキンの材料としては、上記のゴム材料、フッ素樹脂(ポリテトラフルオロエチレンなど)、黒鉛(膨張黒鉛など)、ポリアミド、ポリエチレンなどが挙げられる。また、繊維補強されたグランドパッキンなども用いられる。
樹脂系封止剤としては、エポキシ樹脂、シリコンシーラントなどの液状ガスケットの硬化性樹脂が挙げられる。樹脂系封止剤は、硬化後に柔軟性を有するものでもよく、剛性を有するものでもよい。
ガスケットとしては、上記ゴム材料でなるシート、黒鉛(膨張黒鉛など)でなるシート、フッ素樹脂(ポリテトラフルオロエチレンなど)でなるシート、ポリアミドでなるシートポリエチレンでなるシートなどが挙げられる。
本発明に用いられる弾塑性金属材料プラグ15は、弾塑性金属製のため、振動に伴って変形し、変形した後に元の形状に戻りやすい性質を有する。このような弾塑性金属材料プラグ15を用いることによって、積層ゴム支承の振動減衰能力を補強することができる。
弾塑性金属材料プラグ15としては、鉛プラグおよび錫プラグが好ましく、純度が高い(99.9%以上)鉛および錫を用いたプラグがより好ましい。
弾塑性金属材料プラグ15は、積層体11に設けられた貫通孔に密着するように挿入されるため、形状、大きさなどは、貫通孔に応じて適宜設定され得る。
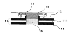
図2〜9に、本発明の積層ゴム支承において、弾塑性金属材料プラグの端面を、キャッププレートおよびシール手段によって封止する種々の実施態様を示す。
図2は、シール手段14がパッキンである実施態様を示す。
図2の積層ゴム支承は、弾塑性金属材料プラグ15が積層体11の貫通孔に密着するように挿入され、キャッププレート13が弾塑性金属材料プラグ15の上下端面に接触させる際にフランジプレート12に嵌合され、ボルトで固定されている。フランジプレート12とキャッププレート13との間に生じる隙間にパッキンが装着されている。パッキンはOリングである。パッキンを挿入する溝は、図2では、フランジプレート12に形成されているが、キャッププレート13に形成されていてもよい。
このように、パッキンを装着することによって、フランジプレート12とキャッププレート13との隙間が封止され、水、空気などの侵入、鉛を含む成分の漏洩を防止することができる。Oリングの代わりにグランドパッキンを用いてもよい。
図3は、シール手段14として積層体11のゴム層112の一部を利用する実施態様を示す。
図3の積層ゴム支承は、弾塑性金属材料プラグ15が積層体11の貫通孔に密着するように挿入され、キャッププレート13が弾塑性金属材料プラグ15の上下端面に接触させる際にフランジプレート12に嵌合され、ボルトで固定されている。この積層ゴム支承では、キャッププレート13と弾塑性金属材料プラグ15との接触面において、キャッププレート13の径を弾塑性金属材料プラグ15の径よりも大きくしている。そのため、キャッププレート13は、ゴム層112の一部とも接触し、キャッププレート13をボルトでフランジプレート12に固定する際に、キャッププレート13によってゴム層112の一部が圧迫されて隙間が封止される。
このように、積層体11のゴム層112の一部を利用することによって、フランジプレート12とキャッププレート13との隙間が封止され、水、空気などの侵入、鉛を含む成分の漏洩を防止することができる。
図4は、シール手段14が樹脂系封止剤である実施態様を示す。
図4の積層ゴム支承は、弾塑性金属材料プラグ15が積層体11の貫通孔に密着するように挿入され、キャッププレート13が弾塑性金属材料プラグ15の上下端面に接触させる際にフランジプレート12に嵌合され、ボルトで固定されている。この積層ゴム支承では、ボルトで固定する代わりに、フランジプレート12とキャッププレート13との隙間に、樹脂系封止剤を注入し硬化させている。樹脂系封止剤はエポキシ樹脂である。
このように、接着剤ではなく樹脂系封止剤を用いることによって、フランジプレート12とキャッププレート13との隙間が封止され、水、空気などの侵入、鉛を含む成分の漏洩を防止することができる。エポキシ樹脂の代わりにシリコンシーラントを用いてもよい。
図5は、シール手段14が樹脂系封止剤である実施態様を示す。
図5の積層ゴム支承は、弾塑性金属材料プラグ15が積層体11の貫通孔に密着するように挿入され、キャッププレート13が弾塑性金属材料プラグ15の上下端面に接触させる際にフランジプレート12に嵌合され、ボルトで固定されている。フランジプレート12とキャッププレート13との間に生じる隙間に、樹脂系封止剤を注入し硬化させている。樹脂系封止剤はエポキシ樹脂である。
このように、接着剤ではなく樹脂系封止剤を用いることによって、フランジプレート12とキャッププレート13との隙間が封止され、水、空気などの侵入、鉛を含む成分の漏洩を防止することができる。エポキシ樹脂の代わりにシリコンシーラントを用いてもよい。
図6〜図9は、シール手段14がガスケットである実施態様を示す。
図6および図7の積層ゴム支承は、弾塑性金属材料プラグ15が積層体11の貫通孔に密着するように挿入され、キャッププレート13が弾塑性金属材料プラグ15の上下端面に接触させる際にフランジプレート12に嵌合され、ボルトで固定されている。
図6の積層ゴム支承では、フランジプレート12とキャッププレート13との水平方向の接触面の全面に、ガスケットが装着されている。一方、図7の積層ゴム支承では、フランジプレート12とキャッププレート13との水平方向の接触面の全面ではなく、ボルトの位置よりも内側の接触面にガスケットが装着されている。
図8の積層ゴム支承は、弾塑性金属材料プラグ15が積層体11の貫通孔に密着するように挿入され、キャッププレート13が弾塑性金属材料プラグ15の上下端面に接触させる際にフランジプレート12に嵌合され、ボルトで固定されている。この積層ゴム支承では、キャッププレート13と弾塑性金属材料プラグ15との接触面にガスケットが装着されている。
図9の積層ゴム支承は、弾塑性金属材料プラグ15が積層体11の貫通孔に密着するように挿入され、キャッププレート13が弾塑性金属材料プラグ15の上下端面に接触させる際にフランジプレート12に嵌合され、ボルトで固定されている。この積層ゴム支承では、フランジプレート12とキャッププレート13との間にガスケットが装着されている。
このように、ガスケットを装着することによって、フランジプレート12とキャッププレート13との隙間が封止され、水、空気などの侵入、鉛を含む成分の漏洩を防止することができる。
以上、本発明を詳細に説明したが、上記実施態様は例示にすぎず、本発明はこれらの実施態様に限定されるものではない。
本発明によれば、優れた振動減衰能力を有し、さらにプラグとして用いられる鉛、錫などの成分が大気中、土壌中などに漏洩せず環境汚染を防止し得る積層ゴム支承を提供することができる。したがって、本発明の積層ゴム支承は、集合住宅、ビル(商業ビルなど)、官庁建物、病院、工場、戸建て住宅など免震建物の支承装置として用いられる。
1 積層ゴム支承
11 積層体
111 鋼板
112 ゴム層
113 被覆ゴム
12 フランジプレート
13 キャッププレート
14 シール手段
15 弾塑性金属材料プラグ

Claims (3)

  1. 鋼板とゴム層とを交互に積層した積層体、フランジプレート、キャッププレート、シール手段、および弾塑性金属材料プラグを備える積層ゴム支承であって、
    該積層体が、積層方向に貫通する貫通孔を有し、該貫通孔に密着するように該弾塑性金属材料プラグが挿入され、
    挿入された弾塑性金属材料プラグの上下端面と積層体の上下端面が面一であり、
    該弾塑性金属材料プラグの上下端面が、それぞれ該キャッププレートに接触し、
    キャッププレートの弾塑性金属材料プラグに接する接触端面が平均平面粗さ5μm以上であり、
    該積層体の上下端面が、それぞれ該フランジプレートに接合され、
    該キャッププレートが、該フランジプレートに嵌合され、そして
    該フランジプレートと該キャッププレートとの隙間が、該シール手段によって封止されている、
    積層ゴム支承。
  2. 前記弾塑性金属材料プラグが、鉛プラグまたは錫プラグである、請求項1に記載の積層ゴム支承。
  3. 前記シール手段が、Oリング、グランドパッキン、樹脂系封止剤およびガスケットからなる群より選択される少なくとも1種である、請求項1または2に記載の積層ゴム支承。
JP2010107994A 2010-05-10 2010-05-10 積層ゴム支承 Active JP5497528B2 (ja)

Priority Applications (1)

Application Number Priority Date Filing Date Title
JP2010107994A JP5497528B2 (ja) 2010-05-10 2010-05-10 積層ゴム支承

Applications Claiming Priority (1)

Application Number Priority Date Filing Date Title
JP2010107994A JP5497528B2 (ja) 2010-05-10 2010-05-10 積層ゴム支承

Publications (2)

Publication Number Publication Date
JP2011236957A JP2011236957A (ja) 2011-11-24
JP5497528B2 true JP5497528B2 (ja) 2014-05-21

Family

ID=45325166

Family Applications (1)

Application Number Title Priority Date Filing Date
JP2010107994A Active JP5497528B2 (ja) 2010-05-10 2010-05-10 積層ゴム支承

Country Status (1)

Country Link
JP (1) JP5497528B2 (ja)

Cited By (1)

* Cited by examiner, † Cited by third party
Publication number Priority date Publication date Assignee Title
KR102501532B1 (ko) * 2022-10-17 2023-02-21 (주)솔방이엔지 물탱크용 지진저감장치

Families Citing this family (2)

* Cited by examiner, † Cited by third party
Publication number Priority date Publication date Assignee Title
JP5845130B2 (ja) * 2012-04-12 2016-01-20 昭和電線デバイステクノロジー株式会社 積層ゴム支承体
CN107021251B (zh) 2016-01-29 2018-10-16 住友化学株式会社 对卷绕有膜的卷绕体进行组装的组装体及其制造方法

Family Cites Families (1)

* Cited by examiner, † Cited by third party
Publication number Priority date Publication date Assignee Title
JP2005233205A (ja) * 2004-02-17 2005-09-02 Sachiyo Kikaku:Kk 免震支承装置

Cited By (1)

* Cited by examiner, † Cited by third party
Publication number Priority date Publication date Assignee Title
KR102501532B1 (ko) * 2022-10-17 2023-02-21 (주)솔방이엔지 물탱크용 지진저감장치

Also Published As

Publication number Publication date
JP2011236957A (ja) 2011-11-24

Similar Documents

Publication Publication Date Title
US9892945B2 (en) Composite seal
US20180119855A1 (en) Gasket
KR101599334B1 (ko) 방음터널 지지구조
JP5497528B2 (ja) 積層ゴム支承
JP2012072906A (ja) パイプやケーブルが挿入される導管スリーブを動的に封止するシステム
JP2009144735A5 (ja)
WO2007093421A3 (de) Befestigungsvorrichtung für gegenstände auf abgedichteten gebäudeaussenflächen und zugehörige montageeinheit
US20170013737A1 (en) Housing
JP2009002407A (ja) 貫通部シール具及び貫通部シール工法
JP2015094093A (ja) 屋上設置設備の支持部材を兼用した基礎
JP6023608B2 (ja) 免震建物用止水可とう継手及び止水構造
EA034713B1 (ru) Герметизирующий узел и способ его формирования и окно транспортного средства
JP4286318B1 (ja) 橋梁用支承装置
KR101546427B1 (ko) 조립식 패널
JP6653615B2 (ja) 滑り免震装置
JP2013160261A (ja) 配管貫通部の仕舞構造
JP4904469B2 (ja) ガラススクリーン構造
JP6378663B2 (ja) マンホール周壁の継目構造
JP4648721B2 (ja) 建物免震用支承構造
CN206422497U (zh) 一种通信电缆固定装置
JP2014141794A (ja) 既存建物の補強構造物
JP6650811B2 (ja) シール構造
JP2014087177A (ja) ケーブルモジュール及びケーブルペネトレーション
WO2024029056A1 (ja) マグネット式止水装置
JP2005325583A (ja) 外壁へのガラス管取付構造および取付部材

Legal Events

Date Code Title Description
A621 Written request for application examination

Free format text: JAPANESE INTERMEDIATE CODE: A621

Effective date: 20121106

A977 Report on retrieval

Free format text: JAPANESE INTERMEDIATE CODE: A971007

Effective date: 20130828

A131 Notification of reasons for refusal

Free format text: JAPANESE INTERMEDIATE CODE: A131

Effective date: 20130910

A521 Request for written amendment filed

Free format text: JAPANESE INTERMEDIATE CODE: A523

Effective date: 20131021

TRDD Decision of grant or rejection written
A01 Written decision to grant a patent or to grant a registration (utility model)

Free format text: JAPANESE INTERMEDIATE CODE: A01

Effective date: 20140304

A61 First payment of annual fees (during grant procedure)

Free format text: JAPANESE INTERMEDIATE CODE: A61

Effective date: 20140306

R150 Certificate of patent or registration of utility model

Ref document number: 5497528

Country of ref document: JP

Free format text: JAPANESE INTERMEDIATE CODE: R150

S533 Written request for registration of change of name

Free format text: JAPANESE INTERMEDIATE CODE: R313533

R360 Written notification for declining of transfer of rights

Free format text: JAPANESE INTERMEDIATE CODE: R360

R360 Written notification for declining of transfer of rights

Free format text: JAPANESE INTERMEDIATE CODE: R360

R371 Transfer withdrawn

Free format text: JAPANESE INTERMEDIATE CODE: R371

S531 Written request for registration of change of domicile

Free format text: JAPANESE INTERMEDIATE CODE: R313531

S533 Written request for registration of change of name

Free format text: JAPANESE INTERMEDIATE CODE: R313533

R350 Written notification of registration of transfer

Free format text: JAPANESE INTERMEDIATE CODE: R350