JP5479217B2 - 物品収納什器における開閉体の施解錠装置 - Google Patents

物品収納什器における開閉体の施解錠装置 Download PDF

Info

Publication number
JP5479217B2
JP5479217B2 JP2010114704A JP2010114704A JP5479217B2 JP 5479217 B2 JP5479217 B2 JP 5479217B2 JP 2010114704 A JP2010114704 A JP 2010114704A JP 2010114704 A JP2010114704 A JP 2010114704A JP 5479217 B2 JP5479217 B2 JP 5479217B2
Authority
JP
Japan
Prior art keywords
locking
unlocking
lever
opening
linkage
Prior art date
Legal status (The legal status is an assumption and is not a legal conclusion. Google has not performed a legal analysis and makes no representation as to the accuracy of the status listed.)
Expired - Fee Related
Application number
JP2010114704A
Other languages
English (en)
Other versions
JP2011241600A (ja
Inventor
眞也 加藤
耆英 成
政樹 大上
雄二 小山
Current Assignee (The listed assignees may be inaccurate. Google has not performed a legal analysis and makes no representation or warranty as to the accuracy of the list.)
Okamura Corp
Original Assignee
Okamura Corp
Priority date (The priority date is an assumption and is not a legal conclusion. Google has not performed a legal analysis and makes no representation as to the accuracy of the date listed.)
Filing date
Publication date
Application filed by Okamura Corp filed Critical Okamura Corp
Priority to JP2010114704A priority Critical patent/JP5479217B2/ja
Publication of JP2011241600A publication Critical patent/JP2011241600A/ja
Application granted granted Critical
Publication of JP5479217B2 publication Critical patent/JP5479217B2/ja
Expired - Fee Related legal-status Critical Current
Anticipated expiration legal-status Critical

Links

Images

Landscapes

  • Lock And Its Accessories (AREA)

Description

本発明は、例えばキャビネットのような物品収納什器における扉や引出し等の開閉体を施解錠する施解錠装置に係り、特に電気式施解錠装置と機械式施解錠装置との両方を選択的に使用して、開閉体を施解錠することができるようにした物品収納什器における開閉体の施解錠装置に関する。
キャビネット等の開閉体を施解錠する施解錠装置として、認証手段による認証結果に応じて駆動系を電気的に作動させ、開閉体を自動的に施解錠しうるようにした電気式施解錠装置を用いたものがある。このような電気式施解錠装置は、バッテリ切れや停電、電気的な故障等により、駆動系が作動不能となると、開閉体を施解錠することが不可能となる問題がある。
このような問題に対処するために、通常時は電気式施解錠装置を使用し、これが作動不能となった非常時に、機械式施解錠装置の手動操作により、開閉体を解錠することができるようにしたものがある(例えば、特許文献1、2参照)。
特許第2653928号公報 特開2008−8081号公報
前記特許文献1及び2に記載されている施解錠装置においては、いずれも、通常時に電気式施解錠装置を使用し、これが作動不能となった非常時のみに、機械式施解錠装置により、電気式施解錠装置の駆動系を強制的に解錠側に作動させ、開閉体を開扉しうるようにしたものであり、機械式施解錠装置により、電気式施解錠装置の駆動系を施錠側に作動させることはできない。そのため、例えば顧客の要望により、電気式施解錠装置と機械式施解錠装置との両方を選択して使用したいときに、それができないという問題があった。
本発明は、このような問題点に着目してなされたもので、電気式施解錠装置が作動不能となっても、機械式施解錠装置を用いて強制的に解錠することができるとともに、電気式施解錠装置と機械式施解錠装置との両方を選択的に使用して、開閉体を施解錠しうるようにした物品収納什器における開閉体の施解錠装置を提供することを目的としている。
前記課題を解決するために、本発明の物品収納什器における開閉体の施解錠装置は、
什器本体の前面開口部を開閉する開閉体に設けた、該開閉体を什器本体に係脱可能に係留する係止機構に連係され、施解錠操作により、前記係止機構の動作を拘束または許容することにより、前記開閉体を施解錠しうる電気式施解錠装置と、非常時に該電気式施解錠装置を解錠しうるようにした機械式施解錠装置とを備える物品収納什器における開閉体の施解錠装置において、
前記電気式施解錠装置に、入力された施解錠信号に基づいて前記係止機構の動作を拘束する施錠位置と、同じく係止機構の動作を許容する解錠位置との間を往復移動する施解錠レバーを設けるとともに、前記機械式施錠装置に、その施解錠操作により移動するデッドボルトを設け、解錠操作により前記デッドボルトを解錠方向へ移動させたとき、施錠位置に位置している前記施解錠レバーを解錠位置まで移動させうるように、前記施解錠レバーとデッドボルトとを、連係手段により連係し、かつ施解錠レバーにおけるデッドボルトとの連係部に、施錠操作により前記デッドボルトが施錠方向へ移動したとき、該デッドボルトと連係して、解錠位置にある前記施解錠レバーを施錠位置まで移動させうる連係具を、着脱可能に取付けたことを特徴としている。
この特徴によれば、万一、電気式施解錠装置が作動不能となっても、機械式施解錠装置を用いて強制的に解錠することができるとともに、施解錠レバーに連係具を取付けると、機械式施解錠装置の施錠操作により、解錠位置にある施解錠レバーを施錠位置まで移動させることができる。従って、電気式施解錠装置と機械式施解錠装置との両方を選択的に使用して、開閉体を施解錠することができる。
本発明の物品収納什器における開閉体の施解錠装置は、
連係手段が、施解錠レバーに設けられ、長手方向の間隔をデッドボルトの施錠方向への移動範囲以上とした連係溝と、前記施解錠レバーと同方向に往復移動するようにしたデッドボルトに、その移動方向と直交する方向を向くように連設され、かつ先端部が前記連係溝に遊嵌された連係片とを備えるものとし、前記デッドボルトと共に前記連係片が解錠方向に移動し、前記連係片の一方の側縁が前記連係溝の解錠方向の内縁に当接することにより、前記施解錠レバーを解錠位置まで移動させうるようにするとともに、前記施解錠レバーの施錠方向側に、連係具を、前記連係溝の長手方向の間隔を狭めるように、着脱可能に取付け、前記連係片が施錠方向に移動してその他方の側縁が前記連係具に当接することにより、前記施解錠レバーを施錠方向に移動させうるようにしたことを特徴としている。
この特徴によれば、施解錠レバーに設けられた長手方向を向く連係溝に、デッドボルトに連設された連係片を遊嵌するだけで、電気式施解錠装置の施解錠レバーと機械式施解錠装置のデッドボルトとを容易に連係することができるので、組付性が極めて良好となる。また、施解錠レバーと機械式施解錠装置のデッドボルトとを、ほぼ同一平面内において同方向に往復移動しうるようにしているので、連係手段の構成が簡単となり、施解錠装置の部品点数や組立工数が削減されて、コストを低減することができるとともに、施解錠装置全体も小型化するので、開閉体に大きな取付スペースを確保する必要がなく、開閉体の厚さを小さくすることができる。さらに、機械式施解錠装置を解錠操作すると、連係片の一方の側縁が連係溝の解錠方向の内縁に当接して、電気式施解錠装置の施解錠レバーを強制的に解錠位置に移動させうるので、非常時には開閉体を確実に解錠することができるとともに、機械式施解錠装置を施錠操作することにより、連係具を介して施解錠レバーを施錠位置に移動させて、開閉体を施錠することができる。
本発明の物品収納什器における開閉体の施解錠装置は、
開閉体の後面に装着される裏カバーに、連係具の挿脱孔を設けたことを特徴としている。
この特徴によれば、裏カバーに設けた挿脱孔を利用して、連係具を、開閉体の後方より施解錠レバーに容易に装着したり、取外したりすることができる。
本発明の物品収納什器における開閉体の施解錠装置は、
係止機構が、開閉体に前面側より操作可能に設けられた把手と、該把手の操作と連動して回動するラッチ軸と、該ラッチ軸の両端部に設けられ、什器本体の係合孔と係脱可能なラッチとを備えるラッチ装置よりなるものとし、前記ラッチ軸に、施解錠レバーが施錠位置に移動したとき、該施解錠レバーと係合することにより、前記ラッチ軸の解錠方向への回動を拘束する拘束手段を設けたことを特徴としている。
この特徴によれば、係止機構の構成が簡単であり、かつ施解錠レバーを、ラッチ軸に設けた拘束手段に直接係合させて、ラッチ軸を、解錠方向に回動するのを拘束するようにしてあるので、電気式施解錠装置により開閉体を確実に施錠することができる。
本発明の物品収納什器における開閉体の施解錠装置は、
拘束手段を、ラッチ軸の長手方向の中間部に設けたラッチ拘束レバーとし、施解錠レバーが施錠位置に移動したとき、その先端部後面が、前記ラッチ拘束レバーの前面と近接または当接して、ラッチ軸の解錠方向への回動を拘束し、施解錠レバーが解錠位置に移動したとき、その先端部が前記ラッチ拘束レバーより離間して、ラッチ軸の回動を許容するようにしたことを特徴としている。
この特徴によれば、構成の簡単な拘束手段により、ラッチ軸の回動を拘束または許容して、開閉体を確実に施解錠することができる。
本発明の施解錠装置を備えるキャビネットの正面図である。 キャビネットの扉の要部の拡大後面図である。 図2のIII−III線に沿う拡大横断平面図である。 図1のIV−IV線に沿う拡大横断平面図である。 施解錠装置を後方より見た斜視図である。 同じく、施解錠装置の後面図である。 同じく、電気式施解錠装置を解錠したときの施解錠装置の後面図である。 同じく、機械式施解錠装置により強制的に解錠したときの施解錠装置の後面図である。 同じく、機械式施解錠装置に切り替えたときの施解錠装置の後面図である。 図9のX−X線に沿う拡大縦断側面図である。 同じく、XI−XI線に沿う拡大縦断側面図である。 裏カバーの挿脱孔を利用して施解錠レバーに連係具を装着する要領を示す斜視図である。
本発明に係る物品収納什器における開閉体の施解錠装置を実施するための形態を実施例に基づいて以下に説明する。
図1は、本発明の施解錠装置を備える物品収納什器、すなわちキャビネットの正面図で、前面が解放されたキャビネット本体1の開口部の両側端部には、開閉体2である両開き式の扉2、2が、図示しない蝶番により前方に開閉自在に枢着されている。右方の扉2における左端部の上下方向の中間部前面には、把手3が、扉2の前面に形成された開口4より僅かに突出するように設けられ、またこの把手3の直下おける扉2の裏面には、本発明の施解錠装置5が設けられている。
図2は、右方の扉2における左側部の拡大後面図で、上下方向を向く補強部材6により補強された扉2の外側端部の後面には、前述した把手3と、それに連係されて回動される上下方向のラッチ軸7、ラッチ軸7の上下の端部に固着されたラッチ8、8を備えるラッチ装置9が設けられている。
把手3は、図3の拡大部分断面図に示すように、扉2の裏面に設けた取付部(図示略)に固定された、前面に開口10を有する薄型箱状の把手収容ケース11内に前方に操作可能として収容されている。把手収容ケース11は、前記施解錠装置4が収容される後面が開口されたユニットケース12内に収容されている。ユニットケース12の前面には、把手3の前端部が突出する開口13が、扉2の開口4と、把手収容ケース11の開口10と連通するように形成されている。
把手収容ケース11の後面と、ユニットケース12の後面開口部とは、扉2の裏面に装着された裏カバー14により覆われている。尚、前述した施解錠装置5と把手3が収容された把手収容ケース11は、ユニットケース12内に組み付けられ、扉2への組付性を容易としてある。
把手3は、前面が開口され、かつ奥部の上下左右寸法が、開口部15の上下左右寸法よりも大とされたほぼ正方形の角筒状をなし、開口部15よりも奥部が、指かけ可能な操作凹部16となっている。
把手3の外周面に突設された扉2の外側方に向かって延出するラッチ解除レバー17の遊端には、上下方向を向く突条17aが、前向きに突設され、この突条17aは、扉2の外側端部に設けられた前述のラッチ軸7における突条17aと対向する中間部に、ねじ18により固定された平面視後向鉤状のラッチレバー19の後面に当接している。ラッチレバー19は、ラッチ軸7に嵌合された捩りコイルばね等の付勢手段(図示略)により、常時平面視反時計方向(図3の状態)に付勢されている。
ラッチ軸7の上下の端部には、前述したラッチ8、8の前端部が、後ろ向きに固着され、両ラッチ8の鉤状をなす後端部は、図2及び図4に示すように(図4においては上方のみ図示する)、扉2の上下の折返し片2a、2aの後面に設けた横長の開口20、20を挿通して後方に突出している。
図4の実線で示すように、扉2を閉じると、上方のラッチ8は、キャビネット本体1の上面板21の前面に設けた係合孔22に、下方のラッチ8は、図1に示す底板23の前面に設けた係合孔(図示略)に、それぞれ進入して、それらの左縁部に係合するようになっている。
把手3を前方に操作すると、図4の2点鎖線のように、ラッチ軸7及び上下のラッチ8が平面視時計回り方向に回動し、両ラッチ8と係合孔22との係合が解除されることにより、扉2を開くことができる。
尚、図2に示すように、扉2における上下の折返し片2aの外側方寄りには、マグネットキャッチ24、24が取り付けられ、ラッチ8を解除しても、扉2が妄りに開かないようにしてある。
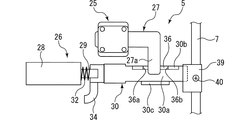
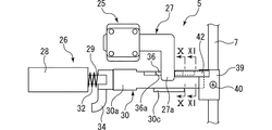
図2、図5、及び図6に示すように、前述した施解錠装置5は、シリンダ錠等の機械式施解錠装置25と、電気式施解錠装置26とからなり、これらは、ユニットケース12(図5、図6においては図示略)内に取り付けられている。機械式施解錠装置25のキー差込部25aは、図1に示すように、扉2の前面より若干突出している。キー差し込み部25aにキーを差し込み、これを解錠側に回転すると、機械式施解錠装置25の後端部の左右方向を向くデッドボルト27と、その外側端にデッドボルト27の移動方向と直交するように連設された下向連係片27aが、扉2の内側方(図2において左側方)に一体的に移動し、同じく施錠側に回転すると、デッドボルト27と下向連係片27aは、外側方に移動する。
電気式施解錠装置26は、ソレノイドユニット28と、このソレノイドユニット28の外側方を向く作動ロッド29の先端部に内端部が連結された施解錠レバー30と、ソレノイドユニット28を作動させる制御基板31とを備えている。尚、施解錠レバー30と前記デッドボルト27とは、ほぼ同一平面内に配置されている。
作動ロッド29と施解錠レバー30は、前記デッドボルト27の直下においてそれと同方向に左右方向に移動し、かつ作動ロッド29に遊嵌された圧縮コイルばね32により、常時外側方に付勢されている。
施解錠レバー30は、左右方向を向く垂直の基板30aと、その上縁と下縁の左右方向の中間部に後ろ向きに直角に折曲形成された後向片30b、30cと、基板30aの内端部の後面に固着された平面視前向きL字状の連結片33とからなり、前記作動ロッド29の先端部は、連結片33の後面に枢着されている。
連結片33の後面の下縁には、後方及び下方に直角に折曲された後面視内向きL字状の検知片34が連設されている。この検知片34の下端部は、制御基板31の上端部の後面に設けた検知部(図示略)と対向し、施解錠レバー30の左右方向の移動を検知して、施錠及び解錠したか否かの信号を発するようになっている。
制御基板31は、扉2の裏面におけるユニットケース12の下方に取り付けられた電池ボックスユニット35に電気的に接続されて給電されるようになっている。
キャビネットから離れた位置に設置されたメインコントローラ(図示略)のカードリーダに認証カードを近づけると、制御基板31に解錠信号が無線または有線により入力され、この解錠信号に基づいて、ソレノイドユニット28が作動されるようになっている。
図5に示すように、上部の後向片30bにおける後半部の中央部には、後半部を切り欠くことにより、後方が解放された左右方向を向く連係溝36が形成され、また、同じく外側端部の前半部には、外側方に開口する切欠凹部37が形成されている。
図6にも示すように、機械式施解錠装置25におけるデッドボルト27と一体をなす下向連係片27aの下端部は、前記連係溝36内に位置するとともに、電気式施解錠装置26が施錠状態にあるとき、下向連係片27aの内側縁が、連係溝36における解錠方向(内方)の内縁36aと近接(当接させてもよい)するようにしてある。
また、連係溝36の左右方向の間隔は、電気式施解錠装置26が解錠され、施解錠レバー30が内側方の解錠位置まで移動しても、下向連係片27aの外側縁が、連係溝36の施錠方向(外方)の内縁36bと当接しない寸法としてある。
すなわち、連係溝36の左右方向の間隔は、デッドボルト27の施錠方向への移動範囲を超える長さとされ、施解錠レバー30が、施錠位置にある下向連係片27aと干渉することなく、施錠位置と解錠位置とに移動することができるようにし、機械式施解錠装置25を解錠操作して、デッドボルト27が内側方である解錠方向に移動したときのみ、下向連係片27aが施解錠レバー30と連係してこれを解錠位置まで移動させうるようにしてある。
図5の2点鎖線で示すように、ユニットケース12の後面には、基板30aの外側端部の後面と摺接または近接する、側面視上向きL字状のガイド片38が連設され、このガイド片38とユニットケース12の後面とにより、施解錠レバー30における基板30aの外側端部が、左右方向に摺動可能に案内されるようになっている。
ラッチ軸7における施解錠レバー30の基板30aと対向する部分には、ラッチ拘束レバー39が、止めねじ40により回動不能に固着され、このラッチ拘束レバー39の内方の端部は、施錠時において、施解錠レバー30における基板30aの外側端部の後面と近接して対向するようにしてある。
次に、前記施解錠装置5の作用について説明する。扉2を開くべく、電気式施解錠装置26に前述したように解錠信号が入力されると、ソレノイドユニット28が作動して、作動ロッド29が引き込まれる。すると、作動ロッド29に連結された施解錠レバー30が、図6の施錠位置から、図7の解錠位置まで内側方に移動することにより、施解錠レバー30の基板30aの外側端部が、ラッチ軸7に設けたラッチ拘束レバー39の先端より離間し、ラッチ拘束レバー39及びラッチ軸7は、平面視時計方向に回動可能となる。
この状態で把手3を前方に操作すると、それに設けたラッチ解除レバー17により、ラッチレバー19、ラッチ軸7及び上下のラッチ8が、平面視時計方向に回動させられる。これにより、上下のラッチ8と、キャビネット本体1の上面板21と底板23の前面の係合孔22との係合が解除され、扉2が解錠されて開くことができる。
扉2を閉じると、その外方の折返し片2aに設けた、リミットスイッチやタッチセンサ等の上下1対の閉扉検知センサ41、41(図2参照)が作動し、その信号が制御基板31に入力されてソレノイドユニット28は、作動ロッド29を突出させる方向に作動する。これにより、施解錠レバー30は図6に示す施錠位置まで移動し、前記と反対の作用により、扉2が自動的に施錠されるようになっている。
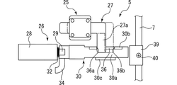
電気式施解錠装置26により施錠されている状態において、万一、電池切れや、電気的な故障等により、扉2を開くことができなくなったときは、機械式施解錠装置25により強制的に解錠することができる。
すなわち、電気式施解錠装置26が図6の施錠状態で解錠不能となった際に、図示しないキーを、機械式施解錠装置25のキー差込部25aに扉2の前面より挿入して、解錠方向に回動する。
すると、図8に示すように、デッドボルト27と下向連係片27aが、2点鎖線の位置から、実線で示す解錠位置まで内側方に移動し、下向連係片27aの下端部の内側縁が、電気式施解錠装置26における施解錠レバー30の連係溝36の解錠方向の内縁36aに当接することにより、施解錠レバー30は、内側方の解錠位置まで強制的に移動させられる。これにより、施解錠レバー30の基片30aの外側端部がラッチ拘束レバー39から離間し、前述したと同様の作用により解錠して、扉2を開くことができる。
以上は、通常時においては電気式施解錠装置26を使用し、これが作動不能となった非常時において、機械式施解錠装置25の手動操作により、電気式施解錠装置26を強制的に解錠させるものであるが、次のような手段を講じることにより、電気式施解錠装置26から機械式施解錠装置25に切り替えて、機械式施解錠装置25により扉2を施解錠することもできる。
すなわち、前述したように、機械式施解錠装置25は、これを解錠操作したときに、電気式施解錠装置26の施解錠レバー30と連係してこれを解錠位置まで移動させることはできるが、機械式施解錠装置25を施錠操作しても、施解錠レバー30を施錠位置に移動させて扉2を解錠することはできない。
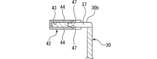
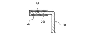
そこで、図5及び図9に示すように、電気式施解錠装置26における施解錠レバー30の後向片30bに、オプション部材としての連係具42を装着し、後向片30bに設けた連係溝36の左右方向の間隔を狭めるようにする。
連係具42は、図10及び図11の断面図にも示すように、上下寸法の厚さが施解錠レバー30の後向片30bの板厚よりも若干大とされた、平面形が概ね長方形の平板状をなし、内側方の端部を除いた内部には、連係溝36の外方の後向片30bに嵌合可能な前方に開口する(図5は、前後逆向きに図示してあるので、後方に開口している)嵌合孔43が形成されている。
また、連係具42の外側方寄りの上下両面は、その部分に、前縁から後端部付近まで延出する左右2条の切欠き44、44を設けることにより、上下1対の弾性係止片45、45とされている。さらに、この弾性係止片44の外側の端部には、後向片30bの外側方の端縁を覆う閉塞片46が形成されている(図12参照)。
前記上下の弾性係止片45、45の先端部(前端部)の対向面には、後向片30bの切欠凹部37の前縁に係合可能な係止爪47、47が設けられている。
連係具42の嵌合孔43を、連係溝36の外方の後向片30bに嵌合すると、上下の弾性係止片45、45の係止爪47、47が、切欠凹部37の前縁に係合することにより、後方に抜止めされて装着される。また、閉塞片46が、後向片30bの外側方の端縁に当接することにより、連係具42の左右方向への移動も阻止される。
尚、図12に示すように、扉2の裏面に装着される裏カバー14における前記連係溝36の外方の後向片30bと対向する部分には、連係具42を挿脱しうる大きさの左右方向を向く挿脱孔48が形成され、この挿脱孔48を利用して、連係具42を、扉2の後方より後向片30bに装着したり、取外したりすることができるようにしてある。尚、挿脱孔48の左右方向の長さは、差し込んだ連係具42が機械式施錠装置25の施解錠操作に応じて挿脱孔48内で左右に動作可能な程度の長さに形成されている。
また、連係具42を挿脱孔48を介して後向片30bに装着したり、取外したりし易いように、連係具42に延設部42aを形成するようにしてもよい。そして、この延設部42aにストラップやキー等を繋げられる孔部42bを形成してもよい。
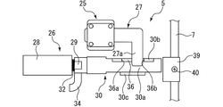
このように、電気式施解錠装置26における施解錠レバー30の後向片30bに連係具42を装着すると、図9に示すように、外側の連係溝36内に、連係具42の内方の端部が入り込んで、連係溝36の左右方向の間隔が狭められ、機械式施解錠装置25における下向連係片27aの外側縁が、連係具42の内側面と接近するようになる。
その結果、解錠操作されている機械式施解錠装置25をキーにより施錠操作し、デッドボルト27と下向連係片27aを外側方に移動させると、下向連係片27aの外側縁が連係具42の内側縁と当接して、電気式施解錠装置26の施解錠レバー30を外側方の施錠位置まで移動させることができる。従って、連係具42を施解錠レバー30の後向片30bに装着するだけで、電気式施解錠装置26から機械式施解錠装置25に切り替えて、この機械式施解錠装置25により扉2を施解錠することができるようになる。
以上、本発明の実施例を図面により説明してきたが、具体的な構成はこれら実施例に限られるものではなく、本発明の要旨を逸脱しない範囲における変更や追加があっても本発明に含まれる。
例えば、前記実施例では、施解錠装置5を、キャビネットの扉2に設けた例を説明したが、他の物品収納什器の引出しに設けることもできる。
1 キャビネット本体
5 施解錠装置
9 ラッチ装置(係止機構)
25 機械式施解錠装置
25a キー差込部
26 電気式施解錠装置
27 デッドボルト
28 ソレノイドユニット
29 作動ロッド
30 施解錠レバー
36 連係溝
37 切欠凹部
39 ラッチ拘束レバー
42 連係具
48 挿脱孔

Claims (5)

  1. 什器本体の前面開口部を開閉する開閉体に設けた、該開閉体を什器本体に係脱可能に係留する係止機構に連係され、施解錠操作により、前記係止機構の動作を拘束または許容することにより、前記開閉体を施解錠しうる電気式施解錠装置と、非常時に該電気式施解錠装置を解錠しうるようにした機械式施解錠装置とを備える物品収納什器における開閉体の施解錠装置において、
    前記電気式施解錠装置に、入力された施解錠信号に基づいて前記係止機構の動作を拘束する施錠位置と、同じく係止機構の動作を許容する解錠位置との間を往復移動する施解錠レバーを設けるとともに、前記機械式施錠装置に、その施解錠操作により移動するデッドボルトを設け、解錠操作により前記デッドボルトを解錠方向へ移動させたとき、施錠位置に位置している前記施解錠レバーを解錠位置まで移動させうるように、前記施解錠レバーとデッドボルトとを、連係手段により連係し、かつ施解錠レバーにおけるデッドボルトとの連係部に、施錠操作により前記デッドボルトが施錠方向へ移動したとき、該デッドボルトと連係して、解錠位置にある前記施解錠レバーを施錠位置まで移動させうる連係具を、着脱可能に取付けたことを特徴とする物品収納什器における開閉体の施解錠装置。
  2. 連係手段が、施解錠レバーに設けられ、長手方向の間隔をデッドボルトの施錠方向への移動範囲以上とした連係溝と、前記施解錠レバーと同方向に往復移動するようにしたデッドボルトに、その移動方向と直交する方向を向くように連設され、かつ先端部が前記連係溝に遊嵌された連係片とを備えるものとし、前記デッドボルトと共に前記連係片が解錠方向に移動し、前記連係片の一方の側縁が前記連係溝の解錠方向の内縁に当接することにより、前記施解錠レバーを解錠位置まで移動させうるようにするとともに、前記施解錠レバーの施錠方向側に、連係具を、前記連係溝の長手方向の間隔を狭めるように、着脱可能に取付け、前記連係片が施錠方向に移動してその他方の側縁が前記連係具に当接することにより、前記施解錠レバーを施錠方向に移動させうるようにしたことを特徴とする請求項1に記載の物品収納什器における開閉体の施解錠装置。
  3. 開閉体の後面に装着される裏カバーに、連係具の挿脱孔を設けたことを特徴とする請求項1または2に記載の物品収納什器における開閉体の施解錠装置。
  4. 係止機構が、開閉体に前面側より操作可能に設けられた把手と、該把手の操作と連動して回動するラッチ軸と、該ラッチ軸の両端部に設けられ、什器本体の係合孔と係脱可能なラッチとを備えるラッチ装置よりなるものとし、前記ラッチ軸に、施解錠レバーが施錠位置に移動したとき、該施解錠レバーと係合することにより、前記ラッチ軸の解錠方向への回動を拘束する拘束手段を設けたことを特徴とする請求項1ないし3のいずれかに記載の開閉体の施解錠装置。
  5. 拘束手段を、ラッチ軸の長手方向の中間部に設けたラッチ拘束レバーとし、施解錠レバーが施錠位置に移動したとき、その先端部後面が、前記ラッチ拘束レバーの前面と近接または当接して、ラッチ軸の解錠方向への回動を拘束し、施解錠レバーが解錠位置に移動したとき、その先端部が前記ラッチ拘束レバーより離間して、ラッチ軸の回動を許容するようにしたことを特徴とする請求項4に記載の開閉体の施解錠装置。
JP2010114704A 2010-05-18 2010-05-18 物品収納什器における開閉体の施解錠装置 Expired - Fee Related JP5479217B2 (ja)

Priority Applications (1)

Application Number Priority Date Filing Date Title
JP2010114704A JP5479217B2 (ja) 2010-05-18 2010-05-18 物品収納什器における開閉体の施解錠装置

Applications Claiming Priority (1)

Application Number Priority Date Filing Date Title
JP2010114704A JP5479217B2 (ja) 2010-05-18 2010-05-18 物品収納什器における開閉体の施解錠装置

Publications (2)

Publication Number Publication Date
JP2011241600A JP2011241600A (ja) 2011-12-01
JP5479217B2 true JP5479217B2 (ja) 2014-04-23

Family

ID=45408539

Family Applications (1)

Application Number Title Priority Date Filing Date
JP2010114704A Expired - Fee Related JP5479217B2 (ja) 2010-05-18 2010-05-18 物品収納什器における開閉体の施解錠装置

Country Status (1)

Country Link
JP (1) JP5479217B2 (ja)

Families Citing this family (2)

* Cited by examiner, † Cited by third party
Publication number Priority date Publication date Assignee Title
CN104018738B (zh) * 2014-05-27 2016-03-16 江西卓尔金属设备集团有限公司 枪弹柜应急解锁装置
JP2019049200A (ja) * 2018-12-28 2019-03-28 株式会社イトーキ 施錠機能付きキャビネットの開閉体装置

Family Cites Families (3)

* Cited by examiner, † Cited by third party
Publication number Priority date Publication date Assignee Title
JPH073177U (ja) * 1993-06-23 1995-01-17 沖電気工業株式会社 扉のロック構造
JP2799309B2 (ja) * 1995-12-13 1998-09-17 株式会社サンポウロック 電気錠
JPH09317281A (ja) * 1996-05-28 1997-12-09 Okamura Corp 家具における扉のロック装置

Also Published As

Publication number Publication date
JP2011241600A (ja) 2011-12-01

Similar Documents

Publication Publication Date Title
JP5285541B2 (ja) 車両用ロック装置
US7832240B2 (en) Lid lock device
JP2005247232A (ja) リッド開閉装置及びそれを用いた小物入れ装置
EP3589809A1 (en) Locking module
JP5479217B2 (ja) 物品収納什器における開閉体の施解錠装置
JP2010270590A (ja) 錠装置
JP4627202B2 (ja) 錠装置
US6742818B2 (en) Box lock with safety device
JP5280040B2 (ja) 扉装置
JP2011241599A (ja) 物品収納什器における開閉体の施解錠装置
JP4711357B2 (ja) 扉用ロックハンドル装置
JP4823874B2 (ja) 電気錠
JP6644250B2 (ja) 電気錠付き操作ユニット
JP5816521B2 (ja) 錠装置
JP3842141B2 (ja) 平面ハンドル
JP4127712B2 (ja) 扉用ロックハンドル装置
JP6691735B2 (ja) 電子式錠構造
CN101040092B (zh) 加锁装置
JP5965623B2 (ja) ドアロック装置
JP2025084537A (ja) 電気錠
JP4177623B2 (ja) キャビネットにおける両開き扉の施解錠装置
JP4879721B2 (ja) 扉の施錠装置
JP4597025B2 (ja) 電気錠
JP4910166B2 (ja) ロック装置
JP3576536B2 (ja) 引き出し回転操作型扉用ロックハンドル装置

Legal Events

Date Code Title Description
A621 Written request for application examination

Free format text: JAPANESE INTERMEDIATE CODE: A621

Effective date: 20130517

A977 Report on retrieval

Free format text: JAPANESE INTERMEDIATE CODE: A971007

Effective date: 20131227

TRDD Decision of grant or rejection written
A01 Written decision to grant a patent or to grant a registration (utility model)

Free format text: JAPANESE INTERMEDIATE CODE: A01

Effective date: 20140114

A61 First payment of annual fees (during grant procedure)

Free format text: JAPANESE INTERMEDIATE CODE: A61

Effective date: 20140212

R150 Certificate of patent or registration of utility model

Ref document number: 5479217

Country of ref document: JP

Free format text: JAPANESE INTERMEDIATE CODE: R150

S111 Request for change of ownership or part of ownership

Free format text: JAPANESE INTERMEDIATE CODE: R313117

R350 Written notification of registration of transfer

Free format text: JAPANESE INTERMEDIATE CODE: R350

R250 Receipt of annual fees

Free format text: JAPANESE INTERMEDIATE CODE: R250

R250 Receipt of annual fees

Free format text: JAPANESE INTERMEDIATE CODE: R250

S533 Written request for registration of change of name

Free format text: JAPANESE INTERMEDIATE CODE: R313533

R350 Written notification of registration of transfer

Free format text: JAPANESE INTERMEDIATE CODE: R350

R250 Receipt of annual fees

Free format text: JAPANESE INTERMEDIATE CODE: R250

R250 Receipt of annual fees

Free format text: JAPANESE INTERMEDIATE CODE: R250

R250 Receipt of annual fees

Free format text: JAPANESE INTERMEDIATE CODE: R250

R250 Receipt of annual fees

Free format text: JAPANESE INTERMEDIATE CODE: R250

LAPS Cancellation because of no payment of annual fees