JP5394792B2 - 印刷装置 - Google Patents

印刷装置 Download PDF

Info

Publication number
JP5394792B2
JP5394792B2 JP2009079862A JP2009079862A JP5394792B2 JP 5394792 B2 JP5394792 B2 JP 5394792B2 JP 2009079862 A JP2009079862 A JP 2009079862A JP 2009079862 A JP2009079862 A JP 2009079862A JP 5394792 B2 JP5394792 B2 JP 5394792B2
Authority
JP
Japan
Prior art keywords
valve
tank
flowable material
pump chamber
pump
Prior art date
Legal status (The legal status is an assumption and is not a legal conclusion. Google has not performed a legal analysis and makes no representation as to the accuracy of the status listed.)
Expired - Fee Related
Application number
JP2009079862A
Other languages
English (en)
Other versions
JP2010228350A (ja
Inventor
ジョン キャンベル ニコラス
Current Assignee (The listed assignees may be inaccurate. Google has not performed a legal analysis and makes no representation or warranty as to the accuracy of the list.)
Screen Holdings Co Ltd
Dainippon Screen Manufacturing Co Ltd
Original Assignee
Screen Holdings Co Ltd
Dainippon Screen Manufacturing Co Ltd
Priority date (The priority date is an assumption and is not a legal conclusion. Google has not performed a legal analysis and makes no representation as to the accuracy of the date listed.)
Filing date
Publication date
Application filed by Screen Holdings Co Ltd, Dainippon Screen Manufacturing Co Ltd filed Critical Screen Holdings Co Ltd
Priority to JP2009079862A priority Critical patent/JP5394792B2/ja
Publication of JP2010228350A publication Critical patent/JP2010228350A/ja
Application granted granted Critical
Publication of JP5394792B2 publication Critical patent/JP5394792B2/ja
Expired - Fee Related legal-status Critical Current
Anticipated expiration legal-status Critical

Links

Images

Landscapes

  • Ink Jet (AREA)

Description

本発明は、インクジェット方式の印刷装置に関する。
インクの微小な液滴を吐出して印刷を行うインクジェット方式の印刷装置として、インクを貯溜するインクタンクとヘッドとの間にてインクを循環させつつ印刷を行うものが知られている。例えば、特許文献1の装置では、プリントヘッドの上方に位置する上方容器から、プリントヘッドを介してプリントヘッドの下方に位置する下方容器へとインクを送り、下方容器から上方容器へとポンプにてインクを供給することによりインクの循環が行われる。
特許文献2に開示されるインク供給体では、インクが循環する回路内にインクを吐出するノズルが設けられ、回路の一部が流路抵抗の大きなパイプにて形成される。また、パイプの所定の位置にインクが貯溜された制御リザーバが接続される。インクが回路を流れている状態では、ノズル近傍の流路抵抗によるインクの圧力降下とパイプにおけるインクの圧力降下とが同じとされ、ノズルの圧力とパイプの制御リザーバが接続される位置での圧力とが同じとされる。インク供給体では、制御リザーバ内のインクの液面の高さを調整することにより、制御リザーバが接続される位置での圧力が調整され、その結果、ノズルでの圧力が調整される。
欧州特許出願公開第1393907号明細書 国際公開第03−022586号パンフレット
ところで、インクを循環させる印刷装置では、ヘッドからのインクを回収する回収タンクからヘッドにインクを供給する供給タンクへとインクを戻すために、遠心ポンプ、ダイヤフラムポンプ、チューブポンプ等が利用可能である。しかし、このような機械的な動作によりインクを送り出すポンプは、インクの種類によってはポンプの材質と適合せず、インクやポンプが劣化する場合がある。例えば、ギアポンプが用いられる場合、インクに高い剪断力が生じ、インクに含まれる顔料の均一な分布が崩れたり、インクが局所的に過熱されてしまうおそれがある。
また、このような印刷装置を基板上の成膜や配線形成に適用しようとした場合、インクに代えて用いられる流動性材料は反応特性が高いものとされることから、機械的なポンプを使用すると流動性材料の特性が変化するおそれがある。さらに、流動性材料がポンプを劣化させてしまうため、流動性材料に接する部材の数をできるだけ少なくされることが望まれる。
一方、インク循環型の印刷装置では、ヘッドの吐出口においてメニスカスを形成するためにインクの圧力(以下、「メニスカス圧」という。)が、始動時および停止時に不安定になりやすく、複雑な制御が必要となる。
本発明は、上記課題に鑑みなされたものであり、ポンプの構造を簡素化することを主たる目的とし、ヘッドのメニスカス圧を容易に一定に保つことも目的としている。
請求項1に記載の発明は、インクジェット方式の印刷装置であって、所定の配列方向に配列された複数の吐出口から、前記配列方向に交差する方向に前記複数の吐出口に対して相対的に移動する印刷媒体に向けて流動性材料の微小液滴を吐出するヘッドと、供給ラインを介して前記ヘッドに流動性材料を供給する供給タンクと、回収ラインを介して前記ヘッドからの流動性材料を回収する回収タンクと、前記回収タンクから前記供給タンクに流動性材料を戻すリターンライン上に設けられ、前記回収タンク内の流動性材料を前記供給タンクへと送る複数のポンプと、前記回収タンク内の気圧を前記供給タンク内の気圧に対して相対的に低くすることにより、前記供給タンク内の流動性材料を前記供給ライン、前記ヘッドおよび前記回収ラインを介して前記回収タンクへと導くタンク圧調整機構とを備え、前記複数のポンプのそれぞれが、ポンプ室と、前記回収タンクと前記ポンプ室との間に設けられた第1弁が開かれ、前記供給タンクと前記ポンプ室との間に設けられた第2弁が閉じられた状態で前記ポンプ室内の気圧を下げることにより、前記回収タンク内の流動性材料を前記ポンプ室へと導き、前記第1弁が閉じられ、前記第2弁が開かれた状態で前記ポンプ室内の気圧を上げることにより、前記ポンプ室内の前記流動性材料を前記供給タンクへと導くポンプ圧変更機構とを備え、前記複数のポンプが、前記回収タンク内の流動性材料を前記ポンプ室に導く動作を順番に行い、並行して、流動性材料を前記ポンプ室から前記供給タンクへと戻す動作も順番に行うことにより、前記回収タンク内の流動性材料が前記供給タンクへと連続的に戻される
請求項に記載の発明は、請求項に記載の印刷装置であって、前記複数のポンプのそれぞれが、前記ポンプ室への流動性材料の流入を停止する際の前記流動性材料の液面の位置、および、前記ポンプ室からの前記流動性材料の流出を停止する際の前記流動性材料の液面の位置を検出するセンサをさらに備え、前記複数のポンプのそれぞれの前記センサからの出力に基づいて前記複数のポンプによる単位時間当たりの流動性材料の送出量が求められる。
請求項に記載の発明は、請求項1または2に記載の印刷装置であって、前記第1弁が、前記回収タンクから前記ポンプ室へと向かう方向に流動性材料を導く逆止弁であり、前記第2弁が、前記ポンプ室から前記供給タンクへと向かう方向に流動性材料を導く逆止弁である。
請求項に記載の発明は、請求項に記載の印刷装置であって、前記第1弁および前記第2弁のそれぞれが、底部に流動性材料が流入する開口を有する弁本体部と、前記開口上に配置され、前記開口から流動性材料が流入する際に、前記流動性材料に押されて自由に上昇することにより前記開口を開放し、前記流動性材料の流入が停止する際に、下降することにより前記開口を封止する封止部材とを備える。
請求項に記載の発明は、請求項に記載の印刷装置であって、前記ポンプ室の底部および側部、前記第1弁および前記第2弁の前記弁本体部、並びに、前記ポンプ室から前記第1弁および前記第2弁までの流路が、1つの部材にて形成されている。
請求項に記載の発明は、請求項に記載の印刷装置であって、前記供給タンクの底部および側部、並びに、前記回収タンクの底部および側部が前記1つの部材に形成されている。
請求項7に記載の発明は、インクジェット方式の印刷装置であって、所定の配列方向に配列された複数の吐出口から、前記配列方向に交差する方向に前記複数の吐出口に対して相対的に移動する印刷媒体に向けて流動性材料の微小液滴を吐出するヘッドと、供給ラインを介して前記ヘッドに流動性材料を供給する供給タンクと、回収ラインを介して前記ヘッドからの流動性材料を回収する回収タンクと、前記回収タンクから前記供給タンクに流動性材料を戻すリターンライン上に設けられ、前記回収タンク内の流動性材料を前記供給タンクへと送るポンプと、前記回収タンク内の気圧を前記供給タンク内の気圧に対して相対的に低くすることにより、前記供給タンク内の流動性材料を前記供給ライン、前記ヘッドおよび前記回収ラインを介して前記回収タンクへと導くタンク圧調整機構とを備え、前記ポンプが、ポンプ室と、前記回収タンクと前記ポンプ室との間に設けられた第1弁が開かれ、前記供給タンクと前記ポンプ室との間に設けられた第2弁が閉じられた状態で前記ポンプ室内の気圧を下げることにより、前記回収タンク内の流動性材料を前記ポンプ室へと導き、前記第1弁が閉じられ、前記第2弁が開かれた状態で前記ポンプ室内の気圧を上げることにより、前記ポンプ室内の前記流動性材料を前記供給タンクへと導くポンプ圧変更機構とを備え、前記第1弁が、前記回収タンクから前記ポンプ室へと向かう方向に流動性材料を導く逆止弁であり、前記第2弁が、前記ポンプ室から前記供給タンクへと向かう方向に流動性材料を導く逆止弁であり、前記第1弁および前記第2弁のそれぞれが、底部に流動性材料が流入する開口を有する弁本体部と、前記開口上に配置され、前記開口から流動性材料が流入する際に、前記流動性材料に押されて自由に上昇することにより前記開口を開放し、前記流動性材料の流入が停止する際に、下降することにより前記開口を封止する封止部材とを備え、前記ポンプ室の底部および側部、前記第1弁および前記第2弁の前記弁本体部、並びに、前記ポンプ室から前記第1弁および前記第2弁までの流路が、1つの部材にて形成されている。
請求項8に記載の発明は、請求項7に記載の印刷装置であって、前記供給タンクの底部および側部、並びに、前記回収タンクの底部および側部が前記1つの部材に形成されている。
請求項に記載の発明は、請求項1ないしのいずれかに記載の印刷装置であって、前記タンク圧調整機構が、前記回収タンク内のガスを前記供給タンクへと連続的に送るガスポンプと、前記供給タンクから前記回収タンクへとガスを戻すバイパスガスラインと、前記バイパスガスラインの流路抵抗を有する2つの部位の間にて、内部のガスの圧であるバイパス圧を制御するバイパス圧制御部とを備え、前記バイパス圧制御部が前記バイパス圧を制御することにより、前記ヘッドの前記複数の吐出口内の流動性材料に所望のメニスカス圧が付与される。
請求項1ないしの発明によれば、ポンプの構造を簡素化することができる。請求項の発明では、供給タンクおよび回収タンクにおける気圧の変動を低減することができ、請求項の発明では、流量計を用いることなく流量を求めることができるため、流動性材料に接する部材の数を削減することができる。
請求項3および7の発明では、回収タンクから供給タンクへと流動性材料を戻す構造を簡素化することができ、請求項4および7の発明では、逆止弁の構造を簡素化することができる。請求項5ないし8の発明では、印刷装置の部品数を削減することができる。請求項の発明では、メニスカス圧を容易に一定に保つことができる。
印刷装置を示す図である。 吐出部の底面図である。 インク循環機構の構成を示す図である。 ポンプ機構の構成を示す図である。 供給タンク、回収タンクおよび第1ポンプの縦断面図である。 他の例に係る印刷装置を示す図である。
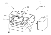
図1は、本発明の一の実施の形態に係る印刷装置1の外観を示す斜視図である。印刷装置1はフィルム等の撥液性を有するシート状の基材91上にインクジェット方式にてカラー印刷を行うものである。
図1の印刷装置1は本体11および制御部12を備え、本体11はシート状の基材91を図1中のY方向(以下、「走査方向」ともいう。)に移動する搬送部2、および、搬送部2による移動途上の基材91に向けて流動性材料であるインクの微小液滴を吐出する吐出部3を備える。搬送部2では、それぞれが図1中のX方向に長い複数のローラ21がY方向に配列されており、複数のローラ21の(+Y)側にはロール状の基材91(供給ロール)を保持する供給部22が設けられ、複数のローラ21の(−Y)側にはロール状の基材91(巻取ロール)を保持する巻取部23が設けられる。以下の説明では、単に基材91という場合は搬送途上の部位(すなわち、複数のローラ21上の基材91の部位)を指すものとする。
搬送部2の1つのローラ21aには基材91の走査方向の移動速度を検出するエンコーダ24が設けられ、制御部12がエンコーダ24の出力に基づいて巻取部23のモータの回転を制御することにより、基材91が吐出部3に対して(−Y)方向に相対的に一定速度にて移動する。実際には、供給部22が有するモータにて基材91に対して移動方向とは逆向き(すなわち、(+Y)方向)の負荷(テンション)が与えられ、複数のローラ21上の基材91が波打つことなく滑らかに移動する。
複数のローラ21の上方(図1中の(+Z)側)には吐出部3が配置され、吐出部3は複数のローラ21を跨ぐようにして基台20に設けられたフレーム25に固定される。フレーム25上には紫外線を出射する光源39が設けられ、複数の光ファイバ(実際には、複数の光ファイバは束状となっており、図1では符号391を付して1本の太線にて示している。)を介して光源39からの光が吐出部3の内部へと導入される。
図2は吐出部3の底面図である。図2に示すように、吐出部3はそれぞれが互いに異なる色成分のインクを吐出する複数の(図2では、4個の)ヘッドユニット33を備え、複数のヘッドユニット33はY方向に配列されて吐出部3の本体30に固定される。図2中の最も(+Y)側のヘッドユニット33はK(ブラック)のインクを吐出し、Kのヘッドユニット33の(−Y)側のヘッドユニット33はC(シアン)のインクを吐出し、Cのヘッドユニット33の(−Y)側のヘッドユニット33はM(マゼンタ)のインクを吐出し、最も(−Y)側のヘッドユニット33はY(イエロー)のインクを吐出する。各色のインクは紫外線硬化剤を含んでおり、紫外線硬化性を有する。なお、吐出部3に、ライトシアン、ライトマゼンタ、ホワイト等の他の色用のヘッドユニットがさらに設けられてもよい。
各ヘッドユニット33では、例えば、ピエゾ駆動方式の複数のヘッド32が図2中のX方向(Y方向およびZ方向に垂直な方向であり、以下、「幅方向」という。)に千鳥状に配列されており、各ヘッド32の下面((−Z)側の面)にはインクの微小液滴を吐出する複数の吐出口(一部のヘッド32においてのみ符号321を付す点にて示す。)が幅方向に配列形成される。これにより、ヘッドユニット33の全体では、配列方向である幅方向に複数の吐出口321が一定のピッチにて配列され、基材91上において走査方向の各位置にて、幅方向に一列に並ぶ複数のドットの形成が可能とされる。実際には、各ヘッドユニット33の複数の吐出口321は幅方向に関して基材91上の印刷領域の全体に亘って(ここでは、基材91の幅方向のほぼ全体に亘って)設けられており、基材91が吐出部3の下方を一回通過するのみで基材91への画像の印刷が完了する(いわゆる、ワンパス印刷)。
また、図2の吐出部3には、光源39に接続される光照射部38が複数のヘッドユニット33の(−Y)側に設けられる。光照射部38では、複数の光ファイバがX方向に配列されており、基材91上においてX方向に伸びる線状の領域に光照射部38により紫外線が照射される。
印刷装置1では、各ヘッドユニット33がインク循環機構に接続されており、インク循環機構によりインクがヘッドユニット33に供給されるとともに、ヘッドユニット33からインクが回収される。以下の説明では、複数の色成分のうちの一の色成分のヘッドユニット33およびインク循環機構に着目するが、他の色成分のものも同様の構成となっている。
図3はヘッドユニット33およびインク循環機構4の構成を示す図である。インク循環機構4は、ヘッドユニット33にインクを供給する供給タンク(供給リザーバ)41、ヘッドユニット33からのインクを回収する回収タンク(回収リザーバ)42、回収タンク42にインクを補充する補充タンク43、回収タンク42内のインクを供給タンク41へと送るポンプ機構44、並びに、供給タンク41および回収タンク42内の気圧を調整するタンク圧調整機構45を備える。供給タンク41は供給ライン511を介してヘッドユニット33に接続され、回収タンク42は回収ライン512を介してヘッドユニット33に接続される。補充タンク43は補充ライン513を介して回収タンク42に接続され、ポンプ機構44は回収タンク42から供給タンク41にインクを戻すリターンライン514上に設けられる。なお、図3では供給ライン511、回収ライン512、補充ライン513およびリターンライン514を太線にて示している。
タンク圧調整機構45は、回収タンク42内のガスを供給タンク41へと連続的に送るガスポンプ451、供給タンク41から回収タンク42へとガスを戻すバイパスガスライン522、および、バイパスガスライン522上に設けられたバイパス圧制御部452を備える。バイパスガスライン522はバイパス圧制御部452と供給タンク41とを結ぶ第1バイパス5221、および、バイパス圧制御部452と回収タンク42とを結ぶ第2バイパス5222を備える。
バイパス圧制御部452は排気ポンプおよびバッファタンクを備え、印刷装置1の起動時において、排気ポンプが駆動されてバイパスガスライン522の内部のガスがバッファタンクへと引き込まれ、ガスの圧(以下、「バイパス圧」という。)が減圧される。これにより、インク循環機構4全体の気圧が下げられる。ガスポンプ451はガスライン521を介して供給タンク41および回収タンク42に接続され、ガスポンプ451によりガスがガスライン521およびバイパスガスライン522を循環することにより、回収タンク42内の気圧が供給タンク41内の気圧に対して相対的に低くされるとともに、回収タンク42と供給タンク41との間の気圧差がおよそ一定に保たれる。
インク循環機構4では、タンク圧調整機構45により両タンク41,42の気圧差が一定に維持されることにより、供給タンク41内のインクが供給ライン511、ヘッドユニット33および回収ライン512を介して回収タンク42へと連続的に導かれる。また、ポンプ機構44により回収タンク42からリターンライン514を介して供給タンク41へとインクが連続的に戻される。インク循環機構4では、ポンプ機構44から供給タンク41へのインクの流量が供給タンク41からヘッドユニット33へのインクの流量とほぼ同じとなるようにポンプ機構44の動作が制御される。なお、これらの流量のバランスはインクの粘性の変化によりほとんど影響を受けない。
インク循環機構4内のガスの種類はインクの性質に応じて決定され、例えば、酸化する成分を含むインクの場合にはニトロゲンガスやヘリウムガスが利用され、酸素が存在しない状態にて重合が生じる成分を含むインクの場合には酸素を含む混合ガスが利用される。
タンク圧調整機構45により回収タンク42内の気圧は負圧に保たれており、回収タンク42内ではインクが効率よく脱気される。これにより、ヘッド32内のインクに気泡が混入してインクの吐出に不具合が生じることが防止される。
補充タンク43内の気圧は回収タンク42内の気圧よりも高くされており、補充タンク43と回収タンク42との間の気圧差を利用することにより、補充タンク43から回収タンク42へのインクの移動が補充ライン513に設けられるバルブ(図示省略)の開閉のみにて可能となっている。回収タンク42に設けられたインクレベルセンサにより、インクの液面がインクの補充を開始する高さ(レベル)になったことが検出されると、液面がインクの補充を停止する高さとなるまで補充タンク43からインクが補充される。
印刷装置1により印刷が行われる際には、まず、既述のようにバイパスガスライン522内のガスがバイパス圧制御部452により排気されつつ減圧され、ガスポンプ451が駆動されることにより供給タンク41と回収タンク42との間の圧力調整が行われる。これにより、予め、一定量のインクが貯溜された供給タンク41から供給ライン511、ヘッドユニット33、回収ライン512を介して回収タンク42へとインクが流れる。同時に、ポンプ機構44が駆動され、回収タンク42内のインクが供給タンク41へと戻されてインクの循環が開始される。このとき、後述するように、バイパス圧制御部452により、ヘッドユニット33の吐出口におけるメニスカス圧(すなわち、インクのメニスカスに生じる圧力)が一定とされる。
続いて、図1に示す基材91を走査方向に移動しつつ吐出部3の複数のヘッドユニット33(図2参照)から基材91へのインクの吐出が制御され、印刷動作が開始される。印刷中は、回収タンク42においてインクの液面の位置が繰り返し確認され、液面が補充を開始する高さ以下になった時に、液面が補充を停止する高さとなるまで補充タンク43から回収タンク42へとインクが補充される。
全ての画像の印刷が完了すると、基材91の走査方向への移動、および、ヘッドユニット33からのインクの吐出制御が停止されて印刷動作が終了し、ポンプ機構44およびタンク圧調整機構45が停止されてインクおよびガスの循環が停止される。
次に、タンク圧調整機構45の機能について説明する。供給タンク41と回収タンク42との間の圧力差は、ガスポンプ451の送出能力、並びに、ガスライン521、第1バイパス5221および第2バイパス5222の流路抵抗に従って一定となる。したがって、供給タンク41内の気圧と回収タンク42内の気圧は、バイパス圧の増減に従って増減する。また、第1バイパス5221の流路抵抗R1と第2バイパス5222の流路抵抗R2との比は、供給ライン511の流路抵抗R3と回収ライン512の流路抵抗R4との比に同じとなるように調整されている。この調整は、第1バイパス5221および第2バイパス5222が有するチューブの長さを調整することにより行われる。
一方、供給タンク41内の気圧と回収タンク42内の気圧をR1:R2にて内分(すなわち、線形補間)した値は、バイパス圧制御部452の位置におけるガスの圧力であるバイパス圧に等しくなり、供給タンク41内の気圧と回収タンク42内の気圧をR3:R4にて内分した値は、ヘッドユニット33の複数の吐出口内のメニスカス圧に等しくなる。その結果、タンク圧調整機構45では、バイパスガスライン522の流路抵抗を有する部位である第1バイパス5221と第2バイパス5222との間にてバイパス圧制御部452によりバイパス圧を制御することにより、吐出口内のインクに所望のメニスカス圧を付与することが容易に実現される。
また、供給タンク41および回収タンク42内の気圧が変化した場合であっても、メニスカス圧はバイパス圧に等しく維持される。したがって、印刷装置1では、印刷中において、万一、ポンプ機構44の動作が遅くなってもメニスカス圧が一定に保たれ、吐出口からインクが漏れたり、吐出口から空気が吸い込まれることが防止される。このような圧特性により、印刷開始時および終了時に供給タンク41および回収タンク42内の気圧差が変化する間においてもメニスカス圧が一定に維持され、印刷開始時および終了時における制御を簡素化することが実現される。
なお、流路抵抗R1と流路抵抗R2とを等しくすることにより、メニスカス圧は、供給タンク41内の気圧と回収タンク42内の気圧との平均値となり、設計および調整が容易となる。正確には、メニスカス圧は、計算上求められる値に供給タンク41内の液面とヘッドユニット33との間の高低差により生じる僅かな圧力差を加えたものとなるが、印刷装置1ではこの圧力差は無視できるほど小さくなるように設計される。
図4はポンプ機構44の構成を示す図である。ポンプ機構44は供給タンク41および回収タンク42に接続される第1ポンプ441および第2ポンプ442、並びに、第1ポンプ441の第1ポンプ室61および第2ポンプ442の第2ポンプ室71内の気圧を変更するポンプ圧変更機構443を備える。第1ポンプ441および第2ポンプ442は供給タンク41、ポンプ機構44および回収タンク42を結ぶライン上において並列に接続される。ポンプ圧変更機構443は図示省略のPLC(Programmable Logic Controller)に接続され、PLCにより動作が制御される。
第1ポンプ441は第1ポンプ室61、回収タンク42と第1ポンプ室61との間に設けられた第1の弁である流入側逆止弁62、および、供給タンク41と第1ポンプ室61との間に設けられた第2の弁である流出側逆止弁63、並びに、第1ポンプ室61の上部および下部の外側に設けられた上部センサ64および下部センサ65を備える。流入側逆止弁62は回収タンク42から第1ポンプ室61へと向かう方向にのみインクを導き、流出側逆止弁63は第1ポンプ室61から供給タンク41へと向かう方向にのみインクを導く。
上記構成により、ポンプ圧変更機構443が第1ポンプ室61内の気圧を回収タンク42内の気圧よりも(十分に)低くすると、流入側逆止弁62が自動的に開いて流出側逆止弁63が自動的に閉じ、回収タンク42から第1ポンプ室61へとインクが流入する。ポンプ圧変更機構443が第1ポンプ室61内の気圧を回収タンク42内の気圧よりも(十分に)高くすると、流入側逆止弁62が自動的に閉じて流出側逆止弁63が自動的に開き、第1ポンプ室61から供給タンク41へとインクが流出する。
第1ポンプ室61では、第1ポンプ室61へのインクの流入を停止する際のインクの液面の位置(以下、「流入停止レベル」という。)、および、第1ポンプ室61からのインクの流出を停止する際のインクの液面の位置(以下、「流出停止レベル」という。)が設定されており、インクの流入時には、上部センサ64によりインクの液面の位置が流入停止レベルに達したことが検出され、インクの流出時には、下部センサ65によりインクの液面の位置が流出停止レベルに達したことが検出される。第1ポンプ441では、上部センサ64および下部センサ65として透過型の超音波センサが利用される。
第2ポンプ442は第1ポンプ441と同構造であり、第2ポンプ室71、流入側逆止弁72および流出側逆止弁73、並びに、第2ポンプ室71の上部および下部の外側に設けられた上部センサ74および下部センサ75を備える。流入側逆止弁72は回収タンク42から第2ポンプ室71へと向かう方向にのみインクを導き、流出側逆止弁73は第2ポンプ室71から供給タンク41へと向かう方向にのみインクを導く。そして、ポンプ圧変更機構443が第2ポンプ室71内の気圧を回収タンク42内の気圧よりも(十分に)低くすると、流入側逆止弁72が自動的に開いて流出側逆止弁73が自動的に閉じ、回収タンク42から第2ポンプ室71へとインクが流入する。ポンプ圧変更機構443が第2ポンプ室71内の気圧を回収タンク42内の気圧よりも(十分に)高くすると、流入側逆止弁72が自動的に閉じて流出側逆止弁73が自動的に開き、第2ポンプ室71から供給タンク41へとインクが流出する。
第2ポンプ室61においても、インクの流入時に上部センサ74によりインクの液面の位置が流入停止レベルに達したことが検出され、流出時に下部センサ75によりインクの液面の位置が流出停止レベルに達したことが検出される。
第1ポンプ室61、第2ポンプ室71、供給タンク41および回収タンク42の形状は略四角柱状であり、第1ポンプ室61および第2ポンプ室71のそれぞれの横断面の面積は供給タンク41および回収タンク42のいずれの横断面の面積よりも小さい。これにより、第1ポンプ441および第2ポンプ442の駆動による供給タンク41および回収タンク42内のインクの液面の変動が低減される。
図5は供給タンク41、回収タンク42および第1ポンプ441を示す縦断面図である。なお、供給タンク41と回収タンク42との間には第2ポンプ442(図4参照)が第1ポンプ441に隣接して設けられる。印刷装置1では、供給タンク41、回収タンク42、第1ポンプ441および第2ポンプ442の上部の開口が1つの蓋部材46にて塞がれる。
第1ポンプ441の流入側逆止弁62は弁本体部621(弁の流路を形成する部位)、および、弁本体部621の底部6211の開口6211a上に配置される球体の封止部材622を備える。底部6211の内側面は、径が上方に向かって漸次拡大する逆円錐面状とされ、上部の内側面は図5の上下方向に伸びる円筒面とされる。第1ポンプ441では、封止部材622の材料としてステンレス鋼、サファイヤ、炭化タングステン等の硬度の高いものが利用される(以下の他の封止部材においても同様)。
第1ポンプ441の流出側逆止弁63は、流入側逆止弁62と同様の構造であり、弁本体部631、および、弁本体部631の底部6311の開口6311a上に配置される球体の封止部材632を備える。底部6311の内側面は逆円錐面状であり、上部の内側面は円筒面である。
リターンライン514は、回収タンク42の底部421から流入側逆止弁62の弁本体部621の下部(開口6211aの下方を指し、他の弁に関しても同様)まで伸びる第1下部流路81、弁本体部621の上部(開口6211aの上方を指し、他の弁に関しても同様)から第1ポンプ室61まで伸びる第1上部流路82、第1ポンプ室61の底部611から流出側逆止弁63の弁本体部631の下部まで伸びる第2下部流路83、および、弁本体部631の上部から供給タンク41まで伸びる第2上部流路84を有する。なお、第1上部流路82および第2下部流路83は、第1ポンプ441の一部と捉えられてもよい。
第2上部流路84には上下方向に細長い空間841が設けられ、空間841の上端は供給タンク41の上部に連絡する。空間841には金属のメッシュフィルタ66が収容され、メッシュフィルタ66にてインク内の不要物が除去される。
第1ポンプ441から供給タンク41へのインクの送出時には、第1ポンプ室61と供給タンク41との間の圧力差が十分に大きくされ、第1ポンプ441から供給タンク41へのインクの流れはメッシュフィルタ66等により生じる流路抵抗には妨げられない。
図4に示す第2ポンプ442の流入側逆止弁72および流出側逆止弁73の構造はそれぞれ、図5に示す第1ポンプ441の流入側逆止弁62および流出側逆止弁63と同じである。すなわち、流入側逆止弁72は、底部にインクが流入する開口を有する弁本体部、および、底部の開口上に配置された球体の封止部材を備え、流出側逆止弁73も、底部にインクが流入する開口を有する弁本体部、および、底部の開口上に配置された球体の封止部材を備える。
印刷装置1では、第1ポンプ室61の底部611および側部612、流入側逆止弁62および流出側逆止弁63の弁本体部621,631、第2ポンプ442(図4参照)の上記部位に対応する部位、供給タンク41および回収タンク42の底部411,421および側部412,422、並びに、供給タンク41、第1ポンプ室61および第2ポンプ室71並びに回収タンク42の間の流路81〜84が樹脂の1つの部材にて形成される。なお、1つの部材とは、単一の材質にて形成された1つの連続体であることを指す。これにより、印刷装置1を構成する部品数が大幅に削減される。樹脂として、例えば、ポリエーテルエーテルケトン、ポリイミド、ポリテトラフルオロエチレン等の耐薬品性の高いものが利用される。
第1ポンプ441の流入側逆止弁62では、開口6211aからインクが流入する際に、封止部材622がインクの流れに押されて自由に、すなわち、バネ等の他の部材に接して外力が作用することのない状態で上昇することにより弁本体部621の開口6211aが開放される。開口6211aからのインクの流入が停止する際には、封止部材622が重力により下降して底部6211に嵌り合うことにより弁本体部621の開口6211aが封止される。
流出側逆止弁63においても開口6311aからインクが流入する際に、封止部材632が第2下部流路83からのインクの流れに押されて自由に上昇することにより弁本体部631の開口6311aが開放される。開口6311aからのインクの流入が停止する際には、封止部材632が底部6311に嵌り合うことにより弁本体部631の開口6311aが封止される。図4に示す第2ポンプ442の流入側逆止弁72および流出側逆止弁73の動作はそれぞれ、第1ポンプ441の流入側逆止弁62および流出側逆止弁63と同様である。
流入側逆止弁および流出側逆止弁では、封止部材の材料の密度に応じて、開口を封止した封止部材が弁本体部の開口から上昇するために必要なインクの圧力(いわゆる、クラッキングプレッシャ)を変更することができる。これにより、ポンプ室内の減圧開始から封止部材が開口を開放するまでの時間が調節可能とされる。また、ポンプ室内の加圧開始から開口が封止されるまでの時間も調節される。
次に、ポンプ機構44の動作について詳説する。なお、図4に示すポンプ機構44では、予め、第1ポンプ室61内にインクが流入停止レベルまで充填され、第2ポンプ室71内ではインクが流出停止レベルまで充填されているものとする。
まず、ポンプ圧変更機構443により第1ポンプ室61内の気圧が供給タンク41内の気圧(および回収タンク42内の気圧)よりも高くなるように上げられ、第2ポンプ室71内の気圧が回収タンク42内の気圧(および供給タンク41内の気圧)よりも低くなるように下げられる。図5に示す第1ポンプ441の流入側逆止弁62では、封止部材622が弁本体部621の開口6211aを閉じた状態となり、流出側逆止弁63では、封止部材632が第1ポンプ室61からのインクの流れに押されて自由に上昇し、弁本体部631の開口6311aが開放される。そして、第1ポンプ室61内のインクが第2上部流路84を介して供給タンク41へと導かれる。
第2上部流路84の供給タンク41側の開口は、供給タンク41内のインクの液面よりも常に上方に位置し、インクは供給タンク41の内側面に沿って液面へと流れ込む。これにより、第1ポンプ441におけるインクの圧の変動が供給タンク41内のインクを介してヘッドユニット33に直接伝わることが防止される。なお、回収タンク42においても、回収ライン512の回収タンク42側の開口が回収タンク42内のインクの液面よりも常に上方に位置し、インクが回収タンク42の内側面に沿って液面へと流れ込み、第1ポンプ441におけるインクの圧の変動が回収タンク42内のインクを介してヘッドユニット33に直接伝わることが防止される(第2ポンプ442においても同様)。
第1ポンプ441の上記動作に並行して、図4に示す第2ポンプ442の流入側逆止弁72では、封止部材が回収タンク42からのインクに押されて自由に上昇して弁本体部の開口が開放され、回収タンク42内のインクが第2ポンプ室71へと導かれる。また、流出側逆止弁63では、封止部材が弁本体部の開口を閉じた状態となる。
その後、第1ポンプ室61の外側面に設けられた下部センサ65により第1ポンプ室61内のインクの液面の位置が流出停止レベルになったことが検出されると、ポンプ圧変更機構443により第1ポンプ室61内の気圧が回収タンク42内の気圧(および供給タンク41内の気圧)よりも下げられる。ほぼ同時に、第2ポンプ室71内にて上部センサ74により液面の位置が流入停止レベルになったことが検出され、ポンプ圧変更機構443により第2ポンプ室71内の気圧が供給タンク41内の気圧(および回収タンク42内の気圧)よりも上げられる。
第1ポンプ441の流入側逆止弁62では、図5に示す封止部材622が第1ポンプ室61からのインクに押されて自由に上昇して弁本体部621の開口6211aが開放され、回収タンク42内のインクが第1ポンプ室61へと導かれる。また、流出側逆止弁63では、封止部材632が下降して弁本体部631の開口6311aが封止され、インクの流出が停止される。図4に示す第2ポンプ442の流入側逆止弁72では、封止部材が下降して弁本体部の開口が封止され、インクの流入が停止される。流出側逆止弁73では、封止部材が上昇することにより第2ポンプ室71内のインクが供給タンク41へと導かれる。
第1ポンプ室61内のインク量が増加して上部センサ64により液面の位置が流入停止レベルになったことが検出されると、ポンプ圧変更機構443により第1ポンプ室61内の気圧が供給タンク41内の気圧よりも高くなるように上げられる。ほぼ同時に、第2ポンプ室71内にて下部センサ75により液面の位置が流出停止レベルになったことが検出され、ポンプ圧変更機構443により第2ポンプ室71内の気圧が回収タンク42内の気圧よりも低くなるように下げられる。これにより、第1ポンプ室61では供給タンク41へとインクが流出し、第2ポンプ室71では回収タンク42からインクが流入する。
第1ポンプ室61および第2ポンプ室71では、印刷装置1による印刷動作が終了するまで、インク量の増減に同期して流入側逆止弁62,72および流出側逆止弁63,73の開閉が繰り返される。
以上に説明したように、ポンプ機構44では、第1ポンプ441および第2ポンプ442が、回収タンク42内のインクを第1ポンプ室61および第2ポンプ室71に導く動作が順番に行われ、並行して、インクを第1ポンプ室61および第2ポンプ室71から供給タンク41へと戻す動作も順番に行われることにより、回収タンク42内のインクが供給タンク41へと連続的に戻され、ポンプ機構44におけるインクを送り出す際の脈動が低減される。その結果、供給タンク41および回収タンク42における気圧の変動が低減される。
また、ポンプ圧変更機構443を制御するPLCには、第1ポンプ441および第2ポンプ442における流入停止レベルおよび流出停止レベルの検出信号が入力され、PLCでは、検出信号の入力周期およびインク量の上限と下限との差に基づいて第1ポンプ441および第2ポンプ442による単位時間当たりのインクの送出量が求められる。実際には、供給タンク41の液面の高さがモニタされており、液面の変動を相殺する送出量となるように、第1ポンプ室61および第2ポンプ室71の気圧が制御される。
以上、印刷装置1の構成および動作について説明したが、印刷装置1では、ポンプ機構44がポンプ室と供給タンク41との間の気圧差およびポンプ室と回収タンク42との間の気圧差を利用してインクを回収タンク42から供給タンク41へと戻すため、ギアポンプ等の機械的な動作によりインクを送り出す場合に比べてポンプの構造が簡素化される。その結果、インクに接する部材を減らすことができ、ポンプ機構44を構成する部材としてインクに適合する材料の選択が容易となる。なお、蓋部材46はインクに接しないため、容易に蓋部材46の材料を選択することができる。
第1ポンプ441および第2ポンプ442では、センサからの出力に基づいてインクの送出量が求められるため、ポンプ機構44に流量計を設けることが不要となり、インクに接する部材の数がさらに削減される。第1ポンプ441では、逆止弁が利用されることにより、回収タンク42から供給タンク41へとインクを戻す構造が簡素化される。流入側逆止弁62および流出側逆止弁63では、封止部材622,632の自由な昇降を利用して弁本体部621,631の開口6211a,6311aの開閉が行われるため、バネ等の弾性体からの付勢用を利用する逆止弁に比べて、構造が簡素化される(第2ポンプ442においても同様)。その結果、インクに接する部材を減らすことができ、ポンプ機構44を構成する部材の材料選択が容易となる。
インク循環機構4では、回収タンク42から供給タンク41へとインクを戻す際に、機械的なポンプのようにインクに高い剪断力が生じたり、インクが局所的に過熱されてしまうことが防止され、インクの劣化が防止される。また、補充タンク43から回収タンク42へのインクの補充が、回収タンク42と補充タンク43との間の気圧差を利用して行われるため、別途ポンプ等を設けることが不要となり、インクに接する部材の数がさらに削減されるとともに、インクに剪断力が生じたり、インクが過熱されることが防止される。
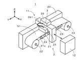
図6は印刷装置の他の例を示す図である。印刷装置1aの本体11には図1の搬送部2に代えてステージ20a、および、ステージ20aを走査方向(図6中のY方向)に移動するステージ移動機構26が設けられ、基台20上に設けられる位置検出モジュール27により、基台20に対するステージ20aの位置が検出可能とされる。印刷装置1aの吐出部3および制御部12の基本的な構造は図1に示すものと同様であり、同様の構成には同符号を付している。
印刷装置1aは回路基板用の基板92上に回路パターンを形成する装置であり、吐出部3によりインクジェット方式にて、銀の微粒子を溶媒中に拡散させた流動性材料がステージ20a上の基板92に吐出される。また、流動性材料は紫外線硬化性を有し、基板92上に吐出された直後に光源39から導かれる紫外線が照射される。これにより、流動性材料が硬化して導電性を有する回路パターンが形成される。
吐出部3には図3に示すインク循環機構4と同構造の循環機構が設けられ、供給タンクからヘッドユニットおよび回収タンクへと流動性材料が流れるとともに、逆止弁を有するポンプ機構がポンプ室と供給タンクとの間の気圧差およびポンプ室と回収タンクとの間の気圧差を利用して流動性材料を回収タンクから供給タンクへと戻す。これにより、ギアポンプ等の機械的な動作によりインクを送り出すポンプに比べてポンプの構造が簡素化される。また、流動性材料に接する部材を減らすことができ、ポンプ機構を構成する部材の材料選択が容易になるとともに、流動性材料の劣化が防止される。さらに、図3に示すタンク圧調整機構45と同様の機構により、ヘッドユニットの吐出口内における流動性材料のメニスカス圧が容易に一定に保たれる。
以上、本発明の実施の形態について説明したが、本発明は上記実施の形態に限定されるものではなく、様々な変更が可能である。
例えば、上記実施の形態では、ポンプ機構44に第1ポンプ441と同構造の3以上のポンプが設けられてもよく、複数のポンプが回収タンク42内の流動性材料をポンプ室に導く動作を順番に行い、並行して、流動性材料をポンプ室から供給タンク41へと戻す動作も順番に行うことにより、回収タンク42内の流動性材料が供給タンク41へと連続的に戻されてもよい。換言すれば、複数のポンプが、動作サイクルの位相を等間隔にてずらしながら動作される。これにより、供給タンク41および回収タンク42における気圧の変動が低減される。
なお、供給タンク41からヘッドユニット33への流動性材料の流れは、供給タンク41と回収タンク42との気圧差に依存することから、気圧差が大きく変動しない範囲で、一のポンプの送出終了時と他の一のポンプの送出開始時とは正確に一致している必要はない。また、回収タンク42から供給タンク41へと流動性材料を連続的に戻す必要がない場合は、1つのポンプのみが設けられてもよい。
印刷装置1,1aは、吐出部3を走査方向に移動して印刷を行う装置であってもよく、吐出部3を主走査方向に移動しつつ主走査が行われる毎に主走査方向に垂直な副走査方向にステップ移動することにより印刷を行う装置であってもよい。印刷装置1,1aの複数の吐出口の配列方向は必ずしも走査方向に対して垂直である必要はなく、走査方向に対して交差する方向であれば他の方向とされてよい。
流入側逆止弁62および流出側逆止弁63では、封止部材622,632が磁性部材にて形成されるとともに弁本体部621,631の下側に永久磁石が設けられることにより、封止部材622,632に予圧が付与されてもよい。これにより、封止部材622,632を開口6211a,6311aから上昇させるために必要なインクの圧力が増大される。封止部材622,632への予圧は、ヘッドユニット33およびインク循環機構4が移動する構造の印刷装置に適している。
なお、ヘッドユニット33およびインク循環機構4が移動する印刷装置の場合、供給タンク41や回収タンク42の液面に板状の部材を浮かせる等により液面の揺れが低減されたり、上部センサ64,74および下部センサ65,75として液面の揺れの影響を受けにくいものが採用されることが好ましい。
上記実施の形態では、液面の位置を検出する上部センサ64,74および下部センサ65,75として反射型超音波センサ、静電容量型センサ、光学式センサ等が利用されてもよい。さらに、液面に設けられたフロートにより第1ポンプ室61および第2ポンプ室71に設けられたスイッチのオン、オフが機械的に行われて、流入停止レベルおよび流出停止レベルが検出されてもよい。
供給タンク41、回収タンク42、第1ポンプ室61および第2ポンプ室71を形成する1つの部材は、樹脂材料以外に、マシナブルセラミックス(快削性セラミックス)、アルミ合金、鉄合金等にて形成されてもよい。また、供給タンク41および回収タンク42が分離され、第1ポンプ室61の底部および側部、第2ポンプ室71の底部および側部、並びに、各ポンプ室から流入側逆止弁および流出側逆止弁までの流路のみが1つの部材にて形成されてもよい。
流入側逆止弁および流出側逆止弁は完全に逆流を防止するものである必要はなく、ある程度(順方向の流れの数%程度)の逆流が生じるものであっても使用することができる。すなわち、逆止弁に弾性を有する封止材料が使用される必要はなく、これにより、逆止弁に使用される材料の選択が容易とされる。
流動性材料の循環機構では、流入側逆止弁および流出側逆止弁に代えて電磁バルブが設けられてもよい。すなわち、各ポンプでは、流入側の弁が開かれ、流出側の弁が閉じられた状態でポンプ室内の気圧を下げることにより、回収タンク42内の流動性材料をポンプ室へと導くことができ、流入側の弁が閉じられ、流出側の弁が開かれた状態でポンプ室内の気圧を上げることにより、ポンプ室内の流動性材料を供給タンク41へと導くことができる。
上記実施の形態では、バイパス圧とメニスカス圧とが等しくされるが、これらは正確に等しくされる必要はない。バイパス圧とメニスカス圧とが異なる場合であっても、バイパス圧を制御することによりメニスカス圧を増減することが可能である。
印刷装置1,1aにて印刷が行われる印刷媒体は、上記実施の形態にて示した基材91や基板92には限定されず、印刷用紙、プラスチック板、金属板、ガラス基板、半導体基板等の他の様々なものであってよい。さらに、印刷装置1,1aにおける印刷材料である流動性材料は、インクや銀粒子を含む材料以外の様々なものとされてよく、透明電極の形成、有機材料の塗布、薄膜の形成等に用いられる流動性材料であってもよい。特に、上記実施の形態にて示した循環機構では、流動性材料に接する部材の数を削減することができることから、上記印刷装置は、強酸性や強アルカリ性等の反応性の高い流動性材料を用いて印刷を行う場合に適している。
1 印刷装置
91 基材
92 基板
32 ヘッド
41 供給タンク
42 回収タンク
44 ポンプ機構
45 タンク圧調整機構
61 第1ポンプ室
62,72 流入側逆止弁
63,73 流出側逆止弁
64,74 上部センサ
65,75 下部センサ
71 第2ポンプ室
81〜84 流路
411 (供給タンクの)底部
412 (供給タンクの)側部
421 (回収タンクの)底部
422 (回収タンクの)側部
441 第1ポンプ
442 第2ポンプ
443 ポンプ圧変更機構
451 ガスポンプ
452 バイパス圧制御部
511 供給ライン
512 回収ライン
514 リターンライン
522 バイパスガスライン
611 (第1ポンプ室の)底部
612 (第1ポンプ室の)側部
621,631 弁本体部
622,632 封止部材
5221 第1バイパス
5222 第2バイパス
6211,6311 (弁本体部の)底部
6211a,6311a (弁本体部の)開口

Claims (9)

  1. インクジェット方式の印刷装置であって、
    所定の配列方向に配列された複数の吐出口から、前記配列方向に交差する方向に前記複数の吐出口に対して相対的に移動する印刷媒体に向けて流動性材料の微小液滴を吐出するヘッドと、
    供給ラインを介して前記ヘッドに流動性材料を供給する供給タンクと、
    回収ラインを介して前記ヘッドからの流動性材料を回収する回収タンクと、
    前記回収タンクから前記供給タンクに流動性材料を戻すリターンライン上に設けられ、前記回収タンク内の流動性材料を前記供給タンクへと送る複数のポンプと、
    前記回収タンク内の気圧を前記供給タンク内の気圧に対して相対的に低くすることにより、前記供給タンク内の流動性材料を前記供給ライン、前記ヘッドおよび前記回収ラインを介して前記回収タンクへと導くタンク圧調整機構と、
    を備え、
    前記複数のポンプのそれぞれが、
    ポンプ室と、
    前記回収タンクと前記ポンプ室との間に設けられた第1弁が開かれ、前記供給タンクと前記ポンプ室との間に設けられた第2弁が閉じられた状態で前記ポンプ室内の気圧を下げることにより、前記回収タンク内の流動性材料を前記ポンプ室へと導き、前記第1弁が閉じられ、前記第2弁が開かれた状態で前記ポンプ室内の気圧を上げることにより、前記ポンプ室内の前記流動性材料を前記供給タンクへと導くポンプ圧変更機構と、
    を備え
    前記複数のポンプが、前記回収タンク内の流動性材料を前記ポンプ室に導く動作を順番に行い、並行して、流動性材料を前記ポンプ室から前記供給タンクへと戻す動作も順番に行うことにより、前記回収タンク内の流動性材料が前記供給タンクへと連続的に戻されることを特徴とする印刷装置。
  2. 請求項に記載の印刷装置であって、
    前記複数のポンプのそれぞれが、前記ポンプ室への流動性材料の流入を停止する際の前記流動性材料の液面の位置、および、前記ポンプ室からの前記流動性材料の流出を停止する際の前記流動性材料の液面の位置を検出するセンサをさらに備え、
    前記複数のポンプのそれぞれの前記センサからの出力に基づいて前記複数のポンプによる単位時間当たりの流動性材料の送出量が求められることを特徴とする印刷装置。
  3. 請求項1または2に記載の印刷装置であって、
    前記第1弁が、前記回収タンクから前記ポンプ室へと向かう方向に流動性材料を導く逆止弁であり、前記第2弁が、前記ポンプ室から前記供給タンクへと向かう方向に流動性材料を導く逆止弁であることを特徴とする印刷装置。
  4. 請求項に記載の印刷装置であって、
    前記第1弁および前記第2弁のそれぞれが、
    底部に流動性材料が流入する開口を有する弁本体部と、
    前記開口上に配置され、前記開口から流動性材料が流入する際に、前記流動性材料に押されて自由に上昇することにより前記開口を開放し、前記流動性材料の流入が停止する際に、下降することにより前記開口を封止する封止部材と、
    を備えることを特徴とする印刷装置。
  5. 請求項に記載の印刷装置であって、
    前記ポンプ室の底部および側部、前記第1弁および前記第2弁の前記弁本体部、並びに、前記ポンプ室から前記第1弁および前記第2弁までの流路が、1つの部材にて形成されていることを特徴とする印刷装置。
  6. 請求項に記載の印刷装置であって、
    前記供給タンクの底部および側部、並びに、前記回収タンクの底部および側部が前記1つの部材に形成されていることを特徴とする印刷装置。
  7. インクジェット方式の印刷装置であって、
    所定の配列方向に配列された複数の吐出口から、前記配列方向に交差する方向に前記複数の吐出口に対して相対的に移動する印刷媒体に向けて流動性材料の微小液滴を吐出するヘッドと、
    供給ラインを介して前記ヘッドに流動性材料を供給する供給タンクと、
    回収ラインを介して前記ヘッドからの流動性材料を回収する回収タンクと、
    前記回収タンクから前記供給タンクに流動性材料を戻すリターンライン上に設けられ、前記回収タンク内の流動性材料を前記供給タンクへと送るポンプと、
    前記回収タンク内の気圧を前記供給タンク内の気圧に対して相対的に低くすることにより、前記供給タンク内の流動性材料を前記供給ライン、前記ヘッドおよび前記回収ラインを介して前記回収タンクへと導くタンク圧調整機構と、
    を備え、
    前記ポンプが、
    ポンプ室と、
    前記回収タンクと前記ポンプ室との間に設けられた第1弁が開かれ、前記供給タンクと前記ポンプ室との間に設けられた第2弁が閉じられた状態で前記ポンプ室内の気圧を下げることにより、前記回収タンク内の流動性材料を前記ポンプ室へと導き、前記第1弁が閉じられ、前記第2弁が開かれた状態で前記ポンプ室内の気圧を上げることにより、前記ポンプ室内の前記流動性材料を前記供給タンクへと導くポンプ圧変更機構と、
    を備え、
    前記第1弁が、前記回収タンクから前記ポンプ室へと向かう方向に流動性材料を導く逆止弁であり、前記第2弁が、前記ポンプ室から前記供給タンクへと向かう方向に流動性材料を導く逆止弁であり、
    前記第1弁および前記第2弁のそれぞれが、
    底部に流動性材料が流入する開口を有する弁本体部と、
    前記開口上に配置され、前記開口から流動性材料が流入する際に、前記流動性材料に押されて自由に上昇することにより前記開口を開放し、前記流動性材料の流入が停止する際に、下降することにより前記開口を封止する封止部材と、
    を備え、
    前記ポンプ室の底部および側部、前記第1弁および前記第2弁の前記弁本体部、並びに、前記ポンプ室から前記第1弁および前記第2弁までの流路が、1つの部材にて形成されていることを特徴とする印刷装置。
  8. 請求項に記載の印刷装置であって、
    前記供給タンクの底部および側部、並びに、前記回収タンクの底部および側部が前記1つの部材に形成されていることを特徴とする印刷装置。
  9. 請求項1ないしのいずれかに記載の印刷装置であって、
    前記タンク圧調整機構が、
    前記回収タンク内のガスを前記供給タンクへと連続的に送るガスポンプと、
    前記供給タンクから前記回収タンクへとガスを戻すバイパスガスラインと、
    前記バイパスガスラインの流路抵抗を有する2つの部位の間にて、内部のガスの圧であるバイパス圧を制御するバイパス圧制御部と、
    を備え、
    前記バイパス圧制御部が前記バイパス圧を制御することにより、前記ヘッドの前記複数の吐出口内の流動性材料に所望のメニスカス圧が付与されることを特徴とする印刷装置。
JP2009079862A 2009-03-27 2009-03-27 印刷装置 Expired - Fee Related JP5394792B2 (ja)

Priority Applications (1)

Application Number Priority Date Filing Date Title
JP2009079862A JP5394792B2 (ja) 2009-03-27 2009-03-27 印刷装置

Applications Claiming Priority (1)

Application Number Priority Date Filing Date Title
JP2009079862A JP5394792B2 (ja) 2009-03-27 2009-03-27 印刷装置

Publications (2)

Publication Number Publication Date
JP2010228350A JP2010228350A (ja) 2010-10-14
JP5394792B2 true JP5394792B2 (ja) 2014-01-22

Family

ID=43044657

Family Applications (1)

Application Number Title Priority Date Filing Date
JP2009079862A Expired - Fee Related JP5394792B2 (ja) 2009-03-27 2009-03-27 印刷装置

Country Status (1)

Country Link
JP (1) JP5394792B2 (ja)

Families Citing this family (7)

* Cited by examiner, † Cited by third party
Publication number Priority date Publication date Assignee Title
JP5723610B2 (ja) * 2011-01-26 2015-05-27 理想科学工業株式会社 インクジェット記録装置
US8517522B2 (en) 2011-02-07 2013-08-27 Fujifilm Dimatix, Inc. Fluid circulation
JP6142566B2 (ja) * 2013-02-21 2017-06-07 セイコーエプソン株式会社 液体噴射装置
JP6622041B2 (ja) * 2015-09-24 2019-12-18 理想科学工業株式会社 インクジェット印刷装置
JP6949513B2 (ja) * 2017-03-08 2021-10-13 東芝テック株式会社 循環装置及び液体吐出装置
JP7585824B2 (ja) * 2021-01-29 2024-11-19 セイコーエプソン株式会社 液体循環機構、液体循環装置及び液体吐出装置
DE102021108997A1 (de) 2021-04-12 2022-10-13 Canon Production Printing Holding B.V. Verfahren und Anordnung zum Kalibrieren einer Förderrate einer Tintenpumpe einer Druckvorrichtung

Family Cites Families (3)

* Cited by examiner, † Cited by third party
Publication number Priority date Publication date Assignee Title
JPS58108150A (ja) * 1981-12-23 1983-06-28 Ricoh Co Ltd 定流量ポンプ
FR2652540B1 (fr) * 1989-10-02 1995-06-02 Imaje Sa Circuit d'encre notamment destine a la mise en pression d'une encre a pigments pour imprimante a jet d'encre.
JP5728148B2 (ja) * 2006-04-27 2015-06-03 東芝テック株式会社 インクジェット装置およびその制御方法

Also Published As

Publication number Publication date
JP2010228350A (ja) 2010-10-14

Similar Documents

Publication Publication Date Title
JP5394792B2 (ja) 印刷装置
JP2009285837A (ja) 印刷装置、インク循環方法およびインク初期導入方法
JP5509822B2 (ja) 画像形成装置
JP5531872B2 (ja) 液体吐出ヘッドユニット及び画像形成装置
JP5335580B2 (ja) 液体吐出装置
JP5560673B2 (ja) 液体収容タンク、液体吐出ヘッドユニット及び画像形成装置
JP6264888B2 (ja) 液体噴射装置
US9044939B2 (en) Printhead assembly priming
WO2009077790A1 (en) Recirculating ink system for inkjet printing
JP6578888B2 (ja) 液体吐出装置及び中間貯留体
JP5084610B2 (ja) 印刷装置および印刷方法
JP5975659B2 (ja) フィルターユニット、液体噴射ヘッド及び液体噴射装置
JP2018083413A (ja) 液体を吐出する装置
US8066362B2 (en) Liquid discharging head and liquid discharging apparatus having grooved surface from ink inlet to ink outlet
JP5776148B2 (ja) 画像形成装置
JP2011201176A (ja) 記録装置および記録方法
JP5705624B2 (ja) インクジェット記録装置
JP6360755B2 (ja) インク循環装置の洗浄装置とインク循環装置の洗浄方法
JP6639048B2 (ja) インクタンクおよびインクジェットプリンター
JP2012192618A (ja) 画像形成装置
JP6930342B2 (ja) 液体吐出装置
JP6897463B2 (ja) インクジェット記録装置、粘度推定方法、及び、記憶媒体
JP2008200914A (ja) インクジェット記録装置およびインク供給方法
JP2020001168A (ja) 液体吐出装置
JP6996316B2 (ja) 液体循環装置、液体を吐出する装置

Legal Events

Date Code Title Description
A621 Written request for application examination

Free format text: JAPANESE INTERMEDIATE CODE: A621

Effective date: 20111219

A977 Report on retrieval

Free format text: JAPANESE INTERMEDIATE CODE: A971007

Effective date: 20121116

A131 Notification of reasons for refusal

Free format text: JAPANESE INTERMEDIATE CODE: A131

Effective date: 20121122

A521 Written amendment

Free format text: JAPANESE INTERMEDIATE CODE: A523

Effective date: 20130115

TRDD Decision of grant or rejection written
A01 Written decision to grant a patent or to grant a registration (utility model)

Free format text: JAPANESE INTERMEDIATE CODE: A01

Effective date: 20130930

A61 First payment of annual fees (during grant procedure)

Free format text: JAPANESE INTERMEDIATE CODE: A61

Effective date: 20131017

R150 Certificate of patent or registration of utility model

Ref document number: 5394792

Country of ref document: JP

Free format text: JAPANESE INTERMEDIATE CODE: R150

Free format text: JAPANESE INTERMEDIATE CODE: R150

S533 Written request for registration of change of name

Free format text: JAPANESE INTERMEDIATE CODE: R313533

R350 Written notification of registration of transfer

Free format text: JAPANESE INTERMEDIATE CODE: R350

R250 Receipt of annual fees

Free format text: JAPANESE INTERMEDIATE CODE: R250

R250 Receipt of annual fees

Free format text: JAPANESE INTERMEDIATE CODE: R250

R250 Receipt of annual fees

Free format text: JAPANESE INTERMEDIATE CODE: R250

R250 Receipt of annual fees

Free format text: JAPANESE INTERMEDIATE CODE: R250

LAPS Cancellation because of no payment of annual fees