JP5376233B2 - 画像形成装置、プログラム、および制御装置 - Google Patents

画像形成装置、プログラム、および制御装置 Download PDF

Info

Publication number
JP5376233B2
JP5376233B2 JP2009169019A JP2009169019A JP5376233B2 JP 5376233 B2 JP5376233 B2 JP 5376233B2 JP 2009169019 A JP2009169019 A JP 2009169019A JP 2009169019 A JP2009169019 A JP 2009169019A JP 5376233 B2 JP5376233 B2 JP 5376233B2
Authority
JP
Japan
Prior art keywords
image
toner
image forming
potential difference
control unit
Prior art date
Legal status (The legal status is an assumption and is not a legal conclusion. Google has not performed a legal analysis and makes no representation as to the accuracy of the status listed.)
Expired - Fee Related
Application number
JP2009169019A
Other languages
English (en)
Other versions
JP2011022468A (ja
Inventor
直哉 山▲崎▼
正博 我妻
Current Assignee (The listed assignees may be inaccurate. Google has not performed a legal analysis and makes no representation or warranty as to the accuracy of the list.)
Fujifilm Business Innovation Corp
Original Assignee
Fuji Xerox Co Ltd
Fujifilm Business Innovation Corp
Priority date (The priority date is an assumption and is not a legal conclusion. Google has not performed a legal analysis and makes no representation as to the accuracy of the date listed.)
Filing date
Publication date
Application filed by Fuji Xerox Co Ltd, Fujifilm Business Innovation Corp filed Critical Fuji Xerox Co Ltd
Priority to JP2009169019A priority Critical patent/JP5376233B2/ja
Publication of JP2011022468A publication Critical patent/JP2011022468A/ja
Application granted granted Critical
Publication of JP5376233B2 publication Critical patent/JP5376233B2/ja
Expired - Fee Related legal-status Critical Current
Anticipated expiration legal-status Critical

Links

Images

Landscapes

  • Control Or Security For Electrophotography (AREA)
  • Color Electrophotography (AREA)
  • Dry Development In Electrophotography (AREA)

Description

本発明は、画像形成装置、プログラム、および制御装置に関する。
例えばプリンタに代表される画像形成装置として、感光体といった像保持体の表面を現像器によってトナーで現像するタイプのものがある。また、現像器内にトナーが長期間留まり劣化することを防ぐために、像保持体上に作像された画像ドット数を計数し、画像ドット数が閾値よりも少ない場合に現像動作を行ってトナーを消費する画像形成装置が知られている(例えば、特許文献1参照。)。また、濃度測定用のパッチ画像を形成し、パッチ画像の濃度が基準の濃度以下の場合に現像動作を行ってトナーを消費する画像形成装置が知られている(例えば、特許文献2参照。)。
特開2004−125829号公報 特開2007−147782号公報
本発明は、無駄なトナーの消費を抑えた画像形成装置、プログラムおよび制御装置を提供することを目的とするものである。
請求項1に係る画像形成装置は、
表面に形成されたトナー像を保持する像保持体と、
上記像保持体上にトナーを飛翔させることでトナー像を形成する像形成部と、
上記像形成部によって形成されたトナー像の濃度を検出する検出部と、
画像信号の入力を受け上記像形成部に、この画像信号に応じた画像信号トナー像を形成させる信号画像形成制御部と、
上記像形成部に、予め定められた像密度のパッチトナー像を形成させるとともに、このパッチトナー像のこの検出部による検出結果に応じて、上記像形成部における、上記像保持体上へのトナーの飛翔力を定める現像コントラスト電位差を制御する電位差制御部と、
上記現像コントラスト電位差が予め定められた値となった場合、上記像形成部に、上記画像信号に応じた画像信号トナー像、および上記パッチトナー像のいずれとも別のトナーバンドを形成させることによるトナーの消費量を増大させるバンド形成制御部とを備えたことを特徴とする。
請求項2に係る画像形成装置は、上記値が、上記電位差制御部による上記現像コントラスト電位差の制御範囲の上限値および下限値のいずれかであることを特徴とする。
請求項3に係る画像形成装置は、上記値が、上記電位差制御部による上記現像コントラスト電位差の制御範囲の、上限値から予め定められた第1の範囲内の値および下限値以上の予め定められた第2の範囲内の値のいずれかであることを特徴とする。
請求項4に係る画像形成装置は、上記値が、上記電位差制御部による上記現像コントラスト電位差の制御範囲における、上限値および下限値から離れて設定された範囲を外れた値であることを特徴とする。
請求項5に係る画像形成装置は、上記バンド形成制御部が、上記像形成部に形成させるトナーバンドの、この像保持体がトナー像を保持して移動する方向の長さを大きくすることによって、トナーの消費量を増大させるものであることを特徴とする。
請求項6に係る画像形成装置は、上記バンド形成制御部が、上記像形成部に形成させるトナーバンドの像密度を高めることによってトナーの消費量を増大させるものであることを特徴とする。
請求項7に係る画像形成装置は、上記バンド形成制御部が、上記像形成部に上記トナーバンドを形成させる頻度を高めることによってトナーの消費量を増大させるものであることを特徴とする。
請求項8に係る制御装置は、画像形成装置を制御する制御装置であって、
上記画像形成装置が、
表面に形成されたトナー像を保持する像保持体と、
上記像保持体上にトナーを飛翔させることでトナー像を形成する像形成部と、
上記像形成部によって形成されたトナー像の濃度を検出する検出部と、
画像信号の入力を受け上記像形成部に、この画像信号に応じた画像信号トナー像を形成させる信号画像形成制御部と、
上記像形成部に、予め定められた像密度のパッチトナー像を形成させるとともに、このパッチトナー像のこの検出部による検出結果に応じて、上記像形成部における、上記像保持体上へのトナーの飛翔力を定める現像コントラスト電位差を制御する電位差制御部とを備えたものであり、
この制御装置が、
上記電位差制御部により制御された現像コントラスト電位差が予め定められた値となった場合、上記像形成部に、上記画像信号に応じた画像信号トナー像、および上記パッチトナー像のいずれとも別のトナーバンドを形成させることによるトナーの消費量を増大させるバンド形成制御部を備えたものであることを特徴とする。
請求項9に係るプログラムは、画像形成装置と通信可能に接続されたコンピュータに組み込まれてこのコンピュータを、この画像形成装置を制御する制御装置として機能させるためのプログラムであって、
上記画像形成装置が、
表面に形成されたトナー像を保持する像保持体と、
上記像保持体上にトナーを飛翔させることでトナー像を形成する像形成部と、
上記像形成部によって形成されたトナー像の濃度を検出する検出部と、
画像信号の入力を受け上記像形成部に、この画像信号に応じた画像信号トナー像を形成させる信号画像形成制御部と、
上記像形成部に、予め定められた像密度のパッチトナー像を形成させるとともに、このパッチトナー像のこの検出部による検出結果に応じて上記像形成部における、上記像保持体上へのトナーの飛翔力を定める現像コントラスト電位差を制御する電位差制御部とを備えたものであり、
このプログラムが上記コンピュータを、
上記電位差制御部により制御された現像コントラスト電位差が予め定められた値となった場合、上記像形成部に、上記画像信号に応じた画像信号トナー像、および上記パッチトナー像のいずれとも別のトナーバンドを形成させることによるトナーの消費量を増大させるバンド形成制御部として機能させることを特徴とする。
請求項1に係る画像形成装置によれば、本構成を有しない場合に比べ、トナーバンドによる無駄なトナーの消費が抑えられる。
請求項2に係る画像形成装置によれば、現像コントラスト電位差が上限値および下限値に至る前にトナーバンドによるトナー消費量を増大させる場合に比べ、トナーの消費が抑えられる。
請求項3に係る画像形成装置によれば、トナー濃度の修正が余裕をもって実行できる。
請求項4に係る画像形成装置によれば、トナー濃度の修正が余裕をもって実行できる。
請求項5に係る画像形成装置によれば、トナーの消費量を簡易な方法で正確に制御することができる。
請求項6に係る画像形成装置によれば、トナーバンドの形成に要する領域の増大を抑えることができる。
請求項7に係る画像形成装置によれば、回収トナー像自体の状態を変更することなくトナーの消費量を制御することができる。
請求項8に係る制御装置によれば、本構成を有しない場合に比べ、トナーバンドによる無駄なトナーの消費が抑えられる。
請求項9に係るプログラムによれば、本構成を有しない場合に比べ、トナーバンドによる無駄なトナーの消費が抑えられる。
本発明の第1実施形態である画像形成装置の概略構成図である。 図1に示す制御部の回路構成を示すブロック図である。 感光体表面の電位分布を示すグラフである。 露光量と現像電位差の関係を示すグラフである。 中間転写ベルトの一部を示す図である。 各色の画像形成部に対する現像電位差の制御を示すグラフである。 画像形成装置における画像形成の処理を説明するフローチャートである。 図7に示すパターン長さ算出処理の詳細を示すフローチャートである。 捲れ防止用トナーバンドが形成された中間転写ベルトの一部を示す図である。 第2実施形態の画像形成装置の各色の画像形成部に対する現像電位差の推移を示すグラフである。 第2実施形態におけるパターン長さ算出処理の詳細を示すフローチャートである。 第3実施形態における各色の画像形成部に対する現像電位差の制御を示すグラフである。 第3実施形態におけるパターン長さ算出処理の詳細を示すフローチャートである。 第4実施形態の画像形成装置における画像形成の処理を説明するフローチャートである。 第4実施形態におけるパターン濃度の算出処理の詳細を示すフローチャートである。 第5実施形態の画像形成装置における画像形成の処理を説明するフローチャートである。 第5実施形態におけるパターン作成間隔算出処理の詳細を示すフローチャートである。 第6実施形態の画像形成装置における画像形成の処理を説明するフローチャートである。 第7実施形態におけるパターン濃度の算出処理の詳細を示すフローチャートである。 第8実施形態における上限電位差補正処理を説明するフローチャートである。 現像電位差の制御に前回セットアップ処理で測定した結果を用いる変形例における中間転写ベルトの一部を示す図である。 図21とは別の配置がなされた中間転写ベルトの一部を示す図である。 本発明の第9実施形態を説明するシステムのブロック図である。 図23に示す制御コンピュータの概略構成を示すブロック図である。 図23に示す画像形成装置の処理を示すフローチャートである。 図23に示す画像形成装置の処理を示すフローチャートである。
以下図面を参照して本発明の実施の形態を説明する。
[第1実施形態 画像形成装置構成]
図1は、本発明の第1実施形態である画像形成装置の概略構成図である。
図1に示す画像形成装置1は、静電潜像を形成しトナーで現像してトナー像を形成し、そのトナー像を最終的に用紙上に転写および定着することによりその用紙上に定着トナー像からなる画像を形成する装置である。本実施形態の画像形成装置1は、イエロー(Y)、マゼンタ(M)、シアン(C)および、ブラック(K)の各色毎に画像形成部10Y,10M,10C,10Kを並列的に配置してなるタンデム型のカラープリンタであり、単色の画像をプリントすることができるほか、4色のトナー像からなるフルカラーの画像をプリントすることができる。4つの画像形成部10Y,10M,10C,10Kは、ほぼ同様の構成を有しているため、これらを代表してイエローに対応する画像形成部10Yを取り上げて説明すると、画像形成部10Yは、感光体11Yと、感光体11Y表面を帯電させる帯電器12Yと、感光体11Y表面をトナーで現像する現像器14Yと、トナー像を中間転写ベルトに転写する一次転写器15Yと、感光体11Y表面を清掃する感光体クリーナ16Yと、を備えている。感光体11Yは円筒状の表面を有しており、円筒の軸周りである矢印a方向に回転する。感光体11Yは付与された電荷を保持することによって表面の電位を維持するが、光の照射を受けると照射を受けた部分が電荷を逃がし表面の電位(電位の絶対値)が低下する。照射を受けた部分の電位は受けた光量に応じたものとなる。
また、画像形成装置1には、外部から供給される画像信号に基づく露光光を画像形成部10Y,10M,10C,10Kのそれぞれに照射する露光器20と、CMYK各色のトナーを収容するトナーカートリッジ18Y,18M,18C,18Kと、各色の感光体11Y,11M,11C,11Kからトナー像が転写される中間転写ベルト30と、中間転写ベルト30からトナー像を用紙に転写する第2転写器50と、トナーを用紙に定着する定着器60と、中間転写ベルト30からトナーを回収するベルトクリーナ70と、用紙を搬送する用紙搬送部80と、用紙を収容する用紙収容器40と、用紙を外部から供給する手差し給紙部41と、画像形成装置1の各部を制御する制御部1Aも備えられている。露光器20は、発光器21、ポリゴンミラー22を有しており、発光器21から発光された光は、ポリゴンミラー22や図示しない光学部品によって、感光体11Y,11M,11C,11Kに照射される。中間転写ベルト30は、ベルト支持ロール31,32,33,34によって支持された無端の帯状部材であり、画像形成部10Y,10M,10C,10K、および、第2転写器50をこの順に経由する方向bに循環移動する。ベルトクリーナ70は、中間転写ベルト30にブレードを接触させて中間転写ベルト30上のトナーを掻き取って回収する。中間転写ベルト30の、画像形成部10Y,10M,10C,10Kよりも下流側には濃度センサ36が設けられている。濃度センサ36は、画像形成部10Y,10M,10C,10Kで形成され中間転写ベルト30に転写されたトナー像の濃度を測定する。用紙搬送部80は、用紙を、第2転写器50および定着器60を経由する用紙搬送経路rに沿って搬送するものであり、用紙収容器40に収容された用紙を取り出すピックアップロール81、取り出された用紙を捌く捌きロール82、用紙を搬送する搬送ロール83、用紙を第2転写器50に搬送するレジストレーションロール84、および用紙を外部に排出する排出ロール86,87を備えている。
ここで、感光体11Y,11M,11C,11Kが、本発明にいう像保持体の一例に相当する。また、露光器20、帯電器12Y,12M,12C,12K、および、現像器14Y,14M,14C,14Kの組合せが、本発明にいう像形成部の一例に相当する。
図2は、図1に示す制御部の回路構成を示すブロック図である。
図2に示す制御部1Aは、画像形成装置1の各部に接続された組み込み型のコンピュータであり、プログラムを実行することによって、演算処理および周辺各部の制御を行うCPU101と、CPU101によって実行されるプログラムやデータを格納するとともにCPU101による演算結果を記憶する記憶媒体としてのメモリ102と、画像データを表す画像信号を外部から受ける画像データIF(インターフェース)103と、図1に示す各部と信号のやり取りを行う機構IF104と、濃度センサ36からの信号を受信するセンサIF105と、外部の機器と通信しデータの送受信を行うための通信IF106とを有する。CPU101、メモリ102、画像データIF103、機構IF104、および、センサIF105は、バスによって相互に接続されている。制御部1Aは、CPU101がメモリ102に記憶された制御プログラムを実行することによって、画像データIF103が受信した画像信号およびセンサIF105が受信した信号に基づき、図1に示す各部の動作を制御する。
[画像形成装置の基本動作]
図1に示す画像形成装置1の基本動作を説明すると、画像形成部10Yにおいて、感光体11Yが矢印a方向に回転駆動され、感光体11Yの表面に帯電器12Yによって電荷が付与される。露光器20は、外部から供給される画像信号に基づく露光光を各画像形成部10Y,10M,10C,10Kの感光体11Y,11M,11C,11Kに照射することで静電潜像を形成する。露光器20は、感光体11Y,11M,11C,11Kに、画像信号中の各色に対応するデータに応じた露光光をそれぞれ照射する。代表としてイエロー(Y)について説明すると、露光器20は、外部から供給される画像信号のうちのイエローに対応する画像信号に基づく露光光を感光体11Yの表面に照射することで、感光体11Yの表面に静電潜像を形成する。現像器14Yは、静電潜像をイエローのトナーで現像することで、トナー像を形成する。現像器14Yには、トナーカートリッジ18Yからトナーが供給されている。供給されたトナーは現像器14Y内で磁性キャリアと混合され攪拌されながら、現像器14Y内を循環しており、現像器14Yの現像によって消費される。感光体11Yは、イエローのトナー像の形成を受けてこのトナー像を保持する。感光体11Yの表面に形成されたトナー像は、一次転写器15Yによって中間転写ベルト30に転写される。転写後、感光体11Yに残留したトナーは、感光体クリーナ16Yによって回収・除去される。
中間転写ベルト30は、支持ロール31〜34によって矢印b方向に巡回移動されており、イエロー以外の色に対応する画像形成部10M,10C,10Kは、画像形成部10Yと同様にしてそれぞれの色に対応するトナー像を形成し、中間転写ベルト30に、画像形成部10Yで転写されたトナー像に重ねて、それぞれの色のトナー像を転写していく。中間転写ベルト30には、このようにして画像信号に応じたトナー像が形成され、トナー像を保持して移動する。ここで、画像信号に応じたトナー像が本発明にいう画像信号トナー像の一例に相当する。
一方、用紙収容器40内の用紙は、ピックアップロール81によって取り出され、捌きロール82、搬送ロール83、およびレジストレーションロール84によって用紙搬送経路rを第2転写器50に向かう矢印c方向に搬送される。第2転写器50は、中間転写ベルト30と用紙との間に転写用のバイアス電位を与えることによって、中間転写ベルト30のトナー像を用紙に転写する。第2転写器50によって、トナー像は、最終的に用紙に転写される。用紙はさらに定着器60に搬送され、用紙上に転写されたトナー像が定着される。このようにして、用紙上に画像が形成される。第2転写器50による転写後、中間転写ベルト30に残留したトナーは、ベルトクリーナ70によって回収・除去される。
画像形成部10Y,10M,10C,10Kでは、用紙への転写を目的としないトナー像も形成される。このようなトナー像には、トナー濃度の調整にあたって目標濃度と比較するためのパッチ像と、現像器14Y,14M,14C,14K内のトナーを強制的に消費させるためのトナーバンド像とがある。パッチ像とトナーバンド像とは、画像形成部10Y,10M,10C,10Kの帯電器12Y,12M,12C,12Kと現像器14Y,14M,14C,14K、そして露光器20によって形成され、中間転写ベルト30に転写されるが、第2転写器50で用紙に転写されることなくベルトクリーナ70によって回収・除去される。第2転写器50は、パッチ像およびトナーバンド像が転写位置を通過する時に、転写用のバイアス電位とは電界が逆極性となる逆バイアス電位をかけるか、または、転写ロールを中間転写ベルト30から離すことによって、転写ロールがトナーで汚れないようにする。つまり、パッチ像とトナーバンド像とは、第2転写器50での転写領域通過後にベルトクリーナ70に回収される。ここで、トナーバンド像が、本発明にいうトナーバンドの一例に相当する。トナーバンド像を形成することによって、現像器14内のトナーが強制的に消費される。トナーバンド像のより詳細な説明は後に行い、先に、パッチ像を用いたトナー濃度の制御について説明する。
[濃度制御]
画像形成部10Y,10M,10C,10Kのそれぞれで形成されるトナー像のトナー濃度は、感光体11Y,11M,11C,11Kに付与される現像電位差Vdeveによって制御している。
図3は、感光体表面の電位分布を示すグラフである。
濃度調整は各感光体11Y,11M,11C,11Kごと独立に実行されるが、電位の原理や調整方法は各色で共通なので、代表としてイエローの画像形成部10Yについて説明する。
図3のグラフは、感光体11Yの表面が、帯電器12Yによって帯電された後、その一部が露光器20からの光の照射を受けた状態における電位分布を表わす。グラフの縦軸は電位であり、グラフの下向きは電位0Vに近づく向きで、上向きは電位の絶対値が大きくなる向きである。例えば、本実施形態の画像形成装置1は、帯電器12Yが感光体11Yを負に帯電するタイプであり、上向きが負の電位の、絶対値が大きくなる向きであるが、仮に逆極性に帯電するタイプの場合には、上向きが正の電位が大きくなる向きであるとすれば同様に説明される。
図3に示すように、感光体11Yの表面は、まず、帯電器12Yによって帯電電位VHに一様に帯電される。その後、露光器20によって露光光が照射された露光部分は、電位の絶対値が露光電位VLに低下する。トナーを含んだ現像剤を供給する現像器14Yの現像ロール141には、帯電電位VHと同極性であって、帯電電位VHと露光電位VLの中間の電位、より詳細には、帯電電位VHにより近い現像バイアスVbが印加される。この結果、トナーは、感光体11Y表面のうち、帯電電位VHの部分を避けて露光電位VLの部分に付着する。つまり、露光器20によって露光光が照射された露光部分にトナーが付着する。
ここで、露光電位VLと現像バイアスVbとの電位差を現像電位差Vdeveと称する。トナー濃度は、現像器14Yによって形成されるトナー像のトナー付着部分におけるトナーの濃さであり、露光部分に付着するトナーの単位面積あたりの量である。現像コントラスト電位差Vdeveは、感光体11Yの表面へのトナーの飛翔力を定めており、トナー濃度は、現像電位差Vdeveの大きさに対応する。そこで、本実施形態の画像形成装置1では、露光器20によって照射される光の露光量を制御することによって、露光電位VLを変動させて現像電位差Vdeveを制御し、形成されるトナー像のトナー濃度を制御している。露光量は光の強さと露光時間の積であるが、本実施形態では、露光光による走査速度が固定されており、露光量は、制御部1Aの制御に基づき露光器20に供給される電圧に応じた光の強さによって制御される。
図4は、露光量と現像電位差の関係を示すグラフである。
図4に示すように、露光量(ここでは、光の強さ)が大きいほど、現像電位差Vdeveが大きい。
露光器20の光がより強くなり、露光電位VL(の絶対値)が低下することによって、現像電位差Vdeveが大きくなり、トナー像のトナー濃度が濃くなる。これとは逆に、露光器20の光がより弱くなり、露光電位VL(の絶対値)が上昇することによって、現像電位差Vdeveが小さくなり、トナー像のトナー濃度が薄くなる。
図3および図4には、画像形成装置1における現像電位差Vdeveの設定し得る範囲の上限および下限である上限電位差VdeveHおよび下限電位差VdeveLが示されている。上限電位差VdeveHおよび下限電位差VdeveLは、露光器20の能力や、感光体11Yおよび現像器14Yの仕様や装置の状態に応じて定められている。より詳細には、上限電位差VdeveHは、磁性キャリア飛びによるいわゆる白抜けの画像欠陥が生じない限度に定められており、一方、下限電位差VdeveLは、細線が適正な濃度で形成される限度に定められている。制御部1Aは、形成されるトナー像のトナー濃度が目標濃度となるように、現像電位差Vdeveを上限電位差VdeveHと下限電位差VdeveLとの間で制御する。
用紙に形成される画像の濃度は、部材の磨耗度や、温度および湿度、そして、現像器14内のトナーの状態の影響を受けて変動し、また、機差もある。そこで、本実施形態の画像形成装置1では、予め定めた枚数の用紙に画像形成を行う毎に調整のためのセットアップ処理を実行るすことで、用紙に形成されるトナー像のトナー濃度を調整する。トナー像のトナー濃度の調整は、テストのためのパッチ像を形成して中間転写ベルト30上に転写し、中間転写ベルト30上に転写されたパッチ像の濃度の、目標濃度とのずれを修正することによって行う。
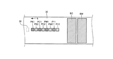
図5は、中間転写ベルトの一部を示す図である。
本実施形態の画像形成装置1では、例えば100枚といった予め定めた枚数の用紙に画像形成を行う毎にセットアップ処理を実行し、パッチ像を形成する。図5には、中間転写ベルト30上に、K色の画像形成部10Kによって形成されたK色のパッチ像PK1,PK2、C色の画像形成部10Cによって形成されたC色のパッチ像PC1,PC2、M色の画像形成部10Mによって形成されたM色のパッチ像PM1,PM2、および、Y色の画像形成部10Yによって形成されたK色のパッチ像PY1,PY2が示されている。また、図5には、中間転写ベルト30上に形成されたトナーバンド像BC,BMも示されている。トナーバンド像BC,BMについては後に説明する。
パッチ像PK1,PK2〜PM1,PM2は、中間転写ベルト30上に互いに重ならないように形成されており、予め定められたパターン濃度(網点密度)で形成されている。図には、YMCKの各色ごとに、相対的に濃いパターン濃度のパッチ像PY1,PM1,PC1,PK1と相対的に薄いパターン濃度のパッチ像PY2,PM2,PC2,PK2が形成された例が示されている。これらのパッチ像PK1,PK2〜PM1,PM2は、中間転写ベルト30の移動方向bと交わる幅方向で、濃度センサ36に合わせた位置に形成されている。したがって、パッチ像PK1,PK2〜PM1,PM2は、中間転写ベルト30の方向bへの移動に伴って濃度センサ36上を通過し、それぞれの濃度が濃度センサ36によって順次検出される。濃度センサ36による検出結果を表わす信号は制御部1Aに送信される。制御部1Aは、各色ごとに、濃度センサ36による検出結果と目標濃度との比較を行い、検出された濃度と目標濃度とのずれを修正するように現像電位差Vdeveを調整する。例えば、制御部1Aは、画像形成部10Yによって形成された2つのパッチ像PY1,PY2のうちパッチ像PY1について検出された濃度が、期待される目標濃度よりも薄い場合には、ずれを修正するように現像電位差Vdeveを増大する。より詳細には、制御部1Aは、露光器20への供給電圧を増加することによって、露光器20の感光体11Yに対する露光光の強度を強め、露光電位VLの絶対値を低下させることによって、現像電位差Vdeveを増大する。
セットアップ処理で形成されるパッチ像PK1,PK2〜PM1,PM2は、すでに説明したようにベルトクリーナ70に回収され用紙には転写されないが、これらのパッチ像PK1,PK2〜PM1,PM2を用いて現像電位差Vdeveが制御されることにより、通常のプリント動作で用紙上に転写されるトナー像のトナー濃度が目標濃度となるように調整される。
ここで、現像電位差Vdeveを制御した結果、現像電位差Vdeveが上限電位差VdeveHまたは下限電位差VdeveLに達する場合がある。
図6は、各色の画像形成部に対する現像電位差の制御を示すグラフである。
グラフの横軸は、画像形成を行った用紙の枚数(PV)であり、予め定めた用紙枚数ごとのタイミングPV1,PV2,PV3においてセットアップ処理が実行される。縦軸は現像電位差Vdeveであり、各色の画像形成部10Y,10M,10C,10Kについて4つの現像電位差Vdeveが示されている。タイミングPV1,PV2,PV3で実行されるセットアップ処理では、パッチ像の濃度検知に基づいて現像電位差Vdeveが調整されるが、例えば、M色の現像電位差Vdeveは、タイミングPV3のセットアップ処理で上限電位差VdeveHに達し、現像電位差Vdeveによるこれ以上の調整が困難となっている。このような状況は、例えば、平均画像密度の小さい画像(つまり白い部分が多い画像)の形成が長く連続して実行された場合に、トナーが現像器14(ここでは14M)で消費されず、現像器14内で長期間に亘って攪拌されながら循環することによって生じやすい。この場合には、現像器14内に留まったトナーが長期間の攪拌によってより強く帯電し、磁性キャリアと強く静電結合するため、現像時にトナーが磁性キャリアから離れて感光体11の表面に付着することが妨げられる。また、長期間に亘って攪拌されることで、トナー粒子の表面の削れも生じる。これらをまとめて、トナーの劣化と称する。なお、平均画像密度の小さい画像の形成が長く連続して実行されると、トナーが必ず劣化するものではない。しかし、トナーの劣化が進むと、現像電位差Vdeveの制御だけでは、トナー濃度を目標の濃度にすることができない。例えば、現像電位差Vdeveを上限電位差VdeveHまで増加しても、トナー濃度が目標の濃度に達しない場合がある。本実施形態では、現像電位差Vdeveが上限電位差VdeveHに達して、これ以上の制御ができない値となった場合、制御部1Aが、対応する画像形成部10Y,10M,10C,10Kに、画像信号に応じたトナー像およびパッチ像とは別のトナーバンドを形成させる。
また、図6のグラフにおいて、C色の現像電位差Vdeveは、タイミングPV2およびタイミングPV3のセットアップ処理で、上述したのとは逆に下限電位差VdeveLに達している。このような状況は、例えば、現像器14C内のトナーが通常に想定される状態よりも高温または高湿の状態となり、現像時にトナーが感光体11Yの表面に過度に付着しやすくなることによって起きる。本実施形態では、現像電位差Vdeveが下限電位差VdeveLに達して、制御可能な範囲を外れた場合も、制御部1Aが、対応する画像形成部10Y,10M,10C,10Kにトナーバンドを形成させる。図6中の矢印はトナーバンドが形成されるタイミングを示している。
[トナーバンド]
図5に示す中間転写ベルト30には、図6に示すタイミングPV3のセットアップ処理で、画像形成部10M,10Cのそれぞれによって形成されたトナーバンド像BM,BCが示されている。トナーバンド像BM,BCは、移動方向bに移動する中間転写ベルト30上に、パッチ像PK1,PK2〜PM1,PM2に続いて形成される。トナーバンド像BM,BCは、移動方向bに交わる幅方向略全幅に亘って延びた長方形であり、図6に示す例では、移動方向bにおける長さLが100mmである。まトナーバンド像BM,BCは、パターン濃度(網点密度)が70%である。トナーバンド像BM,BCは、第2転写器50では用紙に転写されず、ベルトクリーナ70によって回収される。トナーバンド像BMが形成されることによって、B色の現像器14Bでは、劣化したトナーが消費され、この消費を補うように新たなトナーが供給されるので、現像電位差Vdeveの制御によって目標のトナー濃度となるような制御が再び可能となる。また、M色の現像器14Mでも、例えば高湿となったトナーが消費されるので、現像電位差Vdeveの制御によって目標のトナー濃度となるような制御が再び可能となる。なお、タイミングPV3のセットアップ処理では、Y色およびK色の現像電位差Vdeveについては、制御可能な範囲、すなわち下限電位差VdeveLよりも大きく上限電位差VdeveHよりも小さい範囲にあるので、Y色およびK色のトナーバンド像BY,BKは、長さLが0mm、すなわち形成されていない。
[動作]
図7は、画像形成装置における画像形成の処理を説明するフローチャートである。
画像形成装置1における処理は、メモリ102(図1参照)に記憶されたプログラムを実行する制御部1Aによって制御されている。図7および後に説明する図8はこのプログラムを表わしている。図7に示す処理は、外部から画像データを伴った画像形成のジョブを受信するたびに実行される。
画像データを受信すると、画像形成装置1では、まず、通常画像形成処理が実行される(ステップS10)。画像形成処理では、制御部1Aが、画像形成部10Y,10M,10C,10Kの感光体、帯電器、現像器、および一次転写器や、露光器20、中間転写ベルト30、第2転写器50、定着器60、および用紙搬送部80を制御して、画像データに応じた画像を用紙に形成する。
次に、制御部1Aが、パターン作成実施タイミングか否か、すなわち、セットアップ処理を行うか否かを判定する(ステップS12)。具体的には、制御部1Aは、通常画像形成処理で画像を形成した用紙の枚数を計数しておき、計数結果が予め定めた枚数、例えば100枚になった場合には(ステップS12でYes)、セットアップ処理(ステップS13〜S15)を実行する。セットアップ処理(ステップS13〜S15)は、YMCK各色について独立に実行される。
セットアップ処理では、まず、パッチ像作成および検出処理が実行される(ステップS13)。制御部1Aは、画像形成部10Y,10M,10C,10Kのそれぞれを制御し、中間転写ベルト30上に図5に示すパッチ像PK1,PK2〜PY1,PY2を形成させる。そして、制御部1Aは、パッチ像PK1,PK2〜PY1,PY2の通過タイミングに合わせて、濃度センサ36による検出信号を読み出す。
次に、制御部1Aは、パターン長さ算出処理を実行する(ステップS14)。パターン長さ算出処理で、制御部1Aは、パッチ像作成および検出処理(ステップS13)で検出したパッチ像PK1,PK2〜PY1,PY2の濃度を期待される目標濃度と比較し、現像電位差Vdeveを調整するとともに、現像電位差Vdeveの値に応じてトナーバンド像の長さLを算出する。次に、制御部1Aは、算出したトナーバンド像の長さLに応じたトナーバンド像のパターンを、パターン作成処理(ステップS15)で作成させる。この処理によって、例えば、図5に示すようなトナーバンド像が形成される。なお、パターン長さ算出処理(ステップS14)で、長さLが0mmと算出された色についてはトナーバンドは実質的には形成されない。
最後に、受信したジョブについての画像形成が全て終了したか否かを確認し、終了していない場合には(ステップS16でNo)上記ステップS10からの処理を繰返し、終了した場合には(ステップS16でYes)、全ての処理を終了する。
図8は、図7に示すパターン長さ算出処理の詳細を示すフローチャートである。なお、図7に示すパターン長さ算出処理は、ステップS14ですでに説明したように、各色ごとに独立して実行される。
まず、制御部1Aは、前回のセットアップ処理以降に形成した全ての画像の平均画像密度D%を算出する(ステップS140)。これは、ベルトクリーナ70の捲れを防止する、捲れ防止用トナーバンドの作成を判定する際(ステップS144)に用いる。
次に、制御部1Aは、現像電位差Vdeveの算出および設定の処理を実行する(ステップS141)。この処理で、制御部1Aは、画像形成部10Y,10M,10C,10Kによって形成されたパッチ像PK1,PK2〜PM1,PM2について、濃度センサ36によって検出された濃度と、目標濃度とを比較し、ずれを修正する現像電位差Vdeveを算出する。なお、実際の算出方法は、濃度のずれと現像電位差Vdeveとの対応付けが予め記録されたテーブルの読出しによるものや、経験値を近似するための式の算出によるものが採用可能である。また、制御部1Aは、算出された値を新たな現像電位差Vdeveとして設定する。本実施形態では、現像電位差Vdeveの下限電位差VdeveLおよび上限電位差VdeveHを含んだ範囲、すなわち下限電位差VdeveL以上で上限電位差VdeveH以下の範囲を、現像電位差Vdeveによるトナー像のトナー濃度が制御可能な範囲としている。したがって、算出された新たな現像電位差Vdeveが上限電位差VdeveHより大きい場合は、VdeveHに制限され、下限電位差VdeveLより小さい場合は、VdeveLに制限される。上記ステップS141の処理では、現像電位差Vdeveの調整によって、トナー像のトナー濃度を目標濃度となるように調整する。
そして、本実施形態では、現像電位差Vdeveが下限電位差VdeveLまたは上限電位差VdeveHとなって、制御可能な範囲を外れた場合には、作成されるトナーバンド像の大きさを大きくする。より詳細には、現像電位差Vdeveが制御可能な範囲にある場合には、トナーバンド像の長さは0mmつまりトナーバンド像は作成しないか、または長さ10mmの捲れ防止用のトナーバンドを作成し、現像電位差Vdeveが制御可能な範囲を外れた場合には、トナーバンド像の長さは100mmに拡大する。ここで、トナーバンド像の長さLは、中間転写ベルト30が移動する方向の長さ、つまり、感光体11がトナー像を保持して移動する方向の長さである。以降に、より具体的に説明する。
制御部1Aは、算出した現像電位差Vdeveが上限電位差VdeveHと等しいか否かを判定する(ステップS142)。算出した現像電位差Vdeveが上限電位差VdeveHと等しく現像電位差Vdeveによる制御が定められた範囲を外れた場合には(ステップS142でYes)、トナーバンド像の長さLは100mmとする(ステップS145)。また、この場合、トナーバンド像用のトナー補給を行わせる(ステップS146)。これによって、トナーバンド像が形成され、現像器内のトナーが消費されたころに(ステップS15)、消費された分に相当する新たなトナーが補充されることとなる。
上記S142の処理で現像電位差Vdeveが上限電位差VdeveHと等しくないと判定した場合(ステップS142でNo)、制御部1Aは、算出した現像電位差Vdeveが下限電位差VdeveLと等しいか否かを判定する(ステップS143)。算出した現像電位差Vdeveが下限電位差VdeveLと等しく現像電位差Vdeveによる制御が限界に至った場合には(ステップS143でYes)、トナーバンド像の長さLは100mmとする(ステップS147)。なお、現像電位差Vdeveが下限の場合は、トナー像のトナー濃度が濃すぎる状態なので、上記ステップS146とは異なり、トナー補給は実行されない。
算出した現像電位差Vdeveが下限電位差VdeveLと等しくないと判定した場合(ステップS143でNo)、制御部1Aは、上記ステップS140で算出した画像の平均画像密度D%が3%未満であるか否かを判定する(ステップS144)。平均画像密度D%が3%以上の場合には(ステップS144でNo)、トナーバンド像の長さLは0mmとするが(ステップS148)。平均画像密度D%が3%未満の場合には(ステップS144でYes)、前回のセットアップ処理以降、トナーがほとんど消費されていないことを意味する。感光体クリーナ16Y,16M,16C,16Kおよびベルトクリーナ70は、感光体11Yや中間転写ベルト30の表面にブレードを接触させて不要なトナーを掻き取っているが、トナーが消費されていない状況では、接触部分で潤滑材の役割を果たすトナーが極度に不足して摩擦力が大きくなり、感光体11Yや中間転写ベルト30の動きによってブレードが捲れてしまうおそれがある。本実施形態の制御部1Aは、平均画像密度D%が3%未満の場合には(ステップS144でYes)、捲れ防止用トナーバンドを作成させる。捲れ防止用トナーバンドはトナーの消費が目的ではなく、潤滑が目的であるので、トナーバンド像の長さLは10mmとする(ステップS149)。
図9は、捲れ防止用トナーバンドが形成された中間転写ベルトの一部を示す図である。
図9に示す中間転写ベルト30には、図5に示したパッチ像PK1,PK2〜PM1,PM2および、C色およびM色のトナーバンド像BC,BMに加え、K色およびY色の画像形成部10Y,10Kによって捲れ防止用トナーバンド像BK,BYも形成されている。
捲れ防止用トナーバンド像の長さが設定されることによって、現像電位差Vdeveが制御の範囲を超えない場合でも、平均画像密度が低い場合には捲れ防止用トナーバンドが形成されて、感光体11Y,11M,11C,11Kと感光体クリーナ16Y,16M,16C,16Kとの表面、および、中間転写ベルト30とベルトクリーナ70との潤滑が維持される。
再び、図8に戻って説明を続けると、上記ステップS144で平均画像密度D%が3未満でないと判定された場合(ステップS144でNo)、制御部1Aは、トナーバンド像の長さLを0mmとする。この場合、当該色のトナーバンド像は作成されず、トナーは消費されない。
図8のステップS142〜S146の処理および図7のS15の処理によって、現像電位差Vdeveが制御可能な範囲を外れた場合には、形成されるトナーバンド像の長さが100mmに拡大する。トナーバンド像が形成されることで、現像器内の劣化トナーまたは吸湿トナーが強制的に消費され、現像電位差Vdeveによるトナー濃度の制御が可能となる。この一方で、現像電位差Vdeveが制御可能な範囲にある場合には、トナーバンド像は作成されないか、作成しても長さ10mmの捲れ防止用トナーバンドが作成されるのみである。トナーバンド像によるトナーの消費量はトナーバンド像の長さに比例するので、トナーの消費量は、トナーバンド像の長さとして正確に制御される。本実施形態では、例えば、濃度が閾値を超えると直ちにトナーバンドを形成する構成に比べ、無駄なトナーの消費が抑えられている。
ここで、上記ステップS10の通常画像形成処理を実行する制御部1Aが、本発明にいう信号画像形成制御部の一例に相当し、上記ステップS141の現像電位差の算出および設定の処理を実行する制御部1Aが本発明にいう電位差制御部の一例に相当する。また上記ステップS142からS149までの処理およびステップS15のパターン作成処理を実行する制御部1Aが本発明にいうバンド成制御部の一例に相当する。
[第2実施形態]
次に、本発明の第2実施形態について説明する。以下の第2実施形態の説明にあたっては、第1実施形態の構成を示す図をそのまま流用して説明するとともに、第1実施形態における各要素と同一の要素には同一の符号を付けて説明し、前述の実施形態との相違点について説明する。
図10は、第2実施形態の画像形成装置の各色の画像形成部に対する現像電位差の推移を示すグラフである。
第2実施形態の画像形成装置では、上限電位差VdeveHから、例えば数%といった予め定めた電位差αだけ低い電位差までの範囲、すなわちVdeveH−α以上、VdeveH以下の範囲か、または、下限電位差VdeveLから、例えば数%といった予め定めた電位差βだけ高い電位差までの範囲、すなわちVdeveL以上、VdeveL+β以下の範囲のいずれかに、現像電位差Vdeveが設定された場合にトナーバンド像を形成する。
第2実施形態における、上限電位差VdeveHからVdeveH−αまでの電位差αの範囲が本発明にいう第1の範囲の一例に相当し、下限電位差VdeveL以上VdeveL+βまでの電位差βの範囲が本発明にいう第2の範囲の一例に相当する。
図11は、第2実施形態におけるパターン長さ算出処理の詳細を示すフローチャートである。
上述した第1実施形態では、算出した現像電位差Vdeveが上限電位差VdeveHと等しいか否かを判定するのに対し(図8のステップS142)、第2実施形態のパターン長さ算出処理では、算出した現像電位差Vdeveが、VdeveH−α以上か否かを判定する(ステップS242)。また、第1実施形態では算出した現像電位差Vdeveが下限電位差VdeveLと等しいか否かを判定するのに対し(図8のステップS143)、第2実施形態のパターン長さ算出処理では、算出した現像電位差Vdeveが、VdeveL+β以下か否かを判定する(ステップS243)。
第2実施形態では、第1実施形態と同様に無駄なトナーの消費が抑えられることに加え、現像電位差Vdeveがトナー像のトナー濃度を制御できない値に至る前に、トナーバンド像が形成されることとなり、濃度の修正がより早く余裕を持って実行されている。
[第3実施形態]
次に、本発明の第3実施形態について説明する。以下の第3実施形態の説明にあたっては、第1実施形態との相違点について説明する。
図12は、第3実施形態における各色の画像形成部に対する現像電位差の制御を示すグラフである。
第3実施形態の画像形成装置では、下限電位差VdeveLから上限電位差VdeveHまでの間で、下限電位差VdeveLおよび上限電位差VdeveHから離れた、余裕を持ってトナー濃度の制御を実行可能な現像電位差Vdeveの範囲が定常制御範囲と予め定められている。第3実施形態では、現像電位差Vdeveが定常制御範囲を外れた値である場合にトナーバンド像を形成する。第3実施形態における定常制御範囲が、本発明にいう予め定められた範囲の一例に相当する。
図13は、第3実施形態におけるパターン長さ算出処理の詳細を示すフローチャートである。
上述した第1実施形態では、算出した現像電位差Vdeveが上限電位差VdeveHと等しいか否かを判定するのに対し(図8のステップS142)、第3実施形態のパターン長さ算出処理では、算出した現像電位差Vdeveが、定常制御範囲の上限より大きいか否かを判定する(ステップS342)。また、第1実施形態では、算出した現像電位差Vdeveが下限電位差VdeveLと等しいか否かを判定するのに対し(図8のステップS143)、第2実施形態のパターン長さ算出処理では、算出した現像電位差Vdeveが、定常制御範囲の下限より小さいか否かを判定する(ステップS343)。
第3実施形態でも、第2実施形態と同様、トナーバンドを用いたトナー濃度の修正がより早く実行されている。
[第4実施形態]
次に、本発明の第4実施形態について説明する。以下の第4実施形態の説明にあたっては、第1実施形態との相違点について説明する。
図14は、第4実施形態の画像形成装置における画像形成の処理を説明するフローチャートである。上述した第1実施形態の画像形成装置が、形成されるトナーバンド像の大きさを制御するものであったが、第4実施形態の画像形成装置は、トナーバンドのパターン濃度を制御する。
図14に示す処理では、制御部1A(図1参照)が、パッチ像作成および検出処理(ステップS13)の後、パターン濃度Cinの算出処理を行い(ステップS43)、算出されたパターン濃度(網点密度)でトナーバンド像を形成する(ステップS45)。
図15は、第4実施形態におけるパターン濃度の算出処理の詳細を示すフローチャートである。
図15に示す処理では、算出した現像電位差Vdeveが上限電位差VdeveHと等しく現像電位差Vdeveによる制御が定められた範囲を外れた場合には(ステップS142でYes)、トナーバンド像のパターン濃度Cinは100%とする(ステップS445)。また、算出した現像電位差Vdeveが下限電位差VdeveLと等しく現像電位差Vdeveによる制御が定められた範囲を外れた場合には(ステップS143でYes)、トナーバンド像のパターン濃度Cinは100%とする(ステップS447)。また、ステップS140で算出した画像の平均画像密度D%が3%以上の場合には(ステップS144でNo)、トナーバンド像のパターン濃度Cinは0%とするが(ステップS448)、平均画像密度D%が3%未満の場合には(ステップS144でYes)、トナーバンド像のパターン濃度Cinは10%とする(ステップS449)。
図14および図15に示す処理によって、現像電位差Vdeveが上限電位差VdeveHまたは下限電位差VdeveLとなった場合には、形成されるトナーバンド像のパターン濃度が0%(または10%)から100%に高まり、トナーの消費量、つまりベルトクリーナ70によるトナーの回収量が増加する。パターン濃度が10%から100%に増加しトナーの消費量が増加する場合でも、トナーバンド像の大きさは固定され、中間転写ベルト30上に占めるトナーバンド像の領域の拡大が抑えられている。
[第5実施形態]
次に、本発明の第5実施形態について説明する。以下の第5実施形態の説明にあたっては、第1実施形態との相違点について説明する。
図16は、第5実施形態の画像形成装置における画像形成の処理を説明するフローチャートである。上述した第1実施形態の画像形成装置は、形成されるトナーバンド像の状態を制御するのに対し、第5実施形態の画像形成装置は、トナーバンド像を形成する頻度を制御する。
図16に示す処理では、制御部1A(図1参照)が、通常画像形成処理が実行した後(ステップS10)、前回のセットアップ処理以降に画像形成した用紙の枚数を表わす用紙枚数SetupPVに1加算し(ステップS51)。さらに、制御部1Aは、用紙枚数SetupPVが、セットアップ処理を行う間隔を表わすパターン作成間隔(ステップSetup間隔)以上であるか否か判定する(ステップS52)。なお、パターン作成間隔は、後述するステップS54のパターン作成間隔算出処理によって設定される。用紙枚数SetupPVが、パターン作成間隔以上である場合には(ステップS52でYes)トナーバンド像作成タイミングであるとして、制御部1Aは、以下のセットアップ処理を実行する。
セットアップ処理で、制御部1Aは、パッチ像作成および検出処理を実行し(ステップS13)、パターン作成間隔算出処理を実行する(ステップS54)。この後、制御部1Aは、トナーバンド像のパターンを作成させる(ステップS55)。ここでは、CMYKそれぞれについて、長さが100mm、パターン濃度が70%で固定のトナーバンド像が形成される。この後、用紙枚数SetupPVが0に初期化される(ステップS56)。
図17は、第5実施形態におけるパターン作成間隔算出処理の詳細を示すフローチャートである。
図17に示す処理では、算出した現像電位差Vdeveが上限電位差VdeveHと等しく現像電位差Vdeveによる制御が定められた範囲を外れた場合には(ステップS142でYes)、パターン作成間隔(ステップSetup間隔)は40枚とする(ステップS545)。また、算出した現像電位差Vdeveが下限電位差VdeveLと等しく現像電位差Vdeveによる制御が定められた範囲を外れた場合には(ステップS143でYes)、パターン作成間隔(ステップSetup間隔)は40枚とする(ステップS547)。また、現像電位差Vdeveが下限電位差VdeveLより大きく上限電位差VdeveHより小さい場合には(ステップS143でNo)、パターン作成間隔(ステップSetup間隔)は200枚とする(ステップS548)。
図14および図15の処理によって、現像電位差Vdeveが、上限電位差VdeveHまたは下限電位差VdeveLとなった場合には、トナーバンド像が形成される頻度が、通常の画像形成200枚に1回から、40枚に1回に増加する。したがって、トナーの消費量が増加する。
[第6実施形態]
これまで説明した実施形態では、濃度センサ36によってパッチ像の濃度を検出していたが、次に濃度センサを用いない第6実施形態について説明する。第6実施形態は、図1に示す画像形成装置に対し、濃度センサを備えない点、および制御部の処理の点が異なるので、第1実施形態の構成を示す図をそのまま流用して説明し、第1実施形態における各要素と同一の要素には同一の符号を付けて説明し、第1実施形態との相違点について説明する。
図18は、第6実施形態の画像形成装置における画像形成の処理を説明するフローチャートである。
図18に示す処理では、制御部1A(図1参照)が、通常画像形成処理が実行した後(ステップS10)、前回のセットアップ処理以降に画像形成した用紙の枚数を表わす用紙枚数SetupPVに1加算し(ステップS61)、さらに用紙枚数SetupPVが、セットアップ処理を行う間隔を表わすパターン作成間隔(ステップSetup間隔)以上であるか否か判定する(ステップS62)。なお、本実施形態におけるパターン作成間隔は、例えば100枚といった固定値である。用紙枚数SetupPVが、パターン作成間隔以上である場合には(ステップS62でYes)トナーバンド像作成タイミングであるとして、制御部1Aは、以下のセットアップ処理を実行する。
セットアップ処理(ステップS63)では、制御部1Aが、環境温湿度、感光体11Y,11M,11C,11Kの回転数積算値、現像ロール141の回転数積算値、および、例えば前回のセットアップ処理以降といった所定期間に形成された画像のドット数(ICDC)を検出する。そして、制御部1Aが、ステップS63の処理で検出された結果に応じた適正濃度のトナー像を形成するための現像電位差Vdeveを算出し(ステップS641)、算出した現像電位差Vdeveが上限電位差VdeveHと等しいか否かを判定する(ステップS642)。制御部1Aは、現像電位差Vdeveが上限電位差VdeveHと等しい場合には(ステップS642でYes)、トナーバンド像形成(ステップS65)、およびトナー補給(ステップS646)を行い、用紙枚数SetupPVを初期化する(ステップS66)。
上記ステップS63およびステップS641の処理を実行する制御部1Aが、本発明にいう濃度制御部の一例に相当する。
[第7実施形態]
これまで説明した実施形態では、トナー像のトナー濃度を目標濃度とするための調整要因として、露光器20による光の強さの制御による現像電位差Vdeveが制御されていたが、次に調整要因を現像バイアスVbとした第7実施形態について説明する。以下の第7実施形態の説明にあたっては、第1実施形態との相違点について説明する。
現像バイアスVbは、図3のグラフを参照して説明したように、現像器14Yの現像ロール141に印加される電圧である。感光体への露光による露光電位VLの代わりに現像バイアスVbを制御することによっても、現像電位差Vdeveが変化し、トナー像の濃度を調整することができる。
図19は、第7実施形態におけるパターン長さ算出処理の詳細を示すフローチャートである。
制御部1Aは、平均画像密度D%を算出した後(ステップS140)、現像バイアスVbの算出および設定の処理を実行する(ステップS741)。この後、制御部1Aは、算出した現像バイアスVbが、現像バイアスVbとして設定し得る範囲の上限となっているか否かを判定する(ステップS742)。現像バイアスVbが上限と等しい場合には(ステップS742でYes)、トナーバンド像の長さLは100mmとし(ステップS145)、トナー補給を行う(ステップS146)。また、現像バイアスVbが設定し得る範囲の下限と等しい場合にも(ステップS743でYes)、トナーバンド像の長さLは100mmとする(ステップS147)。
第7実施形態における現像バイアスVbが、本発明にいう調整要因の一例に相当する。
[第8実施形態]
上述した第1実施形態では、現像電位差Vdeveの上限電位差VdeveHが、固定値であるとして説明したが、次に、上限電位差が変動する第8実施形態について説明する。以下の第8実施形態の説明にあたっても、第1実施形態との相違点について説明する。
図20は、第8実施形態における上限電位差補正処理を説明するフローチャートである。
第8実施形態は、図8に示す第1実施形態のパターン長さ算出処理の中の、現像電位差Vdeveの算出および設定の処理(ステップS141)の直後に、図20に示す上限電位差補正処理が実行される点が第1実施形態と異なる。その他の点については第1実施形態と同じであるので、図20の上限電位差補正処理のみを説明する。
図20に示す上限電位差補正処理において、制御部1Aは、画像形成装置の環境の温湿度を図示しない温度センサや湿度センサを用いて検出し(ステップS1411)、この検出結果に基づいてVdeve上限環境補正量を算出する(ステップS1412)。次に、制御部1Aは、これまでの画像形成された用紙の枚数および平均画像密度から現像剤の劣化の程度を検出し(ステップS1413)、この検出結果に基づいてVdeve上限現像劣化補正量を算出する(ステップS1412)。次に、制御部1Aは、感光体の累積回転数から、感光体の劣化を検出し(ステップS1415)、この検出結果に基づいてVdeve上限感光体劣化補正量を算出する(ステップS1416)。次に、制御部1Aは、算出の基準となる基準Vdeve上限値に、上記の処理で算出されたVdeve上限環境補正量、Vdeve上限現像劣化補正量、およびVdeve上限感光体劣化補正量を加算することによって、上限電位差VdeveHを得る。得られた上限電位差VdeveHを図8に示す判定の処理(ステップS142)で用いることにより、刻々と変化する環境条件や感光体の劣化程度に応じた適切な判定が行われる。
[変形例]
上述した第1実施形態から第5実施形態では、1回のセットアップ処理で、パッチ像の形成および濃度測定を行い、濃度測定の結果に応じて制御した現像電位差Vdeveの値の判定結果を反映してトナーバンド像を形成したが、現像電位差Vdeveの制御には、前回のセットアップ処理で測定したパッチ像の濃度測定の結果を用いるものであってもよい。この場合には、パッチ像の形成からトナーバンド像形成までの時間のずれ(タイムラグ)が短縮される。
図21は、現像電位差の制御に前回セットアップ処理で測定した濃度測定の結果を用いる変形例における中間転写ベルトの一部を示す図である。
図21に示すように、パッチ像の形成からトナーバンド像形成までの時間のずれ(タイムラグ)が短縮されることにより、中間転写ベルト30上に形成されるパッチ像PY2と、トナーバンド像BKとの間隔が、図9に示す配置に比べ狭まっている。この結果、中間転写ベルト上でセットアップ処理に利用される範囲が縮小され、通常の画像形成がより早く開始される。
図22は、図21とは別の配置がなされた中間転写ベルトの一部を示す図である。
現像電位差Vdeveの制御に、前回のセットアップ処理で測定したパッチ像の濃度測定の結果を用いる場合には、図22に示すように、パッチ像PK1,PK2〜PM1,PM2の位置と、トナーバンド像BKとの位置関係を逆にすることも可能である。
[第9実施形態]
これまで説明した画像形成装置1は、内部に組み込まれた制御部によって各制御処理を実行するものであったが、続いて、少なくとも処理の一部を、画像形成装置に接続された外部のコンピュータによって制御する第9実施形態について説明する。
図23は、本発明の第9実施形態を説明するシステムのブロック図である。
図23に示す画像形成装置1’には、制御コンピュータ90が例えばコンピュータネットワークを介して通信可能に接続されている。制御コンピュータ90は、画像形成装置1’を遠隔操作するための装置であり、画像形成装置1’から、内部状態を表わす各種データを受信し、受信したデータに基づいて、画像形成装置1’の動作を制御するための制御データを画像形成装置1’送信する。画像形成装置1’は、図1および図2に示す第1実施形態の画像形成装置1とは制御部の処理が異なり、内部のハードウェア構成は同様であるので、ハードウェア構成については図1および図2をそのまま流用して説明する。
図24は、図23に示す制御コンピュータの概略構成を示すブロック図である。
制御コンピュータ90は、例えばパーソナルコンピュータであり、演算処理および周辺各部の制御を行うCPU901と、CPU901によって実行されるプログラム900を格納するとともにCPU901による演算結果を記憶するメモリ902と、画像形成装置1’との間でデータの通信を行う通信IF903と、制御の状況をディスプレイ等に表示させる表示制御部904とを有する。通信IF903は、画像形成装置1’の通信IF106と接続され、データのやり取りを行う。CPU901は、プログラム900を実行することによって、画像形成装置1’の動作を制御する。ここで、制御コンピュータ90が本発明の制御装置の一実施形態であり、プログラム900が本発明のプログラムの一実施形態である。
図25は、図23に示す画像形成装置の処理を示すフローチャートである。
図25に示す処理のうち、図7に示す第1実施形態の画像形成装置の処理と同じ処理については同一の符号を付し、説明を省略する。図25に示す処理において、画像形成装置の制御部1Aは、パッチ像作成および検出処理(ステップS13)を実行した後、平均画像密度D%を算出し(ステップS84)、現像電位差Vdeveの算出および設定の処理を実行する(ステップS84)。上記ステップS84およびステップS84の処理は、図8に示したステップS140およびステップS141の処理と同じである。
次に、制御部1Aはデータ送信処理を実行し、現像電位差Vdeveおよび平均画像密度Dを表すデータを制御コンピュータ90に送信する(ステップS87)。次に、制御部1Aはパターン長さデータ受信処理を実行し、制御コンピュータ90からパターン長さのデータを得る(ステップS88)。次に、制御部1Aは、パターン作成処理(ステップS88)で、トナーバンド像の長さLに応じたトナーバンド像のパターンを作成させる。画像形成装置1’における制御部1Aのパターン作成処理では、制御コンピュータ90から得られたパターン長さLに応じてパターンの形成が実行されており、トナーバンド像の形成は、制御コンピュータ90によって制御されている。
図26は、図23に示す制御コンピュータの処理を示すフローチャートである。
制御コンピュータ90は、画像形成装置1’から、現像電位差Vdeveおよび平均画像密度Dを表すデータを受信する(ステップS90)。次に、制御コンピュータ90は、受信したデータの現像電位差Vdeveが上限電位差VdeveHと等しいか否か(ステップS91)、また、下限電位差VdeveLと等しいか否か(ステップS92)判定する。受信で得た現像電位差Vdeveが、上限電位差VdeveHおよび下限電位差VdeveLのいずれかと等しく現像電位差Vdeveによる制御が限界に至った場合には(ステップS142でYes)、トナーバンド像の長さLを100mmとする(ステップS96,S97)。また、制御コンピュータ90は、平均画像密度D%の判定も行い(ステップS98)、捲れ防止用トナーバンドの長さを設定する(ステップS98,S98)。上記ステップS91〜S98の処理は、第1実施形態の画像形成装置の制御部1AにおけるステップS142〜S149(図8)とそれぞれ同じである。最後に、制御コンピュータ90は、設定したパターンデータ長さを画像形成装置1’(図23参照)に送信する。
このようにして、画像形成装置1’におけるトナーバンドの形成が、制御コンピュータ90によって遠隔制御される。
なお、上述した実施形態では、画像形成装置としてタンデム型のカラープリンタの例を示したが、本発明にいう画像形成装置はこれに限られず、例えば、中間転写ベルトを有しないモノクロ専用プリンタであってもよい。中間転写ベルトを用いないプリンタの場合、例えば、濃度センサは感光体表面のパッチ像の濃度を検知し、トナーバンド像のトナーは感光体クリーナのみによって回収する構成が採用可能である。
また、上述した実施形態では、画像形成装置としてプリンタの例を示したが、本発明にいう画像形成装置はプリンタに限られず、例えば、複写機やファクシミリであってもよい。
また、上述した実施形態では、本発明にいう像形成部として、帯電器と露光器と現像器との組合せの例を示したが、本発明にいう画像形成部はこれに限られず、例えば、電極アレイによって画像に応じた電位を像保持体に直接に付与するものであってもよい。この場合、トナー濃度の制御は、電極アレイによって付与される電位として制御する構成が採用できる。
また、上述した第1実施形態から第5実施形態までは、本発明にいう像形成制御部の例として、現像電位差Vdeveが上限および下限のいずれかを外れた場合にトナーバンド像を形成する例を示したが、本発明はこれに限られるものではなく、例えば、第6実施形態として説明したように、上限を外れた場合のみトナーバンドを形成するものであってもよい。
また、上述した実施形態では、本発明にいう濃度制御部および像形成制御部の例として、予め定まられた枚数の用紙に画像形成する度に実行するセットアップ処理で各処理を実行する例を示したが、本発明はこれに限られるものではなく、トナー像のトナー濃度の制御や、トナーバンドの形成は、例えば、画像形成装置の電源立ち上げ時や、部品交換直後のタイミングで行うものであってもよい。
また、上述した実施形態では、調整要因の制御が外れない場合でも捲れ防止用トナーバンド像を形成する例を説明したが、本発明はこれに限られるものではなく、例えば、捲れ防止用トナーバンド像は形成しないものであってもよい。
また、上述した実施形態では、本発明にいう現像電位差の制御として露光電位VLの制御例と現像バイアスVbの制御例を説明したが、本発明はこれに限られるものではなく、例えば、露光の時間、交流電圧成分であってもよい。
1A 制御部
1 画像形成装置
10Y,10M,10C,10K 画像形成部
11Y,11M,11C,11K 感光体
12Y,12M,12C,12K 帯電器
14Y,14M,14C,14K 現像器
15Y,15M,15C,15K 一次転写器
16Y,16M,16C,16K 感光体クリーナ
20 露光器
30 中間転写ベルト
36 濃度センサ

Claims (7)

  1. 表面に形成されたトナー像を保持する像保持体と、
    前記像保持体上にトナーを飛翔させることでトナー像を形成する像形成部と、
    前記像形成部によって形成されたトナー像の濃度を検出する検出部と、
    画像信号の入力を受け前記像形成部に、該画像信号に応じた画像信号トナー像を形成させる信号画像形成制御部と、
    前記像形成部に、予め定められた像密度のパッチトナー像を形成させるとともに、該パッチトナー像の該検出部による検出結果に応じて、前記像形成部における、前記像保持体上へのトナーの飛翔力を定める現像コントラスト電位差を制御する電位差制御部と、
    前記現像コントラスト電位差が予め定められた値である、前記電位差制御部による前記現像コントラスト電位差の制御範囲の、上限値から予め定められた第1の範囲内の値および下限値以上の予め定められた第2の範囲内の値となった場合、前記像形成部に、前記画像信号に応じた画像信号トナー像、および前記パッチトナー像のいずれとも別の第1トナーバンドを形成させることによるトナーの消費量を増大させるバンド形成制御部とを備えたことを特徴とする画像形成装置。
  2. 前記バンド形成制御部が、前記像形成部に形成させる前記第1トナーバンドの、該像保持体がトナー像を保持して移動する方向の長さを大きくすることによって、トナーの消費量を増大させるものであることを特徴とする請求項1記載の画像形成装置。
  3. 前記バンド形成制御部が、前記像形成部に形成させる前記第1トナーバンドの像密度を高めることによってトナーの消費量を増大させるものであることを特徴とする請求項1又は2記載の画像形成装置。
  4. 前記バンド形成制御部が、前記像形成部に前記前記第1トナーバンドを形成させる頻度を高めることによってトナーの消費量を増大させるものであることを特徴とする請求項1からいずれか1項記載の画像形成装置。
  5. 前記バンド形成制御部は、前記現像コントラスト電位が予め定められた値でない場合であって、前記電位制御部が前記像形成部に前回前記パッチトナー像を形成させてから今回前記パッチトナー像を形成させるまでの間に前記像形成部により形成された前記トナー像の平均の像密度が予め定められた像密度未満の場合、前記像形成部に、第2トナーバンドを形成させ、前記現像コントラスト電位差が予め定められた値となった場合、前記像形成部に、前記第2トナーバンドよりもトナーの消費量が多い前記第1トナーバンドを形成させることでトナーの消費量を増大させることを特徴とする請求項1記載の画像形成装置。
  6. 画像形成装置を制御する制御装置であって、
    前記画像形成装置が、
    表面に形成されたトナー像を保持する像保持体と、
    前記像保持体上にトナーを飛翔させることでトナー像を形成する像形成部と、
    前記像形成部によって形成されたトナー像の濃度を検出する検出部と、
    画像信号の入力を受け前記像形成部に、該画像信号に応じた画像信号トナー像を形成させる信号画像形成制御部と、
    前記像形成部に、予め定められた像密度のパッチトナー像を形成させるとともに、該パッチトナー像の該検出部による検出結果に応じて、前記像形成部における、前記像保持体上へのトナーの飛翔力を定める現像コントラスト電位差を制御する電位差制御部とを備えたものであり、
    この制御装置が、
    前記電位差制御部により制御された現像コントラスト電位差が予め定められた値である、前記電位差制御部による前記現像コントラスト電位差の制御範囲の、上限値から予め定められた第1の範囲内の値および下限値以上の予め定められた第2の範囲内の値となった場合、前記像形成部に、前記画像信号に応じた画像信号トナー像、および前記パッチトナー像のいずれとも別のトナーバンドを形成させることによるトナーの消費量を増大させるバンド形成制御部を備えたものであることを特徴とする制御装置。
  7. 画像形成装置と通信可能に接続されたコンピュータに組み込まれて該コンピュータを、該画像形成装置を制御する制御装置として機能させるためのプログラムであって、
    前記画像形成装置が、
    表面に形成されたトナー像を保持する像保持体と、
    前記像保持体上にトナーを飛翔させることでトナー像を形成する像形成部と、
    前記像形成部によって形成されたトナー像の濃度を検出する検出部と、
    画像信号の入力を受け前記像形成部に、該画像信号に応じた画像信号トナー像を形成させる信号画像形成制御部と、
    前記像形成部に、予め定められた像密度のパッチトナー像を形成させるとともに、該パッチトナー像の該検出部による検出結果に応じて前記像形成部における、前記像保持体上へのトナーの飛翔力を定める現像コントラスト電位差を制御する電位差制御部とを備えたものであり、
    このプログラムが前記コンピュータを、
    前記電位差制御部により制御された現像コントラスト電位差が予め定められた値である、前記電位差制御部による前記現像コントラスト電位差の制御範囲の、上限値から予め定められた第1の範囲内の値および下限値以上の予め定められた第2の範囲内の値となった場合、前記像形成部に、前記画像信号に応じた画像信号トナー像、および前記パッチトナー像のいずれとも別のトナーバンドを形成させることによるトナーの消費量を増大させるバンド形成制御部として機能させるためのプログラム。
JP2009169019A 2009-07-17 2009-07-17 画像形成装置、プログラム、および制御装置 Expired - Fee Related JP5376233B2 (ja)

Priority Applications (1)

Application Number Priority Date Filing Date Title
JP2009169019A JP5376233B2 (ja) 2009-07-17 2009-07-17 画像形成装置、プログラム、および制御装置

Applications Claiming Priority (1)

Application Number Priority Date Filing Date Title
JP2009169019A JP5376233B2 (ja) 2009-07-17 2009-07-17 画像形成装置、プログラム、および制御装置

Publications (2)

Publication Number Publication Date
JP2011022468A JP2011022468A (ja) 2011-02-03
JP5376233B2 true JP5376233B2 (ja) 2013-12-25

Family

ID=43632575

Family Applications (1)

Application Number Title Priority Date Filing Date
JP2009169019A Expired - Fee Related JP5376233B2 (ja) 2009-07-17 2009-07-17 画像形成装置、プログラム、および制御装置

Country Status (1)

Country Link
JP (1) JP5376233B2 (ja)

Families Citing this family (5)

* Cited by examiner, † Cited by third party
Publication number Priority date Publication date Assignee Title
JP5861588B2 (ja) 2012-07-20 2016-02-16 コニカミノルタ株式会社 画像形成装置
JP2015152910A (ja) * 2014-02-19 2015-08-24 富士ゼロックス株式会社 画像形成装置
JP6459280B2 (ja) * 2014-08-04 2019-01-30 コニカミノルタ株式会社 画像形成装置
JP2019061172A (ja) * 2017-09-27 2019-04-18 富士ゼロックス株式会社 画像形成装置
JP7388164B2 (ja) * 2019-12-12 2023-11-29 コニカミノルタ株式会社 画像形成装置、および制御プログラム

Family Cites Families (7)

* Cited by examiner, † Cited by third party
Publication number Priority date Publication date Assignee Title
JP2007086660A (ja) * 2005-09-26 2007-04-05 Canon Inc 画像形成装置
JP2007147782A (ja) * 2005-11-24 2007-06-14 Kyocera Mita Corp 現像装置の制御方法、現像装置の制御装置、及び画像形成装置
JP2007212936A (ja) * 2006-02-13 2007-08-23 Fuji Xerox Co Ltd 画像形成装置
JP2007232880A (ja) * 2006-02-28 2007-09-13 Toshiba Corp 画像形成装置およびその画像形成方法
JP5168851B2 (ja) * 2006-08-17 2013-03-27 株式会社リコー 画像形成装置
JP2009058552A (ja) * 2007-08-30 2009-03-19 Konica Minolta Business Technologies Inc 画像形成装置
JP2010164748A (ja) * 2009-01-15 2010-07-29 Sharp Corp 画像形成装置及び画像形成方法

Also Published As

Publication number Publication date
JP2011022468A (ja) 2011-02-03

Similar Documents

Publication Publication Date Title
JP6137615B2 (ja) 画像形成装置及び画像濃度制御方法
US9977361B2 (en) Image forming apparatus and image forming system
US20110305468A1 (en) Image forming apparatus
JP2006039036A (ja) トナー濃度推定方法及び装置、並びにその装置を備えた画像形成装置
US9436135B2 (en) Toner pattern density correction in an image forming apparatus
JP5979324B2 (ja) 画像形成装置
JP2015175953A (ja) 画像形成装置
CN107664934A (zh) 图像形成装置
JP5376233B2 (ja) 画像形成装置、プログラム、および制御装置
US8649718B2 (en) Apparatus and method of color shift correction, and medium storing color shift correction program
JP5171165B2 (ja) 画像形成装置
JP4241759B2 (ja) 画像形成装置および画像形成装置の濃度制御方法
JP2013041162A (ja) 画像形成装置、制御装置及びプログラム
JP5382434B2 (ja) 画像形成装置
JP4997150B2 (ja) カラー画像形成装置
JP6274562B2 (ja) 画像形成装置
JP2016167091A (ja) 移動体変位検知装置、画像形成装置、及び移動体変位検知方法
JP2016061963A (ja) 画像形成装置
JP5168851B2 (ja) 画像形成装置
JP5770146B2 (ja) 画像形成装置及び画像形成方法
CN100510996C (zh) 图像形成装置及输出图像浓度校正方法
JP2008046339A (ja) 現像装置
JP5253825B2 (ja) 画像形成装置
JP2016080724A (ja) 画像形成装置
JP2005148355A (ja) 画像形成装置

Legal Events

Date Code Title Description
A621 Written request for application examination

Free format text: JAPANESE INTERMEDIATE CODE: A621

Effective date: 20120620

A977 Report on retrieval

Free format text: JAPANESE INTERMEDIATE CODE: A971007

Effective date: 20130605

A131 Notification of reasons for refusal

Free format text: JAPANESE INTERMEDIATE CODE: A131

Effective date: 20130611

A521 Request for written amendment filed

Free format text: JAPANESE INTERMEDIATE CODE: A523

Effective date: 20130812

TRDD Decision of grant or rejection written
A01 Written decision to grant a patent or to grant a registration (utility model)

Free format text: JAPANESE INTERMEDIATE CODE: A01

Effective date: 20130829

A61 First payment of annual fees (during grant procedure)

Free format text: JAPANESE INTERMEDIATE CODE: A61

Effective date: 20130911

R150 Certificate of patent or registration of utility model

Ref document number: 5376233

Country of ref document: JP

Free format text: JAPANESE INTERMEDIATE CODE: R150

Free format text: JAPANESE INTERMEDIATE CODE: R150

LAPS Cancellation because of no payment of annual fees