JP5367582B2 - 補強用コードおよびそれを用いたゴム製品 - Google Patents
補強用コードおよびそれを用いたゴム製品 Download PDFInfo
- Publication number
- JP5367582B2 JP5367582B2 JP2009541173A JP2009541173A JP5367582B2 JP 5367582 B2 JP5367582 B2 JP 5367582B2 JP 2009541173 A JP2009541173 A JP 2009541173A JP 2009541173 A JP2009541173 A JP 2009541173A JP 5367582 B2 JP5367582 B2 JP 5367582B2
- Authority
- JP
- Japan
- Prior art keywords
- reinforcing cord
- fiber
- core fiber
- rubber
- strands
- Prior art date
- Legal status (The legal status is an assumption and is not a legal conclusion. Google has not performed a legal analysis and makes no representation as to the accuracy of the status listed.)
- Active
Links
Images
Classifications
-
- D—TEXTILES; PAPER
- D02—YARNS; MECHANICAL FINISHING OF YARNS OR ROPES; WARPING OR BEAMING
- D02G—CRIMPING OR CURLING FIBRES, FILAMENTS, THREADS, OR YARNS; YARNS OR THREADS
- D02G3/00—Yarns or threads, e.g. fancy yarns; Processes or apparatus for the production thereof, not otherwise provided for
- D02G3/44—Yarns or threads characterised by the purpose for which they are designed
- D02G3/447—Yarns or threads for specific use in general industrial applications, e.g. as filters or reinforcement
-
- D—TEXTILES; PAPER
- D07—ROPES; CABLES OTHER THAN ELECTRIC
- D07B—ROPES OR CABLES IN GENERAL
- D07B1/00—Constructional features of ropes or cables
- D07B1/16—Ropes or cables with an enveloping sheathing or inlays of rubber or plastics
-
- F—MECHANICAL ENGINEERING; LIGHTING; HEATING; WEAPONS; BLASTING
- F16—ENGINEERING ELEMENTS AND UNITS; GENERAL MEASURES FOR PRODUCING AND MAINTAINING EFFECTIVE FUNCTIONING OF MACHINES OR INSTALLATIONS; THERMAL INSULATION IN GENERAL
- F16G—BELTS, CABLES, OR ROPES, PREDOMINANTLY USED FOR DRIVING PURPOSES; CHAINS; FITTINGS PREDOMINANTLY USED THEREFOR
- F16G1/00—Driving-belts
- F16G1/06—Driving-belts made of rubber
- F16G1/08—Driving-belts made of rubber with reinforcement bonded by the rubber
-
- F—MECHANICAL ENGINEERING; LIGHTING; HEATING; WEAPONS; BLASTING
- F16—ENGINEERING ELEMENTS AND UNITS; GENERAL MEASURES FOR PRODUCING AND MAINTAINING EFFECTIVE FUNCTIONING OF MACHINES OR INSTALLATIONS; THERMAL INSULATION IN GENERAL
- F16G—BELTS, CABLES, OR ROPES, PREDOMINANTLY USED FOR DRIVING PURPOSES; CHAINS; FITTINGS PREDOMINANTLY USED THEREFOR
- F16G1/00—Driving-belts
- F16G1/28—Driving-belts with a contact surface of special shape, e.g. toothed
-
- D—TEXTILES; PAPER
- D07—ROPES; CABLES OTHER THAN ELECTRIC
- D07B—ROPES OR CABLES IN GENERAL
- D07B1/00—Constructional features of ropes or cables
- D07B1/02—Ropes built-up from fibrous or filamentary material, e.g. of vegetable origin, of animal origin, regenerated cellulose, plastics
-
- D—TEXTILES; PAPER
- D07—ROPES; CABLES OTHER THAN ELECTRIC
- D07B—ROPES OR CABLES IN GENERAL
- D07B1/00—Constructional features of ropes or cables
- D07B1/02—Ropes built-up from fibrous or filamentary material, e.g. of vegetable origin, of animal origin, regenerated cellulose, plastics
- D07B1/04—Ropes built-up from fibrous or filamentary material, e.g. of vegetable origin, of animal origin, regenerated cellulose, plastics with a core of fibres or filaments arranged parallel to the centre line
-
- D—TEXTILES; PAPER
- D07—ROPES; CABLES OTHER THAN ELECTRIC
- D07B—ROPES OR CABLES IN GENERAL
- D07B2201/00—Ropes or cables
- D07B2201/20—Rope or cable components
- D07B2201/2015—Strands
- D07B2201/2042—Strands characterised by a coating
- D07B2201/2044—Strands characterised by a coating comprising polymers
-
- D—TEXTILES; PAPER
- D07—ROPES; CABLES OTHER THAN ELECTRIC
- D07B—ROPES OR CABLES IN GENERAL
- D07B2201/00—Ropes or cables
- D07B2201/20—Rope or cable components
- D07B2201/2047—Cores
- D07B2201/2052—Cores characterised by their structure
- D07B2201/2055—Cores characterised by their structure comprising filaments or fibers
- D07B2201/2056—Cores characterised by their structure comprising filaments or fibers arranged parallel to the axis
-
- D—TEXTILES; PAPER
- D07—ROPES; CABLES OTHER THAN ELECTRIC
- D07B—ROPES OR CABLES IN GENERAL
- D07B2201/00—Ropes or cables
- D07B2201/20—Rope or cable components
- D07B2201/2047—Cores
- D07B2201/2052—Cores characterised by their structure
- D07B2201/2055—Cores characterised by their structure comprising filaments or fibers
- D07B2201/2057—Cores characterised by their structure comprising filaments or fibers resulting in a twisted structure
-
- D—TEXTILES; PAPER
- D07—ROPES; CABLES OTHER THAN ELECTRIC
- D07B—ROPES OR CABLES IN GENERAL
- D07B2201/00—Ropes or cables
- D07B2201/20—Rope or cable components
- D07B2201/2047—Cores
- D07B2201/2052—Cores characterised by their structure
- D07B2201/2065—Cores characterised by their structure comprising a coating
-
- D—TEXTILES; PAPER
- D07—ROPES; CABLES OTHER THAN ELECTRIC
- D07B—ROPES OR CABLES IN GENERAL
- D07B2201/00—Ropes or cables
- D07B2201/20—Rope or cable components
- D07B2201/2047—Cores
- D07B2201/2067—Cores characterised by the elongation or tension behaviour
- D07B2201/2069—Cores characterised by the elongation or tension behaviour being elastic
-
- D—TEXTILES; PAPER
- D07—ROPES; CABLES OTHER THAN ELECTRIC
- D07B—ROPES OR CABLES IN GENERAL
- D07B2205/00—Rope or cable materials
- D07B2205/30—Inorganic materials
- D07B2205/3003—Glass
-
- D—TEXTILES; PAPER
- D07—ROPES; CABLES OTHER THAN ELECTRIC
- D07B—ROPES OR CABLES IN GENERAL
- D07B2205/00—Rope or cable materials
- D07B2205/30—Inorganic materials
- D07B2205/3007—Carbon
-
- D—TEXTILES; PAPER
- D07—ROPES; CABLES OTHER THAN ELECTRIC
- D07B—ROPES OR CABLES IN GENERAL
- D07B2501/00—Application field
- D07B2501/20—Application field related to ropes or cables
- D07B2501/2076—Power transmissions
-
- D—TEXTILES; PAPER
- D10—INDEXING SCHEME ASSOCIATED WITH SUBLASSES OF SECTION D, RELATING TO TEXTILES
- D10B—INDEXING SCHEME ASSOCIATED WITH SUBLASSES OF SECTION D, RELATING TO TEXTILES
- D10B2101/00—Inorganic fibres
- D10B2101/02—Inorganic fibres based on oxides or oxide ceramics, e.g. silicates
- D10B2101/06—Glass
-
- Y—GENERAL TAGGING OF NEW TECHNOLOGICAL DEVELOPMENTS; GENERAL TAGGING OF CROSS-SECTIONAL TECHNOLOGIES SPANNING OVER SEVERAL SECTIONS OF THE IPC; TECHNICAL SUBJECTS COVERED BY FORMER USPC CROSS-REFERENCE ART COLLECTIONS [XRACs] AND DIGESTS
- Y10—TECHNICAL SUBJECTS COVERED BY FORMER USPC
- Y10T—TECHNICAL SUBJECTS COVERED BY FORMER US CLASSIFICATION
- Y10T428/00—Stock material or miscellaneous articles
- Y10T428/29—Coated or structually defined flake, particle, cell, strand, strand portion, rod, filament, macroscopic fiber or mass thereof
- Y10T428/2913—Rod, strand, filament or fiber
- Y10T428/2933—Coated or with bond, impregnation or core
-
- Y—GENERAL TAGGING OF NEW TECHNOLOGICAL DEVELOPMENTS; GENERAL TAGGING OF CROSS-SECTIONAL TECHNOLOGIES SPANNING OVER SEVERAL SECTIONS OF THE IPC; TECHNICAL SUBJECTS COVERED BY FORMER USPC CROSS-REFERENCE ART COLLECTIONS [XRACs] AND DIGESTS
- Y10—TECHNICAL SUBJECTS COVERED BY FORMER USPC
- Y10T—TECHNICAL SUBJECTS COVERED BY FORMER US CLASSIFICATION
- Y10T428/00—Stock material or miscellaneous articles
- Y10T428/29—Coated or structually defined flake, particle, cell, strand, strand portion, rod, filament, macroscopic fiber or mass thereof
- Y10T428/2913—Rod, strand, filament or fiber
- Y10T428/2933—Coated or with bond, impregnation or core
- Y10T428/2938—Coating on discrete and individual rods, strands or filaments
-
- Y—GENERAL TAGGING OF NEW TECHNOLOGICAL DEVELOPMENTS; GENERAL TAGGING OF CROSS-SECTIONAL TECHNOLOGIES SPANNING OVER SEVERAL SECTIONS OF THE IPC; TECHNICAL SUBJECTS COVERED BY FORMER USPC CROSS-REFERENCE ART COLLECTIONS [XRACs] AND DIGESTS
- Y10—TECHNICAL SUBJECTS COVERED BY FORMER USPC
- Y10T—TECHNICAL SUBJECTS COVERED BY FORMER US CLASSIFICATION
- Y10T428/00—Stock material or miscellaneous articles
- Y10T428/29—Coated or structually defined flake, particle, cell, strand, strand portion, rod, filament, macroscopic fiber or mass thereof
- Y10T428/2913—Rod, strand, filament or fiber
- Y10T428/2933—Coated or with bond, impregnation or core
- Y10T428/2964—Artificial fiber or filament
- Y10T428/2967—Synthetic resin or polymer
Landscapes
- Engineering & Computer Science (AREA)
- General Engineering & Computer Science (AREA)
- Mechanical Engineering (AREA)
- Textile Engineering (AREA)
- Yarns And Mechanical Finishing Of Yarns Or Ropes (AREA)
- Ropes Or Cables (AREA)
- Treatments For Attaching Organic Compounds To Fibrous Goods (AREA)
- Tires In General (AREA)
Description
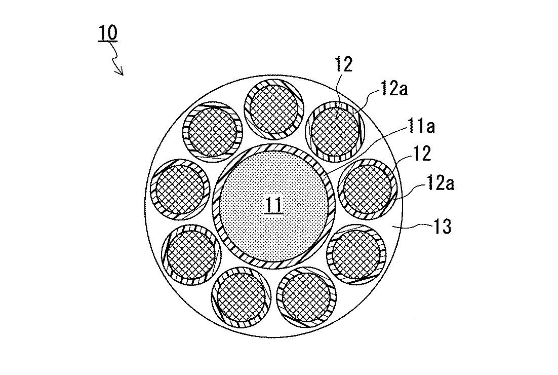
本発明の補強用コードは、芯繊維と、この芯繊維の周囲に配置された複数本のストランド(周辺部ストランド)とを含む。芯繊維は、少なくとも100GPaの引張弾性率を有する1本または複数本の高弾性繊維からなる。周辺部ストランドは、複数本のガラス繊維が下撚りされることによって形成されており、複数本の周辺部ストランドが上撚りされて芯繊維の周囲に配置されている。
本発明の補強用コードは、様々なゴム製品に適用できる。本発明の補強用コードは、たとえば、歯付ベルト、平ベルトなどに特に好ましく適用できる。本発明のゴム補強用コードは、ゴム製品のゴム組成物(マトリクスゴム)に埋め込まれてゴム製品を補強する。
実施例1〜5および比較例1〜7では、芯繊維(コア)の高弾性繊維として、引張弾性率が230GPaの炭素繊維を用いた。また、周辺部ストランド(スキン)のガラス繊維としては、繊維径7μmの高強度ガラス繊維を用いた。実施例1〜5および比較例1〜7の補強用コードの具体的な構成は、表1に示すとおりである。
実施例6〜10および比較例8〜14として、表2に示すような撚り数等の条件を満たす補強用コードを作製した。上撚り数を2.0とした以外は、実施例1〜5、比較例1〜7の補強用コードと同様の方法で作製した。
実施例11および比較例15、16として、表3に示すような撚り数等の条件を満たす補強用コードを作製した。芯繊維に下撚りを施した以外は、実施例1〜5、比較例1〜7の補強用コードと同様の方法で作製した。
実施例12および比較例17、18として、表4に示すような撚り数等の条件を満たす補強用コードを作製した。芯繊維に引張弾性率が270GPaのPBO繊維を用いた以外は、実施例1〜5、比較例1〜7の補強用コードと同様の方法で作製した。
Claims (10)
- 芯繊維と、前記芯繊維の周囲に配置された複数本のストランドとを含むゴム補強用コードであって、
前記芯繊維は、少なくとも100GPaの引張弾性率を有する1本または複数本の高弾性繊維からなり、
前記ストランドは、複数本のガラス繊維が下撚りされることによって形成されており、前記複数本のストランドが上撚りされて前記芯繊維の周囲に配置されており、
前記複数本のストランドにおける上撚り方向と下撚り方向とが逆であり、
前記複数本のストランドにおける上撚り数が1.0〜3.0回/25mmであって、且つ、前記複数本のストランドにおける上撚り数に対する下撚り数の比(下撚り数/上撚り数)が1.5〜2.5の範囲内である、補強用コード。 - 前記芯繊維は、1本の前記高弾性繊維からなり、
前記芯繊維の周囲に、8〜15本の前記ストランドが配置されている、請求項1に記載の補強用コード。 - 前記芯繊維は下撚りされていない、請求項1に記載の補強用コード。
- 前記芯繊維は、前記高弾性繊維が下撚りされることによって形成されており、
前記芯繊維の下撚り数が0.1〜3.0回/25mmである、請求項1に記載の補強用コード。 - 前記高弾性繊維が炭素繊維である、請求項1に記載の補強用コード。
- 前記高弾性繊維がポリパラフェニレンベンゾビスオキサゾール繊維である、請求項1に記載の補強用コード。
- 前記芯繊維および前記ストランドの表面に設けられた被覆膜をさらに含み、
前記被覆膜が、ゴムラテックスを主成分として含む処理液を前記芯繊維および前記ストランドに塗布して乾燥させることによって形成されている、請求項1に記載の補強用コード。 - 表面を被覆するゴム層をさらに含む、請求項1に記載の補強用コード。
- 請求項1に記載の補強用コードを含むゴム製品であって、
前記補強用コードがゴム組成物に埋め込まれているゴム製品。 - 前記ゴム製品が歯付きベルトまたは平ベルトである、請求項9に記載のゴム製品。
Priority Applications (1)
| Application Number | Priority Date | Filing Date | Title |
|---|---|---|---|
| JP2009541173A JP5367582B2 (ja) | 2007-11-15 | 2008-11-13 | 補強用コードおよびそれを用いたゴム製品 |
Applications Claiming Priority (4)
| Application Number | Priority Date | Filing Date | Title |
|---|---|---|---|
| JP2007296623 | 2007-11-15 | ||
| JP2007296623 | 2007-11-15 | ||
| JP2009541173A JP5367582B2 (ja) | 2007-11-15 | 2008-11-13 | 補強用コードおよびそれを用いたゴム製品 |
| PCT/JP2008/070711 WO2009063952A1 (ja) | 2007-11-15 | 2008-11-13 | 補強用コードおよびそれを用いたゴム製品 |
Publications (2)
| Publication Number | Publication Date |
|---|---|
| JPWO2009063952A1 JPWO2009063952A1 (ja) | 2011-03-31 |
| JP5367582B2 true JP5367582B2 (ja) | 2013-12-11 |
Family
ID=40638799
Family Applications (1)
| Application Number | Title | Priority Date | Filing Date |
|---|---|---|---|
| JP2009541173A Active JP5367582B2 (ja) | 2007-11-15 | 2008-11-13 | 補強用コードおよびそれを用いたゴム製品 |
Country Status (6)
| Country | Link |
|---|---|
| US (1) | US8176719B2 (ja) |
| EP (1) | EP2221413B1 (ja) |
| JP (1) | JP5367582B2 (ja) |
| CN (1) | CN101868576B (ja) |
| BR (1) | BRPI0820075B8 (ja) |
| WO (1) | WO2009063952A1 (ja) |
Cited By (1)
| Publication number | Priority date | Publication date | Assignee | Title |
|---|---|---|---|---|
| WO2018181112A1 (ja) | 2017-03-27 | 2018-10-04 | 横浜ゴム株式会社 | 空気入りタイヤ |
Families Citing this family (22)
| Publication number | Priority date | Publication date | Assignee | Title |
|---|---|---|---|---|
| DE102009040964A1 (de) * | 2009-09-11 | 2011-03-24 | Sgl Carbon Se | Seil |
| JP5215274B2 (ja) * | 2009-10-13 | 2013-06-19 | ゲイツ・ユニッタ・アジア株式会社 | 歯付きベルト |
| JP5116791B2 (ja) * | 2010-03-23 | 2013-01-09 | 株式会社椿本チエイン | 歯付ベルト |
| JP5632765B2 (ja) * | 2011-02-04 | 2014-11-26 | 株式会社ブリヂストン | ゴム物品補強用コード及び空気入りタイヤ |
| EP2514584B1 (en) * | 2011-04-18 | 2018-01-31 | Siemens Aktiengesellschaft | Bundle of roving yarns, method of manufacturing a bundle of roving yarns and method for manufacturing a work piece |
| JP5835165B2 (ja) * | 2012-09-07 | 2015-12-24 | 横浜ゴム株式会社 | スチールコードおよびゴム製品の製造方法 |
| US9353466B2 (en) | 2012-09-12 | 2016-05-31 | Timken Smo Llc | Hybrid power transmission cord |
| US10113296B2 (en) * | 2013-10-01 | 2018-10-30 | Bright Technologies, L.L.C. | Dragline bucket rigging system |
| US11427959B2 (en) * | 2015-12-21 | 2022-08-30 | Nippon Sheet Glass Company, Limited | Rubber-reinforcing cord and rubber product using same |
| EP3440245B1 (en) * | 2016-04-08 | 2025-08-13 | Gates Corporation | Hybrid cable for reinforcing polymeric articles and reinforced articles |
| JP6384538B2 (ja) * | 2016-12-07 | 2018-09-05 | 横浜ゴム株式会社 | 空気入りタイヤ及びその製造方法 |
| CN110770388B (zh) * | 2017-06-19 | 2021-10-22 | 日本板硝子株式会社 | 橡胶增强用线和使用其的橡胶制品 |
| CN109112860B (zh) * | 2017-06-25 | 2024-08-16 | 江苏海峰绳缆科技有限公司 | 一种高分子纤维绳缆 |
| JP6748152B2 (ja) * | 2017-07-04 | 2020-08-26 | 三ツ星ベルト株式会社 | Vリブドベルト |
| US10669126B2 (en) * | 2017-08-28 | 2020-06-02 | Otis Elevator Company | Fiber belt for elevator system |
| JP6676725B2 (ja) * | 2017-12-07 | 2020-04-08 | 三ツ星ベルト株式会社 | 摩擦伝動ベルト、そのためのコード並びにそれらの製造方法 |
| WO2019111639A1 (ja) | 2017-12-07 | 2019-06-13 | 三ツ星ベルト株式会社 | 摩擦伝動ベルト、そのためのコード並びにそれらの製造方法 |
| JP2020190058A (ja) * | 2019-05-22 | 2020-11-26 | 株式会社イノアックコーポレーション | 繊維ストランド、補強マット、ボード及び繊維ストランドの製造方法 |
| CN120077176A (zh) * | 2022-10-28 | 2025-05-30 | 三菱电机楼宇解决方案株式会社 | 绳索以及使用该绳索的带 |
| WO2025100076A1 (ja) * | 2023-11-09 | 2025-05-15 | 日本板硝子株式会社 | ゴム補強用コード及びそれを用いたゴム製品 |
| WO2025163038A1 (en) * | 2024-02-02 | 2025-08-07 | Aritec Holding Ag | A reinforcement cord construction for improving the bonding strength and performance of conveyor belts |
| DE102024114664A1 (de) * | 2024-05-24 | 2025-11-27 | TROWIS GmbH | Textiles Litzenseil |
Citations (5)
| Publication number | Priority date | Publication date | Assignee | Title |
|---|---|---|---|---|
| JP2002004139A (ja) * | 2000-06-23 | 2002-01-09 | Nippon Sheet Glass Co Ltd | ゴム補強用ガラス繊維コードの製造方法およびそのガラス繊維コードを含有するゴム製品 |
| JP2004011076A (ja) * | 2002-06-10 | 2004-01-15 | Nippon Sheet Glass Co Ltd | ゴム補強用コードおよびそれを含有するゴム製品 |
| WO2004090224A1 (ja) * | 2003-04-09 | 2004-10-21 | Nippon Sheet Glass Company, Limited | ゴムを補強するための補強用コードおよびそれを用いたゴム製品 |
| WO2005061766A1 (ja) * | 2003-12-18 | 2005-07-07 | Nippon Sheet Glass Company, Limited | ゴム補強用コードおよびそれを用いたゴム製品 |
| WO2007063686A1 (ja) * | 2005-11-09 | 2007-06-07 | Nippon Sheet Glass Company, Limited | ゴム補強用コード |
Family Cites Families (6)
| Publication number | Priority date | Publication date | Assignee | Title |
|---|---|---|---|---|
| JPH06184853A (ja) * | 1984-09-20 | 1994-07-05 | Nippon Glass Fiber Co Ltd | 歯付ベルト用ガラス繊維コード |
| JPS6175836A (ja) * | 1984-09-20 | 1986-04-18 | 日本硝子繊維株式会社 | ガラス繊維コ−ド |
| JP3846236B2 (ja) | 2001-07-24 | 2006-11-15 | 帝人テクノプロダクツ株式会社 | ハイブリッドコード及びゴム補強物 |
| CN1625618A (zh) * | 2002-01-30 | 2005-06-08 | 泰盛电梯资金股份有限公司 | 升降机用的合成纤维绳索 |
| JP3923818B2 (ja) * | 2002-02-20 | 2007-06-06 | 三ツ星ベルト株式会社 | 動力伝動ベルト |
| JP3864820B2 (ja) * | 2002-03-22 | 2007-01-10 | 日本板硝子株式会社 | ゴム補強用ハイブリッドコード及びゴム製品 |
-
2008
- 2008-11-13 JP JP2009541173A patent/JP5367582B2/ja active Active
- 2008-11-13 CN CN200880116330XA patent/CN101868576B/zh active Active
- 2008-11-13 US US12/741,711 patent/US8176719B2/en active Active
- 2008-11-13 WO PCT/JP2008/070711 patent/WO2009063952A1/ja not_active Ceased
- 2008-11-13 BR BRPI0820075A patent/BRPI0820075B8/pt active IP Right Grant
- 2008-11-13 EP EP08848704.6A patent/EP2221413B1/en active Active
Patent Citations (5)
| Publication number | Priority date | Publication date | Assignee | Title |
|---|---|---|---|---|
| JP2002004139A (ja) * | 2000-06-23 | 2002-01-09 | Nippon Sheet Glass Co Ltd | ゴム補強用ガラス繊維コードの製造方法およびそのガラス繊維コードを含有するゴム製品 |
| JP2004011076A (ja) * | 2002-06-10 | 2004-01-15 | Nippon Sheet Glass Co Ltd | ゴム補強用コードおよびそれを含有するゴム製品 |
| WO2004090224A1 (ja) * | 2003-04-09 | 2004-10-21 | Nippon Sheet Glass Company, Limited | ゴムを補強するための補強用コードおよびそれを用いたゴム製品 |
| WO2005061766A1 (ja) * | 2003-12-18 | 2005-07-07 | Nippon Sheet Glass Company, Limited | ゴム補強用コードおよびそれを用いたゴム製品 |
| WO2007063686A1 (ja) * | 2005-11-09 | 2007-06-07 | Nippon Sheet Glass Company, Limited | ゴム補強用コード |
Cited By (2)
| Publication number | Priority date | Publication date | Assignee | Title |
|---|---|---|---|---|
| WO2018181112A1 (ja) | 2017-03-27 | 2018-10-04 | 横浜ゴム株式会社 | 空気入りタイヤ |
| US10780746B2 (en) | 2017-03-27 | 2020-09-22 | The Yokohama Rubber Co., Ltd. | Pneumatic tire |
Also Published As
| Publication number | Publication date |
|---|---|
| EP2221413B1 (en) | 2017-04-05 |
| EP2221413A4 (en) | 2014-10-08 |
| EP2221413A1 (en) | 2010-08-25 |
| US8176719B2 (en) | 2012-05-15 |
| US20100267863A1 (en) | 2010-10-21 |
| BRPI0820075B8 (pt) | 2020-01-14 |
| CN101868576A (zh) | 2010-10-20 |
| JPWO2009063952A1 (ja) | 2011-03-31 |
| CN101868576B (zh) | 2012-05-30 |
| WO2009063952A1 (ja) | 2009-05-22 |
| BRPI0820075B1 (pt) | 2018-09-18 |
| BRPI0820075A2 (pt) | 2015-06-23 |
Similar Documents
| Publication | Publication Date | Title |
|---|---|---|
| JP5367582B2 (ja) | 補強用コードおよびそれを用いたゴム製品 | |
| JP4295763B2 (ja) | ゴムを補強するための補強用コードおよびそれを用いたゴム製品 | |
| JP4018460B2 (ja) | ゴム補強用コードおよびそれを含有するゴム製品 | |
| JP3864820B2 (ja) | ゴム補強用ハイブリッドコード及びゴム製品 | |
| CN105829601B (zh) | 用于形成橡胶增强用帘线的水性处理剂、使用它形成的橡胶增强用帘线及其制造方法、以及使用了该橡胶增强用帘线的橡胶制品 | |
| JPWO2005061766A1 (ja) | ゴム補強用コードおよびそれを用いたゴム製品 | |
| EP1980657B1 (en) | Cord for rubber reinforcement | |
| JP5730645B2 (ja) | アラミド心線及び動力伝動用ベルト | |
| JP6676725B2 (ja) | 摩擦伝動ベルト、そのためのコード並びにそれらの製造方法 | |
| JP6764420B2 (ja) | ゴム補強用コード及びそれを用いたゴム製品 | |
| JP6945323B2 (ja) | 極太ディップコード及びその製造方法 | |
| JP6603350B2 (ja) | ローエッジvベルト | |
| WO2025229968A1 (ja) | 歯付ベルト及び伝動システム | |
| JPH07112494A (ja) | ベルトの抗張体 | |
| JP2010180908A (ja) | タイミングベルトの心線の撚り回数決定方法 | |
| JP2010071333A (ja) | ベルト及びその心線と心線の処理液 | |
| JPH07301284A (ja) | ベルトの抗張体 |
Legal Events
| Date | Code | Title | Description |
|---|---|---|---|
| A621 | Written request for application examination |
Free format text: JAPANESE INTERMEDIATE CODE: A621 Effective date: 20110524 |
|
| TRDD | Decision of grant or rejection written | ||
| A01 | Written decision to grant a patent or to grant a registration (utility model) |
Free format text: JAPANESE INTERMEDIATE CODE: A01 Effective date: 20130910 |
|
| A61 | First payment of annual fees (during grant procedure) |
Free format text: JAPANESE INTERMEDIATE CODE: A61 Effective date: 20130911 |
|
| R150 | Certificate of patent or registration of utility model |
Free format text: JAPANESE INTERMEDIATE CODE: R150 Ref document number: 5367582 Country of ref document: JP Free format text: JAPANESE INTERMEDIATE CODE: R150 |
|
| R250 | Receipt of annual fees |
Free format text: JAPANESE INTERMEDIATE CODE: R250 |
|
| R250 | Receipt of annual fees |
Free format text: JAPANESE INTERMEDIATE CODE: R250 |
|
| R250 | Receipt of annual fees |
Free format text: JAPANESE INTERMEDIATE CODE: R250 |
|
| R250 | Receipt of annual fees |
Free format text: JAPANESE INTERMEDIATE CODE: R250 |
|
| R250 | Receipt of annual fees |
Free format text: JAPANESE INTERMEDIATE CODE: R250 |
|
| R250 | Receipt of annual fees |
Free format text: JAPANESE INTERMEDIATE CODE: R250 |
|
| R250 | Receipt of annual fees |
Free format text: JAPANESE INTERMEDIATE CODE: R250 |
|
| R250 | Receipt of annual fees |
Free format text: JAPANESE INTERMEDIATE CODE: R250 |
|
| R250 | Receipt of annual fees |
Free format text: JAPANESE INTERMEDIATE CODE: R250 |
|
| R250 | Receipt of annual fees |
Free format text: JAPANESE INTERMEDIATE CODE: R250 |
