JP5300725B2 - 放射熱伝達システム - Google Patents

放射熱伝達システム Download PDF

Info

Publication number
JP5300725B2
JP5300725B2 JP2009529301A JP2009529301A JP5300725B2 JP 5300725 B2 JP5300725 B2 JP 5300725B2 JP 2009529301 A JP2009529301 A JP 2009529301A JP 2009529301 A JP2009529301 A JP 2009529301A JP 5300725 B2 JP5300725 B2 JP 5300725B2
Authority
JP
Japan
Prior art keywords
radiant
heat transfer
transfer system
radiating element
radiant heat
Prior art date
Legal status (The legal status is an assumption and is not a legal conclusion. Google has not performed a legal analysis and makes no representation as to the accuracy of the status listed.)
Active
Application number
JP2009529301A
Other languages
English (en)
Other versions
JP2010503824A (ja
JP2010503824A5 (ja
Inventor
トーマス, ディー. ブリセルデン,
Original Assignee
ストーム ディヴェロップメント エルエルシー
Priority date (The priority date is an assumption and is not a legal conclusion. Google has not performed a legal analysis and makes no representation as to the accuracy of the date listed.)
Filing date
Publication date
Application filed by ストーム ディヴェロップメント エルエルシー filed Critical ストーム ディヴェロップメント エルエルシー
Publication of JP2010503824A publication Critical patent/JP2010503824A/ja
Publication of JP2010503824A5 publication Critical patent/JP2010503824A5/ja
Application granted granted Critical
Publication of JP5300725B2 publication Critical patent/JP5300725B2/ja
Active legal-status Critical Current
Anticipated expiration legal-status Critical

Links

Images

Classifications

    • FMECHANICAL ENGINEERING; LIGHTING; HEATING; WEAPONS; BLASTING
    • F24HEATING; RANGES; VENTILATING
    • F24DDOMESTIC- OR SPACE-HEATING SYSTEMS, e.g. CENTRAL HEATING SYSTEMS; DOMESTIC HOT-WATER SUPPLY SYSTEMS; ELEMENTS OR COMPONENTS THEREFOR
    • F24D5/00Hot-air central heating systems; Exhaust gas central heating systems
    • F24D5/06Hot-air central heating systems; Exhaust gas central heating systems operating without discharge of hot air into the space or area to be heated
    • F24D5/08Hot-air central heating systems; Exhaust gas central heating systems operating without discharge of hot air into the space or area to be heated with hot air led through radiators
    • FMECHANICAL ENGINEERING; LIGHTING; HEATING; WEAPONS; BLASTING
    • F23COMBUSTION APPARATUS; COMBUSTION PROCESSES
    • F23CMETHODS OR APPARATUS FOR COMBUSTION USING FLUID FUEL OR SOLID FUEL SUSPENDED IN  A CARRIER GAS OR AIR 
    • F23C3/00Combustion apparatus characterised by the shape of the combustion chamber
    • F23C3/002Combustion apparatus characterised by the shape of the combustion chamber the chamber having an elongated tubular form, e.g. for a radiant tube
    • FMECHANICAL ENGINEERING; LIGHTING; HEATING; WEAPONS; BLASTING
    • F23COMBUSTION APPARATUS; COMBUSTION PROCESSES
    • F23CMETHODS OR APPARATUS FOR COMBUSTION USING FLUID FUEL OR SOLID FUEL SUSPENDED IN  A CARRIER GAS OR AIR 
    • F23C2900/00Special features of, or arrangements for combustion apparatus using fluid fuels or solid fuels suspended in air; Combustion processes therefor
    • F23C2900/03009Elongated tube-shaped combustion chambers

Landscapes

  • Engineering & Computer Science (AREA)
  • Chemical & Material Sciences (AREA)
  • Combustion & Propulsion (AREA)
  • Mechanical Engineering (AREA)
  • General Engineering & Computer Science (AREA)
  • Physics & Mathematics (AREA)
  • Thermal Sciences (AREA)
  • Combustion Of Fluid Fuel (AREA)
  • Gas Burners (AREA)

Description

本発明は、2006年9月18日に出願された「Radiant Heat Transfer System」と題する米国特許仮出願番号第60/825939号の優先権を主張し、ここで明示したことによりこの米国特許仮出願の内容全体を包含する。
放射加熱システムは、スチール、セラミック又はその他の材料、水又はその他液体等の加熱に使用されている。多くの放射加熱システムは、放射源の内部に配置された放射要素を有している。放射要素は、燃料の燃焼から放射源への熱伝達を増大させるために使用される。放射要素は、温度及び/又は加熱サイクルにより時期尚早に又は不意に機能しなくなることがある。放射要素はまた、放射源の故障を招くホットスポット及びその他不均一な熱伝達部位を生じることがある。
一般に、燃料が燃焼(酸化)すると熱を生じる。一般的な燃料は、化石燃料、例えば天然ガス、石油、石炭、再生可能燃料、例えばバイオマス等である。生成された熱は、物体を加熱するためにオーブンに移されるか、又は流体、例えば液体又は気体に移される。熱は、伝導、対流、放射のうちの少なくとも一つにより伝達される。伝導は固体で起こり、この場合、熱は一の固体、又は固体の一部から別の固体又は同じ固体の一部に移動する。対流は水や空気等の流体で起こり、この場合加熱された流体が一の位置から第二の位置へ移動する。放射は、加熱された物体が発する放射エネルギーが別の物体によって吸収されるときに起こる。放射熱伝達は、熱の伝達に固体、液体、又は気体との接触が不要であるという点で伝導及び対流と異なる。Boyer, Howard E.によるPractical Heat Treating, American Society for Metals, Metals Park, Ohio, 1984年、60-62頁を参照されたい。例えば、太陽は、宇宙の真空を通して放射エネルギーを伝達することにより地球を熱している。
プロセス加熱とも呼ばれる工業用加熱プロセスには、スチール又は他の金属部品の加熱処理と、液体を加熱して対流熱源とする浸漬加熱と、発電用の蒸気生成とが含まれる。一部の工業用加熱プロセスでは、チューブ等の封入物に燃焼生成物を含めることにより、加熱対象物から燃料の燃焼と関連する燃焼生成物とを隔離する。燃料及びオキシダントをチューブ又は封入物の一端から導入し、酸化炭素、水蒸気、及び窒素等の燃焼生成物をチューブ又は封入物の他方の端部から除去する。このようにして、熱は間接的に加熱対象物に伝達される。
図1は、燃焼燃料110から加熱炉130に収容される加熱ゾーン120に熱を間接的に伝達する、プロセス加熱用の従来式の放射熱伝達システム100を示す。放射熱伝達システム100は、空気と燃料の流入口を含む拡散フレームバーナー105を含むことができる。放射熱伝達システムに使用されるバーナーの詳細な説明は、例えば、R. F. Harder, R. Viskanta及びS. Ramadhyaniによる、Gas-Fired Radiant Tubes: A Review of Literature, 1987年12月(Gas research Institute)に見ることができる。図示しないが、加熱炉130は、加熱炉130内部の気体雰囲気を循環させるためのファン又はその他デバイスを含むことができる。気体雰囲気は、例えば、水素、窒素及び一酸化炭素を含むことができる。
従来式の放射熱伝達システム100では、燃焼燃料110からフレーム114が形成される。フレーム114の放射熱伝達特性は通常良好である。また、燃焼の生成物とも呼ばれる燃焼生成物115が燃焼燃料100から形成されて流出口142から出る。燃焼生成物115の放射熱伝達特性はフレーム114と比較して不良である。燃焼生成物115の放射率又は熱放射能力は通常0.1未満である。燃焼生成物115は、化石燃料が燃焼するとき、水蒸気、二酸化炭素、及び窒素を含みうる。燃焼生成物115の温度は、約摂氏260度(℃)(華氏500度)〜約1371℃(華氏2500度)で変化しうる。
加熱炉130の壁は、耐火レンガ等の絶縁体135を用いて絶縁することができる。放射熱伝達システム100は、図示のU字型チューブのような放射源140を含む。チューブの内径は使用に適した大きさとすることができ、通常約7.6cm(3インチ)〜約20cm(8インチ)である。加熱ゾーン120に加えて、放射源140は、加熱路130、絶縁体135等の放射源140に近いいずれかの表面を加熱することができる。U字型チューブを放射源140とする使用に関するこれ以上の説明は、米国特許第5655599号、同第5071685号、及び4789506号に見ることができる。他の放射熱伝達システムでは、放射源140は、直線的なチューブ又はその他の形状を有するチューブか、或いは燃焼燃料110、フレーム114、及び燃焼生成物115を含む何らかの構造とすることができる。
放射源140の第1部分144は、放射源140の第2部分146より大きな熱を加熱ゾーン120に放射することができる。第1部分144は、1時間当たり約68,600キロジュール(kj/時)(1時間当たり65,000イギリス熱単位(BTU/時))を放射することができ、第2部分146は約47,500kj/時(45,000BTU/時)を放射することができる。このように、放射源140の第2部分146は、第1部分144の約30%〜約45%だけ少ない放射しか行えない。燃焼燃料110に近く、フレーム114を含む第1部分144の領域は、第2部分146より大きな熱を加熱ゾーン120に放出することとなり、第2部分146には燃焼生成物115が含まれる。放射源140からのこのような不均一な熱伝達により、加熱炉130内において対象物の加熱が不均一となることがあり、これはコストの増大と熱処理製品の質の低下を招く。
放射源140の第2部分146における熱伝達が小さいことの一の理由は、燃焼生成物115の大部分が気体であるために、燃焼燃料110と比較して放射源140の壁に熱を伝達する燃焼生成物115の能力が低いことである。実質的な熱量、例えば約174,000kj/時(165,000BTU/時)が、流出口142から放射源140を出てゆく燃焼生成物115に捕捉されうる。燃焼生成物の熱損失は、放射熱伝達システム100の運転費を増大させうる。
このような失われた熱を放射源140の第2部分146で放射熱に転換する従来の試みが混在する。米国特許第4869230号に開示されているような従来技術による一の方法では、熱放射のための表面積を増大させ、ガス状の燃焼生成物115の運動を増大させて放射源146内でのその対流を大きくするために、波形の合金片を使用する。更に、このようなガス状の燃焼生成物115の運動、又は乱流の増大は、放射源140の第2部分146内に燃焼燃料110が残っている場合にその燃焼率を上昇させうる。乱流は、放射源140の長さ方向に沿ってホットスポットを生じる場合があり、その場合は温度の変化が約150℃(華氏300度)にもなりうる。よって、対流によって熱を吸収し、放射によって熱を伝達するために、金属製のインサートが使用されていた。
短期的には有効であるものの、金属インサートは耐久性でないという欠点を有し、もっと高い温度に対して良好な耐性を有するセラミック製のインサートに置換された。従来のセラミックインサートは、例えば、米国特許第2861596号、同第4153035号、及び同第6484795号に記載されている。一部の従来式インサートは、長手方向に延びる固体の芯から外側へ放射方向に広がり、よって芯の中心点と交差する翼部を有する。しかしながら、金属より高温に対する耐性が良好である一方、セラミック製のインサートは本質的に脆弱であるので、熱サイクル及び使用中に放射熱伝達システム100内で発生する振動により破損又は粉砕するという欠点を有する。セラミック製インサートの破損により、放射源140の破壊が起こりうる。
従って、現在、放射熱システムの改良、特に熱伝達を増大させる及び/又は熱伝達の均一性を向上させることができるシステムに対する需要がある。本発明のシステム、デバイス、及び方法は、従来の放射加熱システムに関する欠点の少なくとも一つを克服する。
本発明は、放射源に挿入される一以上の放射要素を備えた放射熱伝達システムを提供する。各放射要素は、縦方向の空洞を画定する芯部分に、垂直方向に及び/又は接線方向に取り付けられた一以上の翼部を有することができる。
本放射熱伝達システムは、放射源及び放射源の内部に配置される一以上のセラミック製放射要素を含むことができる。少なくとも一つのセラミック製放射要素は、芯部分から延びる一以上の翼部を有する。芯部分は縦方向の空洞を形成する。
放射源に挿入されるセラミック製放射要素は、芯部分及び一以上の翼部を有することができる。芯部分は縦方向の空洞を形成する。各翼部は芯部分から延びる。
添付図面及び後述の説明により本発明に対する理解を深めることができる。図中の構成要素は必ずしも実寸に比例して描かれてはおらず、本発明の原理を説明する部分が強調されている。更に、図では、同様の参照番号は、複数の異なる図面に亘って対応する部分を示している。
燃焼燃料から加熱炉に含まれる加熱ゾーンへと熱を間接的に伝達するプロセス加熱に使用される従来の放射熱伝達システムを示す。 燃焼燃料から加熱炉に含まれる加熱ゾーンへと熱を間接的に伝達するプロセス加熱に使用される放射熱伝達システムを示す。 二つの放射要素と一つのスペーサとを含む放射源の、軸に垂直な断面図である。 二つの放射要素と一つのスペーサとを含む放射源の、軸に沿った断面図である。 放射源内部に放射要素を保持するための保持デバイス及び位置決めロッドの、軸に垂直な図である。 放射源内部において位置決めロッドにより保持されて垂直に位置する放射要素を示す図である。 放射要素を示す図である。 放射要素を示す別の図である。 放射要素を示すまた別の図である。 放射要素を示すまた別の図である。 約45°のほぼ一定のピッチの翼部を有する放射要素の斜視図である。 各翼部の移行部のピッチがそれぞれ、端部における約90°から中央部における約45°に変化する放射要素の斜視図である。 レイノルズ数を求めるための計算を示す。 レイノルズ数を求めるための計算を示す。 長手方向に延びる芯に、接線方向に取り付けられた翼部の、軸に垂直な断面図を示す。 長手方向に延びる芯に、接線方向に取り付けられた別の翼部の、軸に垂直な断面図を示す。 長手方向に延びる芯に、接線方向に取り付けられたまた別の翼部の、軸に垂直な断面図を示す。 芯に垂直に取り付けられた翼部の、軸に垂直な断面図を示す。 芯に垂直な翼部を有する放射要素の斜視図である。 芯に垂直な翼部を有する別の放射要素の斜視図である。 芯に垂直な翼部を有するまた別の放射要素の斜視図である。 芯に垂直な翼部を有するまた別の放射要素の斜視図である。 芯に垂直な翼部を有するまた別の放射要素の斜視図である。 燃焼燃料から、容器に収容される流体に熱を伝達する浸漬加熱用の、放射熱伝達システムを示す。 固体燃料の燃焼により蒸気を生成するボイラー用の放射熱伝達システムを示す。
放射要素は燃焼燃料由来の燃焼生成物を放射エネルギーに変換する。放射要素は、一以上のセラミックから形成することができ、放射チューブ、浸漬チューブ、熱交換チューブ、ボイラー壁、及びその他放射熱アプリケーション等の放射源に使用することができる。各放射要素は長手方向に延びる空洞を画定する芯部分を有する。長手方向の空洞は、放射源内における放射要素の位置を制御するために使用することができる位置決め機構の挿入を可能にする。各放射要素は、芯部分の外面に垂直に及び/又は接線方向に取り付けられた翼部を有することができる。これら翼部は、放射源内部における燃焼生成物の流れの層状部分を大きくする(乱流を抑える)ことができる。流れが層状になる程、燃焼生成物から放射要素への熱伝達が向上し、よって燃焼生成物から放射源への熱伝達が向上する。流れが層状になる程、放射要素及び/又は放射源の故障を引き起こしうる乱流が減少する。
図2は、燃焼燃料210及びフレーム214から加熱炉230に収容される加熱領域220に間接的に熱を伝達するプロセス加熱用の放射熱伝達システム200を示す。放射熱伝達システム200は、第1部分244と第2部分246とを有する放射源240を含む。図1に示す従来式の放射熱伝達システム100とは異なり、図2の放射熱伝達システム200は、放射源240の第2部分246に挿入される少なくとも一つの放射要素260を含む。放射熱伝達システム200は、放射源240の第1部分244に接続されたバーナー205を有する。第1部分244は、放射源240において燃料の大部分又は全部が燃焼する部分である。第2部分246は、放射源240を出る前に燃焼ガスが流れる部分である。図2には三つの放射要素260が示されているが、放射源240の第2部分246に配置される放射要素の数は、一又は複数とすることができる。更に、放射要素260は、放射源240の第2部分246の、一部、ほぼ全部、又は縦方向の長さ全体を占める単一の要素でもよい。好ましくは、一以上の放射要素260は、放射源240の第2部分246の縦方向の長さの約50%を超える部分を占める。更に好ましくは、一以上の放射要素260は、放射源240の第2部分246の縦方向の長さの約70%〜約80%を占める。
放射要素260は、いずれかのセラミックから、好ましくは放射熱伝達システム200内において熱応力に対する耐性の大きなセラミックから形成することができる。セラミックには、本物のセラミックの他に、金属などの添加材料を含むセラミック様材料が含まれる。放射要素260は、炭化ケイ素を含む粉末と、粉末を所望のセラミック構造に融合させる温度に加熱される結合剤と結合したケイ素とを含む、粉末から形成することができる。従って、点火されるセラミックは、シリコン化した炭化ケイ素とすることができる。窒化ケイ素、シリコン−ムライト、アルミナ等のセラミックの形成に、他の材料を使用することができる。好ましくは、放射要素の形成に用いられるセラミックは、約0.4を上回る放射率、好ましくは約0.4〜約0.9の放射率を有する。放射要素260の形成に用いられる材料の放射率性能が良好であると、燃料消費が低減される。
燃焼燃料210が燃焼生成物とフレーム214を形成するとき、ほぼ完全な燃焼ゾーン250が形成される。ほぼ完全な燃焼ゾーン250では、燃焼燃料の少なくとも約80%〜約85%が燃焼生成物215に変換される。好ましくは、ほぼ完全な燃焼ゾーン250において、燃焼燃料210の少なくとも約90%が燃焼生成物215に変換される。燃焼しなかった燃料の残りは、放射源240のほぼ完全な燃焼領域の下流で燃焼される。
放射要素260は、ほぼ完全な燃焼領域250の下流に配置することができる。放射要素260は、燃焼燃料210の約90%が燃焼生成物215に変換済みである燃焼領域250に配置することができる。放射要素260の配置位置が燃焼燃料210に近すぎると、放射要素は役に立たない。放射要素260が放射源240の絶縁部分に配置される場合同様の故障が起こりうる。放射要素260の配置位置がほぼ完全な燃焼領域250から離れすぎていると、燃焼生成物215に捕捉された熱を放射エネルギーに変換する放射要素260の能力が低下することがある。従って、放射源240内における一又は複数の放射要素260の位置決めを適切に行うことが好ましい。
放射源240の軸に垂直な断面の面積における放射要素260の占有率が大きすぎる場合、燃焼生成物の乱流及び/又は逆圧が、放射要素260及び/又は放射源240が故障するまで上昇する可能性がある。放射源240の軸に垂直な断面の面積における放射要素260の占有率は約20%未満、好ましくは約5%〜約10%とする。同様に、放射要素260が燃焼生成物215の流れを十分に方向付けしないと、燃焼生成物215の熱は効率よく放射エネルギーに変換されない。従って、放射要素260が燃焼生成物215から熱を放射する一方、放射要素260又は放射源240の機械的故障を発生させうる燃焼生成物215の流れにおける乱流を増大させないことが望ましい。
燃焼生成物215内部の熱の一部を放射エネルギーに変換することにより、放射要素260は、放射源240の第1部分244及び第2部分246からの熱伝達の均一性を向上させることができ、且つ燃焼燃料210から加熱領域220に伝達される放射熱を増大させることができる。例えば、約174,000kj/時(165,000BTU/時)の熱が、図1に示す従来式の放射熱伝達システム100の出口142から失われる。図2の放射熱伝達システム200では、放射要素260が、燃焼生成物215から約15,800kj/時(15,000BTU/時)の熱を回収して放射源240の第2部分246に放散することができる。従って、図1の放射源140の第1部分140と第2部分146との間で約21,100kj/時(20,000BTU/時)であった差異は、放射要素260を有する図2では、5,300kj/時(5,000BTU/時)に低減する。
図3Aは、放射源340の軸に垂直な断面図である。図3Bは、放射源340内に配置された二つの放射要素360の長手方向に沿った断面図である。各放射要素360は中央に長手方向に延びる芯部分370を含む。芯部分370の内部には、長手方向に延びる空洞375が画定されている。芯部分370の外面には少なくとも一つの翼部390が取り付けられる外面372が画定されている。端面392は、軸に沿って長手方向に延びる芯部分370から最も離れた位置にあり、放射源340の内壁に接触しても接触していなくともよい。端面392は、放射源340の内壁に接触する場合を含めて放射要素360の位置決めの精度、又は別の放射要素に対する位置決めの精度を向上させるような形状を有することができる。等しい内径を有するチューブより放射要素360の表面積を大きくすることにより、放射要素360の熱放射率を同じ外径及び長さを有する円形チューブより大きくすることができる。放射要素360は、放射源340内の全放射要素の表面積に等しい要素表面積を有している。放射源340が持つ放射源表面積は、放射要素360に対向する放射源の内壁の面積であるか、又は放射要素360の長さに対応する面積である。放射源表面積に対する要素表面積の比は、約1.1:1より大きい。放射源表面積に対する要素表面積の比は、約1.1:1〜約3:1とすることができる。放射源表面積に対する要素表面積の比は、約1.2:1〜約1.5:1とすることができる。これら表面積を他の比とすることもできる。このように、放射要素360は、エネルギーの吸収及び放射を増大させることにより、放射源340への熱伝達を増大させることができる。
空洞375は、放射要素360の長手方向の各端部から到達可能である。図3Bには基本的に円形のチューブとして示したが、空洞375の形状はどのようなものでもよく、例えば球状、三角形、多角形、長方形、楕円形、これらの組み合わせ又はその他の形状とすることができる。空洞375の大きさと形状は、放射要素360の長手方向の長さに沿って変化させることができる。よって、空洞375の軸に垂直な断面は、放射要素360の長手軸に沿って対称でも非対称でもよい。空洞375の直径は、少なくとも約0.635cm(0.25インチ)であり、好ましくは約1.27cm(0.5インチ)〜約1.91cm(0.75インチ)である。別の態様では、空洞375と外面372の間の芯部分370の厚さは少なくとも約0.317cm(0.125インチ)であり、好ましくは0.635cm(0.25インチ)〜約1.27cm(0.5インチ)である。空洞の直径及び芯の厚さに他の値を使用することもできる。
放射源340内部における放射要素360の位置を制御するために位置決め機構を使用することができる。この位置決め機構は、位置決めロッド380、停止デバイス386、及び保持デバイス387を含む。位置決めロッド380は、一以上の放射要素360の長手方向に延びる空洞375内に配置される。空洞375内にロッド380を通すことにより、放射要素360を保持することができる。ロッド380は、スチール、セラミック、合金、これらの組み合わせ又は同様の材料で作製することができる。ロッド380は、空洞375の第1端から第2端までその長さ全体に亘って通すことができる。一以上の放射要素360がロッド380を塞いでいる場合、放射要素360の芯部分370の接触を防ぐのに十分に大きな外径を有するスペーサ382をロッド380上に配置することができる。このスペーサは、長さ約2.5cm(1インチ)〜32cm(12.5インチ)とすることができる。スペーサの長さは、放射源340の内径に応じて選択することができる。他の長さのスペーサも使用可能である。ロッド380の一部を含むことに加えて、空洞375は、燃料ガス以外のガス等の流体を放射要素360に注入することができる。
ロッド380の第1端384には、芯部分370がロッド380の第1端384から滑り落ちてしまうことを防ぐのに十分な停止デバイス386を設けることができる。ロッド380の第1端384にはネジ山を設けることができる。ワッシャとボルト、又はワッシャとナットをロッド380に配置することにより、放射要素360がロッド380の第1端384から滑り落ちてしまうことを防ぐことができる。ロッド380の第1端384を曲げて停止デバイス386を設けることにより、放射要素360のスライドを防止することができる。放射要素360がロッド380から滑り落ちることを防ぐために、他の停止デバイスを使用することもできる。
図3Cに示すように、ロッド380の第2端388に保持デバイス387を設けることができる。保持デバイス387は、ロッド380を放射源340に固定又は接続する一以上の横断片、キャップ、金属バー等とすることができる。保持デバイス387内にロッド380を保持するために、ロッド380の第2端388は曲げることができるか、或いはロッド380の第2端388にワッシャ及び/又はナット389を設けることができる。保持デバイス387は、放射源340に対してロッド380を固定する何らかの装置を含むことができる。このようにして、ロッド380は、特定の位置に放射要素360を配置することができるか、又は放射源340内部において放射要素360を特定の方向に向けることができる。
放射源340内で放射要素360が水平に配置される場合、ロッド380は、放射要素360に圧縮力をかけるのに十分な数の放射要素及び/又はスペーサを含むことができる。例えば、ロッド380の第1端384及び第2端388のボルトを締めることにより、一又は複数の放射要素360を圧縮された状態で保持することができる。ボルトを締めることにより印加されるこの水平方向の圧縮力により、重力によって放射要素360に垂直方向に掛かる張力に耐えることができる。
図3Dでは、放射源340内で放射要素360が垂直に配置されている。垂直に配置された場合、放射要素360は、ロッド380をスペーサと放射要素で満たすことなく、圧縮力下に配置することができる。この態様では、保持デバイス387を用いてロッド380を放射源340の上部に保持すること、及び停止デバイス386を用いて一又は複数の放射要素360をロッド380上に保持することにより、放射要素360上に掛かる圧縮力が重力によって維持される。
図3Dでは、一又は複数の放射要素360は、張力に相反して圧縮力下に保持されている。放射要素360の材料であるセラミックの機械的強度は、圧縮力下では良好であるが、張力下では不良である。上述したように、従来のセラミック製インサートは、振動及び熱衝撃によりしばしば機能しなくなる。従って、放射源340内で垂直であるか水平であるかに関わらず、圧縮力下に放射360を保持することにより、熱的及び/又は機械的衝撃に対する耐性に関するセラミック材料の要件は低減する。圧縮力下に放射360を保持することにより、当該要素の故障率を下げることができる。
図4A〜4Dは、放射要素460を示す異なる図である。図4Eは、約45°のほぼ一定のピッチを有する翼部を備えた放射要素の斜視図である。図4Fは、各翼部のピッチが端部における約90°から中央における約45°に変化する放射要素の斜視図である。燃焼生成物は層状になって又は乱流となって、放射要素460を通過する。放射要素460の表面積は、表面全体に亘って燃焼生成物が乱流となることを抑え、燃焼生成物を層状に方向付けると同時に、燃焼生成物から吸収された熱を放射するような大きさにすることができる。好ましくは、放射要素460上の燃焼生成物の流れは、層状又はほぼ層状の流れである。放射要素460により乱流のレベルが従来のセラミック製インサートより低くなることで、ホットスポット及び故障に繋がりうる乱流によるその他の欠点を回避しながら、熱放射を増大させることができる。
レイノルズ数(Re)は、流れが層状であるか、乱流であるか、移行性であるか、又は混合性であるかを示す。例えば、チューブ内において2300を下回るReは層状であると考えられる一方、4500を上回るReは乱流と考えられる。2300〜4500のReは、移行性又は混合性と考えられる。このように、レイノルズ数が小さいほど層状に流れていることが示される。別の実施例では、内径10.16cm(4インチ)の放射チューブ内を移動する燃焼生成物のReは3742であり、よって層状であるというよりは移行性であるか、又は乱流に近い。これと比べて、内径約10.16(4インチ)の放射チューブ内で三つの翼部を有する放射要素を通過して流れる燃焼生成物は1914というReを有し、層状に流れる。これらのレイノルズ数を求めるための計算を図4G−1及び4G−2に示す。これらの計算は、三つの翼部を有する放射要素に関するもので、二つの翼部の間の流れについて計算されたレイノルズ数を示す。層状の流れ、乱流、又は混合流を示す他のレイノルズ数を有するチューブを使用することもできる。このように、本発明の放射要素は、放射源を通過する燃焼生成物の層状の流れを増大させることができる。本放射要素は、放射源を通って流れる燃焼生成物のReを2300未満とすることができ、更に好ましくは1500〜2300とすることができる。本放射要素により燃焼生成物の流れに達成されるレイノルズ数は他の数値でもよい。
図4Aの斜視図と図4Dの軸に垂直な断面図に示すように、放射要素460は長手方向に延びる中央の芯部分470を有し、この芯部分には、長手方向に延びる空洞475と、三つの翼部490が取り付けられた外面472が画定されている。翼部490は、外面472又は芯部分470の外側表面に対し、垂直に、接線方向に、これらの組み合わせで、又は別の形状で取り付けることができる。好ましくは、翼部490は、垂直に、接線方向に、又はこれらの形状の組み合わせで取り付けられる。更に好ましくは、翼部490は、接線方向に取り付けられる。
翼部490は、放射要素460の表面積を増大させることができる。図示の放射要素460は三つの翼部を有しているが、一又は複数の翼部を使用することができる。放射要素460が五つ以上の翼部を含む場合、これにより放射源のオープンな断面積が減少して、燃焼生成物の流れの速度に望ましくない低下をもたらしうる。芯部分470は翼部490を有する部分と有さない部分を持つことができる。
図4Bは、約45°のピッチ角を持つ螺旋形状の翼部490を示す。翼部490のピッチ角は、放射要素460の中心軸又は芯部分470に対する翼部の方向である。約20°〜約90°のピッチ角が好ましく、約30°〜約60°の角度が更に好ましい。他のピッチ角も使用可能である。翼部490のピッチ角は、一定に維持されても、又は放射要素460の長手方向の長さに沿って変化してもよい。例えば、図4Eは、約45°のほぼ一定のピッチを有する翼部を備えた放射要素460の斜視図である。対照的に、図4Fは、端部で約90°である翼部のピッチが中央で約45°に移行する放射要素の斜視図である。中央で約45°のピッチ角と端部で約90°のピッチ角の間の遷移が滑らかであると、角度間の移行が段階的に行われる設計と比較して乱流を減少させることができる。
図4Cは、放射要素460の長手方向に沿った断面図である。図4Dは、翼部490の厚みが、終端部492よりも外面472に接続する部分で大きいことを示している。このように翼部490の厚みは不均一でよく、外面472から終端部492に向かって次第に小さくすることができる。一又は複数の翼部に関し、芯部分470の直径に対する翼部の高さ(外面472から終端部492までの距離)の比は、約4:1より大きくすることができる。芯部分470の直径に対する翼部の高さの比は、4:1〜50:1とすることができる。芯部分470の直径に対する翼部の高さの比は、約5:1〜11:1とすることができる。芯部分470の直径に対する翼部の高さの他の比も使用可能である。
図5A〜5Cは、長手方向に延びる中央の芯部分570に対して接線方向に取り付けられた翼部590の、軸に垂直な断面図である。図5Aでは、翼部590は真っ直ぐで、長手方向に延びる中央の芯部分570の外面を表わす円593に正接する。この図では、円593に対する翼部590の角度は約0°である。図5Bでも翼部590は円593に正接しているが、その形状は曲線をなしている。図5Aの直線的な翼部とは異なり、図5Bの曲線的な翼部は、芯部分570から取り外されてもテーブル上で平坦になることがない。従って、曲線的な翼部の終端は、翼部の、長手方向に延びる中央の芯部分570に取り付けられる部分と直線状に並ぶことはない。図5Cでは、長手方向に延びる中央の芯部分570は三角形であり、よって曲線状の翼部が芯部分570の中心点593に正接することができる。図5A〜5Cとは異なり、図5Dの翼部590は正接しておらず、長手方向に延びる芯部分570に対して垂直(ほぼ90°)である。
図6A〜6Eは、長手方向に延びる芯部分670の外面694又は外側の表面に垂直な翼部690を備える様々な放射要素の斜視図である。図6Aは、放射要素の上部に、約90°で垂直に取り付けられた翼部690を示す。図6Bは、長手方向に延びる芯部分670にやはり約90°で垂直に取り付けられた曲線的な翼部690を示す。図6Cは、長手方向に延びる芯部分670に垂直な翼部690を示すが、この場合、翼部690のピッチは端部における約90°から中央領域における約45°まで変化する。図6Dは、長手方向に延びる芯部分670から、翼部691よりも遠くに延びる翼部692を示しており、これにより異なる高さの翼部を含む放射要素が構成されている。図6Eに示す放射要素の翼部は中心点694に垂直に取り付けられているが、この翼部690は複雑な曲線形状を有している。
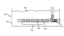
図7は、燃焼燃料710から容器730に収容される流体720に熱を伝達する間接的浸漬加熱用の放射熱伝達システム700を示す。流体720は、水、油、食塩水等の液体でよい。放射熱伝達システム700は、排出部746を有する放射源740を含む。排出部746は少なくとも一つの放射要素760を含む。図7には複数の放射要素760が示されているが、放射源740の排出部746に配置する放射要素は一又は複数とすることができる。更に、放射要素760は、排出部の長手方向の長さの一部、ほぼ全部、又は全体を占める単一の要素でもよい。好ましくは、一又は複数の放射要素760は、放射源740の排出部746の長手方向の長さの約半分から全部を占める。
図8は、石炭又はバイオマス等の固体燃焼燃料810からなる土台から、チューブ820内に蒸気を生成するバイオマス又はその他ボイラー用の放射熱伝達システム800を示す。例えば、燃焼燃料810の下方から空気を導入することができる。放射要素860は、燃焼燃料810の上方に位置する位置決めロッド880上に保持されている。好ましくは、複数の放射要素860は、燃焼燃料810の上方に、圧縮された状態で保持される。燃焼生成物815は、燃焼燃料810から放射要素860を越えて流れる。放射要素860は燃焼生成物815から熱を吸収し、蒸気チューブ820にエネルギーを放射する。
本明細書及び請求の範囲の明瞭且つ一貫した理解のために、下記のように定義する。
「放射率」とは、放射により熱を発する表面の相対的な力を意味し、同じ温度において、黒体(反射無しで全ての放射エネルギーを吸収する理想的表面)によって放出される放射エネルギーに対する、表面によって放出される放射エネルギーの比として表わすことができる。即ち、第1の材料の、第2の材料へ熱を伝達する能力である。WebsterのNew Collegiate Dictionary, G. & C. Merriam Company, Springfield, Massachusetts, 1977年、115、372頁を参照のこと。
「圧縮」という用語は、互いに圧迫し合う作用を意味する。
「張力」という用語は、引き伸ばす作用を意味する。
燃焼生成物の流れに関して「層状」という場合、この用語は、個々の粒子が規則的な又は安定した動きで運動することにより滑らかな流れのライン又は経路が形成されるときの流れの状態を指す。所定のポイントを通過する粒子が同じ経路を辿る。Pritchard, R.ら、Handbook of Industrial Cas Utilization, Van Nostrand Reinhold Company, New York, 1977、30-31頁参照。
燃焼生成物の流れに関して「乱流」という場合、この用語は、個々の粒子が不規則な又は不安定な動きで運動することにより不均一な流れのライン又は経路が形成されるときの流れの状態を指す。層状の流れから乱流への移行は、流体の速度又は速さが臨界値を超えたときに起こる。Pritchard, R.ら、Handbook of Industrial Cas Utilization, Van Nostrand Reinhold Company, New York, 1977、30-31頁参照。
「放射状」翼部とは、放射要素の中心点から半径に沿って外側へ延びる翼部を指す。
「垂直な」翼部とは、放射要素の長手方向に延びる芯の外側等の表面から、垂直に又はほぼ90°の角度で延びる翼部を指す。翼部が放射要素の中心点から半径に沿って外側に延びる場合、「垂直な」翼部は「放射状」でありうる。
「接線方向の」又は「正接する」翼部とは、放射要素の長手方向に延びる芯の外側等の表面から、90°以外の角度で延びる翼部を指す。
本明細書では本発明の様々な実施形態について説明したが、当業者には、本発明の範囲内において他の実施形態及び実施方法が可能であることは明らかである。従って、本発明は、請求の範囲及びその均等物によってのみ制限されるものである。

Claims (13)

  1. 放射源、及び放射源の内部に配置される少なくとも一つのセラミック製放射要素を備えた放射熱伝達システムであって、
    少なくとも一つのセラミック製放射要素が、芯部分から延びる少なくとも一つの翼部を有し、且つ芯部分に長手方向に延びる空洞が形成されており、当該空洞内に位置決め機構を備え、当該位置決め機構が、
    空洞内に長手方向に配置される位置決めロッド、
    位置決めロッドの一方の端部に接続される停止デバイス、及び
    位置決めロッドの他方の端部に接続される保持デバイス、
    から構成される、放射熱伝達システム。
  2. 放射要素の間にスペーサを備える、請求項1に記載の放射熱伝達システム。
  3. 少なくとも一つのセラミック製放射要素の放射率が0.4〜0.9である、請求項1に記載の放射熱伝達システム。
  4. 放射源が放射チューブである、請求項1に記載の放射熱伝達システム。
  5. 第1部分と第2部分とを有する放射チューブ、
    第1部分に接続されたバーナー、及び
    第2部分に配置された少なくとも一つの放射要素
    を備える、請求項4に記載の放射熱伝達システム。
  6. 放射要素の間にスペーサを備える、請求項5に記載の放射熱伝達システム。
  7. セラミック製放射要素が、芯部分に正接する少なくとも一つの翼部を有する、請求項1に記載の放射熱伝達システム。
  8. 少なくとも一つの翼部が、螺旋角度を画定する螺旋形状を有し、且つ螺旋角度が20°〜90°である、請求項1に記載の放射熱伝達システム。
  9. 少なくとも一つの翼部が曲線形状である、請求項1に記載の放射熱伝達システム。
  10. 螺旋角度が一定である、請求項8に記載の放射熱伝達システム
  11. 螺旋形状が一の螺旋角度から別の螺旋角度に移行する、請求項8に記載の放射熱伝達システム
  12. 螺旋角度が90°から45°に移行する請求項11に記載の放射熱伝達システム
  13. 螺旋角度が放射要素の一方の端部における90°から放射要素の中央部における45°に移行し、且つ螺旋角度が放射要素の他方の端部における90°から放射要素の中央部における45°に移行する、請求項11に記載の放射熱伝達システム
JP2009529301A 2006-09-18 2007-09-08 放射熱伝達システム Active JP5300725B2 (ja)

Applications Claiming Priority (3)

Application Number Priority Date Filing Date Title
US82593906P 2006-09-18 2006-09-18
US60/825,939 2006-09-18
PCT/US2007/077951 WO2008036515A2 (en) 2006-09-18 2007-09-08 Radiant heat transfer system

Publications (3)

Publication Number Publication Date
JP2010503824A JP2010503824A (ja) 2010-02-04
JP2010503824A5 JP2010503824A5 (ja) 2010-10-21
JP5300725B2 true JP5300725B2 (ja) 2013-09-25

Family

ID=39201154

Family Applications (1)

Application Number Title Priority Date Filing Date
JP2009529301A Active JP5300725B2 (ja) 2006-09-18 2007-09-08 放射熱伝達システム

Country Status (4)

Country Link
US (1) US20090277969A1 (ja)
EP (1) EP2069692B1 (ja)
JP (1) JP5300725B2 (ja)
WO (1) WO2008036515A2 (ja)

Families Citing this family (15)

* Cited by examiner, † Cited by third party
Publication number Priority date Publication date Assignee Title
US20110303211A1 (en) * 2010-06-15 2011-12-15 Enerco Group, Inc. Efficient Forced Air Heater
US9296275B2 (en) * 2013-01-04 2016-03-29 Denso International America, Inc. Multi-function infrared heating device
US10030867B2 (en) * 2013-09-19 2018-07-24 PSNergy, LLC Radiant heat insert
WO2015062619A1 (en) 2013-10-28 2015-05-07 Erbicol Sa Inserts for burners and radiant tube heating systems
GB2529407B (en) * 2014-08-18 2020-01-08 Joan Philomena Jones Heater
US10458646B2 (en) * 2014-09-25 2019-10-29 Selas Heat Technology Company Llc Low NOx, high efficiency, high temperature, staged recirculating burner and radiant tube combustion system
JP2017083127A (ja) * 2015-10-30 2017-05-18 Jfeスチール株式会社 伝熱促進体およびラジアントチューブ
US10888197B2 (en) 2017-03-24 2021-01-12 Alto-Shaam, Inc. Gas heat exchanger with baffle for deep fat fryer
JP6708909B2 (ja) * 2017-05-16 2020-06-10 丸越工業株式会社 伝熱促進体、伝熱促進体の配設方法、伝熱促進体の製造方法、ラジアントチューブ式加熱装置及びラジアントチューブ式熱交換器
USD910830S1 (en) 2019-04-12 2021-02-16 Saint-Gobain Ceramics & Plastics, Inc. Flame diffuser insert for immersion tube furnace
USD910829S1 (en) 2019-04-12 2021-02-16 Saint-Gobain Ceramics & Plastics, Inc. Flame diffuser insert for immersion tube furnace
JP7669369B2 (ja) * 2019-12-12 2025-04-28 サン-ゴバン セラミックス アンド プラスティクス,インコーポレイティド 変化するねじれ角を有する熱交換器コンポーネント
JP7036455B2 (ja) * 2020-04-24 2022-03-15 丸越工業株式会社 伝熱促進体及びその製造方法
CN117957401A (zh) * 2021-09-03 2024-04-30 圣戈本陶瓷及塑料股份有限公司 被构造用于辐射管中的主体
US20250075907A1 (en) * 2023-09-01 2025-03-06 Saint-Gobain Ceramics & Plastics, Inc. Bodies configured for use in radiant tubes

Family Cites Families (68)

* Cited by examiner, † Cited by third party
Publication number Priority date Publication date Assignee Title
US1730288A (en) * 1929-10-01 Gas mixer
US830268A (en) * 1905-10-27 1906-09-04 Patent Fin Hot Water Heating Company A means or device for improving the circulation and augmenting the heating capacity of the fluid in heating systems.
US874673A (en) * 1907-01-17 1907-12-24 Francis William Green Air-heater.
US1770208A (en) * 1924-02-29 1930-07-08 Babcock & Wilcox Co Air heater
US1838105A (en) * 1924-05-08 1931-12-29 Metropolitan Eng Co Superheater or the like
US1818082A (en) * 1928-08-10 1931-08-11 George T Mott Apparatus for heat exchanging
US1816412A (en) * 1929-05-15 1931-07-28 Charles W Tipton Gas mixing device
US1916337A (en) * 1931-11-28 1933-07-04 Int Precipitation Co Heat interchanging apparatus
US2097104A (en) * 1936-02-08 1937-10-26 Aatto P Saha Heat exchange apparatus
US2068477A (en) * 1936-04-17 1937-01-19 Lee Wilson Furnace
US2081612A (en) * 1936-11-13 1937-05-25 Lee Wilson Baffle for heat exchange tubes
US2226816A (en) * 1937-11-11 1940-12-31 Surface Combustion Corp Heating apparatus
US2161887A (en) * 1938-01-07 1939-06-13 Young Radiator Co Turbulence strip for radiator tubes
US2253920A (en) * 1939-01-06 1941-08-26 Electric Furnace Co Radiant tube heater
US2763516A (en) * 1951-10-01 1956-09-18 Phillips Petroleum Co Conveying of fluidized mass of particles and apparatus therefor
US2692763A (en) * 1952-03-08 1954-10-26 Air Preheater Supporting spacer for annular corrugated fins
US2778610A (en) * 1953-03-11 1957-01-22 Griscom Russell Co Catalyst finned tubing and method of making
US2902270A (en) * 1953-07-17 1959-09-01 Svenska Skifferolje Ab Method of and means in heating of subsurface fuel-containing deposits "in situ"
US2895508A (en) * 1955-11-23 1959-07-21 Patterson Kelley Company Inc Heat exchange conduit
US2879369A (en) * 1955-12-09 1959-03-24 Harold W Huseby Corner radiant heat assembly
US2861596A (en) 1956-02-27 1958-11-25 Harold N Ipsen Heat exchanger baffle system
US3036818A (en) * 1958-01-29 1962-05-29 Foster Wheeler Francaise Soc Heat exchanger
US3071159A (en) * 1958-04-19 1963-01-01 Coraggioso Corrado Bono Heat exchanger tube
US3119439A (en) * 1959-09-17 1964-01-28 American Thermocatalytic Corp Mounting of combustion elements
US3195627A (en) * 1961-04-12 1965-07-20 Gen Cable Corp Heat exchangers
FR1359678A (fr) 1963-01-14 1964-04-30 Aquitaine Petrole Préparation des hydroxythiols
US3262494A (en) * 1963-11-14 1966-07-26 Hupp Corp Radiant heater having independent sinuous internested tubes
US3275196A (en) * 1964-07-01 1966-09-27 Intercompany Corp Anti-offset powder distributor
US3394736A (en) * 1966-02-21 1968-07-30 Acme Ind Inc Internal finned tube
US3407871A (en) * 1966-07-25 1968-10-29 Phillips Petroleum Co Heat exchanger
AT287164B (de) * 1967-08-17 1971-01-11 Aichelin Fa J Strahlheizrohr für Industrieöfen
FR2123195B1 (ja) * 1971-01-28 1973-12-07 Chausson Usines Sa
JPS5130659Y2 (ja) * 1971-02-19 1976-08-02
BE795314A (fr) * 1972-02-10 1973-05-29 Raufoss Ammunisjonsfabrikker Conduit echangeur de chaleur
US3886976A (en) * 1973-10-25 1975-06-03 Inst Gas Technology Recuperator having a reradiant insert
US4099514A (en) * 1974-01-07 1978-07-11 Mario Posnansky Method and apparatus for heating a fluid medium by means of solar energy
DE2413381A1 (de) * 1974-03-20 1975-10-02 Ludwig Ofag Indugas Gmbh Strahlrohr
US3920383A (en) * 1974-06-20 1975-11-18 Electric Furnace Co Fluted surface heat exchanger
US4090559A (en) * 1974-08-14 1978-05-23 The United States Of America As Represented By The Secretary Of The Navy Heat transfer device
US4044796A (en) * 1976-02-09 1977-08-30 Smick Ronald H Turbulator
IT1067985B (it) 1976-08-24 1985-03-21 Birfield Trasmissioni Dispositivo di riscaldamento per la camera di un forno industriale
GB1555752A (en) * 1977-02-04 1979-11-14 Dunlop Ltd Indirect heat transfer apparatus
US4200148A (en) * 1978-04-03 1980-04-29 Rockwell International Corporation Storing and extracting latent heat
FR2442421A1 (fr) * 1978-11-24 1980-06-20 Ferodo Sa Perfectionnements apportes aux echangeurs de chaleur tubulaires et aux agitateurs destines a de tels echangeurs
US4336883A (en) * 1980-06-09 1982-06-29 Divajex Insulated container
US4390125A (en) * 1981-02-12 1983-06-28 Detroit Radiant Products Company Tube-fired radiant heating system
JPS5818015A (ja) * 1981-07-24 1983-02-02 Daido Steel Co Ltd 放射管
JPS5959629U (ja) * 1982-10-14 1984-04-18 日本鋼管株式会社 ラジアントチユ−ブ機構
US4559998A (en) * 1984-06-11 1985-12-24 The Air Preheater Company, Inc. Recuperative heat exchanger having radiation absorbing turbulator
JPS61147009A (ja) * 1984-12-19 1986-07-04 Toshiba Ceramics Co Ltd ラジアントチユ−ブ
JPS62186130A (ja) * 1986-02-10 1987-08-14 Nippon Chem Plant Consultant:Kk 遠赤外線放射装置
US4712734A (en) * 1986-05-08 1987-12-15 Johnson Arthur C W Low-intensity infrared heating system with effluent recirculation
EP0248629B1 (en) * 1986-06-04 1992-08-12 Ambi-Rad Limited Space heating appliance
JPS6361888A (ja) * 1986-09-03 1988-03-18 Mitsubishi Heavy Ind Ltd 伝熱管
US4789506A (en) * 1986-11-07 1988-12-06 Gas Research Institute Method of producing tubular ceramic articles
US5071685A (en) * 1986-11-07 1991-12-10 Kasprzyk Martin R Ceramic articles, methods and apparatus for their manufacture
JPH064171Y2 (ja) * 1987-05-01 1994-02-02 大同特殊鋼株式会社 ラジアントチユ−ブ
US4823865A (en) * 1988-02-18 1989-04-25 A. O. Smith Corporation Turbulator construction for a heat exchanger
CA2074200A1 (en) * 1991-08-20 1993-02-21 Robert G. Smith High temperature ceramic composite
US5655599A (en) * 1995-06-21 1997-08-12 Gas Research Institute Radiant tubes having internal fins
AU750457B2 (en) * 1997-12-24 2002-07-18 Cfm Corporation Gas burner for fireplace
CA2310789C (en) * 1999-08-06 2008-09-09 Pat Caruso Radiant heater system
US6484795B1 (en) 1999-09-10 2002-11-26 Martin R. Kasprzyk Insert for a radiant tube
JP2002022370A (ja) * 2000-07-10 2002-01-23 Toshiba Ceramics Co Ltd シングルエンド熱交換器
US6786422B1 (en) * 2001-10-30 2004-09-07 Detroit Radiant Products Co. Infrared heating assembly
JP4026759B2 (ja) * 2002-11-18 2007-12-26 日本碍子株式会社 加熱装置
US7111623B2 (en) * 2004-04-13 2006-09-26 Jeffrey Grant Designs, L.L.C. Heat deflecting baffle for direct vent fireplace
JP2006029638A (ja) * 2004-07-13 2006-02-02 Toho Gas Co Ltd ラジアントチューブバーナ

Also Published As

Publication number Publication date
US20090277969A1 (en) 2009-11-12
EP2069692A2 (en) 2009-06-17
WO2008036515A2 (en) 2008-03-27
EP2069692B1 (en) 2019-01-09
JP2010503824A (ja) 2010-02-04
EP2069692A4 (en) 2016-11-30
WO2008036515A3 (en) 2008-12-31

Similar Documents

Publication Publication Date Title
JP5300725B2 (ja) 放射熱伝達システム
US6159001A (en) Advanced emissive matrix combustion
US6835360B2 (en) Compact endothermic catalytic reaction apparatus
RU2643734C2 (ru) Способ и устройство для проведения эндотермических реакций
US6484795B1 (en) Insert for a radiant tube
CN102183165A (zh) 一种换热管和具有螺旋扁管自身预热装置的燃烧器
EP3198193A1 (en) Low nox, high efficiency, high temperature, staged recirculating burner and radiant tube combustion system
JP3924175B2 (ja) 蒸気過熱器
CN107504487B (zh) 连续弥散式燃烧装置及形成连续弥散燃烧的方法
CN209101799U (zh) 圆筒型管式加热炉
JP2017133746A (ja) 煙管を備えた真空式温水機
JP2011242086A (ja) 高伝熱性ラジアントチューブ
KR20240128029A (ko) 탄화수소 스팀 분해를 위한 장치 및 프로세스
US20230349546A1 (en) Boiler Tube Insert and Boiler Tubes Having Inserts
JPS6284258A (ja) 流体加熱装置
Kumada A study on the high performance ceramic heat exchanger for ultra high temperatures
CN219740633U (zh) 一种远红外加热器的固定导热装置
JP3485463B2 (ja) 排気熱回収器
CN203784909U (zh) 移动式螺旋方形膜式壁油田蒸汽发生器
CN103868045B (zh) 移动式螺旋方形膜式壁油田蒸汽发生器
CN210373399U (zh) 一种垃圾焚烧余热锅炉过热器扩展受热面的结构
JPH02259322A (ja) ラジアントチューブ
KR101429051B1 (ko) 보일러의 예열장치
Jugjai et al. Heat transfer enhancement to cooling water pipe by a surface combustor heater equipped with a convection-radiation converter
JPS62233639A (ja) 流体加熱装置

Legal Events

Date Code Title Description
A521 Request for written amendment filed

Free format text: JAPANESE INTERMEDIATE CODE: A523

Effective date: 20100903

A621 Written request for application examination

Free format text: JAPANESE INTERMEDIATE CODE: A621

Effective date: 20100903

A977 Report on retrieval

Free format text: JAPANESE INTERMEDIATE CODE: A971007

Effective date: 20120824

A131 Notification of reasons for refusal

Free format text: JAPANESE INTERMEDIATE CODE: A131

Effective date: 20120904

A521 Request for written amendment filed

Free format text: JAPANESE INTERMEDIATE CODE: A523

Effective date: 20121116

TRDD Decision of grant or rejection written
A01 Written decision to grant a patent or to grant a registration (utility model)

Free format text: JAPANESE INTERMEDIATE CODE: A01

Effective date: 20130521

A61 First payment of annual fees (during grant procedure)

Free format text: JAPANESE INTERMEDIATE CODE: A61

Effective date: 20130618

R150 Certificate of patent or registration of utility model

Ref document number: 5300725

Country of ref document: JP

Free format text: JAPANESE INTERMEDIATE CODE: R150

Free format text: JAPANESE INTERMEDIATE CODE: R150

R250 Receipt of annual fees

Free format text: JAPANESE INTERMEDIATE CODE: R250

R250 Receipt of annual fees

Free format text: JAPANESE INTERMEDIATE CODE: R250

S531 Written request for registration of change of domicile

Free format text: JAPANESE INTERMEDIATE CODE: R313531

S533 Written request for registration of change of name

Free format text: JAPANESE INTERMEDIATE CODE: R313533

R350 Written notification of registration of transfer

Free format text: JAPANESE INTERMEDIATE CODE: R350

R250 Receipt of annual fees

Free format text: JAPANESE INTERMEDIATE CODE: R250

R250 Receipt of annual fees

Free format text: JAPANESE INTERMEDIATE CODE: R250

R250 Receipt of annual fees

Free format text: JAPANESE INTERMEDIATE CODE: R250

S111 Request for change of ownership or part of ownership

Free format text: JAPANESE INTERMEDIATE CODE: R313113

R350 Written notification of registration of transfer

Free format text: JAPANESE INTERMEDIATE CODE: R350

R250 Receipt of annual fees

Free format text: JAPANESE INTERMEDIATE CODE: R250

R250 Receipt of annual fees

Free format text: JAPANESE INTERMEDIATE CODE: R250

R250 Receipt of annual fees

Free format text: JAPANESE INTERMEDIATE CODE: R250

R250 Receipt of annual fees

Free format text: JAPANESE INTERMEDIATE CODE: R250