JP5287643B2 - 光学装置の製造方法及び光学装置 - Google Patents

光学装置の製造方法及び光学装置 Download PDF

Info

Publication number
JP5287643B2
JP5287643B2 JP2009225181A JP2009225181A JP5287643B2 JP 5287643 B2 JP5287643 B2 JP 5287643B2 JP 2009225181 A JP2009225181 A JP 2009225181A JP 2009225181 A JP2009225181 A JP 2009225181A JP 5287643 B2 JP5287643 B2 JP 5287643B2
Authority
JP
Japan
Prior art keywords
glass
sealing
substrate
mounting
led element
Prior art date
Legal status (The legal status is an assumption and is not a legal conclusion. Google has not performed a legal analysis and makes no representation as to the accuracy of the status listed.)
Active
Application number
JP2009225181A
Other languages
English (en)
Other versions
JP2011077176A (ja
Inventor
好伸 末広
浩二 田角
Current Assignee (The listed assignees may be inaccurate. Google has not performed a legal analysis and makes no representation or warranty as to the accuracy of the list.)
Toyoda Gosei Co Ltd
Original Assignee
Toyoda Gosei Co Ltd
Priority date (The priority date is an assumption and is not a legal conclusion. Google has not performed a legal analysis and makes no representation as to the accuracy of the date listed.)
Filing date
Publication date
Application filed by Toyoda Gosei Co Ltd filed Critical Toyoda Gosei Co Ltd
Priority to JP2009225181A priority Critical patent/JP5287643B2/ja
Publication of JP2011077176A publication Critical patent/JP2011077176A/ja
Application granted granted Critical
Publication of JP5287643B2 publication Critical patent/JP5287643B2/ja
Active legal-status Critical Current
Anticipated expiration legal-status Critical

Links

Images

Landscapes

  • Led Device Packages (AREA)
  • Led Devices (AREA)

Description

本発明は、搭載基板上の固体光学素子が無機材料により封止される光学装置の製造方法及び光学装置に関する。
搭載基板上の固体素子が無機材料により封止された光学装置が知られている(例えば、特許文献1参照)。特許文献1に記載の光学装置の製造方法では、複数の固体素子を一の連結基板に搭載しておき、板状の低融点ガラスのホットプレス加工を行うことにより、連結基板上にて各固体素子を一括してガラスにより封止する。この後、連結基板とガラスの接合体をダイシングにより分割して複数の光学装置を得ている。
国際公開第2004/82036号
しかしながら、特許文献1に記載の製造方法では、連結基板とガラスとの熱膨張率を常温で同等なものとしてもガラス転移点を超える温度ではガラスの熱膨張率が大きくなるため、比較的大きな面積で連結基板と無機材料を接合させることから、冷却後、連結基板と無機材料の熱膨張率の差により、これらの接合体に反りが生じやすい。また、連結基板を無機材料とを全面的に接合しているため、ガラスサイズが大きく発光素子の搭載エリアが少なくて済む場合であっても、搭載基板を比較的大きく形成しておく必要があり、搭載基板のコストが嵩んでしまう。
本発明は、前記事情に鑑みてなされたものであり、その目的とするところは、搭載基板及び無機材料の反りを抑制するとともに、製造コストを低減することのできる光学装置の製造方法及び光学装置を提供することにある。
前記目的を達成するため、本発明では、無機封止材料の一面の少なくとも一部を軟化させ、固体素子が搭載された複数の搭載基板を前記無機封止材料の軟化した部分に押し付けて、前記複数の搭載基板の前記固体素子を一括して封止する封止工程を含む光学装置の製造方法が提供される。
上記光学装置の製造方法において、前記無機封止材料の前記一面には、前記複数の搭載基板ごとに、当該搭載基板の少なくとも一部を受容する凹部が形成されていてもよい。
上記光学装置の製造方法において、前記封止工程の前に、複数の固体素子を一の基板材料に搭載し、前記基板材料を分割して前記固体素子が搭載された複数の前記搭載基板を作製する作製工程を含んでもよい。
上記光学装置の製造方法において、前記無機封止材料は、本体ガラスと、前記本体ガラスよりも屈伏点が低い封止ガラスと、を有し、前記凹部は、前記本体ガラスに形成され、前記封止工程にて、前記封止ガラスは前記凹部に充填され、前記封止ガラスを軟化させ、前記本体ガラスを軟化させることなく、前記固体素子を封止してもよい。
また、前記目的を達成するため、固体素子が搭載され、互いに独立して配置される複数の搭載基板と、前記各搭載基板が一面に互いに間隔をおいて設けられ、前記各搭載基板の前記固体素子を封止する連続した単一の無機封止材料と、を備える光学装置が提供される。
本発明によれば、搭載基板及び無機材料の反りを抑制するとともに、製造コストを低減することができる。
図1は、本発明の第1の実施形態を示す発光装置の縦断面図である。 図2は、発光装置の平面図である。 図3は、LED素子の模式縦断面図である。 図4は、発光装置の製造方法に関する説明図であり、複数のLED素子が連結基板に搭載された状態を示す。 図5は、ガラス材の封止加工前の状態を示す模式説明図である。 図6は、ガラス材の封止加工時の状態を示す模式説明図である。 図7は、変形例を示すものであって、ガラス材の封止加工時の状態を示す模式説明図である 図8は、変形例を示す発光装置の縦断面図である。 図9は、本発明の第2の実施形態を示すガラス材の封止加工前の状態を示す模式説明図である。 図10は、ガラス材の封止加工時の状態を示す模式説明図である。 図11は、変形例を示すものであって、ガラス材の封止加工前の状態を示す模式説明図である。 図12は、変形例を示すものであって、ガラス材の封止加工時の状態を示す模式説明図である。 図13は、変形例を示す搭載基板の説明図であり、(a)が平面図、(b)が断面図、(c)が底面図である。 図14は、変形例を示す発光装置の説明図であり、(a)が平面断面図、(b)が側面断面図である。 図15は、変形例を示す発光装置の側面断面図である。 図16は、変形例を示す発光装置の縦断面図である。 図17は、変形例を示す発光装置の縦断面図である。
図1から図6は本発明の第1の実施形態を示し、図1は発光装置の縦断面図である。
図1に示すように、光学装置としての発光装置1は、フリップチップ型のGaN系半導体材料からなるLED素子2と、LED素子2を搭載し回路パターン4が形成される搭載基板3と、LED素子2を封止するとともに搭載基板3と接着されるガラス封止部6とを有する。ガラス封止部6は上面6aも下面6bも平坦に形成されており、ガラス封止部6の下面に複数の搭載基板3が埋め込まれている。
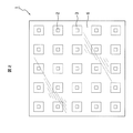
図2は発光装置の平面図である。
図2に示すように、ガラス封止部6は平面視で正方形状を呈し、LED素子2を1つ搭載した搭載基板3が縦横に同じ間隔で配置されている。すなわち、各搭載基板3は、互いに独立し、無機封止材料としてのガラス封止部6の一面に互いに間隔をおいて設けられている。この発光装置1は、ガラス封止部6の下面6b側に配置された各LED素子2が発光すると、上面6aを主発光面として発光する。
図3はLED素子の模式縦断面図である。
図3に示すように、発光素子としてのLED素子2は、図2に示すように、サファイア(Al)からなる成長基板20の表面に、III族窒化物系半導体をエピタキシャル成長させることにより、バッファ層21と、n型層22と、MQW層23と、p型層24とがこの順で形成されている。GaN系半導体の場合、p型層24は、ガラスを用いた400℃を超える封止加工でのVf上昇を抑えるため、コンタクト層のMg濃度を2×1019〜8×1019/cmとし、結晶成長温度をMQW層23の成長温度(例えば、780℃)以上で1000℃以下とすることが望ましい。このLED素子2は、700℃以上でエピタキシャル成長され、その耐熱温度は600℃以上であり、後述する低融点のガラスを用いた封止加工における加工温度に対して安定である。また、LED素子2は、p型層24の表面に設けられるp側電極25と、p側電極25上に形成されるp側パッド電極26と、を有するとともに、p型層24からn型層22にわたって一部をエッチングすることにより露出したn型層22に形成されるn側電極27を有する。p側パッド電極26とn側電極27には、それぞれAuバンプ28が形成される。
p側電極25は、例えば銀(Ag)からなり、発光層としてのMQW層23から発せられる光を成長基板20の方向に反射する光反射層として機能する。尚、p側電極25の材質は適宜変更が可能である。本実施形態においては、p側電極25上には2点のp側パッド電極26が形成され、各p側パッド電極26にAuバンプ28が形成される。尚、p側パッド電極26は例えば3点であってもよく、p側電極25上に形成するp側パッド電極26の個数は適宜変更が可能である。
n側電極27は、同一エリアにコンタクト層とパッド層とが形成されている。図2に示すように、n側電極27は、Al層27aと、このAl層27aを覆う薄膜状のNi層27bと、Ni層27bの表面を覆うAu層27cによって形成されている。尚、n側電極27の材質は適宜変更が可能である。本実施形態においては、平面視にて、n側電極27がLED素子2の隅部に形成され、p側電極25がn側電極27の形成領域を除いて、ほぼ全面的に形成されている。
LED素子2は、厚さ100μmで346μm角に形成されており、熱膨張率は7×10−6/℃である。ここで、LED素子2のGaN層の熱膨張率は5×10−6/℃であるが、大部分を占めるサファイアからなる成長基板20の熱膨張率が7×10−6/℃であるため、LED素子2本体の熱膨張率は成長基板20の熱膨張率と同等となっている。尚、各図においてはLED素子2の各部の構成を明確にするために実寸と異なるサイズで各部を示している。
搭載基板としての搭載基板3は、アルミナ(Al)の多結晶焼結材料からなり、厚さ0.25mmで1.0mm角に形成されており、熱膨張率αが7×10−6/℃である。図1に示すように、搭載基板3の回路パターン4は、基板表面に形成されてLED素子2と電気的に接続される表面パターンと、基板裏面に形成されて外部端子と接続可能な裏面パターンと、を有している。表面パターンは、LED素子2の電極形状に応じてパターン形成されたW層と、W層の表面を覆う薄膜状のNi層と、Ni層の表面を覆う薄膜状のAu層と、を含んでいる。裏面パターンは、後述する外部接続端子に応じてパターン形成されたW層と、W層の表面を覆う薄膜状のNi層と、Ni層の表面を覆う薄膜状のAu層と、を含んでいる。表面パターンと裏面パターンは、搭載基板3を厚さ方向に貫通するビアホールに設けられWからなるビアパターンにより電気的に接続されている。外部接続端子はアノード側とカソード側で1つずつ設けられる。各外部接続端子は、搭載基板3に平面視にて対角に配されている。
ガラス封止部6は、ZnO−B−SiO−Nb−NaO−LiO系のガラスからなる。尚、ガラスの組成はこれに限定されるものではなく、例えば、ガラスは、LiOを含有していなくてもよいし、任意成分としてZrO、TiO等を含んでいてもよい。さらには、ガラス以外の無機材料によりLED素子2を封止するようにしてもよい。このガラスは、ガラス転移温度(Tg)が490℃で、屈伏点(At)が520℃であり、LED素子2のエピタキシャル成長層の形成温度よりも、ガラス転移温度(Tg)が十分に低くなっている。本実施形態においては、エピタキシャル成長層の形成温度よりも、ガラス転移温度(Tg)が200℃以上低くなっている。また、ガラスの100℃〜300℃における熱膨張率(α)は6×10−6/℃である。熱膨張率(α)は、ガラス転移温度(Tg)を超えるとこれより大きな数値となる。これにより、ガラスは約600℃で搭載基板3と接着し、ホットプレス加工が可能となっている。また、ガラス封止部6のガラスの屈折率は1.7である。
また、ガラスの組成は、ガラス転移温度(Tg)がLED素子2の耐熱温度よりも低く、熱膨張率(α)が搭載基板3と同等であれば任意である。ガラス転移温度が比較的低く、熱膨張率が比較的小さいガラスとしては、例えば、ZnO−SiO−RO系(RはLi、Na、K等のI族の元素から選ばれる少なくとも1種)のガラス、リン酸系のガラス及び鉛ガラスが挙げられる。これらのガラスでは、ZnO−SiO−RO系のガラスが、リン酸系のガラスに比して耐湿性が良好で、鉛ガラスのように環境的な問題が生じることがないので好適である。
また、本実施形態のガラスは、一般に、樹脂において高粘度といわれるレベルより、桁違いに高い粘度で加工される。さらに、ガラスの場合には、屈伏点を数十℃超えても粘度が一般の樹脂封止レベルまで低くはならない。また、一般の樹脂成型時レベルの粘度にしようとすると、LED素子の結晶成長温度を超える温度を要するもの、あるいは金型に付着するものとなり、封止・成形加工が困難になる。このため、10ポアズ以上10ポアズ以下で加工することが好ましい。
図1に示すように、ガラス封止部6は、LED素子2及び搭載基板3を全面的に覆い、厚さが2.0mmとなっている。本実施形態においては、各搭載基板3の裏面と、ガラス封止部6の下面6bとは略面一となっている。
この発光装置1は、以下の工程を経て製造される。
まず、ガラス成分の酸化物粉末を1200℃に加熱し、溶融状態で撹拌する。そして、ガラスを固化した後、ガラス封止部6の厚さに対応するようスライスして封止前のガラス封止部6を板状に加工する(板状加工工程)。この後、封止前のガラス封止部6に、後述するように、各LED素子2に対応する凹部11を形成する。
一方、ビアホールが形成された連結基板12を用意し、連結基板12の表面に回路パターン4に応じてWペーストをスクリーン印刷する。次いで、Wペーストを印刷された連結基板12を1000℃余で熱処理することによりWを連結基板12に焼き付け、さらに、W上にNiめっきを施し、WとNiの熱拡散処理を行った後、Auめっきを施すことで回路パターンを形成する(パターン形成工程)。このとき、ビアホールは、WとNiによって埋められ、貫通孔ではなくなっている。
連結基板12は、セラミックを焼成する前に、ビアホール用の孔と回路パターン4の下地が形成される。尚、回路パターン4の下地形成にあたっては、Wペーストに代えて、Mo、Ta等の他の高融点金属を用いてもよい。また、焼成されたセラミックに回路パターン4を形成したものであってもよく、その際はWペーストを印刷して熱処理したものに代えて、Cr,Ti等の金属を蒸着したもの、Cu箔を貼り付けた後に所定形状にエッチングしたもの等とし、これにNiめっき及びAuめっきを施すようにしてもよい。ここで、焼成されたセラミックに孔を形成するには、レーザ加工やサンドブラスト加工を用いる必要があり、焼成前のセラミックを金型加工する場合と比べると容易ではない。しかし、本実施形態によれば、連結基板12と封止前のガラス封止部6とを接合する場合と比べ、ガラス転移温度を超えた領域での熱膨張率差に起因する各搭載基板3及びガラス封止部6の反りを格段に低減することができ、連結基板12のサイズを大きくして、LED素子21の搭載数を増やすことができるので、作業効率を高めることができる。尚、セラミック基板を予め個片サイズに形成し、焼結したものとしてもよいが、LED素子の搭載工程は多数個を一括して搭載する方が作業効率がよい。
図4は、発光装置の製造方法に関する説明図であり、複数のLED素子が連結基板に搭載された状態を示す。
図4に示すように、複数のLED素子2を縦及び横について等間隔で連結基板12に搭載する(搭載工程)。具体的には、連結基板12の回路パターン4の表面パターンに複数のLED素子2を各Auバンプ28によって電気的に接合する。本実施形態においては、p側2点、n側1点の合計3点のバンプ接合が施される。この後、連結基板12をダイシング装置にセットして、ダイシングブレードによって、連結基板12を各LED素子2ごとに分割するようダイシングする(分割工程)。
図5は、ガラス材の封止加工前の状態を示す模式説明図である。
図5に示すように、封止前のガラス封止部6の下面6bには、各搭載基板3ごとに、搭載基板3を受容する嵌合用の凹部11が形成されており、凹部11が上側となるように、封止前のガラス封止部6を下金型91にセットする。すなわち、本工程においては、ガラス封止部6の上面6aを下側とし、下面6bを上側して作業を行う。そして、各凹部11にLED素子2が下側となるよう搭載基板3を配置し、上金型92を封止前のガラス封止部6の下面6bと対向して配置する。
図6は、ガラス材の封止加工時の状態を示す模式説明図である。
この後、図6に示すように、下金型91及び上金型92を加圧し、窒素雰囲気中でガラス転移温度を超え、屈伏点以上の温度に加熱することによって軟化したガラス材のホットプレス加工を行う。本実施形態においては、封止前のガラス封止部6を全体的に加熱して軟化させる。ここで、下金型91及び上金型92にはそれぞれヒータが配置され、各金型91,92で独立して温度調整される。このとき、封止前のガラス封止部6は、搭載基板3への配置前に加熱されていてもよいし、配置後に加熱されるようにしてもよい。ホットプレス加工は、上金型92から搭載基板3に封止前のガラス封止部6方向へ圧力を加えることにより行われる。これにより、図6に示すように、LED素子2が搭載された搭載基板3が封止前のガラス封止部6に埋没し、LED素子2は搭載基板3上で封止前のガラス封止部6により封止される(加圧工程)。ここで、ホットプレス加工は、各部材に対して不活性な雰囲気中で行えばよく、窒素雰囲気の他に例えば真空中で行うようにしてもよい。また、金型や装置が酸化の影響を受けないものであれば、空気雰囲気で行ってもよい。
以上の工程で、複数の搭載基板3がガラス封止部6に埋め込まれた発光装置1が製造される。
以上の発光装置1の製造方法によれば、LED素子2が搭載された複数の搭載基板3を軟化した封止前のガラス封止部6に押し付けて、各搭載基板3のLED素子2を一括して封止するようにしたので、連結基板12と封止前のガラス封止部6を接合する場合と比べて、ガラス転移温度を超えた温度領域での熱膨張率差に起因する各搭載基板3及びガラス封止部6の反りを格段に低減することができる。また、搭載基板3のサイズが小さいので、搭載基板3とガラス封止部6の熱膨張率差の許容度を大きくすることができる。発明者らの実験では、
(ガラスの熱膨張率−基板の熱膨張率)×(ガラス転移温度−25℃)×(ガラスと基板の長手方向の接合長)
が−50μm以上3μm以下であれば、クラックの生じない接合が可能となっている。
また、LED素子2の封止部分にのみ各搭載基板3が配置されることになるので、発光装置1あたりの搭載基板3の使用量を低減して製造コストを低減することができ、搭載基板3が高価である場合には特に有効である。
また、封止前のガラス封止部6に凹部11を形成しておき、凹部11に搭載基板3を受容させるようにしたので、凹部11が形成されていない場合と比べ、搭載基板3のガラスへの押し込み量を少なくすることができる。これにより、素子近傍のガラスの変形量を小さくして、ガラス封止時にLED素子2へ加わる負荷を減じることができる。さらに、凹部11を利用して、ガラス封止部6に対する各LED素子2の位置決めを的確に行うことができる。
また、連結基板12につき、セラミックを焼成する前にビアホール用の孔とWペースト印刷による回路パターン4の下地が形成されるようにしたので、金型による抜き加工で容易に連結基板12に孔を形成することができ、一括で複数の孔を形成することができる。従って、発光装置1の量産性を向上させて低コストとすることができる。また、セラミック焼成時に、回路パターン4の下地のWとセラミックは強固に接合され、さらに、Niめっきを施した後に、再度加熱処理を行うことでWとNiの熱拡散処理が施されるため、セラミックと回路パターン4の接合強度を高くすることができる。
一方、セラミックは焼成時に10%程度の収縮が生じ、回路パターン4の下地や孔の影響により収縮の度合いが増し、収縮方向の規則性も乱れる。そして、セラミックに反りが生じると、ガラス封止の際の温度分布や圧力分布にむらが生じる原因となる。このため、収縮による影響が少ない範囲でのセラミック基板のサイズとしかできず、LED素子2の搭載工程やダイシングによる分割工程の作業効率が低かった。これに対し、本実施形態では、ガラス封止工程の前にLED素子の搭載工程と分割工程が行われるので、基板サイズを大きくすることができ、作業効率を高めることができる。
また、ガラス封止部6としてZnO−B−SiO−Nb−NaO−LiO系のガラスを用いたので、ガラス封止部6の安定性及び耐候性を良好とすることができる。従って、発光装置1が過酷な環境下等で長期間にわたって使用される場合であっても、ガラス封止部6の劣化が抑制され、光取り出し効率の経時的な低下を効果的に抑制することができる。さらに、ガラス封止部6が高屈折率でかつ高透過率特性のため、高信頼性と高発光効率の両立を実現できる。
また、ガラス封止部6として屈伏点(At)がLED素子2の半導体層のエピタキシャル成長温度より低いガラスを用いたので、ホットプレス時にLED素子2が熱的なダメージにより損なわれることがなく、半導体層の結晶成長温度に対して充分に低い加工が可能である。
さらに、搭載基板3とガラス封止部6の熱膨張率が同等であるので、高温で接着された後、常温あるいは低温状態としても剥離、クラック等の接着不良が生じにくい。さらに、一般にガラスはTg点以上の温度において熱膨張率が増大する特性を有しており、Tg点以上の温度でガラス封止が行われる場合には、Tg点以下だけでなくTg点以上の温度における熱膨張率も考慮することが安定したガラス封止を行うにあたり望ましい。
さらに、LED素子2とガラス封止部6の熱膨張率が同等であるので、搭載基板3を含めた部材の熱膨張率が同等となり、ガラス封止における高温加工と常温との温度差においても内部応力は極めて小さく、クラックを生じることのない安定した加工性が得られる。また、内部応力を小にできるので、耐衝撃性が向上し、信頼性に優れるガラス封止型LEDとできる。
搭載基板3の表面パターンは、ビアホールを埋めるビアパターンにより裏面パターンに引き出されるので、ガラスが不必要な箇所へ入り込むことや、電気端子が覆われること等への特別な対策や条件設定を要することなく、製造工程を簡略化できる。尚、ガラスは高粘度状態で加工されるため、樹脂のように封止材料の流れ出しに対して充分な対策をとる必要はなく、ビアホールを埋めるビアホールによらなくても外部端子が裏面に引き出されていれば充分に量産対応可能である。
尚、前記実施形態においては、ガラス封止部6の上面6a及び下面6bが平坦に形成された発光装置1を示したが、例えば図7に示すように、ガラス封止部6の上面6aが湾曲形成されたものであってもよい。ここで、図7は、前記実施形態の変形例におけるガラス材の封止加工時の状態を示す模式説明図である。図7に示すように、下金型91及び上金型92のガラスとの接触面を、所定の光学形状としておくことにより、ガラス封止部6の下面6a及び上面6bを所望の光学形状に成型することができる。図7の発光装置1では、ガラス封止部6の下面6bにおける各搭載基板3間に切込部6cが形成され、ガラス封止部6の上面6aはLED素子2の直上が最も上方へ突出するよう形成されている。
また、前記実施形態においては、複数の搭載基板3が埋め込まれたガラス封止部6をそのまま発光装置1としたものを示したが、例えば図8に示すように、ガラス封止部6を各搭載基板3ごとに分割して小型の発光装置101とすることも可能である。図8の発光装置101は、図7の発光装置1のガラス封止部6を、ダイシング装置等により分割して得られたものであり、ガラス封止部6はダインシングによって形成され搭載基板3に垂直な側面6dを有している。
また、前記実施形態のガラス封止部6について、B−SiO−LiO−NaO−ZnO−Nb系のガラスのZnO組成の一部をBiとし、ガラスの屈折率をさらに高くしてもよい。ガラスの屈折率は、1.8であることが好ましい。そして、屈折率が1.8のガラスを用いる場合、基板の屈折率(nd)が1.8以上である発光素子を用いることが、発光素子からの光の取り出し効率を向上させて発光効率の向上を図ることができ好ましい。基板の屈折率が1.8以上である発光素子としては、例えば、Ga基板、GaN基板、SiC基板等の上にGaN系半導体が形成された発光素子がある。
図9及び図10は、本発明の第2の実施形態を示すものであって、ガラス材の封止加工時の状態を示す模式説明図である。
図9に示すように、ガラス封止部206を、凹部211が形成される本体ガラス261と、凹部211の内部にてLED素子2を封止する封止ガラス262と、から構成してもよい。尚、LED素子2及び搭載基板3については、前記実施形態と同様の構成であるので、ここでは説明を省略する。
ガラス封止部206は、本体ガラス261よりも封止ガラス262のガラス転移温度(Tg)及び屈伏点(At)が低くなるよう構成される。ガラス封止部206は、上面206a及び下面206bが平坦に形成され、下面206bに凹部211が形成されている。本実施形態においては、本体ガラス261は、SiO−Nb系のガラスからなり、ガラス転移温度(Tg)が650℃で、屈伏点(At)が700℃である。また、封止ガラス262は、ZnO−B−SiO系のガラスからなり、ガラス転移温度(Tg)が480℃で、屈伏点(At)が550℃である。尚、屈折率は、本体ガラス261が1.6、封止ガラス262が1.7であり、本体ガラス261の方が封止ガラス262よりも低屈折率となっている。
図9に示すように、本体ガラス261には予め搭載基板3及び封止ガラス262を受容する凹部211が形成されている。ここで、凹部211の角部212は、湾曲形成されている。発光装置201の製造にあたっては、凹部211を有する本体ガラス261をモールド成形、切削成形等によって、予め作製しておく。
そして、凹部211に粉末状の封止ガラス262を所定量だけ充填した後、搭載基板3を配置する。この後、下金型91及び上金型92を用いて粉末状の封止ガラス262を加熱して溶融軟化させ、凹部211内でLED素子2を封止ガラス262より封止する。このとき、加熱温度は、封止ガラス262が軟化し、本体ガラス261が軟化しない温度、すなわち本体ガラス261のガラス転移温度以下に設定しておけばよく、本実施形態においては650℃以下である。尚、本体ガラス261に代えて固相状態の材料を用いる場合は、加熱温度をガラス転移温度以下とする代わりに融点以下とすればよい。
図10は、ガラス材の封止加工時の状態を示す模式説明図である。
図10に示すように、下金型91及び上金型92のホットプレス加工により、LED素子2の近傍のみ本体ガラス261と異なる封止ガラス262としたガラス封止部206が成形される。ここで、凹部211の角部212は湾曲形成されているため、当該角部に気泡が残留し難く、凹部212から気泡を的確に排出することができる。また、本体ガラス261の屈折率を封止ガラス262より小さくしたことにより、封止ガラス262内に光が閉じ込められることを軽減することができる。尚、本実施形態のような低融点ガラスでは、ゾルゲル法により作製されるガラスより屈折率の選択の自由度が大きい。そして、封止ガラス262の屈折率をLED素子2に近づけることで、LED素子2からの光取出効率を高めることができる。また、本体ガラス261の屈折率を周囲媒体に近づけることで、本体ガラス261からの外部放射効率を高めることができる。屈折率については、本体ガラス261、封止ガラス262、LED素子2の順に大きくなるよう構成することが望ましい。
以上の発光装置201の製造方法によれば、ガラス封止部206のLED素子2の近傍だけ軟化させるようにしたので、LED素子2のガラス封止部206に対する精度を向上させることができる。特に、LED2素子2の近傍だけ本体ガラス261よりも屈伏点の低い封止ガラス262とすることにより、本体ガラス261を軟化させずに封止作業を行うことができ、下金型91へのガラスの付着の配慮が不要で、下金型91にガラスの位置決め嵌合部を設けることができるなど、実用に際して極めて有利である。
尚、第2の実施形態においては、本体ガラス261の凹部211内に粉末状の封止ガラス262を充填するものを示したが、凹部211内に充填される封止ガラス262の形状等は任意である。例えば、凹部211内に封止ガラス262のガラス片を充填するようにしてもよいし、粉末を押し固めて固形状にしたものを充填するようにしてもよい。
また、例えば図11及び図12に示すように、封止ガラス262にLED素子2から発せられる光を波長変換する蛍光体209を含有させてもよい。図11に示すように、粉末状の封止ガラス262に粉末状の蛍光体209を混合しておき、図12に示すように、封止ガラス262を加熱して溶解した際に蛍光体209が封止ガラス262内に分散されるようにすることができる。または、蛍光体209を分散した封止ガラス262を予め焼成して個片としたものを用いても良い。蛍光体209としては、YAG(Yttrium Aluminum Garnet)蛍光体、珪酸塩蛍光体、硫化物蛍光体、YAGと珪酸塩蛍光体を所定の割合で混合したもの等を用いることができる。この場合、LED素子2から発せられた青色光の一部はガラス封止部206内の蛍光体209により黄色光に変換され、他部は波長変換されることなくガラス封止部206から外部へ放射される。これにより、ガラス封止部206から放射される光は、黄色領域と青色領域とにピーク波長を有することとなり、この結果、装置外部へは白色光が放射される。また、紫外光を発するLED素子と、青色蛍光体、緑色蛍光体、赤色蛍光体の組合せにより白色光を得るようにしてもよい。特に水分で組成が変化して効率低下が生じる蛍光体をガラス中に分散させることにより、ガラスの透湿性が極めて高いことから、効率低下を防ぐ効果を得ることができる。また、本体ガラス261にレンズ、プリズム、反射鏡などの光学系を形成してもよく、LED素子2の封止加工時に本体ガラス261は軟化して変形しないため、LED素子2や搭載基板3の光学系に対する位置精度を高くすることができる。
また、第1及び第2実施形態においては、1つの搭載基板3に1つのLED素子2が搭載されるものを示したが、例えば図13に示すように、1つの搭載基板303に複数のLED素子2が搭載されるものであってもよい。図13(a)に示すように、搭載基板303は、平面視にて、所定方向へ延びる長方形状に形成され、3つのLED素子2が搭載基板303の長手方向に並んで搭載されている。また、図13(b)に示すように、搭載基板303の裏面中央側には、回路パターンと別個に放熱パターン303aが形成されている。すなわち、図13(c)に示すように、搭載基板303の長手方向両端側には外部接続端子303bが現れ、長手方向中央側には放熱パターン303aが現れる。
この搭載基板303を用いた発光装置301の例を図14に示す。図14は、(a)が発光装置の平面断面図であり、(b)が発光装置の側面断面図である。図14(a)に示すように、この発光装置301は、板状のガラス封止部306の端面306bに、複数の搭載基板303が設けられている。各搭載基板303は、長手方向がガラス封止部306の延在方向となるよう配置され、所定の間隔でガラス封止部306に一部が埋め込まれている。このように、板状ガラスの主面306aだけでなく、端面306bにも搭載基板303を設けることが可能である。図14の発光装置301は、ガラス封止部306を、凹部311が形成される本体ガラス361と、凹部311の内部にてLED素子2を封止する封止ガラス362と、から構成している。また、搭載基板303は、ガラス封止部306に全体的に埋め込まれる必要はなく、図14(b)に示すように、ガラス封止部306の端面306bから一部が突出している。この発光装置301によれば、各LED素子2の発光光により、ガラス封止部306が全体的に発光する。尚、図15に示すように、板状のガラス封止部306の一部を樹脂製の導光部308に代えることもできる。要は、搭載基板3が埋め込まれる部分だけ無機封止材料であればよいのである。
また、図16及び図17には、正方形状に形成された搭載基板403に、縦3列、横3列で計9つのLED素子2が搭載された発光装置401を示す。図16及び図17の発光装置401は、ガラス封止部406を、凹部411が形成される本体ガラス461と、凹部411の内部にてLED素子2を封止する封止ガラス462と、から構成している。図16の発光装置401では、ガラス封止部406の上面406aは搭載基板3の上側にて上方へ凸となるよう湾曲形成され、図17の発光装置401では、ガラス封止部406の上面406aは上方へ凹となるよう湾曲形成され、図16及び図17の発光装置401とも平面視にて円形に形成されている。図16の発光装置401からは上方へ光が放射され、図17の発光装置401からは側方へ光が放射されることとなる。尚、本体ガラス461と封止ガラス462との界面は凸形状となっているので、光閉じ込めを軽減することができる。また。第2の実施形態と同様に、本体ガラス461の屈折率を封止ガラス462より小さくすることにより、光閉じ込めをさらに軽減することも可能である。また、発光装置401のガラス封止部406を上下に長尺な形状として集光効果を得る場合、例えば本体ガラス461の屈折率を封止ガラス462と同じ屈折率とするなど、本体ガラス461として屈折率の比較的高い材料を選択して、全反射や屈折効果を得やすいものとしてもよい。
また、これらの発光装置401は、ガラス封止部406の下面406bは平坦に形成され、搭載基板403の裏面と面一となっている。
このように、連結基板をガラスと接合し、ダイシングにより分離する工法では作製が困難な形状であっても、容易に製造することができる。ここで、作製が困難な形状とは、円、楕円、五角形以上の多角形、その他曲線で囲まれた形状等、平面視が正方形、長方形等の方向の異なる平行線群によって形成出来る形状以外の形状が挙げられる。
また、第1及び第2の実施形態においては、LED素子2としてGaN系半導体材料からなるものを用いた発光装置1を説明したが、LED素子はGaN系のLED素子2に限定されず、例えばZnSe系やSiC系のように他の半導体材料からなる発光素子であってもよい。また、LED素子2の発光波長も任意であり、LED素子2は緑色光、黄色光、橙色光、赤色光等を発するものであってもよい。
また、第1及び第2の実施形態においては、下金型91及び上金型92により加圧するものを示したが、ガラス封止部6,206の少なくとも一部が軟化していれば、必ずしも加圧する必要はない。また、上金型92と下金型91により搭載基板3及びガラス封止部6,206に圧力を加えるものを示したが、下金型91を固定部材として上金型92のみによりガラスの封止加工を行うことも可能である。
また、第1及び第2の実施形態のガラス封止部6,206は耐候性に優れているものの、装置の使用条件等によって結露が生じた場合には、ガラス封止部6が変質するおそれがある。これに対しては、結露が生じない装置構成とすることが望ましいが、ガラス封止部6の表面にシリコン樹脂コートなどを施すことで、高温状態での結露によるガラスの変質を防止することもできる。さらに、ガラス封止部6,206の表面に施すコーティング材としては、耐湿だけでなく、耐酸、耐アルカリ性を有するものとして、例えばSiO系、Al系等のような無機材料が好ましい。
さらに、ガラス封止部6,206に、拡散粒子を含有させてもよい。拡散粒子としては、例えばジルコニア粒子、アルミナ粒子、シリカ粒子等を用いることができる。拡散粒子の材質は任意であるが、光の透過性の観点からは白色の材質が好ましく、ガラス加工時の安定性の観点からは融点が加工時の温度より高いことが好ましい。
また、第2の実施形態で本体ガラス261を封止ガラス262よりも軟化温度の高いガラスとしたものを示したが、本体ガラス261は必ずしもガラスである必要はなく、封止ガラス262よりも軟化温度が高くて、封止ガラス262の加工温度にて耐熱性を発揮する材料であれば、透光性の単結晶材料や多結晶材料を用いてもよい。
また、搭載基板3として、セラミックに孔形成を行ってLED素子2の搭載面と反対側の面に端子を設けたものを示したが、セラミックに孔を形成せず、搭載基板3の搭載面のうちLED素子2を含む一部分をガラスで封止し、当該搭載面のガラス封止されていないエリアに端子を設けるようにしてもよい。この場合、反対側の面に広く放熱用のパターンを設けて放熱性を高めつつ、電気端子と放熱パターンとの短絡を防ぐことができる。
また、前記各実施形態においては、搭載基板としての搭載基板3がアルミナ(Al)からなるものを示したが、アルミナ以外のセラミックから構成するようにしてもよい。ここで、アルミナより熱伝導性に優れる高熱伝導性材料からなるセラミック基板として、例えば、BeO(熱膨張率α:7.6×10−6/℃、熱伝導率:250W/(m・k))を用いても良い。このBeOからなる基板においても封止前ガラスにより良好な封止性を得ることができる。
さらに、他の高熱伝導性基板として、例えばW−Cu基板を用いても良い。W−Cu基板としては、W90−Cu10基板(熱膨張率α:6.5×10−6/℃、熱伝導率:180W/(m・k))、W85−Cu15基板(熱膨張率α:7.2×10−6/℃、熱伝導率:190W/(m・k))を用いることにより、ガラス封止部との良好な接合強度を確保しながら高い熱伝導性を付与することができ、LEDの大光量化、高出力化に余裕をもって対応することが可能になる。また、セラミック基板に限らず、シリコン基板(熱伝導率:160W/(m・k))を用いることもできる。
また、前記各実施形態においては、固体素子として発光素子であるLED素子を用いた発光装置を説明したが、固体素子はLED素子に限定されるものではなく受光素子であってもよい。固体素子として受光素子を用いる場合、例えば、第2の実施形態の本体ガラス261に代えて耐光性の高い第1の無機材料を選択し、封止ガラス262に代えて受光素子の封止に適する低融点の第2の無機材料を選択することにより、太陽電池用の光学装置とすることができる。この場合、光を受光素子の周辺に集めるため、第2の無機材料として第1の無機材料よりも高い屈折率の材料を選択することが好ましい。さらに、下金型91は必ずしも必要ではなく、金型を上金型92のみとしてもよいし、その他、具体的な細部構造等についても適宜に変更可能であることは勿論である。
1 発光装置
2 LED素子
3 搭載基板
4 回路パターン
5 中空部
6 ガラス封止部
11 凹部
12 連結基板
91 下金型
92 上金型
101 発光装置
201 発光装置
206 ガラス封止部
211 凹部
212 角部
261 本体ガラス
262 封止ガラス
301 発光装置
303 搭載基板
306 ガラス封止部
308 導光部
361 本体ガラス
362 封止ガラス
401 発光装置
403 搭載基板
406 ガラス封止部
461 本体ガラス
462 封止ガラス

Claims (5)

  1. 無機封止材料の一面の少なくとも一部を軟化させ、固体素子が搭載された複数の搭載基板を前記無機封止材料の軟化した部分に押し付けて、前記複数の搭載基板の前記固体素子を一括して封止する封止工程を含む光学装置の製造方法。
  2. 前記無機封止材料の前記一面には、前記複数の搭載基板ごとに、当該搭載基板の少なくとも一部を受容する凹部が形成されている請求項1に記載の光学装置の製造方法
  3. 前記封止工程の前に、複数の固体素子を一の基板材料に搭載し、前記基板材料を分割して前記固体素子が搭載された複数の前記搭載基板を作製する作成工程を含む請求項2に記載の光学装置の製造方法。
  4. 前記無機封止材料は、本体ガラスと、前記本体ガラスよりも屈伏点が低い封止ガラスと、を有し、
    前記凹部は、前記本体ガラスに形成され、
    前記封止工程にて、前記封止ガラスは前記凹部に充填され、前記封止ガラスを軟化させ、前記本体ガラスを軟化させることなく、前記固体素子を封止する請求項3に記載の光学装置の製造方法。
  5. 固体素子が搭載され、互いに独立して配置される複数の搭載基板と、
    前記各搭載基板が一面に互いに間隔をおいて設けられ、前記各搭載基板の前記固体素子を封止する連続した単一の無機封止材料と、を備える光学装置。
JP2009225181A 2009-09-29 2009-09-29 光学装置の製造方法及び光学装置 Active JP5287643B2 (ja)

Priority Applications (1)

Application Number Priority Date Filing Date Title
JP2009225181A JP5287643B2 (ja) 2009-09-29 2009-09-29 光学装置の製造方法及び光学装置

Applications Claiming Priority (1)

Application Number Priority Date Filing Date Title
JP2009225181A JP5287643B2 (ja) 2009-09-29 2009-09-29 光学装置の製造方法及び光学装置

Publications (2)

Publication Number Publication Date
JP2011077176A JP2011077176A (ja) 2011-04-14
JP5287643B2 true JP5287643B2 (ja) 2013-09-11

Family

ID=44020876

Family Applications (1)

Application Number Title Priority Date Filing Date
JP2009225181A Active JP5287643B2 (ja) 2009-09-29 2009-09-29 光学装置の製造方法及び光学装置

Country Status (1)

Country Link
JP (1) JP5287643B2 (ja)

Families Citing this family (4)

* Cited by examiner, † Cited by third party
Publication number Priority date Publication date Assignee Title
JP2013077798A (ja) 2011-09-14 2013-04-25 Toyoda Gosei Co Ltd ガラス封止ledランプ及びその製造方法
JP6733232B2 (ja) * 2016-03-16 2020-07-29 豊田合成株式会社 発光装置およびその製造方法
JP6432656B2 (ja) * 2017-08-22 2018-12-05 日亜化学工業株式会社 発光装置
CN108417568B (zh) * 2018-03-05 2020-04-21 上海昭关照明实业有限公司 一种led照明用面光源

Family Cites Families (3)

* Cited by examiner, † Cited by third party
Publication number Priority date Publication date Assignee Title
JP2005072129A (ja) * 2003-08-21 2005-03-17 Nec Lighting Ltd 可視光線発光装置とその製造方法及び表示装置
JP4747704B2 (ja) * 2005-07-20 2011-08-17 豊田合成株式会社 蛍光体層付き発光装置の製造方法
JP2006323323A (ja) * 2005-05-18 2006-11-30 Figla Co Ltd 機能性ガラス

Also Published As

Publication number Publication date
JP2011077176A (ja) 2011-04-14

Similar Documents

Publication Publication Date Title
CN102097544B (zh) 发光装置及其制造方法和安装方法以及照明装置
CN100565951C (zh) 发光器件及其制造方法
JP5061139B2 (ja) 発光装置の製造方法
US20080284310A1 (en) Light emitting device, light source and method of making the device
US7989236B2 (en) Method of making phosphor containing glass plate, method of making light emitting device
JP4979299B2 (ja) 光学装置及びその製造方法
JP5104490B2 (ja) 発光装置及びその製造方法
JP5251038B2 (ja) 発光装置
CN101471417B (zh) 制造包含荧光体的玻璃板的方法以及制造发光器件的方法
JP5307364B2 (ja) 蛍光体含有ガラスの製造方法及び固体素子デバイスの製造方法
JP2009059883A (ja) 発光装置
JP4905069B2 (ja) 発光装置及びその製造方法
JP5407116B2 (ja) 発光装置
CN100521269C (zh) 固态器件
JP5287643B2 (ja) 光学装置の製造方法及び光学装置
JP2008153553A (ja) 発光装置およびその製造方法
JP2010083704A (ja) 蛍光体含有ガラス及びその製造方法
JP5144578B2 (ja) 発光装置の製造方法
JPWO2004082036A1 (ja) 固体素子デバイスおよびその製造方法
JP5467963B2 (ja) 発光装置の製造方法
JP5362635B2 (ja) 発光装置の製造方法
JP5109620B2 (ja) 発光装置、基板装置及び発光装置の製造方法
JP2011238819A (ja) 発光装置及びパッケージ

Legal Events

Date Code Title Description
A621 Written request for application examination

Free format text: JAPANESE INTERMEDIATE CODE: A621

Effective date: 20111021

A977 Report on retrieval

Free format text: JAPANESE INTERMEDIATE CODE: A971007

Effective date: 20121226

A131 Notification of reasons for refusal

Free format text: JAPANESE INTERMEDIATE CODE: A131

Effective date: 20130108

A521 Request for written amendment filed

Free format text: JAPANESE INTERMEDIATE CODE: A523

Effective date: 20130228

A131 Notification of reasons for refusal

Free format text: JAPANESE INTERMEDIATE CODE: A131

Effective date: 20130312

A521 Request for written amendment filed

Free format text: JAPANESE INTERMEDIATE CODE: A523

Effective date: 20130412

TRDD Decision of grant or rejection written
A01 Written decision to grant a patent or to grant a registration (utility model)

Free format text: JAPANESE INTERMEDIATE CODE: A01

Effective date: 20130507

A61 First payment of annual fees (during grant procedure)

Free format text: JAPANESE INTERMEDIATE CODE: A61

Effective date: 20130520

R150 Certificate of patent or registration of utility model

Ref document number: 5287643

Country of ref document: JP

Free format text: JAPANESE INTERMEDIATE CODE: R150