JP5284413B2 - イオン発生装置 - Google Patents

イオン発生装置 Download PDF

Info

Publication number
JP5284413B2
JP5284413B2 JP2011111622A JP2011111622A JP5284413B2 JP 5284413 B2 JP5284413 B2 JP 5284413B2 JP 2011111622 A JP2011111622 A JP 2011111622A JP 2011111622 A JP2011111622 A JP 2011111622A JP 5284413 B2 JP5284413 B2 JP 5284413B2
Authority
JP
Japan
Prior art keywords
ventilation path
wall surface
ion generator
ion
electrode
Prior art date
Legal status (The legal status is an assumption and is not a legal conclusion. Google has not performed a legal analysis and makes no representation as to the accuracy of the status listed.)
Expired - Fee Related
Application number
JP2011111622A
Other languages
English (en)
Other versions
JP2012243518A (ja
Inventor
幸大 栗原
Current Assignee (The listed assignees may be inaccurate. Google has not performed a legal analysis and makes no representation or warranty as to the accuracy of the list.)
Sharp Corp
Original Assignee
Sharp Corp
Priority date (The priority date is an assumption and is not a legal conclusion. Google has not performed a legal analysis and makes no representation as to the accuracy of the date listed.)
Filing date
Publication date
Application filed by Sharp Corp filed Critical Sharp Corp
Priority to JP2011111622A priority Critical patent/JP5284413B2/ja
Priority to CN 201220213831 priority patent/CN202651619U/zh
Publication of JP2012243518A publication Critical patent/JP2012243518A/ja
Application granted granted Critical
Publication of JP5284413B2 publication Critical patent/JP5284413B2/ja
Expired - Fee Related legal-status Critical Current
Anticipated expiration legal-status Critical

Links

Images

Landscapes

  • Disinfection, Sterilisation Or Deodorisation Of Air (AREA)

Description

本発明は、イオン発生装置に関し、特に、イオンセンサを備えるイオン発生装置に関する。
イオン発生装置の構成を開示した先行文献として、特開2010−225558号公報(特許文献1)がある。特開2010−225558号公報(特許文献1)に記載されたイオン発生装置においては、イオン発生器の上方に、発生したイオンを捕集する捕集電極および捕集電極の電位を計測する計測部を含むイオンセンサが、長手方向を略水平にして、イオン発生器と隣接するように配されている。
特開2010−225558号公報
イオンセンサをイオン発生器の近傍に配設した場合、イオン発生器から発生したイオンを高精度に検出できないことがある。
本発明は上記の問題点に鑑みてなされたものであって、イオン発生器から発生したイオンを高精度に検出できる、イオン発生装置を提供することを目的とする。
本発明に基づくイオン発生装置は、吸込口から通風経路内に吸い込んだ空気を吹出口から吹き出すイオン発生装置である。イオン発生装置は、吸込口および吹出口となる複数の開口を有し、吸込口と吹出口とを繋ぐ通風経路が内部に設けられたケースと、通風経路内に位置して円筒状の外形を有し、外形の全ての接線方向に送風する遠心送風機とを備える。また、イオン発生装置は、通風経路内において遠心送風機より吹出口側に位置し、電極部を有してこの電極部からイオンを放出するイオン発生器と、通風経路内においてイオン発生器より吹出口側に位置し、通風経路内のイオン濃度を検出するイオンセンサとを備える。イオン発生器の電極部は、全ての接線方向と平行で通風経路の一部を構成する第1壁面から通風経路に臨むように位置している。イオンセンサは、全ての接線方向のうちの電極部を通過する電極部投影方向と交差して通風経路の一部を構成する第2壁面上に位置している。
本発明の一形態においては、電極部は針状の形状を有して第1壁面から通風経路の内方に突出するように位置している。
好ましくは、イオンセンサは、イオンを捕集する捕集電極およびこの捕集電極の電位を計測する計測部を含み、捕集電極は、第2壁面上において電極部投影方向に電極部の先端部を投影した位置の近傍に位置している。
本発明の一形態においては、通風経路は、遠心送風機と吹出口との間の位置にくびれ部を有している。くびれ部の一部を構成する第3壁面は、電極部投影方向に沿う方向に延在している。第2壁面は、第3壁面より吹出口側に位置して第3壁面と隣接している。
好ましくは、第2壁面と第3壁面との間の通風経路内側の角度をθとすると、90°<θ<180°である。
本発明によれば、イオン発生器から発生したイオンを高精度に検出できる。
本発明の一実施形態に係るイオン発生装置の外観を示す斜視図である。 同実施形態に係るイオン発生装置の内部構成を示す斜視図である。 同実施形態に係るイオン発生装置の内部構造を示す一部断面図である。 同実施形態に係るイオン発生装置のイオン発生器の構成を示す側面図である。 同実施形態に係るイオン発生装置のイオンセンサの構成を示す平面図である。 同実施形態に係るイオン発生装置において、イオン発生器とイオンセンサとの位置関係を示す斜視図である。 同実施形態に係るイオン発生装置において、くびれ部とイオンセンサとの位置関係を示す側面図である。
以下、本発明の一実施形態に係るイオン発生装置について説明する。以下の実施形態の説明においては、図中の同一または相当部分には同一符号を付して、その説明は繰り返さない。
図1は、本発明の一実施形態に係るイオン発生装置の外観を示す斜視図である。図2は、本実施形態に係るイオン発生装置の内部構成を示す斜視図である。図3は、本実施形態に係るイオン発生装置の内部構造を示す一部断面図である。図4は、本実施形態に係るイオン発生装置のイオン発生器の構成を示す側面図である。図5は、本実施形態に係るイオン発生装置のイオンセンサの構成を示す平面図である。
なお、図2,3においては、ケースの一部分およびフィルタなどのイオン発生装置の構成部品の一部を取り外した状態を図示している。
図1に示すように、本発明の一実施形態に係るイオン発生装置100は、吸込口114から通風経路内に吸い込んだ空気を吹出口115から吹き出すイオン発生装置である。イオン発生装置100は、角部に丸みが付けられた略直方体状の外形を有している。
イオン発生装置100は、複数のケース部材が組み合わされて構成されるケース110を有している。ケース110は、それぞれ複数の切欠部を端部に有して互いに組み合わされる第1ケース部材111および第2ケース部材112を含む。
第1ケース部材111の複数の切欠部と第2ケース部材112の複数の切欠部とがそれぞれ組み合わされることにより、ケース110に複数の開口が形成される。複数の開口のうちの一つの開口の内側に、この開口の一部を塞ぐように第3ケース部材113が配置されている。第3ケース部材113によって塞がれていない開口の一部分が吸込口114となる。
本実施形態においては、吸込口114と対向するように吸込口118が設けられている。図2、3に示すように、ケース110の複数の開口のうちの一つの開口の内側に、この開口の一部を塞ぐように第4ケース部材117が配置されている。第4ケース部材117によって塞がれていない開口の一部分が吸込口118となる。また、吹出口115とは反対側に吸込口119が設けられている。
図1〜3に示すように、吹出口115には、イオン発生装置100からの送風方向を調節する2つのルーバー116が互いに対向するように配置されている。
ケース110の複数の開口のうち、イオン発生装置100の角部に位置する開口内に、イオン発生装置100の電源をON/OFFするスイッチ120が配置されている。イオン発生装置100は角部に丸みが付けられているため、スイッチ120は曲面状の外表面から突出するように設けられている。
図2,3に示すように、ケース110の内部には、吸込口114,118,119と吹出口115とを繋ぐ通風経路130が設けられている。通風経路は、複数の壁面に囲まれて構成されている。吸込口114,118,119から吸い込まれた空気は、図示しないフィルタを通過した後、通風経路130を経て吹出口115から吹き出される。
通風経路130内には、遠心送風機である多翼ファン(シロッコファン)140が配置されている。多翼ファン140は、円筒状の外形を有し、外形の全ての接線方向に送風する。
具体的には、多翼ファン140は、多数の小型の前向き羽根141をもった筒と筒の中心に位置する回転軸142とを含む。回転軸142を中心に筒が回転することにより、筒の内部の空気が、前向き羽根141同士の間から筒の外側に送風される。送風方向は、側面視において筒の円周上の全ての接線方向である。
上述の通り吸込口114,118,119から通風経路130内に吸い込まれる空気がフィルタを通過した後、多翼ファン140の筒の内部に導入されるように、吸込口114,118,119と通風経路130とが接続されている。
通風経路130は、多翼ファン140の外形に沿うように湾曲した側壁を有する湾曲部と、湾曲部と隣接して吹出口115に近づくに従って経路が広くなっている拡大部とを有している。通風経路130は、湾曲部と拡大部との間にくびれ部133を有している。すなわち、通風経路130は、多翼ファン140と吹出口115との間の位置にくびれ部133を有している。
通風経路130内において多翼ファン140より吹出口115側にイオン発生器150が配置されている。具体的には、通風経路130のくびれ部133の近傍に、イオン発生器150が配置されている。イオン発生器150は、多翼ファン140の外形の全ての接線方向と平行で通風経路の一部を構成している第1壁面131に取り付けられている。
図3,4に示すように、イオン発生器150は、針状の電極部151,152,154,155を有している。針状の電極部151,152,154,155は、通風経路130の幅方向に一列に並ぶように配置されている。くびれ部133側から順に、針状の電極部151、針状の電極部152、針状の電極部154および針状の電極部155が位置している。針状の電極部151,152,154,155は、第1壁面131から通風経路130の内方に突出するように位置している。
針状の電極部151,152,154,155を囲むようにカバー153が設けられている。カバー153において、針状の電極部151,152,154,155のそれぞれの先端部に対向する位置に、円形の開口156が設けられている。カバー153は、通風経路内を流動する空気と針状の電極部151,152,154,155とが接触できるように、多翼ファン140と吹出口115とを結ぶ方向において開放している。
針状の電極部151,152,154,155にパルス電圧が印加されることにより、針状の電極部151,152,154,155の先端部からイオンが放出される。具体的には、針状の電極部151が陰極となり、針状の電極部152が正極となる。また、針状の電極部154が陰極となり、針状の電極部155が正極となる。したがって、針状の電極部151,154からは正イオンが放出され、針状の電極部152,155からは負イオンが放出される。本実施形態においては、2組の電極部を設けたが、電極部は1組以上設けられていればよい。
放出される正イオンは、水素イオン(H+)の周囲に複数の水分子が付随したクラスターイオンであり、H+(H2O)m(ただし、mは任意の自然数)と表わされる。負イオンは、酸素イオン(O2 -)の周囲に複数の水分子が付随したクラスターイオンであり、O2 -(H2O)n(ただし、nは任意の自然数)と表わされる。
正イオンおよび負イオンを空間内に放出すると、両イオンが空気中を浮遊するカビ菌またはウィルスなどの周りを取り囲み、その表面上で互いに化学反応を起こす。その際に生成される活性種の水酸化ラジカル(・OH)の作用により、浮遊カビ菌などが除去される。
通風経路130内において、イオン発生器150より吹出口115側に、通風経路130内のイオン濃度を検出するイオンセンサ160が配置されている。図5に示すように、イオンセンサ160は、イオンを捕集する捕集電極162、および、捕集電極162の電位を計測する計測部が設けられている基板161を含む。
基板161は、略矩形状の外形を有している。基板161に計測部となる回路が形成されている。捕集電極162は、基板161の主面上の一部に矩形状に形成されている。本実施形態においては、基板161および捕集電極162を矩形状に形成したが、これらの形状は矩形状に限られない。基板161が第1ケース部材111の内壁から膨出している挟持部に挟持されることにより、イオンセンサ160が取り付けられている。
基板161は、通風経路の一部を構成する第2壁面となる。第2壁面は、多翼ファン140の外形の全ての接線方向のうち、くびれ部133に最も近接している針状の電極部151を通過する電極部投影方向144と交差している。すなわち、イオンセンサ160は、イオン発生器150が取り付けられている第1壁面131とは異なる第2壁面上に位置している。
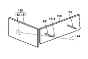
図6は、本実施形態に係るイオン発生装置において、イオン発生器とイオンセンサとの位置関係を示す斜視図である。図6に示すように、イオンセンサ160捕集電極162は、第2壁面である基板161上において電極部投影方向144に針状の電極部151の先端部151aを投影した位置の近傍に位置している。
図7は、本実施形態に係るイオン発生装置において、くびれ部とイオンセンサとの位置関係を示す側面図である。図7に示すように、くびれ部133の一部を構成する第3壁面132は、電極部投影方向144に沿う方向に延在している。第2壁面である基板161は、第3壁面132より吹出口115側に位置して第3壁面132と隣接している。
第2壁面と第3壁面132との間の通風経路130内側の角度をθとすると、90°<θ<180°となるように、イオンセンサ160が取り付けられている。本実施形態においては、θ=120°となるようにイオンセンサ160が取り付けられている。
上記の構成により、イオン発生装置100が稼動してイオン発生器150から発生したイオン、特に針状の電極部151の先端部151aから発生した陰イオンを、第3壁面132に沿って電極部投影方向144に送られる空気170に乗せて送ることができる。この空気170の流れは層流となっているため、針状の電極部151の先端部151aから発生したイオンの多くをイオンセンサ160捕集電極162に到達させることができる。その結果、イオン発生器150で発生したイオンの濃度をイオンセンサ160で高精度に計測することができる。
第3壁面132に沿って送られた空気170は、第2壁面により送風方向を変えられて吹出口115に向かう空気171となる。第2壁面と第3壁面132との間の角度θを、90°<θ<180°とすることにより、イオン発生器150から発生したイオンをイオンセンサ160の捕集電極162に所定の角度で浸入させつつ、空気170の流れが第2壁面にぶつかって乱流になる度合いを抑制することができる。
その結果、イオンセンサ160の捕集電極162によりイオン発生器150から発生したイオンを高精度に計測しつつ、空気170に含まれる正イオンと陰イオンとが結合して消滅する量を低減して、空気171に含まれるイオン濃度を高く維持することができる。すなわち、高精度のイオン濃度計測と、高濃度のイオン吹き出しとの両方を実現することができる。
なお、イオンセンサ160は、イオン発生装置100の稼動開始時、および稼動中の3時間毎に、通風経路130内のイオン濃度を1分間連続して計測する。イオンセンサ160による計測結果が、所定回数連続して所定のイオン濃度を下回った場合、イオン発生装置100にアラーム表示が現れるように設定されている。
本発明者らは、イオン発生装置100の稼動時にイオン発生器150を取り付けられている第1壁面131がイオン発生器150から発生したイオンにより帯電するため、その第1壁面131にイオンセンサ160を取り付けた場合、イオンセンサ160の捕集電極162で捕集できるイオンの量が低減して正確なイオン濃度計測ができないことを発見した。
本実施形態に係るイオン発生装置100においては、イオンセンサ160は、イオン発生器150が取り付けられている第1壁面131とは異なる第2壁面上に位置しているため、第1壁面131の帯電の影響を抑制して高精度にイオン濃度を計測することができる。
また、イオンセンサ160の捕集電極162と第2壁面である基板161と第3壁面132とを上記の位置関係に配置することにより、イオンセンサ160をイオン発生器150の近傍に配設しなくても高精度にイオン濃度を計測することができる。
ただし、通風経路130の構成は上記に限られず、イオンセンサ160が、イオン発生器150が取り付けられている壁面とは異なる壁面上に位置していればよい。
本実施形態においては、電極部が針状の形状を有する針状電極であったが、電極部はこれに限られず、たとえば、沿面放電型のセラミック電極またはカーボンブラシ電極などであってもよい。この場合、電極部は、第1壁面から通風経路に臨むように位置している。
今回開示された実施形態はすべての点で例示であって制限的なものではないと考えられるべきである。本発明の範囲は上記した説明ではなくて特許請求の範囲によって示され、特許請求の範囲と均等の意味および範囲内でのすべての変更が含まれることが意図される。
100 イオン発生装置、110 ケース、111 第1ケース部材、112 第2ケース部材、113 第3ケース部材、114,118,119 吸込口、115 吹出口、116 ルーバー、117 第4ケース部材、120 スイッチ、130 通風経路、131 第1壁面、132 第3壁面、133 くびれ部、140 多翼ファン、141 前向き羽根、142 回転軸、144 電極部投影方向、150 イオン発生器、151,152,154,155 針状の電極部、151a 先端部、153 カバー、156 開口、160 イオンセンサ、161 基板、162 捕集電極、170,171 空気。

Claims (5)

  1. 吸込口から通風経路内に吸い込んだ空気を吹出口から吹き出すイオン発生装置であって、
    前記吸込口および前記吹出口となる複数の開口を有し、前記吸込口と前記吹出口とを繋ぐ前記通風経路が内部に設けられたケースと、
    前記通風経路内に位置して円筒状の外形を有し、外形の全ての接線方向に送風する遠心送風機と、
    前記通風経路内において前記遠心送風機より前記吹出口側に位置し、電極部を有して該電極部からイオンを放出するイオン発生器と、
    前記通風経路内において前記イオン発生器より前記吹出口側に位置し、前記通風経路内のイオン濃度を検出するイオンセンサと
    を備え、
    前記イオン発生器の前記電極部は、前記全ての接線方向と平行で前記通風経路の一部を構成する第1壁面から前記通風経路に臨むように位置し、
    前記イオンセンサは、前記全ての接線方向のうちの前記電極部を通過する電極部投影方向と交差して前記通風経路の一部を構成する第2壁面上に位置している、イオン発生装置。
  2. 前記電極部は、針状の形状を有して前記第1壁面から前記通風経路の内方に突出するように位置している、請求項1に記載のイオン発生装置。
  3. 前記イオンセンサは、イオンを捕集する捕集電極および該捕集電極の電位を計測する計測部を含み、
    前記捕集電極は、前記第2壁面上において前記電極部投影方向に前記電極部の先端部を投影した位置の近傍に位置している、請求項2に記載のイオン発生装置。
  4. 前記通風経路は、前記遠心送風機と前記吹出口との間の位置にくびれ部を有し、
    前記くびれ部の一部を構成する第3壁面は、前記電極部投影方向に沿う方向に延在し、
    前記第2壁面は、前記第3壁面より前記吹出口側に位置して前記第3壁面と隣接している、請求項1から3のいずれかに記載のイオン発生装置。
  5. 前記第2壁面と前記第3壁面との間の前記通風経路内側の角度をθとすると、90°<θ<180°である、請求項4に記載のイオン発生装置。
JP2011111622A 2011-05-18 2011-05-18 イオン発生装置 Expired - Fee Related JP5284413B2 (ja)

Priority Applications (2)

Application Number Priority Date Filing Date Title
JP2011111622A JP5284413B2 (ja) 2011-05-18 2011-05-18 イオン発生装置
CN 201220213831 CN202651619U (zh) 2011-05-18 2012-05-11 离子产生装置

Applications Claiming Priority (1)

Application Number Priority Date Filing Date Title
JP2011111622A JP5284413B2 (ja) 2011-05-18 2011-05-18 イオン発生装置

Publications (2)

Publication Number Publication Date
JP2012243518A JP2012243518A (ja) 2012-12-10
JP5284413B2 true JP5284413B2 (ja) 2013-09-11

Family

ID=47420667

Family Applications (1)

Application Number Title Priority Date Filing Date
JP2011111622A Expired - Fee Related JP5284413B2 (ja) 2011-05-18 2011-05-18 イオン発生装置

Country Status (2)

Country Link
JP (1) JP5284413B2 (ja)
CN (1) CN202651619U (ja)

Families Citing this family (2)

* Cited by examiner, † Cited by third party
Publication number Priority date Publication date Assignee Title
JP6254710B2 (ja) * 2014-09-10 2017-12-27 シャープ株式会社 イオン発生機
WO2020032030A1 (ja) * 2018-08-10 2020-02-13 シャープ株式会社 イオン発生装置

Family Cites Families (7)

* Cited by examiner, † Cited by third party
Publication number Priority date Publication date Assignee Title
JP2003279089A (ja) * 2003-02-07 2003-10-02 Matsushita Electric Ind Co Ltd マイナスイオン発生部
JP2005076906A (ja) * 2003-08-28 2005-03-24 Sharp Corp 空気調節装置
JP5292820B2 (ja) * 2008-01-15 2013-09-18 オムロン株式会社 静電気除去装置
JP4551953B2 (ja) * 2008-08-28 2010-09-29 シャープ株式会社 イオン拡散装置
JP5036665B2 (ja) * 2008-09-04 2012-09-26 シャープ株式会社 イオン発生器並びにそれを備えた空気清浄機及び空気調和機
JP5382574B2 (ja) * 2009-02-23 2014-01-08 Smc株式会社 イオンバランス調整型イオナイザ
JP4718639B2 (ja) * 2010-01-07 2011-07-06 シャープ株式会社 イオン発生カートリッジ

Also Published As

Publication number Publication date
CN202651619U (zh) 2013-01-02
JP2012243518A (ja) 2012-12-10

Similar Documents

Publication Publication Date Title
JP5121878B2 (ja) 空気清浄機
US20130112299A1 (en) Air conditioner and ion generation device
JP4728415B2 (ja) イオン発生装置
JP2015222171A (ja) 空気調和機
CN111033131B (zh) 送风装置
JP5284413B2 (ja) イオン発生装置
US8934212B2 (en) Ion generating apparatus and air cleaner
CN202590011U (zh) 空气净化机
JP5757894B2 (ja) 帯電粒子発生装置
JP5423927B1 (ja) 空気調和機
CN105474485B (zh) 离子发生装置和空气调节机
JP2013045700A (ja) イオン発生装置
CN107926104A (zh) 除电装置
JP2006284164A (ja) 空気調和機
WO2014058027A1 (ja) イオン発生素子およびイオン発生装置
JP4528851B2 (ja) イオン発生装置
CN105407929B (zh) 空气调节机和离子发生装置
JP6041615B2 (ja) 送風機器
JP2011106741A (ja) 放電ユニット及び空気調和機
CN103918145B (zh) 离子发生单元和电气设备
JP6408943B2 (ja) 空気改質機器
EP2420259A1 (en) Ion generating apparatus and air cleaning apparatus
JP2013104600A (ja) イオン発生装置
JP2018200169A (ja) 空気改質機器
JP2015045462A (ja) 空気清浄機

Legal Events

Date Code Title Description
A977 Report on retrieval

Free format text: JAPANESE INTERMEDIATE CODE: A971007

Effective date: 20130415

A01 Written decision to grant a patent or to grant a registration (utility model)

Free format text: JAPANESE INTERMEDIATE CODE: A01

Effective date: 20130507

A61 First payment of annual fees (during grant procedure)

Free format text: JAPANESE INTERMEDIATE CODE: A61

Effective date: 20130529

LAPS Cancellation because of no payment of annual fees