JP5259555B2 - クリーニングディスク - Google Patents

クリーニングディスク Download PDF

Info

Publication number
JP5259555B2
JP5259555B2 JP2009257476A JP2009257476A JP5259555B2 JP 5259555 B2 JP5259555 B2 JP 5259555B2 JP 2009257476 A JP2009257476 A JP 2009257476A JP 2009257476 A JP2009257476 A JP 2009257476A JP 5259555 B2 JP5259555 B2 JP 5259555B2
Authority
JP
Japan
Prior art keywords
disk
adhesive layer
cleaning
clamp
recording
Prior art date
Legal status (The legal status is an assumption and is not a legal conclusion. Google has not performed a legal analysis and makes no representation as to the accuracy of the status listed.)
Expired - Fee Related
Application number
JP2009257476A
Other languages
English (en)
Other versions
JP2011103156A (ja
Inventor
勝 花山
Original Assignee
ビクターアドバンストメディア株式会社
Priority date (The priority date is an assumption and is not a legal conclusion. Google has not performed a legal analysis and makes no representation as to the accuracy of the date listed.)
Filing date
Publication date
Application filed by ビクターアドバンストメディア株式会社 filed Critical ビクターアドバンストメディア株式会社
Priority to JP2009257476A priority Critical patent/JP5259555B2/ja
Publication of JP2011103156A publication Critical patent/JP2011103156A/ja
Application granted granted Critical
Publication of JP5259555B2 publication Critical patent/JP5259555B2/ja
Expired - Fee Related legal-status Critical Current
Anticipated expiration legal-status Critical

Links

Images

Landscapes

  • Optical Record Carriers And Manufacture Thereof (AREA)
  • Optical Head (AREA)

Description

本発明は、ディスクドライブに対するクリーニングディスクに関する。
CD(Compact Disc)、DVD(Digital Versatile Disc)、BD(Blu-ray Disc)等の光ディスクには、再生専用のディスクと記録再生用の記録型光ディスクとが存在している。そして、その利便性により、年間百億枚を超える数量の記録型光ディスクが使用されている。
また、記録型光ディスクの利便性をさらに向上させるため、記録の高速化が図られている。具体的には、現在使用されている材料であるポリカーボネートの材料的限界として、CDでは52倍速、DVDでは20倍速、BDでは8倍速でのデータ記録が行われている。これは、最高速度において10000rpmに相当する速度である。
このような高速記録に対処するため、光ディスク記録再生装置(光ディスク再生装置をも含めてディスクドライブと呼ぶ)は、最高速度における書込条件を最適化する必要があり、特にスタート時には停止位置から数秒で所定の回転速度まで加速する必要がある。
一方、光ディスクを固定する、ディスクドライブのチャッキング部分(クランプ部とも呼ぶ)には、光ディスク材質(具体的にポリカーボネート)との摩擦力にて当該光ディスクを固定するため、ゴム等を用いて摩擦力を上げている。しかしながら、ディスクドライブを長期間使用すると、加減速による摩擦によりポリカーボネートとチャッキング部分が磨耗し、特に数多くデータ記録を行った場合には磨耗粉がチャッキング部に溜まる。そうすると、加減速時にチャッキング部での追従性が悪くなり、最適化を図った記録信号で最適記録がなされないという現象が発生する。特に、ランニングOPC(OPC:Optimum Power Control。記録中に記録信号をフィードバックしつつ、記録条件を変更する処理)が回転にムラが生じている状態で働くと、異常な記録信号となったり、記録中にトラッキングが外れ記録停止となる。このように加減速が加わった際にトラブルが生じることがある。
存在する従来技術には、異物が付着したレンズ等について、異物を除去するものが存在する。より具体的に、特開2004−281020号公報には、浮上型光ヘッドの光射出側面の異物の形成を防止するための技術が開示されている。すなわち、光磁気ディスクは、記録再生領域の内周側にクリーニング領域を備える。このクリーニング領域は、浮上型光ヘッドの浮上量を低下させるような形状で形成される。浮上型光ヘッドをクリーニング領域に位置付けるとクリーニング領域上を浮上する浮上型光ヘッドの光射出側の面とクリーニング領域表面とが接触する。これにより、浮上型光ヘッドの光射出側の面の汚れが取り除かれ、長時間記録再生を行なっても浮上型光ヘッドの光射出側の面に異物等の形成を防止できる、とされる。
また、特開2008−165907号公報には、ディスク装置におけるディスククランプ機構のクランプ部材を挿通可能とする挿通孔が中心部に形成されたディスク本体と、ディスク本体の記録面に配設された払拭体を有するクリーニング部とを備えるレンズクリーナが開示されている。また、ディスク本体における記録面に、異物除去ではなく固定するために粘着部材が配設されている。
特開2004−281020号公報 特開2008−165907号公報
このように従来技術では、異物の発生箇所にて異物を除去するといった着想を採用したクリーニングディスクは存在していない。より具体的には、上で述べた技術では、発生した異物の移動先であるレンズにて異物を除去するものであって異物がレンズ以外の場所に移動している場合には異物の除去がなされず、除去されなかった異物が再度レンズに移動する可能性もある。レンズは非常に重要な箇所ではあるが、この部分にのみ着目するのは適切ではない。
従って、本発明の目的は、摩耗粉などの異物を効率的に除去するためのクリーニングディスクを提供することである。
本発明に係るクリーニングディスクは、クランプ孔が中央に設けられている基板と、基板上においてクランプ孔の周辺部に設けられている粘着層とを有する。このような構成により、ディスクドライブのクランプ部と光ディスクとの摩耗粉などの異物を、その発生箇所で粘着層により取り去ることができるようになる。すなわち、摩耗粉などの異物の効率的な除去が可能となる。
なお、上で述べた周辺部は、クリーニングディスクが使用されるディスクドライブのクランプ部との接触範囲と同じ又は当該接触範囲より狭い範囲である場合もある。ディスクドライブのクランプ部より外側まで粘着層が広がると、ディスクドライブのピックアップに接触するなどの問題が発生する可能性があり、そこまで広くしても除去できる摩耗粉等の異物は効果的には増加しない。
また、上で述べた周辺部は、クリーニングディスクが使用されるディスクドライブにおいてデータ再生可能なディスクのデータ記録領域より内側である場合もある。ピックアップとの接触を避けるためである。
さらに、上で述べた基板の表面から粘着層の表面までの、高さの差が、−0.12mm乃至−0.02mmである場合もある。このようにすれば、摩耗粉等の異物を効果的に除去でき且つ実際的にディスクドライブでチャッキング可能なクリーニングディスクとなる。
なお、以下このような本発明の実施の形態を説明するが、本発明は実施の形態に限定されるものではない。
摩耗粉などの異物を効率的に除去することが本クリーニングディスクによって可能となる。
図1は、ディスクドライブの分解斜視図である。 図2は、クランプ部分の断面図である。 図3は、摩耗粉の発生について説明するための図である。 図4は、実施の形態に係るクリーニングディスクを示す図である。 図5は、クリーニングディスクをクランプ部により挟持した場合の断面図である。 図6は、粘着層による異物の除去を模式的に示した図である。 図7は、粘着層の範囲について説明するための図である。 図8は、粘着層の範囲について説明するための図である。 図9(A)及び(B)は、基板表面から粘着層の表面までの高さについて説明するための図である。 図10は、実施例を説明するための図である。
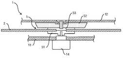
最初に、前提となるディスクドライブの分解斜視図を図1に示す。また、図2に、ディスクドライブのクランプ部によって光ディスク2(又はクリーニングディスク)が挟持された状態を拡大した断面図を示す。図1に示すように、光ディスクドライブは直方体形状のドライブ本体1と、ドライブ本体1の外側の光ディスクローディング位置21とドライブ本体内部の光ディスク信号読取位置22との間で光ディスク2(当然ながら通常のクリーニングディスクも同様)を搬送するスライドトレー3とを備えている。スライドトレー3は、ドライブ本体1に平行に相対移動可能であって、スライドトレー3の下側に一体的に形成されたラック31とこのラック31と係合する歯車機構4と図示しないモータなどによって駆動される。この実施の形態では、光ディスクローディング位置21において、光ディスク2のデータ記録面が下側になるように、光ディスク2はスライドトレー3に載置される。
光ディスク信号読取位置22には、光ディスク2の中央部を挟持して光ディスク2を回転させる一対のクランプ部5が設けられている。このクランプ部5は、スライドトレー3の下側に位置する支持板11に固着されたモータ14の回転軸の上端に取付けられた駆動板51と、ドライブ本体1の上蓋部12に回転可能に取付けられた軸に固着された回転板52とを含む。回転板52の中央部には、駆動板51と共に光ディスク2を挟持するための被駆動板53が設けられている。
駆動板51及び被駆動板53は、円形の形状を有しており、駆動板51及び被駆動板53の直径は、光ディスク2のデータ記録領域の直径より小さい。また、駆動板51及び被駆動板53の中央部には、突起が設けられている。突起は、光ディスク信号読取位置22に搬送されてきた光ディスク2の中央孔であるクランプ孔を挿通し、光ディスク2の位置決めをする役割を果たす。
駆動板51のモータ及びピックアップ部13が取付けられた略矩形の支持板11は、その長手方向の一端がドライブ本体1の底板に固着され、駆動板51のモータが固着された他端が、スライドトレー3の移動方向に対して直角方向に揺動できるように、ドライブ本体1に配置されている。支持板11は、歯車機構4と同期して揺動運動するように構成され、光ディスク信号読取位置22から光ディスクローディング位置21にスライドトレー3が移動しようとする時、駆動板51が、光ディスク2とは接触しない位置まで直角方向下側に揺動する。一方、光ディスク信号読取位置22までスライドトレー3がくると、光ディスク2を下側から位置決めして押し上げる。この押圧によって、駆動板51の突起が光ディスク2のクランプ孔を挿通し、突起を有する被駆動板53と係合する形で光ディスク2を挟持する。
図3に、光ディスク2及びクランプ部5を拡大して模式的に示す。この図では、厚みについては特に強調して示されている。図3で太線で示し且つ点線で囲んだ、駆動板51及び被駆動板53の突起の側面と、光ディスク2のクランプ孔のとの接触により、ポリカーボネートの摩耗粉が発生することが分かっている。また、人は、通常光ディスク2のクランプ孔に指を通して光ディスク2を保持することが多いため、指に付着した摩耗粉などがそのうち光ディスク2の他の部分にも付着するようになる。従って、摩耗粉をできるだけクランプ部5に存在している時点で除去することが好ましい。
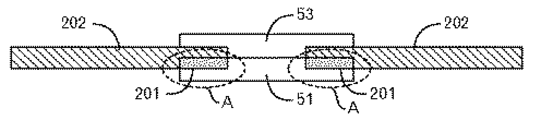
そこで、図4に示すようなクリーニングディスク200を採用する。本実施の形態に係るクリーニングディスク200は、クランプ孔203を有する基板202において、クランプ部5の駆動板51に接する面側であって、クランプ孔203の周辺部にリング状の粘着層201を設けたものである。粘着層201には、アクリル系粘着材、シリコーン系粘着材、ゴム系粘着材などを用いることができる。すなわち、材質に規制されるものではないが、ディスクドライブ1からの取り出し時に、粘着材成分がクランプ部5(チャッキング部分とも呼ぶ)に残ると好ましくないので、アクリル系粘着材、シリコーン系粘着材が好ましい。粘着層201の接着力は、90度剥離において0.3〜1N/25mmが望ましい。接着力が1N/25mmを超えると、クランプ部5からクリーニングディスク200が外れず、ドライブ本体1から取り出せず、接着力が0.3/25mmより小さいと異物の除去能力が小さくなる。
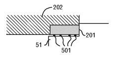
図5に、クリーニングディスク200がクランプ部5によって挟持されている状態の断面模式図を示す。この図においても、厚みについては特に強調されている。図5の点線楕円Aに示すように、基板202のうちクランプ部5の駆動板51と接する部分に粘着層201を設ける。そうすると、図6に模式的に示すように、クランプ部5の駆動板51に付着していたポリカーボネートなどの異物501は、粘着層201側に貼り付き、クリーニングディスク200を取り出す際には、駆動板51からはぎ取られることになる。すなわち、ポリカーボネートなどの異物501が、クリーニングディスク200によって、ディスクドライブ1から除去されることになる。
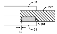
粘着層201は、CD、DVD及びBDの規格に従う場合には、クリーニングディスク200の中心から、直径22.0mmから33.0mmまでの範囲に設けられる。より具体的には、クリーニングディスク200のクランプ孔203より外側で、駆動板51及び被駆動板53の直径までの範囲が好ましい。図7に示すように、駆動板51の外周から、粘着層201の外周までの距離L1は、0以上正の値であることが好ましい。また、通常の光ディスクにおけるデータ記録領域の最内周より内側で、クランプ孔203より外側の範囲である。このようにすれば、粘着層201がピックアップ部13に接触したりする事態を避けることができる。
なお、クランプ孔203の周辺部のディスク厚は、規格によれば1.2+0.20/−0.10mmとなっている。従って、粘着層201の厚みも、これよりも薄くなる。
なお、図8に示すように、クランプ孔203に粘着層201を露出させる必要はない。すなわち、クランプ孔203から粘着層201の最内周までの距離L2は、0以上となり、正の値を有するようにしても良い。図3や図5、図7や図8は、厚み方向を強調しているため、大きな面積で接しているように見えるが、実際には上で述べたようなディスク厚しかないで、駆動板51及び被駆動板53の突起との接触面積はごくわずかだからである。
以上のような構成を採用することによって、ポリカーボネートの摩耗粉等の異物を、発生元箇所であるクランプ部5の駆動板51からはぎとって除去することができるようになる。
[実施例]
ポリカーボネートの摩耗粉と同様の粒径を有する粉末(例えば粒径分布0.05〜0.5mm、最頻値0.2mm)を人為的にまいた後に、クリーニングディスク200でクリーニングし、さらにその後通常の光ディスクでデータ記録を実施した場合の不良発生数を、以下で述べる実施例及び比較例について計数した。
ここでは、図9(A)に示すように、基板202の表面よりも粘着層201の表面が飛び出ている場合には、基板202の表面から粘着層201の表面までの高さを「正」とする。一方、図9(B)に示すように、基板202の表面よりも粘着層201の表面がくぼんでいる場合には、基板202の表面から粘着層201の表面までの高さを「負」とする。
そして実験結果を図10にまとめて示す。
実施例1では、CDディスクの内周部分径20mmを0.1mm削り、削った部分に0.08mmの粘着層201(透明硬質塩化ビニール基材に、アクリル系粘着剤を使用したもの。以下同じ)を形成したクリーニングディスク200を用意した。すなわち、基板202の表面から粘着層201の表面までの高さが−0.02mmである。そして、上で述べた粉末を、DVDの記録再生装置(Panasonic社製 SW−9574。以下同じ。)におけるクランプ部5の駆動板51にまいた後、DVDの記録再生装置に対して、このようなクリーニングディスク200を装填し且つ取り出した。その後、出願人製のDVD−R10枚に対してデータ記録を実施した。そうすると、記録途中の停止や記録信号異常で再生できなかった不良発生数は0枚である。
実施例2では、CDディスクの内周部分径20mmを0.2mm削り、削った部分に0.08mmの粘着層201を形成したクリーニングディスク200を用意した。すなわち、基板202の表面から粘着層201の表面までの高さが−0.12mmである。そして、上で述べた粉末を、DVDの記録再生装置におけるクランプ部5の駆動板51にまいた後、DVDの記録再生装置に対して、このようなクリーニングディスク200を装填し且つ取り出した。その後、出願人製のDVD−R10枚に対してデータ記録を実施した。そうすると、記録途中の停止や記録信号異常で再生できなかった不良発生数は3枚である。以下で述べる比較例では10枚中8枚の高確率で不良となっているのに比較して、十分改善されているので、この実施例2は許容範囲である。
一方、比較例1では、クリーニングディスク200を用いない例である。すなわち、上で述べた粉末を、DVDの記録再生装置におけるクランプ部5の駆動板51にまいた後、クリーニングディスク200の装填及び取り出しを実施することなく、出願人製のDVD−R10枚に対してデータ記録を実施した。そうすると、記録途中の停止や記録信号異常で再生できなかった不良発生数は8枚である。
さらに、比較例2では、CDディスクの内周部分径20mmを削ることなく0.08mmの粘着層201を形成したクリーニングディスク200を用意した。すなわち、基板202の表面から粘着層201の表面までの高さが+0.08mmである。そうすると、DVDの記録再生装置では、このようなクリーニングディスク200を認識できなかった。これは、クランプ位置のズレによって、フォーカスサーボがかからなくなったものと思われる。これ以上、上記高さの値を大きくするとピックアップ部と接触する可能性もあり、好ましくない。
また、比較例3では、CDディスクの内周部分径20mmを0.3mm削り、削った部分に0.08mmの粘着層201を形成したクリーニングディスク200を用意した。すなわち、基板202の表面から粘着層201の表面までの高さが−0.22mmである。そして、上で述べた粉末を、DVDのある記録再生装置におけるクランプ部5の駆動板51にまいた後、DVDの記録再生装置に対して、このようなクリーニングディスク200を装填し且つ取り出した。その後、出願人製のDVD−R10枚に対してデータ記録を実施した。そうすると、記録途中の停止や記録信号異常で再生できなかった不良発生数は8枚である。これは、粘着層201の表面と基板202の表面との差が大きすぎて異物を圧着できていないためである。
以上のように、基板202の表面から粘着層201の表面までの高さの許容範囲は、−0.12mm以上−0.02mm以下である。但し、基板202の表面から粘着層201の表面までの高さが「正」の値を有する場合を全て否定するものではない。「負」の値を有する場合に比して、異物の除去効果が十分あることは自明であるから、クリーニングディスク200自体をディスクドライブ1が認識できる程度の値であれば、十分実用的である。
以上、本実施の形態及び実施例について説明したが、本発明はこれに限定されるものではない。例えば、CD、DVD、BDを例に示したが、将来的に採用される他の規格のディスクについても、同様の機構でクランプするような場合には、同じように摩耗粉が発生するので、本発明によって対処可能である。
200 クリーニングディスク 201 粘着層
202 基板

Claims (3)

  1. クランプ孔が中央に設けられている基板と、
    前記基板上において前記クランプ孔の周辺部に設けられている粘着層と、
    を有するクリーニングディスクであって、
    前記周辺部が、
    前記クリーニングディスクが使用されるディスクドライブのクランプ部との接触範囲と同じ又は当該接触範囲より狭い範囲である
    クリーニングディスク。
  2. クランプ孔が中央に設けられている基板と、
    前記基板上において前記クランプ孔の周辺部に設けられている粘着層と、
    を有するクリーニングディスクであって、
    前記周辺部が、
    前記クリーニングディスクが使用されるディスクドライブにおいてデータ再生可能なディスクのデータ記録領域より内側である
    リーニングディスク。
  3. 前記粘着層の表面は前記基板の表面よりもくぼんでおり、前記基板の表面と、前記粘着層の表面との高低差が、0.12mm乃至0.02mmである
    請求項1又は2記載のクリーニングディスク。
JP2009257476A 2009-11-10 2009-11-10 クリーニングディスク Expired - Fee Related JP5259555B2 (ja)

Priority Applications (1)

Application Number Priority Date Filing Date Title
JP2009257476A JP5259555B2 (ja) 2009-11-10 2009-11-10 クリーニングディスク

Applications Claiming Priority (1)

Application Number Priority Date Filing Date Title
JP2009257476A JP5259555B2 (ja) 2009-11-10 2009-11-10 クリーニングディスク

Publications (2)

Publication Number Publication Date
JP2011103156A JP2011103156A (ja) 2011-05-26
JP5259555B2 true JP5259555B2 (ja) 2013-08-07

Family

ID=44193433

Family Applications (1)

Application Number Title Priority Date Filing Date
JP2009257476A Expired - Fee Related JP5259555B2 (ja) 2009-11-10 2009-11-10 クリーニングディスク

Country Status (1)

Country Link
JP (1) JP5259555B2 (ja)

Family Cites Families (1)

* Cited by examiner, † Cited by third party
Publication number Priority date Publication date Assignee Title
JP2008305489A (ja) * 2007-06-07 2008-12-18 Yutaka Kunikata 塵芥除去ディスク

Also Published As

Publication number Publication date
JP2011103156A (ja) 2011-05-26

Similar Documents

Publication Publication Date Title
JP5065461B2 (ja) 光情報記録媒体及びその製造方法、並びに光情報記録媒体の保持方法
CN1383553A (zh) 盘片浮置装置
CN100378846C (zh) 光盘驱动装置
JP5259555B2 (ja) クリーニングディスク
TWI362035B (ja)
JP5019062B2 (ja) ディスクトレイ、ディスク記録再生装置及びディスク媒体分離方法
JP2007172727A (ja) 記録再生装置
JP2006228327A (ja) センタリング機能を備えたディスククランプ機構
JP2009230785A (ja) ディスク回転安定化板、ディスク記録再生装置、及び、ディスク媒体分離方法
KR100930355B1 (ko) 광디스크 드라이브
JP4068621B2 (ja) 光情報処理装置用クリーナ
KR200193753Y1 (ko) 광디스크
JP4996564B2 (ja) 記録再生装置及びその駆動方法
JP4032499B2 (ja) 光ディスク装置
JP4945369B2 (ja) ディスクプレーヤ
CN100423109C (zh) 光盘装置
JP4551033B2 (ja) 光情報記録媒体の初期化方法及び光情報記録媒体の初期化装置
JP2001195713A (ja) ディスクプレーヤー用クリーナー及びディスクプレーヤーのクリーニング方法
CN102129871A (zh) 光盘驱动器
JP2008305489A (ja) 塵芥除去ディスク
JPH11219557A (ja) 光ディスク保持装置
JP2006172536A (ja) 光ディスク
JP2003030884A (ja) クリーニングカートリッジ
WO2003041078A1 (fr) Disque optique et procede de tournage d'un disque optique
JP2007200470A (ja) 情報記録再生装置及びディスククランパ

Legal Events

Date Code Title Description
A621 Written request for application examination

Free format text: JAPANESE INTERMEDIATE CODE: A621

Effective date: 20120809

A977 Report on retrieval

Free format text: JAPANESE INTERMEDIATE CODE: A971007

Effective date: 20130110

A131 Notification of reasons for refusal

Free format text: JAPANESE INTERMEDIATE CODE: A131

Effective date: 20130122

A521 Request for written amendment filed

Free format text: JAPANESE INTERMEDIATE CODE: A523

Effective date: 20130305

TRDD Decision of grant or rejection written
A01 Written decision to grant a patent or to grant a registration (utility model)

Free format text: JAPANESE INTERMEDIATE CODE: A01

Effective date: 20130409

A61 First payment of annual fees (during grant procedure)

Free format text: JAPANESE INTERMEDIATE CODE: A61

Effective date: 20130424

FPAY Renewal fee payment (event date is renewal date of database)

Free format text: PAYMENT UNTIL: 20160502

Year of fee payment: 3

R150 Certificate of patent or registration of utility model

Free format text: JAPANESE INTERMEDIATE CODE: R150

LAPS Cancellation because of no payment of annual fees