JP5259339B2 - 電子回路基板の収容装置 - Google Patents

電子回路基板の収容装置 Download PDF

Info

Publication number
JP5259339B2
JP5259339B2 JP2008276080A JP2008276080A JP5259339B2 JP 5259339 B2 JP5259339 B2 JP 5259339B2 JP 2008276080 A JP2008276080 A JP 2008276080A JP 2008276080 A JP2008276080 A JP 2008276080A JP 5259339 B2 JP5259339 B2 JP 5259339B2
Authority
JP
Japan
Prior art keywords
circuit board
electronic circuit
case
substrate
press
Prior art date
Legal status (The legal status is an assumption and is not a legal conclusion. Google has not performed a legal analysis and makes no representation as to the accuracy of the status listed.)
Expired - Fee Related
Application number
JP2008276080A
Other languages
English (en)
Other versions
JP2010103446A (ja
Inventor
浩 大森
Current Assignee (The listed assignees may be inaccurate. Google has not performed a legal analysis and makes no representation or warranty as to the accuracy of the list.)
Astemo Ltd
Original Assignee
Keihin Corp
Priority date (The priority date is an assumption and is not a legal conclusion. Google has not performed a legal analysis and makes no representation as to the accuracy of the date listed.)
Filing date
Publication date
Application filed by Keihin Corp filed Critical Keihin Corp
Priority to JP2008276080A priority Critical patent/JP5259339B2/ja
Publication of JP2010103446A publication Critical patent/JP2010103446A/ja
Application granted granted Critical
Publication of JP5259339B2 publication Critical patent/JP5259339B2/ja
Expired - Fee Related legal-status Critical Current
Anticipated expiration legal-status Critical

Links

Images

Landscapes

  • Cooling Or The Like Of Electrical Apparatus (AREA)
  • Structure Of Printed Boards (AREA)

Description

この発明は電子回路基板の収容装置に関し、より具体的には電子部品が実装される電子回路基板と、電子回路基板が収容されるケースとを備える電子回路基板の収容装置に関する。
従来より、電子部品が実装される電子回路基板と、電子回路基板が収容されるケースとを備える電子回路基板の収容装置において、電子部品から発せられる熱をケースなどに伝達させて放熱性を向上させるようにした技術は種々提案されている(例えば特許文献1参照)。特許文献1記載の技術にあっては、基板とケースをネジを用いて締結固定することで密着させると共に、電子部品をネジの近傍に配置し、電子部品の熱を基板などを介してケース(ヒートシンク)に伝達させるように構成される。
特開平6−77879号公報(段落0022、図1,2など)
しかしながら、特許文献1記載の技術の如く、基板をネジを用いてケースに固定するように構成すると、ネジの締め付けトルクによって基板や電子部品などに応力が生じ、例えば基板と電子部品との半田付け部分にクラックが発生するなどのおそれがあった。また、前記した基板固定用のネジは一般的に、振動特性などを考慮して基板の端部に位置させられるため、電子部品も基板の端部付近に配置されることとなり、結果として基板における電子部品の配置(レイアウト)が制限されるという不都合もあった。
従って、この発明の目的は上記した課題を解決し、電子回路基板や電子部品に作用する応力、レイアウトの制限などを生じさせることなく、放熱性を向上させるようにした電子回路基板の収容装置を提供することにある。
上記の目的を達成するために、請求項1にあっては、電子部品が実装される電子回路基板と、前記電子回路基板が収容されるケースとを備える電子回路基板の収容装置において、前記ケースに突設される突起部と、前記電子回路基板において前記電子部品の付近に穿設される前記突起部の挿通孔と、前記突起部と前記挿通孔との間に形成される間隙に充填される熱伝導材とを備え、前記突起部は、前記ケースの底面から連続して形成される本体部と、前記本体部から連続して形成される圧入保持部と、前記圧入保持部から連続して形成されるテーパ形状の先端部とを備えるプレスフィットピンからなり、前記圧入保持部の中央部に開口部が形成されると共に、前記圧入保持部の側面に前記開口部に前記熱伝導材を注入するための注入孔が穿設されるように構成した。
請求項2に係る電子回路基板の収容装置にあっては、前記電子回路基板に形成される前記電子部品の本体部の載置用パッドと、前記挿通孔に形成されるスルーホールと、前記載置用パッドと前記スルーホールとを接続する導体パターンとを備えるように構成した。
請求項1に係る電子回路基板の収容装置にあっては、ケースに突設される突起部と、電子回路基板において電子部品の付近に穿設される突起部の挿通孔と、突起部と挿通孔との間に形成される間隙に充填される熱伝導材とを備えるように構成したので、電子部品から発せられる熱を電子回路基板、挿通孔、熱伝導材および突起部を介してケースに伝達させることができ、よって電子回路基板や電子部品に作用する応力、レイアウトの制限などを生じさせることなく、放熱性を向上させることができる。即ち、従来技術のように基板をケースにネジで固定して放熱性を向上させる構成ではないため、ネジの締め付けトルクによって基板や電子部品に応力が生じることはない。また、例えば電子部品のレイアウトを変更する場合であっても、突起部と挿通孔の位置を電子部品に応じて変更すれば足りるため、レイアウトの制限などを受けることなく、容易に対応することができる。さらに、ケースに突起部が突設される一方、その挿通孔が基板に穿設されるように構成したので、基板は挿通孔に突起部が挿通されることでケースに対して位置決めされる、即ち、突起部を基板のケースに対する位置決めとして機能させることも可能となる。
また、突起部がテーパ形状の先端部を備えるプレスフィットピンからなるように構成したので、突起部を挿通孔に容易に挿通させることができると共に、例えば基板の縁部をネジなどでケースに固定する場合において、プレスフィットピンを挿通孔に挿通させて基板をケースに仮固定(仮止め)した後、前記ネジによる固定を行うことも可能、即ち、プレスフィットピンを用いて基板を仮固定することで、基板のケースに対する位置ズレを防止しつつネジによる固定を行うことも可能となる。
また、圧入保持部の側面に開口部に熱伝導材を注入するための注入孔が穿設されるように構成したので、熱伝導材の開口部への注入(充填)を容易にすることができる。
請求項に係る電子回路基板の収容装置にあっては、電子回路基板に形成される電子部品の本体部の載置用パッドと、挿通孔に形成されるスルーホールと、載置用パッドとスルーホールとを接続する導体パターンとを備えるように構成、即ち、電子部品と挿通孔とを熱伝導性に優れる載置用パッド、導体パターンおよびスルーホールを介して接続するように構成したので、上記した効果に加え、電子部品の熱を載置用パッド、導体パターンおよびスルーホールを介してケースの突起部に効率良く伝達でき、よって放熱性をより一層向上させることができる。
以下、添付図面に即してこの発明に係る電子回路基板の収容装置を実施するための最良の形態について説明する。
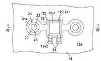
図1は、この発明の第1実施例に係る電子回路基板の収容装置を全体的に示す分解斜視図である。また、図2は図1に示す電子回路基板の収容装置を組み立ててカバーを取り外した状態を示す斜視図である。
図1および図2において、符号10は電子回路基板の収容装置を示す。収容装置10は、電子部品12が実装される電子回路基板(以下単に「基板」という)14と、基板14が収容されるケース16と、ケース16に取り付けられるカバー20(図1にのみ示す)とを備える。
基板14は、樹脂材などから製作された絶縁基板に、導電性の導体パターンがプリントされた、いわゆるプリント基板からなる。基板14に実装される電子部品12は、図示の如く、複数種(2種)の電子部品12a,12bから構成される。
電子部品12aは、具体的には動作時に発熱する表面実装型の電子部品(発熱部品。例えばパワートランジスタ)である。一方、電子部品12bは、図示しない外部機器や外部回路などに機械的および電気的に接続自在なコネクタである。尚、基板14には、電子部品12a,12bに加え、コンデンサなど他の電子部品も実装されるが、図示の簡略化のため省略する。
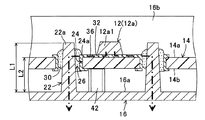
図3は図2に示す電子部品12a付近を拡大して示す拡大平面図であり、図4は図3のIV−IV線断面図である。
図3,4などに示す如く、電子部品12aは、略四角錘台を呈する本体部12a1と、それに接続される複数本(具体的には2本)のクランク形状のリード端子12a2とを備える。基板14において電子部品12aの付近(正確には、電子部品12aの本体部12a1の紙面において左右の縁部から所定距離だけ離間した位置)には、ケース16の放熱ピン22(突起部。後述)が挿通される挿通孔24が複数個(具体的には2個)穿設される。挿通孔24には、熱伝導性を有する導体パターンによって被覆されてスルーホール24aが形成される。
挿通孔24(スルーホール24a)の孔径は放熱ピン22の直径に比して大きくなるように構成される。これにより、図4に良く示す如く、放熱ピン22が挿通孔24に挿通されるとき、挿通孔24と放熱ピン22との間には間隙26が形成される。尚、この間隙26には熱伝導材30が充填されるが、それについては後述する。
基板14には、電子部品12aの本体部12a1が載置される載置用パッド32と、リード端子12a2が接続される接続用パッド34と、載置用パッド32から引き出され、載置用パッド32と前記したスルーホール24aとを接続する導体パターン36が形成される。
載置用パッド32は、図3などに示すように、平面視において略矩形状を呈すると共に、電子部品12aの本体部12a1の平面視における外形よりも大きく形成される。接続用パッド34は、平面視略矩形状とされ、基板14上において載置用パッド32から離間した位置に、リード端子12a2の本数と同じ個数(2個)形成される。従って、電子部品12aは、本体部12a1が載置用パッド32に載置されると共に、リード端子12a2が接続用パッド34に接触させられた状態で図示しない無鉛クリーム半田をリフロー(溶解)させることで、基板14に接続(実装)される。
導体パターン36は、平面視において略矩形状を呈すると共に、複数個(2個)形成される。導体パターン36の幅(載置用パッド32からの引き出し方向(突出方向)と直交する方向の幅)は、載置用パッド32の辺の長さよりも短く、かつスルーホール24aの外径よりも短くなるように構成される。
図1の説明に戻ると、基板14の縁部および中央部の適宜位置には、基板14をケース16に取り付けるための取り付け孔40が複数個(8個)穿設される。
ケース16およびカバー20は、熱伝導性を有する金属材、例えば亜鉛、アルミニウム、銅、鉄などの金属材のプレス加工や切削加工、もしくはダイカスティングによって形成される。ケース16は略直方体を呈し、その上面が開口される。ケース16の底面16aの端部および中央部であって、前記した基板14の取り付け孔40に対応する位置には、基板14の縁部あるいは中央部を局部的に支える台座42が複数個、具体的には8個形成される(図1において5個見えず)。台座42には、基板14を台座42に固定するためのネジ(図示せず)が螺合されるべきネジ穴44が設けられる。
また、ケース16の底面16aにおいて、基板14が台座42に支えられた状態のとき、基板14の挿通孔24の下方に相当する位置には、挿通孔24に挿通されるべき複数本(2本)の放熱ピン(突起部)22が基板14に向けて突設される。
放熱ピン22は、略円柱形状を呈すると共に、図4に良く示す如く、先端に向けて縮径される、即ち、その先端部22aがテーパ形状とされる。また、放熱ピン22の長さ(底面16aから先端部22aまでの長さ(図4において符号L1で示す))は、基板14が台座42に配置されたときの底面16aから基板14の表面14aまでの長さ(図4において符号L2で示す)に比して大きくなるように構成される。
ケース16の側面16bの適宜位置には、基板14の電子部品(コネクタ)12bが位置させられるべき切り欠き部46が形成される。また、ケース16において開口端付近の四隅には、カバー20をケース16に固定するためのネジ(図示せず)が螺合されるべきネジ穴50が設けられる。
カバー20は一枚の平板状を呈し、その四隅に設けられたフランジ部には、カバー20をケース16に取り付けるための取り付け孔52が穿設される。
次いで、上記の如く構成された電子回路基板の収容装置10の組み立てについて説明する。先ず基板14がケース16に取り付けられる。具体的には、基板14の裏面(電子部品12が実装されない面)14bをケース16の台座42に配置し、基板14の端部あるいは中央部が台座42に局部的に支えられるようにする。
このとき、基板14は、挿通孔24にケース16の放熱ピン22が挿通させられつつ配置される。これにより、基板14はケース16に対して位置決めされる、即ち、放熱ピン22は基板14のケース16に対する位置決めとして機能する。
また、前述した如く、放熱ピン22の長さL1は、ケース16の底面16aから基板14の表面14aまでの長さL2に比して大きくなるように形成されるため、基板14が台座42に配置されるとき、放熱ピン22の先端部22aが基板14の表面14aから僅かに(正確には、長さL1からL2を減算した値の分だけ)突出させられることとなる。
このように、基板14が台座42に配置される状態において、放熱ピン22の先端部22aが基板14の表面14aから突出させられるように構成したので、基板14の厚さや放熱ピン22の長さにおける成形誤差(寸法公差)がある場合であっても、それを吸収(許容)することができる。
尚、基板14が台座42に配置されるとき、電子部品(コネクタ)12bは、その本体部12b1がケース16の切り欠き部46を介して外方へと突出させられる。
次いで、放熱ピン22と挿通孔24との間に形成される間隙26に熱伝導材30が充填される。熱伝導材30は、具体的にはシリコーンオイルに熱伝導性を有する添加剤(フィラー。例えば金属粉など)、より詳しくは熱伝導率がシリコーンオイルのそれに比して高い添加剤が添加されてなる、放熱グリスである。この熱伝導材30の熱伝導率は、例えば約1.1[W/m・K]である。
その後、図示しないネジが基板14の取り付け孔40とケース16のネジ穴44に挿通されることによって基板14がケース16に締結固定される(取り付けられる)。次いで、カバー20がケース16に取り付けられる。具体的には、図示しないネジがカバー20の取り付け孔52とケース16のネジ穴50に挿通されることで、カバー20がケース16にその開口を被覆するように取り付けられる。上記のようにして電子回路基板の収容装置10が完成する。
このように、第1実施例に係る電子回路基板の収容装置10にあっては、ケース16に突設される放熱ピン22と、基板14において電子部品12aの付近に穿設される放熱ピン22の挿通孔24と、放熱ピン22と挿通孔24との間に形成される間隙26に充填される熱伝導材30とを備えるように構成したので、図4に一点鎖線で示す如く、電子部品12aから発せられる熱を基板14、挿通孔24、熱伝導材30および放熱ピン22を介してケース(放熱器)16に伝達させることができ、よって基板14や電子部品12に作用する応力、レイアウトの制限などを生じさせることなく、放熱性を向上させることができる。
即ち、従来技術のように基板をケースにネジで固定して放熱性を向上させる構成ではないため、ネジの締め付けトルクによって基板や電子部品に応力が生じることはない。また、例えば電子部品12aのレイアウトを変更する場合であっても、放熱ピン22と挿通孔24の位置を電子部品12aに応じて変更すれば足りるため、レイアウトの制限などを受けることなく、容易に対応することができる。さらに、ケース16に放熱ピン22が突設される一方、その挿通孔24が基板14に穿設されるように構成したので、基板14は挿通孔24に放熱ピン22が挿通されることでケース16に対して位置決めされる、即ち、放熱ピン22を基板14のケースに対する位置決めとして機能させることも可能となる。
また、基板14に形成される電子部品12aの本体部12a1の載置用パッド32と、挿通孔24に形成されるスルーホール24aと、載置用パッド32とスルーホール24aとを接続する導体パターン36とを備えるように構成、即ち、電子部品12aと挿通孔24とを熱伝導性に優れる載置用パッド32、導体パターン36およびスルーホール24aを介して接続するように構成したので、図4に一点鎖線で示すように、電子部品12aの熱を載置用パッド34、導体パターン36およびスルーホール24aを介してケース16の放熱ピン22に効率良く伝達でき、よって放熱性をより一層向上させることができる。
また、放熱ピン22の先端部22aがテーパ形状であるように構成したので、放熱ピン22を挿通孔24に容易に挿通させることができる。
次いで、この発明の第2実施例に係る電子回路基板の収容装置10について説明する。
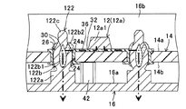
図5は第2実施例に係る電子回路基板の収容装置10の放熱ピン122付近を拡大して示す、図4と同様な拡大断面図である。尚、第1実施例と共通の構成については、同一の符号を付して説明を省略する。
以下、第1実施例と相違する点に焦点をおいて説明すると、第2実施例にあっては、図5に示す如く、放熱ピン122がプレスフィットピン(圧入端子)からなるように構成した。具体的には、放熱ピン122は、ケース16の底面16aから連続して形成される本体部122aと、本体部122aから連続して形成される圧入保持部122bと、圧入保持部122bから連続して形成される先端部122cとを備える。
本体部122aは側面視略矩形状を呈すると共に、圧入保持部122bは側面視略楕円形状を呈するように形成される。また、圧入保持部122bの中央部には、側面視略楕円形状の開口部122b1が形成される。これにより、圧入保持部122bに紙面左右方向から外力が作用すると、開口部122b1は変形、即ち、圧入保持部122bは弾性変形させられる。具体的には、圧入保持部122bは、その幅方向(紙面において左右方向)の外形寸法が減少するように変形させられる。尚、圧入保持部122bの幅方向の外形寸法は、挿通孔24(スルーホール24a)の孔径よりも若干大きくなるように設定される。
圧入保持部122bの側面には、開口部122b1に熱伝導材30を注入するため(換言すれば、開口部122b1における熱伝導材30の充填を容易にするため)の注入孔122b2が穿設される。また、先端部122cは、先端に向けて縮径される、即ち、テーパ形状とされる。
次いで、上記の如く構成された放熱ピン122の挿通孔24への挿通について説明する。基板14が台座42に配置されてケース16に取り付けられる際、基板14の挿通孔24には、放熱ピン122の先端部122cが挿通させられ、その後圧入保持部122bが挿通させられる。前述したように、圧入保持部122bの幅方向の外形寸法は挿通孔24の孔径よりも大きくなるように形成されるため、圧入保持部122bは、挿通孔24内に挿通させられるとき、紙面左右方向に弾性変形させられつつ圧入(挿入)される。
その後、放熱ピン122の圧入保持部122bは挿通孔24の適宜位置(中央付近)まで圧入されて保持され、それによって基板14はケース16に仮固定(仮止め)された状態となる。この状態で、熱伝導材30が、放熱ピン122と挿通孔24との間に形成される間隙26に充填されると共に、注入孔122b2から注入されて開口部122b1に充填される。そして、図示しないネジが基板14の取り付け孔40とケース16のネジ穴44に挿通されることによって基板14がケース16に締結固定される(取り付けられる)。
このように、第2実施例に係る電子回路基板の収容装置10にあっては、放熱ピン122がケース16の底面16aから連続して形成される本体部122aと、本体部122aから連続して形成される圧入保持部122bと、圧入保持部から連続して形成されるテーパ形状の先端部122cとを備えるプレスフィットピン(圧入端子)からなるように構成したので、基板14の縁部をネジなどでケース16に固定する場合において、プレスフィットピンを挿通孔24に挿通させて基板14をケース16に仮固定(仮止め)した後、前記ネジによる固定を行うことも可能、即ち、プレスフィットピンを用いて基板14を仮固定することで、基板14のケース16に対する位置ズレを防止しつつネジによる固定を行うことも可能となる。
また、図5に一点鎖線で示す如く、放熱ピン122がプレスフィットピンからなる場合であっても、第1実施例と同様、電子部品12aの熱を基板14、挿通孔24、熱伝導材30および放熱ピン122などを介してケース16に伝達させることができ、よって放熱性を向上させることができる。
また、放熱ピン122の圧入保持部122bの中央部に開口部122b1が形成されると共に、その側面に開口部122b1に熱伝導材30を注入するための注入孔122b2を備えるように構成したので、熱伝導材30の開口部122b1への注入(充填)を容易にすることができる。
尚、残余の構成および効果は、第1実施例のそれと異ならない。
以上の如く、この発明の第1および第2実施例にあっては、電子部品12aが実装される電子回路基板(基板)14と、前記電子回路基板が収容されるケース16とを備える電子回路基板の収容装置10において、前記ケースに突設される突起部(放熱ピン)22,122と、前記電子回路基板において前記電子部品の付近に穿設される前記突起部の挿通孔24と、前記突起部と前記挿通孔との間に形成される間隙26に充填される熱伝導材30とを備えるように構成した。
また、前記電子回路基板14に形成される前記電子部品12aの本体部12a1の載置用パッド32と、前記挿通孔24に形成されるスルーホール24aと、前記載置用パッド32と前記スルーホール24aとを接続する導体パターン36とを備えるように構成した。
また、前記突起部(放熱ピン)22,122の先端部22a,122cがテーパ形状であるように構成した。
また、第2実施例にあっては、前記突起部(放熱ピン)122がケース16の底面16aから連続して形成される本体部122aと、本体部122aから連続して形成される圧入保持部122bと、圧入保持部から連続して形成されるテーパ形状の先端部122cとを備えるプレスフィットピンからなるように構成した。
尚、上記において、ケース16に放熱ピン22,122が2本突設されるように構成したが、それに限られるものではなく、例えば1本あるいは3本以上であっても良く、その本数は電子部品12aの発熱量などに応じて適宜設定される。
また、導体パターン36が基板14の表面14aに形成されるように構成したが、要は載置用パッド32とスルーホール24aとを接続するような構成であれば足りるため、例えば導体パターン36は基板14の内層に形成される内層パターンであっても良い。
また、基板14やケース16、熱伝導材30の材質などを具体的に示したが、それらは例示であって限定されるものではない。
また、上記で「上面」「底面」「側面」「下方」などの表現を使用したが、それらは図面上の上下方向と左右方向に基づく表現であり、電子回路基板の収容装置10の実空間内における取り付け方向(向き)を規定するものではない。
この発明の第1実施例に係る電子回路基板の収容装置を全体的に示す分解斜視図である。 図1に示す電子回路基板の収容装置を組み立ててカバーを取り外した状態を示す斜視図である。 図2に示す電子回路基板の収容装置の電子部品付近を拡大して示す拡大平面図である。 図3のIV−IV線断面図である。 この発明の第2実施例に係る電子回路基板の収容装置の放熱ピン付近を拡大して示す、図4と同様な拡大断面図である。
符号の説明
10 収容装置、12a 電子部品、12a1 本体部、14 基板(電子回路基板)、16 ケース、22,122 放熱ピン(突起部)、22a,122c 先端部、24 挿通孔、24a スルーホール、26 間隙、30 熱伝導材、32 載置用パッド、36 導体パターン

Claims (2)

  1. 電子部品が実装される電子回路基板と、前記電子回路基板が収容されるケースとを備える電子回路基板の収容装置において、前記ケースに突設される突起部と、前記電子回路基板において前記電子部品の付近に穿設される前記突起部の挿通孔と、前記突起部と前記挿通孔との間に形成される間隙に充填される熱伝導材とを備え、前記突起部は、前記ケースの底面から連続して形成される本体部と、前記本体部から連続して形成される圧入保持部と、前記圧入保持部から連続して形成されるテーパ形状の先端部とを備えるプレスフィットピンからなり、前記圧入保持部の中央部に開口部が形成されると共に、前記圧入保持部の側面に前記開口部に前記熱伝導材を注入するための注入孔が穿設されることを特徴とする電子回路基板の収容装置。
  2. 前記電子回路基板に形成される前記電子部品の本体部の載置用パッドと、前記挿通孔に形成されるスルーホールと、前記載置用パッドと前記スルーホールとを接続する導体パターンとを備えることを特徴とする請求項1記載の電子回路基板の収容装置。
JP2008276080A 2008-10-27 2008-10-27 電子回路基板の収容装置 Expired - Fee Related JP5259339B2 (ja)

Priority Applications (1)

Application Number Priority Date Filing Date Title
JP2008276080A JP5259339B2 (ja) 2008-10-27 2008-10-27 電子回路基板の収容装置

Applications Claiming Priority (1)

Application Number Priority Date Filing Date Title
JP2008276080A JP5259339B2 (ja) 2008-10-27 2008-10-27 電子回路基板の収容装置

Publications (2)

Publication Number Publication Date
JP2010103446A JP2010103446A (ja) 2010-05-06
JP5259339B2 true JP5259339B2 (ja) 2013-08-07

Family

ID=42293805

Family Applications (1)

Application Number Title Priority Date Filing Date
JP2008276080A Expired - Fee Related JP5259339B2 (ja) 2008-10-27 2008-10-27 電子回路基板の収容装置

Country Status (1)

Country Link
JP (1) JP5259339B2 (ja)

Families Citing this family (7)

* Cited by examiner, † Cited by third party
Publication number Priority date Publication date Assignee Title
JP2013206950A (ja) * 2012-03-27 2013-10-07 Keihin Corp 電子装置
JP6417831B2 (ja) * 2014-10-01 2018-11-07 岩崎電気株式会社 負荷一体型電源装置及びled一体型電源照明装置
EP3361844A4 (en) * 2015-12-02 2019-11-20 NSK Ltd. SUBSTRATE WITH ASSEMBLED ELECTRONIC COMPONENT AND STRUCTURE OF A HOUSING FOR THIS SUBSTRATE
JP2018156796A (ja) * 2017-03-16 2018-10-04 テイ・エス テック株式会社 照明装置
CN114135842A (zh) 2017-03-16 2022-03-04 提爱思科技股份有限公司 照明装置
KR102861499B1 (ko) * 2019-12-18 2025-09-18 엘지이노텍 주식회사 전자장치
US20240170229A1 (en) * 2021-03-25 2024-05-23 Panasonic Intellectual Property Management Co., Ltd. Power storage module and manufacturing method for power storage module

Family Cites Families (6)

* Cited by examiner, † Cited by third party
Publication number Priority date Publication date Assignee Title
JPS5885770U (ja) * 1981-12-07 1983-06-10 富士通株式会社 コネクタピンの取付構造
JP2004172459A (ja) * 2002-11-21 2004-06-17 Advics:Kk 電子制御装置における電子部品の放熱構造
JP2006032277A (ja) * 2004-07-21 2006-02-02 Koyo Seiko Co Ltd プレスフィットピン、プレスフィットピンの接合方法及び電動パワーステアリング装置
JP4238227B2 (ja) * 2005-03-25 2009-03-18 日信工業株式会社 電子部品板収容箱
JP2006294754A (ja) * 2005-04-07 2006-10-26 Denso Corp 電子装置の放熱構造
JP2007250964A (ja) * 2006-03-17 2007-09-27 Fdk Corp ピン端子のリフロー半田付け方法およびそのピン端子

Also Published As

Publication number Publication date
JP2010103446A (ja) 2010-05-06

Similar Documents

Publication Publication Date Title
JP5259339B2 (ja) 電子回路基板の収容装置
JP6981564B2 (ja) 金属部材付き基板、回路構成体及び電気接続箱
JP3864873B2 (ja) 電子制御装置
CN102090161A (zh) 控制装置的改进的散热
JP2009246170A (ja) 制御装置
WO2018216465A1 (ja) 回路構成体
KR20190135514A (ko) 회로 구성체 및 전기 접속 박스
CN113690691B (zh) 电路连接模块
CN110121922B (zh) 电路结构体以及电气接线箱
JP6227937B2 (ja) 車両用電子制御装置
JP2017098332A (ja) 電子回路装置
JP4746082B2 (ja) 電子部品の端子構造
CN110301166B (zh) 电子器件模块和用于制造电子器件模块的方法
JP2006287065A (ja) 電子装置
JP6443265B2 (ja) 実装基板
JP2010098242A (ja) 電子回路基板の収容装置
JP6565757B2 (ja) 電子装置
JP3663868B2 (ja) 半導体装置及びその製造方法
JP2017208273A (ja) 電子装置
JP6230799B2 (ja) 制御装置
JP2011254020A (ja) 配線基板及びその製造方法
JP2002118341A (ja) 電子部品、電子部品の取付構造、一次接続用端子、電子部品の取付方法
JP5497389B2 (ja) 電気接続箱
JP2008277591A (ja) 電子機器用ケース構造
JP2018092858A (ja) バスバー

Legal Events

Date Code Title Description
A621 Written request for application examination

Free format text: JAPANESE INTERMEDIATE CODE: A621

Effective date: 20110812

A977 Report on retrieval

Free format text: JAPANESE INTERMEDIATE CODE: A971007

Effective date: 20120813

A131 Notification of reasons for refusal

Free format text: JAPANESE INTERMEDIATE CODE: A131

Effective date: 20120816

A521 Written amendment

Free format text: JAPANESE INTERMEDIATE CODE: A523

Effective date: 20121012

TRDD Decision of grant or rejection written
A01 Written decision to grant a patent or to grant a registration (utility model)

Free format text: JAPANESE INTERMEDIATE CODE: A01

Effective date: 20130410

A61 First payment of annual fees (during grant procedure)

Free format text: JAPANESE INTERMEDIATE CODE: A61

Effective date: 20130424

FPAY Renewal fee payment (event date is renewal date of database)

Free format text: PAYMENT UNTIL: 20160502

Year of fee payment: 3

R150 Certificate of patent or registration of utility model

Free format text: JAPANESE INTERMEDIATE CODE: R150

LAPS Cancellation because of no payment of annual fees