JP5241173B2 - 有機el素子の製造方法 - Google Patents
有機el素子の製造方法 Download PDFInfo
- Publication number
- JP5241173B2 JP5241173B2 JP2007220813A JP2007220813A JP5241173B2 JP 5241173 B2 JP5241173 B2 JP 5241173B2 JP 2007220813 A JP2007220813 A JP 2007220813A JP 2007220813 A JP2007220813 A JP 2007220813A JP 5241173 B2 JP5241173 B2 JP 5241173B2
- Authority
- JP
- Japan
- Prior art keywords
- layer
- passivation layer
- organic
- film
- forming
- Prior art date
- Legal status (The legal status is an assumption and is not a legal conclusion. Google has not performed a legal analysis and makes no representation as to the accuracy of the status listed.)
- Expired - Fee Related
Links
Images
Classifications
-
- H—ELECTRICITY
- H10—SEMICONDUCTOR DEVICES; ELECTRIC SOLID-STATE DEVICES NOT OTHERWISE PROVIDED FOR
- H10K—ORGANIC ELECTRIC SOLID-STATE DEVICES
- H10K50/00—Organic light-emitting devices
- H10K50/10—OLEDs or polymer light-emitting diodes [PLED]
- H10K50/17—Carrier injection layers
- H10K50/171—Electron injection layers
-
- H—ELECTRICITY
- H10—SEMICONDUCTOR DEVICES; ELECTRIC SOLID-STATE DEVICES NOT OTHERWISE PROVIDED FOR
- H10K—ORGANIC ELECTRIC SOLID-STATE DEVICES
- H10K50/00—Organic light-emitting devices
- H10K50/80—Constructional details
- H10K50/84—Passivation; Containers; Encapsulations
- H10K50/841—Self-supporting sealing arrangements
-
- H—ELECTRICITY
- H10—SEMICONDUCTOR DEVICES; ELECTRIC SOLID-STATE DEVICES NOT OTHERWISE PROVIDED FOR
- H10K—ORGANIC ELECTRIC SOLID-STATE DEVICES
- H10K50/00—Organic light-emitting devices
- H10K50/80—Constructional details
- H10K50/84—Passivation; Containers; Encapsulations
- H10K50/842—Containers
- H10K50/8426—Peripheral sealing arrangements, e.g. adhesives, sealants
-
- H—ELECTRICITY
- H10—SEMICONDUCTOR DEVICES; ELECTRIC SOLID-STATE DEVICES NOT OTHERWISE PROVIDED FOR
- H10K—ORGANIC ELECTRIC SOLID-STATE DEVICES
- H10K50/00—Organic light-emitting devices
- H10K50/80—Constructional details
- H10K50/84—Passivation; Containers; Encapsulations
- H10K50/844—Encapsulations
-
- H—ELECTRICITY
- H10—SEMICONDUCTOR DEVICES; ELECTRIC SOLID-STATE DEVICES NOT OTHERWISE PROVIDED FOR
- H10K—ORGANIC ELECTRIC SOLID-STATE DEVICES
- H10K59/00—Integrated devices, or assemblies of multiple devices, comprising at least one organic light-emitting element covered by group H10K50/00
- H10K59/80—Constructional details
- H10K59/87—Passivation; Containers; Encapsulations
- H10K59/871—Self-supporting sealing arrangements
-
- H—ELECTRICITY
- H10—SEMICONDUCTOR DEVICES; ELECTRIC SOLID-STATE DEVICES NOT OTHERWISE PROVIDED FOR
- H10K—ORGANIC ELECTRIC SOLID-STATE DEVICES
- H10K59/00—Integrated devices, or assemblies of multiple devices, comprising at least one organic light-emitting element covered by group H10K50/00
- H10K59/80—Constructional details
- H10K59/87—Passivation; Containers; Encapsulations
- H10K59/873—Encapsulations
-
- H—ELECTRICITY
- H10—SEMICONDUCTOR DEVICES; ELECTRIC SOLID-STATE DEVICES NOT OTHERWISE PROVIDED FOR
- H10K—ORGANIC ELECTRIC SOLID-STATE DEVICES
- H10K2102/00—Constructional details relating to the organic devices covered by this subclass
- H10K2102/301—Details of OLEDs
- H10K2102/302—Details of OLEDs of OLED structures
- H10K2102/3023—Direction of light emission
- H10K2102/3026—Top emission
-
- H—ELECTRICITY
- H10—SEMICONDUCTOR DEVICES; ELECTRIC SOLID-STATE DEVICES NOT OTHERWISE PROVIDED FOR
- H10K—ORGANIC ELECTRIC SOLID-STATE DEVICES
- H10K50/00—Organic light-emitting devices
- H10K50/80—Constructional details
- H10K50/86—Arrangements for improving contrast, e.g. preventing reflection of ambient light
-
- H—ELECTRICITY
- H10—SEMICONDUCTOR DEVICES; ELECTRIC SOLID-STATE DEVICES NOT OTHERWISE PROVIDED FOR
- H10K—ORGANIC ELECTRIC SOLID-STATE DEVICES
- H10K59/00—Integrated devices, or assemblies of multiple devices, comprising at least one organic light-emitting element covered by group H10K50/00
- H10K59/80—Constructional details
- H10K59/8791—Arrangements for improving contrast, e.g. preventing reflection of ambient light
Landscapes
- Physics & Mathematics (AREA)
- Optics & Photonics (AREA)
- Electroluminescent Light Sources (AREA)
Description
基板の上に下部電極と有機化合物層と上部電極とを積層する工程と、それらを覆うパッシベーション層を形成する工程とを、少なくとも有する有機EL素子の製造方法において、
前記有機化合物層のうち電子注入層がアルカリ金属又はアルカリ金属化合物を含有し、前記上部電極は酸化膜からなり、
前記積層する工程は、前記電子注入層を形成する工程と、前記電子注入層の直上に前記上部電極を形成する工程とを含み、
前記パッシベーション層を形成する工程は、前記上部電極の直上に珪素を含みかつ水素を含まない材料を用いて第一パッシベーション層を形成する工程と、前記第一パッシベーション層の上に珪素および水素を含む材料を用いて、CVD法により第二パッシベーション層を形成する工程とを含むことを特徴とする。
TMS(Tri Methoxy Silane)、OMCTS(Octamethylcycotetrasiloxane)などを用いることができるが、これらに限られるものではない。その他補助材料ガスとして水素、アルゴンなどのガスを用いる。
図1に示す本発明の有機EL素子におけるボイドの発生について評価する。
実施例2では、第一パッシべーション層6に酸化珪素を用いて、図1に示す有機EL素子を第一パッシべーション層6の膜厚を変えて製作した。
実施例3では、第一パッシべーション層6の第一層61に酸化珪素を用い、第二層62に窒化珪素を用いて、図2に示す有機EL素子を膜厚を変えて製作した。
実施例4では、第一パッシべーション層6に窒化珪素を用いて、図1に示す有機EL素子を膜厚を変えて製作した。
実施例5では、図6に示す有機EL素子を製作した。
実施例6では、図5に示す有機EL素子を製作した。
実施例7では、図6に示す有機EL素子を製作した。
比較例では、図8に示す第一パッシべーション層6を用いない有機EL素子を製作した。
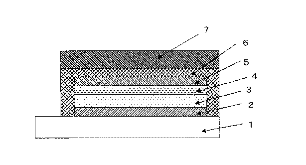
2 下部電極
3 有機化合物層(ホール注入層/発光層/電子輸送層)
4 電子注入層
5 上部電極
6 第一パッシべーション層
7 第二パッシべーション層
8 円偏光板
61 第一パッシべーション層の第一層
62 第一パッシべーション層の第二層
71 第二パッシべーション層の第一層
72 第二パッシべーション層の第二層
Claims (4)
- 基板の上に下部電極と有機化合物層と上部電極とを積層する工程と、それらを覆うパッシベーション層を形成する工程とを、少なくとも有する有機EL素子の製造方法において、
前記有機化合物層のうち電子注入層がアルカリ金属又はアルカリ金属化合物を含有し、前記上部電極は酸化膜からなり、
前記積層する工程は、前記電子注入層を形成する工程と、前記電子注入層の直上に前記上部電極を形成する工程とを含み、
前記パッシベーション層を形成する工程は、前記上部電極の直上に珪素を含みかつ水素を含まない材料を用いて第一パッシベーション層を形成する工程と、前記第一パッシベーション層の上に珪素および水素を含む材料を用いて、CVD法により第二パッシベーション層を形成する工程とを含むことを特徴とする有機EL素子の製造方法。 - 前記第一パッシベーション層を形成する工程は、酸化物、窒化物、酸化窒化物の何れかの絶縁膜の単層又は複数層を蒸着法、またはスパッタリング法で形成する工程であることを特徴とする請求項1に記載の有機EL素子の製造方法。
- 前記第二パッシベーション層を形成する工程は、酸化物、窒化物、酸化窒化物の何れかの絶縁膜を形成する工程であることを特徴とする請求項1または2に記載の有機EL素子の製造方法。
- 前記電子注入層を形成する工程は、有機化合物とアルカリ金属又はアルカリ金属化合物とを共蒸着する工程であることを特徴とする請求項1乃至3の何れか一項に記載の有機EL素子の製造方法。
Priority Applications (2)
| Application Number | Priority Date | Filing Date | Title |
|---|---|---|---|
| JP2007220813A JP5241173B2 (ja) | 2007-08-28 | 2007-08-28 | 有機el素子の製造方法 |
| US12/193,620 US7994707B2 (en) | 2007-08-28 | 2008-08-18 | Organic el device and method of producing the device |
Applications Claiming Priority (1)
| Application Number | Priority Date | Filing Date | Title |
|---|---|---|---|
| JP2007220813A JP5241173B2 (ja) | 2007-08-28 | 2007-08-28 | 有機el素子の製造方法 |
Publications (3)
| Publication Number | Publication Date |
|---|---|
| JP2009054444A JP2009054444A (ja) | 2009-03-12 |
| JP2009054444A5 JP2009054444A5 (ja) | 2010-10-14 |
| JP5241173B2 true JP5241173B2 (ja) | 2013-07-17 |
Family
ID=40406365
Family Applications (1)
| Application Number | Title | Priority Date | Filing Date |
|---|---|---|---|
| JP2007220813A Expired - Fee Related JP5241173B2 (ja) | 2007-08-28 | 2007-08-28 | 有機el素子の製造方法 |
Country Status (2)
| Country | Link |
|---|---|
| US (1) | US7994707B2 (ja) |
| JP (1) | JP5241173B2 (ja) |
Families Citing this family (9)
| Publication number | Priority date | Publication date | Assignee | Title |
|---|---|---|---|---|
| KR100999779B1 (ko) * | 2010-02-01 | 2010-12-08 | 엘지이노텍 주식회사 | 발광소자, 발광소자의 제조방법 및 발광소자 패키지 |
| TWI515936B (zh) * | 2011-12-15 | 2016-01-01 | 友達光電股份有限公司 | 發光裝置及其製作方法 |
| KR101980231B1 (ko) * | 2012-09-18 | 2019-05-21 | 삼성디스플레이 주식회사 | 박막봉지를 구비한 평판 표시 장치 및 그 제조방법 |
| JP2014141714A (ja) * | 2013-01-24 | 2014-08-07 | Kaneka Corp | 真空蒸着装置及び有機el装置の製造方法 |
| WO2015170657A1 (ja) * | 2014-05-07 | 2015-11-12 | シャープ株式会社 | エレクトロルミネッセンス装置、及び製造方法 |
| JP6586328B2 (ja) * | 2015-09-04 | 2019-10-02 | 東京エレクトロン株式会社 | 被処理体を処理する方法 |
| CN105552247B (zh) * | 2015-12-08 | 2018-10-26 | 上海天马微电子有限公司 | 复合基板、柔性显示装置及其制备方法 |
| KR102125204B1 (ko) * | 2018-10-05 | 2020-06-22 | 경희대학교 산학협력단 | 전자 수송층을 포함하는 박막형 발광소자 및 그 제조 방법 |
| EP4131446A4 (en) * | 2020-03-27 | 2023-05-03 | BOE Technology Group Co., Ltd. | Display substrate, preparation method therefor, and display device |
Family Cites Families (10)
| Publication number | Priority date | Publication date | Assignee | Title |
|---|---|---|---|---|
| JP2000077183A (ja) | 1998-08-31 | 2000-03-14 | Pioneer Electronic Corp | 有機エレクトロルミネセンス素子の製造方法 |
| JP3817081B2 (ja) * | 1999-01-29 | 2006-08-30 | パイオニア株式会社 | 有機el素子の製造方法 |
| US7339317B2 (en) * | 2000-06-05 | 2008-03-04 | Semiconductor Energy Laboratory Co., Ltd. | Light-emitting device having triplet and singlet compound in light-emitting layers |
| JP4600857B2 (ja) | 2000-10-27 | 2010-12-22 | Tdk株式会社 | 有機el素子の製造方法および有機el素子 |
| JP3705282B2 (ja) | 2002-10-03 | 2005-10-12 | セイコーエプソン株式会社 | 表示パネル及びその表示パネルを備えた電子機器並びに表示パネルの製造方法 |
| JP4588312B2 (ja) * | 2003-12-02 | 2010-12-01 | 株式会社半導体エネルギー研究所 | 発光装置の作製方法 |
| JP2005203321A (ja) * | 2004-01-19 | 2005-07-28 | Pioneer Electronic Corp | 保護膜および有機el素子 |
| KR100699988B1 (ko) * | 2004-03-19 | 2007-03-26 | 삼성에스디아이 주식회사 | 평판표시장치 |
| JP2005322464A (ja) * | 2004-05-07 | 2005-11-17 | Canon Inc | 有機el素子 |
| JP5268249B2 (ja) * | 2005-12-14 | 2013-08-21 | キヤノン株式会社 | 有機発光素子の製造方法 |
-
2007
- 2007-08-28 JP JP2007220813A patent/JP5241173B2/ja not_active Expired - Fee Related
-
2008
- 2008-08-18 US US12/193,620 patent/US7994707B2/en active Active
Also Published As
| Publication number | Publication date |
|---|---|
| JP2009054444A (ja) | 2009-03-12 |
| US7994707B2 (en) | 2011-08-09 |
| US20090058275A1 (en) | 2009-03-05 |
Similar Documents
| Publication | Publication Date | Title |
|---|---|---|
| JP5241173B2 (ja) | 有機el素子の製造方法 | |
| US8638032B2 (en) | Organic optoelectronic device coated with a multilayer encapsulation structure and a method for encapsulating said device | |
| KR101366449B1 (ko) | 광 반도체 장치 및 그 제조 방법 | |
| CN101431147B (zh) | 有机el显示装置及其制造方法 | |
| US20110097533A1 (en) | Thin film encapsulation method | |
| US20160056414A1 (en) | Thin film permeation barrier system for substrates and devices and method of making the same | |
| TW200913344A (en) | Method for applying a thin-film encapsulation layer assembly to an organic device, and an organic device provided with a thin-film encapsulation layer assembly preferably applied with such a method | |
| US8975534B2 (en) | Flexible base material and flexible electronic device | |
| CN100433403C (zh) | 有机电致发光器件和其制造方法 | |
| CN104051652B (zh) | 一种柔性薄膜晶体管 | |
| US20190221771A1 (en) | Buffer layer for organic light emitting devices and method of making the same | |
| US20140264296A1 (en) | Barrier film performance with n2o dilution process for thin film encapsulation | |
| CN104160062B (zh) | 含硅膜和含硅膜形成方法 | |
| US20150068600A1 (en) | Chemical vapor deposited film formed by plasma cvd method | |
| JP2005166400A (ja) | 表面保護膜 | |
| US8487413B2 (en) | Passivation film for electronic device and method of manufacturing the same | |
| KR102375255B1 (ko) | 투습 방지막과 그 제조 방법 | |
| JP5049613B2 (ja) | 有機発光装置及びその製造方法 | |
| WO2015061656A1 (en) | Flexible permation barrier system deposited in a single process and having ultralow permeability and low mechanical stress over its service life | |
| KR100953372B1 (ko) | 저온 큐어링을 이용한 가스 베리어 층의 형성방법 및 이를 이용한 유기전계발광소자의 제조방법 | |
| CN120981104A (zh) | 一种硅基oled封装结构及制作方法、显示面板 | |
| KR20100124017A (ko) | 플렉시블 오엘이디 디스플레이의 제조방법 | |
| WO2014147789A1 (ja) | 有機エレクトロルミネセンス装置、有機エレクトロルミネセンス装置の製造方法及び成膜方法 |
Legal Events
| Date | Code | Title | Description |
|---|---|---|---|
| A521 | Request for written amendment filed |
Free format text: JAPANESE INTERMEDIATE CODE: A523 Effective date: 20100827 |
|
| A621 | Written request for application examination |
Free format text: JAPANESE INTERMEDIATE CODE: A621 Effective date: 20100827 |
|
| A977 | Report on retrieval |
Free format text: JAPANESE INTERMEDIATE CODE: A971007 Effective date: 20111222 |
|
| A131 | Notification of reasons for refusal |
Free format text: JAPANESE INTERMEDIATE CODE: A131 Effective date: 20111227 |
|
| A521 | Request for written amendment filed |
Free format text: JAPANESE INTERMEDIATE CODE: A523 Effective date: 20120224 |
|
| A131 | Notification of reasons for refusal |
Free format text: JAPANESE INTERMEDIATE CODE: A131 Effective date: 20120619 |
|
| TRDD | Decision of grant or rejection written | ||
| A01 | Written decision to grant a patent or to grant a registration (utility model) |
Free format text: JAPANESE INTERMEDIATE CODE: A01 Effective date: 20130305 |
|
| A61 | First payment of annual fees (during grant procedure) |
Free format text: JAPANESE INTERMEDIATE CODE: A61 Effective date: 20130402 |
|
| FPAY | Renewal fee payment (event date is renewal date of database) |
Free format text: PAYMENT UNTIL: 20160412 Year of fee payment: 3 |
|
| R151 | Written notification of patent or utility model registration |
Ref document number: 5241173 Country of ref document: JP Free format text: JAPANESE INTERMEDIATE CODE: R151 |
|
| FPAY | Renewal fee payment (event date is renewal date of database) |
Free format text: PAYMENT UNTIL: 20160412 Year of fee payment: 3 |
|
| LAPS | Cancellation because of no payment of annual fees |
