JP5200726B2 - インプリント方法、プレインプリントモールド、プレインプリントモールド製造方法、インプリント装置 - Google Patents

インプリント方法、プレインプリントモールド、プレインプリントモールド製造方法、インプリント装置 Download PDF

Info

Publication number
JP5200726B2
JP5200726B2 JP2008188268A JP2008188268A JP5200726B2 JP 5200726 B2 JP5200726 B2 JP 5200726B2 JP 2008188268 A JP2008188268 A JP 2008188268A JP 2008188268 A JP2008188268 A JP 2008188268A JP 5200726 B2 JP5200726 B2 JP 5200726B2
Authority
JP
Japan
Prior art keywords
imprint mold
pattern
imprint
transfer material
mold
Prior art date
Legal status (The legal status is an assumption and is not a legal conclusion. Google has not performed a legal analysis and makes no representation as to the accuracy of the status listed.)
Expired - Fee Related
Application number
JP2008188268A
Other languages
English (en)
Other versions
JP2010023360A (ja
Inventor
宗尚 相馬
学 鈴木
Current Assignee (The listed assignees may be inaccurate. Google has not performed a legal analysis and makes no representation or warranty as to the accuracy of the list.)
Toppan Inc
Original Assignee
Toppan Inc
Priority date (The priority date is an assumption and is not a legal conclusion. Google has not performed a legal analysis and makes no representation as to the accuracy of the date listed.)
Filing date
Publication date
Application filed by Toppan Inc filed Critical Toppan Inc
Priority to JP2008188268A priority Critical patent/JP5200726B2/ja
Publication of JP2010023360A publication Critical patent/JP2010023360A/ja
Application granted granted Critical
Publication of JP5200726B2 publication Critical patent/JP5200726B2/ja
Expired - Fee Related legal-status Critical Current
Anticipated expiration legal-status Critical

Links

Images

Landscapes

  • Moulds For Moulding Plastics Or The Like (AREA)
  • Shaping Of Tube Ends By Bending Or Straightening (AREA)
  • Exposure Of Semiconductors, Excluding Electron Or Ion Beam Exposure (AREA)

Description

本発明は、インプリント方法、該インプリント方法を行うインプリント装置、該インプリント方法の実施に適したプレインプリントモールド、並びに、該プレインプリントモールドの製造に適した方法、に関する。
近年、種々の用途に応じて、特定の微細な凹凸パターン(3次元構造パターン)を形成する方法が求められている。
特定の微細な凹凸パターンの用途としては、例えば、半導体デバイス、光学素子、配線回路、データストレージメディア(ハードディスク、光学メディアなど)、医療用部材(分析検査用チップ、マイクロニードルなど)、バイオデバイス(バイオセンサ、細胞培養基板など)、精密検査機器用部材(検査プローブ、試料保持部材など)、ディスプレイパネル、パネル部材、エネルギーデバイス(太陽電池、燃料電池など)、マイクロ流路、マイクロリアクタ、MEMSデバイス、インプリントモールド、フォトマスクなどの用途が挙げられる。
このような微細な凹凸パターンを形成する方法として、インプリント方法と呼ばれるパターン転写技術が提案されている(非特許文献1)。
インプリント方法は、最終的に転写すべき凹凸パターンのネガポジ反転像に対応する凹凸パターンが形成されたインプリントモールドと呼ばれる原型を、転写材料に型押しし、その状態で転写材料を硬化させることで、凹凸パターンの転写を行うものである。
特許文献1には、例えば、熱により転写材料を硬化させる熱インプリント方法が提案されている(特許文献1参照)。
特許文献2には、例えば、露光光により転写材料を硬化させる光インプリント方法が提案されている(特許文献2参照)。
一例として、図1に従来の一般的なインプリント方法について提示する。
まず、転写基板13上に、転写材料12を積層し、インプリントモールド11を対向して配置する(図1(a))。
次に、転写基板13とインプリントモールド11を接近させ、転写材料12とインプリントモールド11を接触させ、転写材料12を硬化する(図1(b))。
次に、転写基板13とインプリントモールド11とを遠ざけ、転写パターン14を得る(図1(c))。
特開2004−335012号公報 特開2000−194142号公報 Appl.phys.Lett.,vol.67,p3314(1995)
インプリント方法の原理上、インプリントモールドは、転写材料と物理的に接触することになる。
インプリントモールドに形成された凹凸パターンにおいて凹凸パターンの凹部に疎密の偏りがある場合、疎領域と密領域で充填される転写材料の量が異なるため、押圧に必要な荷重が疎領域と密領域とで異なる。このため、インプリントモールドと転写基板が接近するに際して、インプリントモールドが傾斜してしまう恐れがある(例えば、図1(b)参照)。このとき、傾斜した状態のまま転写材料の硬化を行うと、転写された凹凸パターンの高さが制御出来ないという問題が生じる(例えば、図1(c)参照)。
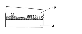
また、最初に接触したインプリントモールドの端部に荷重が集中し、応力が端部に集中する結果として、インプリントモールドが端部から破壊される恐れがある(例えば、図2参照)。
破壊されたインプリントモールドは、転写材料に正確に凹凸パターンを転写することができない。
また、破壊されたインプリントモールドの破片が異物や欠陥となる恐れがある。
また、インプリントモールド自身もパターン欠陥となるため連続してインプリント方法に用いることはできなくなる。
本発明は、上述の問題を解決するためになされたものであり、インプリントモールドの凹凸パターンに疎密の偏りがあっても、好適に凹凸パターンを転写することが出来るインプリント方法を提供することを目的とする。
請求項1に記載の本発明は、転写基板上に転写材料を積層する工程と、前記転写材料に段差パターンを形成する工程と、前記転写基板に対し凹凸パターンを備えたインプリントモールドを対向して配置する工程と、前記転写基板と前記インプリントモールドと接近させ前記段差パターンが形成された前記転写材料に凹凸パターンの転写を行う工程と、を備え、前記インプリントモールドを対向して配置する工程にあたり、前記転写材料に形成された前記段差パターンと、前記インプリントモールドに形成された前記凹凸パターンと、を対向させて配置することを特徴とするインプリント方法である。
請求項2に記載の本発明は、請求項1に記載のインプリント方法において、転写材料に形成された段差パターンの凹部の体積量と、インプリントモールドに形成された凹凸パターンの凹部の体積量と、は略同量であること特徴とするインプリント方法である。
請求項3に記載の本発明は、請求項1または2のいずれかに記載のインプリント方法であって、前記転写材料に段差パターンを形成する工程にあたり、段差パターンが形成されたプレインプリントモールドを転写基板に対向して配置し、接近させ、段差パターンを形成することを特徴とするインプリント方法である。
請求項4に記載の本発明は、凹部を有する段差パターンを備え、前記段差パターンの凹部は、対応するインプリントモールドの凹凸パターンの分布に準じて配置が決定されていることを特徴とするプレインプリントモールドである。
請求項5に記載の本発明は、請求項4に記載のプレインプリントモールドであって、
段差パターンの凹部の体積量と、対応するインプリントモールドに形成された凹凸パターンの凹部の体積量と、は略同量であることを特徴とするプレインプリントモールドである。
請求項6に記載の本発明は、対応するインプリントモールドの凹凸パターンの分布を測定する工程と、前記凹凸パターンの分布に準じて凹部が配置された段差パターンの設計を行う工程と、基板を用意し、該基板に前記段差パターンを形成する工程と、を備えたことを特徴とするプレインプリントモールド製造方法である。
請求項7に記載の本発明は、請求項6に記載のプレインプリントモールド製造方法であって、段差パターンの設計を行う工程にあたり、段差パターンの凹部の体積量と、インプリントモールドに形成された凹凸パターンの凹部の体積量と、を略同量とすることを特徴とするプレインプリントモールド製造方法である。
請求項8に記載の本発明は、請求項1から3のインプリント方法を行うインプリント装置である。
本発明のインプリント方法は、インプリントモールドと転写基板とを接近させるよりも先んじて、転写基板上の転写材料に段差パターンを形成する。
本発明の構成によれば、転写材料に段差パターンを形成することにより、凹凸パターンの凹部に対応する位置の転写材料を他の部位よりも厚くすることが出来、疎領域と密領域とで異なる押圧に必要な荷重の差を小さくすることが出来る。
よって、インプリントモールドの凹凸パターンの凹部に疎密の偏りがあり、疎領域と密領域で充填される転写材料の量が異なる場合であっても、インプリントモールドと転写基板が接近するに際して、インプリントモールドが傾斜することを抑制できる。
以下、具体的に、本発明のインプリント方法について説明を行う。
<転写基板上に転写材料を積層する工程>
まず、転写基板に転写材料を積層する。
転写基板は、使用する転写材料に適するように適宜選択することが出来る。例えば、シリコン、石英ガラス、などが挙げられる。
転写材料は、所望する凹凸パターン、凹凸パターンの用途などに応じて適宜選択してよい。例えば、熱硬化性樹脂、光硬化性樹脂、ゾルゲル材料などを用いても良い。
積層方法としては、転写材料の粘度に応じて、適宜公知の薄膜形成技術を用いれば良い。例えば、ダイコート法、スピンコート法などを用いても良い。
<転写材料に段差パターンを形成する工程>
次に、転写材料に段差パターンを形成する。
段差パターンは、後述する凹凸パターンを備えたインプリントモールドを対向して配置する工程にあたり、インプリントモールドの凹凸パターンと対向する位置の転写材料の厚みが厚くなるように形成される。
段差パターンの形成方法としては、積層した転写材料に厚みの分布を形成することが出来る方法であれば良く、適宜公知のパターン形成方法を用いて良い。
また、段差パターンの凸部の体積量と、インプリントモールドに形成された凹凸パターンの凹部の体積量と、は略同量であることが好ましい。なお、本願明細書において、略同量の略とは、インプリントモールドに形成された凹凸パターンの凹部の体積量の10%を許容範囲とすることをいう。
段差パターンの凸部の体積量と、インプリントモールドに形成された凹凸パターンの凹部の体積量と、を略同量とすることにより、インプリントモールドに充填される転写材料の量が考慮された段差パターンとなり、好適に転写材料とインプリントモールドの接触に際してインプリントモールドが傾斜することを抑制することが出来る。
また、段差パターンを形成するにあたり、段差パターンが形成されたプレインプリントモールドを転写基板に対向して配置し、接近させ、段差パターンを形成することが好ましい。
プレインプリントモールドを用いることにより、対応するインプリントモールドの凹凸パターンの配置に準じて、好適に段差パターンを形成することが出来る。
<転写基板に対し凹凸パターンを備えたインプリントモールドを対向して配置する工程>
次に、転写基板に対し凹凸パターンを備えたインプリントモールドを対向して配置する。
このとき、本発明のインプリント方法は、転写材料に形成された前記段差パターンと、前記インプリントモールドに形成された前記凹凸パターンと、を対向させて配置する。
これにより、凹凸パターンの凹部に対応する位置の転写材料を他の部位よりも厚くすることが出来、疎領域と密領域とで異なる押圧に必要な荷重の差を小さくすることが出来る。よって、インプリントモールドの凹凸パターンの凹部に疎密の偏りがあり、疎領域と密領域で充填される転写材料の量が異なる場合であっても、インプリントモールドと転写基板が接近するに際して、インプリントモールドが傾斜することを抑制できる。
また、インプリントモールドが傾斜することを抑制できることから、インプリントモールド端部の破壊を防ぎ、凹凸パターンを正確に転写することが可能となる。
なお、本明細書において、疎領域と密領域とは、インプリントモールドの凹凸パターン形成面において、凹凸パターン形成面内における凹部の分布が位置により相対的に異なることをいう。このため、例えば、単一の凹凸パターンであっても、凹凸パターンの凹部と、インプリントモールドにおける凹凸パターン形成面側の平坦部と、の間で疎密の偏りがあるものとする。
<転写基板と前記インプリントモールドと接近させ前記段差パターンが形成された前記転写材料に凹凸パターンの転写を行う工程>
次に、転写基板とインプリントモールドとを接近させ、転写材料に対し凹凸パターンの転写を行う。
転写材料や、所望する凹凸パターンの精度に応じて、転写材料の硬化を行っても良い。例えば、転写材料として熱硬化性樹脂を用いた場合、加熱により硬化を行ってよい。また、例えば、転写材料として光硬化性樹脂を用いた場合、露光光により硬化を行っても良い。
また、所望する凹凸パターンに応じて、残膜を除去してもよい。ここで、残膜とは、転写基板とインプリントモールドとの間に存在した転写材料であり、転写された凹凸パターンが形成されていない部位をいう。
残膜の除去は、選択した転写材料に応じて適宜適した除去方法を用いて良い。例えば、転写材料として、熱硬化性樹脂や光硬化性樹脂を用いた場合、ORIE法を用いて除去してもよい。
本発明のインプリント方法により形成された凹凸パターンは、転写時にインプリントモールドの傾斜を抑制することが出来ることから、形成される残膜も従来と比べ均一な厚みをもっており、凹凸パターンの形状を維持したまま、残膜のみを好適に除去することが出来る。
以上より、本発明のインプリント方法を実施することが出来る。
また、本発明のインプリント方法は特定のインプリント方法に限定されることなく、公知のインプリント方法に広範に適用することが出来る。例えば、具体的には、光インプリント、熱インプリント、ゾルゲルインプリントなどのインプリント方法が挙げられる。
以下、本発明のプレインプリントモールドについて、具体的に説明を行う。
本発明のプレインプリントモールドは、凹部を有する段差パターンを備え、前記段差パターンの凹部は、対応するインプリントモールドの凹凸パターンの分布に準じて配置が決定されている。
上述した特徴を備えたプレインプリントモールドを用いて、インプリント方法を行うことにより、本発明のインプリント方法における段差パターンを好適に形成することが出来る。
本発明のプレインプリントモールドにより形成された段差パターンは、対応するインプリントモールドに形成された凹凸パターンよりも、凹部のパターン寸法幅などが大きく、加工が容易であり、段差パターンの形成にあたっても取り回しが容易である。
また、プレインプリントモールドに形成された段差パターンの凹部の体積量と、対応するインプリントモールドに形成された凹凸パターンの凹部の体積量と、は略同量であることが好ましい。インプリントモールドに充填される転写材料の量が考慮された段差パターンとなり、好適に転写材料とインプリントモールドの接触に際してインプリントモールドが傾斜することを抑制することが出来る。
本発明のプレインプリントモールドの一実施形態として、図3に一例を示す。
図3において、図3(a)はインプリントモールド20を示すものである。インプリントモールド20には領域A、領域B、領域C、領域Dの凹凸パターン22が形成されている。
また、図3において、図3(b)は図3(a)に示したインプリントモールド20に対応するプレインプリントモールド21を示すものである。プレインプリントモールド21には、図3(a)の領域A、領域B、領域C、領域Dの凹凸パターン22に対応するように、領域A、領域B、領域C、領域Dの段差パターン23が凹凸パターン22の配置に準じて形成されている。
以下、本発明のプレインプリントモールドの製造に適した方法について、具体的に説明を行う。
<対応するインプリントモールドの凹凸パターンの分布を測定する工程>
まず、対応するインプリントモールドの凹凸パターンの分布を測定する。
このとき、対応するインプリントモールドそのものを測定してもよいし、対応するインプリントモールドを作成するときの凹凸パターン設計データを参照してもよい。
<前記凹凸パターンの分布に準じて凹部が配置された段差パターンの設計を行う工程>
次に、対応するインプリントモールドに形成された凹凸パターンの分布に準じて凹部が配置されるように、プレインプリントモールドの段差パターン設計データを作成する。
このとき、段差パターンの凹部の体積量と、インプリントモールドに形成された凹凸パターンの凹部の体積量と、を略同量となるように、プレインプリントモールドの段差パターン設計データを決定することが好ましい。段差パターンの凹部の体積量と、インプリントモールドに形成された凹凸パターンの凹部の体積量と、を略同量とすることにより、インプリントモールドに充填される転写材料の量が考慮された段差パターンとなり、好適に転写材料とインプリントモールドの接触に際してインプリントモールドが傾斜することを抑制することが出来る。
<基板を用意し、該基板に前記段差パターンを形成する工程>
次に、基板用意し、該基板に設計された段差パターンを形成する。
基板は、段差パターンの形成に用いる微細加工技術に適した物理的特性および機械的特性を備えていれば良く、特に、限定されるものではない。
例えば、(1)石英、ガラス、などSiOを含む基板、(2)サファイア基板、(3)シリコン基板、(4)負膨張性マンガン窒化物を含む基板、(5)シリコンカーバイト基板、(6)グラッシーカーボン基板、(7)ニッケル、タンタルなど金属基板、などを用いても良い。また、複数の材料が積層された積層基板であってもよい。
段差パターンの形成方法は、所望する段差パターン寸法幅を形成することの出来る微細加工技術を用いれば良い。例えば、微細加工技術として、リソグラフィ方法、エッチング方法、微細機械加工法(レーザ加工、マシニング加工など)などを用いても良い。
以上より、本発明のプレインプリントモールドを製造することが出来る。
以下、本発明のインプリント方法の実施の一例を説明する。当然のことながら、本発明は下記の実施例に限定されるものではない。
<インプリントモールドの製造>
熱インプリント方法を実施するためのインプリントモールド20を製造した。図4を用いて、具体的に説明を行う。
まず、基板17として、シリコン基板を用意した(図4(a))。
次に、基板17にレジスト材料18を成膜した(図4(b))。
このとき、レジスト材料18の膜厚は、400nmとした。
次に、レジスト材料18に電子線描画装置を用いて、100〜200nm程度の線幅のパターンを描画し、次いで有機現像によりレジストパターン19を形成した(図4(c))。
このとき、描画条件は描画時のドーズ量を100μC/cmとし、現像時間は2分とした。
また、レジストパターン19は、図3(a)に示すように、領域A、領域B、領域C、領域D、に分割され、各領域にラインパターンが形成されたパターンとした。
次に、レジストパターン19をマスクとして基板17にエッチングを行った(図4(d))。
このとき、エッチングとして、ICPドライエッチング装置を用いた異方性ドライエッチングを用いた。
シリコン基板のエッチングの条件は、C流量30sccm、SF流量45sccm、O流量10sccm、圧力2Pa、ICPパワー500W、RIE150Wとした。
また、シリコン基板17は深さ300nmまでエッチングされた。
次に、O2プラズマアッシングによって残存したレジストパターン19の剥離洗浄を行い、インプリントモールド20を製造した(図4(e))。
このとき、Oプラズマアッシングの条件は、O流量500sccm、圧力30Pa、RFパワー1000Wとした。
以上より、インプリントモールド20を製造できた。
<インプリントモールドに対応するプレインプリントモールドの設計>
上述したインプリントモールド20に対応するプレインプリントモールド21の設計を行った。図3を用いて説明を行う。
まず、インプリントモールド20の凹部の体積を計量した(図3(a))。
インプリントモールド20において、凹凸パターン22の凹部の深さは300nmで一定であった。
凹凸パターン22が形成された領域の面積はそれぞれ、領域A:4cm、領域B:3cm、領域C:4.8cm、領域D:3.2cmであった。
また、各領域において、凹凸パターンの凸部の占める面積は凹部の占める面積の2倍であった。
次に、インプリントモールド20に対応するプレインプリントモールド21の設計を行った(図3(b))。
プレインプリントモールド21において、段差パターン21の凹部の深さは100nmで一定とした。
また、段差パターン21が形成された領域の面積はそれぞれ、領域A:4cm、領域B:3cm、領域C:4.8cm、領域D:3.2cmとした。
以上より、凹凸パターン22の凹部の体積量と、段差パターン21の凹部の体積量とが、同量となるように設計された。
<インプリントモールドに対応するプレインプリントモールドの製造>
上述したプレインプリントモールド21の製造を行った。図5を用いて説明を行う。
まず、基板17として、シリコン基板を用意した(図5(a))。
次に、基板17にレジスト材料18を成膜した(図5(b))。
このときレジスト材料18の膜厚は、400nmとした。
次に、レジスト材料18に電子線描画装置を用いて、上述のように設計された面積を備えたパターンを描画し、次いで有機現像によりレジストパターン19を形成した(図5(c))。
このとき、描画条件は描画時のドーズ量を100μC/cmとし、現像時間は2分とした。
また、レジストパターン19は、図3(b)に示すように、領域A、領域B、領域C、領域D、に分割されたパターンとした。
次に、レジストパターン19をマスクとして基板17にエッチングを行った(図5(d))。
このとき、エッチングとして、ICPドライエッチング装置を用いた異方性ドライエッチングを用いた。
シリコン基板のエッチングの条件は、C流量30sccm、SF流量45sccm、O流量10sccm、圧力2Pa、ICPパワー500W、RIE150Wとした。
また、シリコン基板17は深さ100nmまでエッチングされた。
次に、Oプラズマアッシングによって残存したレジストパターン19の剥離洗浄を行い、インプリントモールド20を製造した(図5(e))。
このとき、Oプラズマアッシングの条件は、O流量500sccm、圧力30Pa、RFパワー1000Wとした。
以上より、プレインプリントモールド21を製造できた。
<本発明のインプリント方法の実施>
上述したインプリントモールド20、およびプレインプリントモールド21を用いて、本発明のインプリント方法を実施した。図6を用いて説明を行う。
まず、転写基板13上に、転写材料12を300nm厚で積層し、プレインプリントモールド21を対向して配置した(図6(a))。
このとき、プレインプリントモールド21の段差パターン面側には、離型剤としてフッ素系表面処理剤EGC−1720(住友3M)をあらかじめコートした。
次に、転写基板13とインプリントモールド11を接近させ、転写材料12とプレインプリントモールド21を接触させ、転写材料12を硬化した(図1(b))。
このとき、プレインプリントモールド21と転写基板13とには、加熱して荷重2MPaを加え、冷却により樹脂を硬化させた。
次に、転写基板13とプレインプリントモールド11とを遠ざけ、転写材料12に形成された段差パターン16を得た(図6(c))。
次に、段差パターン16と対向するように、インプリントモールド20を配置した(図6(d))。
このとき、インプリントモールド20の凹凸パターン面側には、離型剤としてフッ素系表面処理剤(EGC−1720(住友3M))をあらかじめコートした。
次に、転写基板13とインプリントモールド20を接近させ、転写材料12に形成された段差パターン16とインプリントモールド20を接触させ、転写材料12を硬化した(図6(e))。
このとき、プレインプリントモールド21と転写基板13とには、加熱して荷重10MPaを加え、冷却により樹脂を硬化させた。
次に、転写基板13とインプリントモールド20とを遠ざけ、転写材料12に形成された凹凸転写パターン24を得た(図6(f))。
以上より、本発明のインプリト方法を実施した。
また、本発明のインプリント方法を実施後のインプリントモールド20の凹凸パターンおよび形成された凹凸転写樹脂パターン24を走査電子顕微鏡で観察した。凹凸パターンおよび形成された凹凸転写パターン24、共に、破壊は見られず、良好なパターン形状が観察された。
また、凹凸転写パターン24の観察において、形成された残膜も均一であることが確認できた。
従来のインプリント方法を示す断面工程図である。 従来のインプリント方法において、インプリントモールドが破壊される様子を示した図である。 本発明のプレインプリントモールドと対応するインプリントモールドを示した図ある。 実施例におけるインプリントモールドの製造を示す断面工程図である。 実施例における本発明のプレインプリントモールドの製造を示す断面工程図である。 実施例における本発明のインプリント方法の実施を示す断面工程図である。
符号の説明
11…インプリントモールド
12…転写材料
13…転写基板
14…傾斜した転写パターン
15…破損したインプリントモールド
16…段差パターン
17…基板
18…レジスト材料
19…レジストパターン
20…インプリントモールド
21…プレインプリントモールド
22…凹凸パターン
23…段差パターン
24…転写凹凸パターン

Claims (1)

  1. 転写基板上に転写材料を積層する工程と、
    前記転写材料に段差パターンを形成する工程と、
    前記転写基板に対し凹凸パターンを備えたインプリントモールドを対向して配置する工程と、
    前記転写基板と前記インプリントモールドと接近させ前記段差パターンが形成された前記転写材料に凹凸パターンの転写を行う工程と、を備え、
    前記インプリントモールドを対向して配置する工程にあたり、
    前記転写材料に形成された前記段差パターンと、前記インプリントモールドに形成された前記凹凸パターンと、を対向させて配置すること
    をインプリント方法であり、
    転写材料に形成された段差パターンの凸部の体積量と、インプリントモールドに形成された凹凸パターンの凹部の体積量と、は略同量であり、
    前記略同量とは、インプリントモールドに形成された凹凸パターンの凹部の体積量の10%を許容範囲とすること
    を特徴とするインプリント方法。
JP2008188268A 2008-07-22 2008-07-22 インプリント方法、プレインプリントモールド、プレインプリントモールド製造方法、インプリント装置 Expired - Fee Related JP5200726B2 (ja)

Priority Applications (1)

Application Number Priority Date Filing Date Title
JP2008188268A JP5200726B2 (ja) 2008-07-22 2008-07-22 インプリント方法、プレインプリントモールド、プレインプリントモールド製造方法、インプリント装置

Applications Claiming Priority (1)

Application Number Priority Date Filing Date Title
JP2008188268A JP5200726B2 (ja) 2008-07-22 2008-07-22 インプリント方法、プレインプリントモールド、プレインプリントモールド製造方法、インプリント装置

Publications (2)

Publication Number Publication Date
JP2010023360A JP2010023360A (ja) 2010-02-04
JP5200726B2 true JP5200726B2 (ja) 2013-06-05

Family

ID=41729647

Family Applications (1)

Application Number Title Priority Date Filing Date
JP2008188268A Expired - Fee Related JP5200726B2 (ja) 2008-07-22 2008-07-22 インプリント方法、プレインプリントモールド、プレインプリントモールド製造方法、インプリント装置

Country Status (1)

Country Link
JP (1) JP5200726B2 (ja)

Families Citing this family (4)

* Cited by examiner, † Cited by third party
Publication number Priority date Publication date Assignee Title
JP5337114B2 (ja) * 2010-07-30 2013-11-06 株式会社東芝 パタン形成方法
KR20150034353A (ko) * 2013-09-26 2015-04-03 삼성전자주식회사 초음파 프로브 및 이를 이용한 초음파 촬영 방법
JP6379937B2 (ja) * 2014-09-30 2018-08-29 大日本印刷株式会社 ステージ制御方法、修正テンプレートの製造方法、およびテンプレート観察修正装置
JP6540089B2 (ja) * 2015-02-25 2019-07-10 大日本印刷株式会社 パターン形成方法、パターン形成装置およびパターン形成用プログラム

Family Cites Families (5)

* Cited by examiner, † Cited by third party
Publication number Priority date Publication date Assignee Title
KR100335070B1 (ko) * 1999-04-21 2002-05-03 백승준 압축 성형 기법을 이용한 미세 패턴 형성 방법
KR20060128886A (ko) * 2003-12-11 2006-12-14 노우코우다이 티엘오 가부시키가이샤 나노임프린트를 이용하는 패턴 형성 방법 및 상기 방법을실행하는 장치
JP2007109986A (ja) * 2005-10-14 2007-04-26 Victor Co Of Japan Ltd 微細パターンの形成方法
JP4819577B2 (ja) * 2006-05-31 2011-11-24 キヤノン株式会社 パターン転写方法およびパターン転写装置
JP4935312B2 (ja) * 2006-11-15 2012-05-23 凸版印刷株式会社 インプリントモールドおよびインプリントモールド製造方法

Also Published As

Publication number Publication date
JP2010023360A (ja) 2010-02-04

Similar Documents

Publication Publication Date Title
US20080164638A1 (en) Method and apparatus for rapid imprint lithography
JP5935453B2 (ja) 基板の製造方法、および、ナノインプリントリソグラフィ用テンプレートの製造方法
JP4407770B2 (ja) パターン形成方法
JP2006289519A (ja) ナノプリント金型、その製造方法及びこの金型を用いたナノプリント装置並びにナノプリント方法
JP4886400B2 (ja) インプリント装置およびインプリント方法
JP2005353164A (ja) スタンパー、インプリント方法および情報記録媒体製造方法
JP5114962B2 (ja) インプリントモールド、これを用いたインプリント評価装置、レジストパターン形成方法及びインプリントモールドの製造方法
JP2009226762A (ja) インプリントモールド、インプリントモールド製造方法、微細構造体
JP5119579B2 (ja) インプリント用モールド及びその製造方法
JP5200726B2 (ja) インプリント方法、プレインプリントモールド、プレインプリントモールド製造方法、インプリント装置
JP5703896B2 (ja) パターン形成方法およびパターン形成体
JP2007266384A (ja) インプリント用モールド及びその製造方法
US20130287881A1 (en) Imprint mold for manufacturing bit-patterned medium and manufacturing method of the same
JP6384023B2 (ja) インプリントモールド及びインプリントモールドの製造方法
JP2017175056A (ja) インプリントモールド用基板、マスクブランク、インプリントモールド用基板の製造方法、マスクブランクの製造方法、及びインプリントモールドの製造方法
JP5621201B2 (ja) インプリントモールド製造方法およびインプリントモールド
JP2008126450A (ja) モールド、その製造方法および磁気記録媒体
JP4935312B2 (ja) インプリントモールドおよびインプリントモールド製造方法
JP5866934B2 (ja) パターン形成方法およびインプリント方法
JP5599213B2 (ja) モールドの製造方法
JP4867423B2 (ja) インプリント用型部材、インプリント用型部材の製造方法、及びインプリント方法
JP5477562B2 (ja) インプリント方法および組みインプリントモールド
JP5899931B2 (ja) ナノインプリント用テンプレート及びその製造方法
JP6314609B2 (ja) インプリントレプリカモールド及びインプリントレプリカモールドの製造方法
JP2010080010A (ja) 情報記録媒体基板の製造方法

Legal Events

Date Code Title Description
A621 Written request for application examination

Free format text: JAPANESE INTERMEDIATE CODE: A621

Effective date: 20110623

A977 Report on retrieval

Free format text: JAPANESE INTERMEDIATE CODE: A971007

Effective date: 20121019

A131 Notification of reasons for refusal

Free format text: JAPANESE INTERMEDIATE CODE: A131

Effective date: 20121023

A521 Request for written amendment filed

Free format text: JAPANESE INTERMEDIATE CODE: A523

Effective date: 20121218

TRDD Decision of grant or rejection written
A01 Written decision to grant a patent or to grant a registration (utility model)

Free format text: JAPANESE INTERMEDIATE CODE: A01

Effective date: 20130115

A61 First payment of annual fees (during grant procedure)

Free format text: JAPANESE INTERMEDIATE CODE: A61

Effective date: 20130128

R150 Certificate of patent or registration of utility model

Ref document number: 5200726

Country of ref document: JP

Free format text: JAPANESE INTERMEDIATE CODE: R150

Free format text: JAPANESE INTERMEDIATE CODE: R150

FPAY Renewal fee payment (event date is renewal date of database)

Free format text: PAYMENT UNTIL: 20160222

Year of fee payment: 3

R250 Receipt of annual fees

Free format text: JAPANESE INTERMEDIATE CODE: R250

LAPS Cancellation because of no payment of annual fees