JP5154943B2 - インタラクティブディスプレイテーブルに対するプレースマット - Google Patents

インタラクティブディスプレイテーブルに対するプレースマット Download PDF

Info

Publication number
JP5154943B2
JP5154943B2 JP2007542459A JP2007542459A JP5154943B2 JP 5154943 B2 JP5154943 B2 JP 5154943B2 JP 2007542459 A JP2007542459 A JP 2007542459A JP 2007542459 A JP2007542459 A JP 2007542459A JP 5154943 B2 JP5154943 B2 JP 5154943B2
Authority
JP
Japan
Prior art keywords
placemat
display
display surface
detector
viewing direction
Prior art date
Legal status (The legal status is an assumption and is not a legal conclusion. Google has not performed a legal analysis and makes no representation as to the accuracy of the status listed.)
Expired - Fee Related
Application number
JP2007542459A
Other languages
English (en)
Other versions
JP2008521048A (ja
Inventor
エム アー ディーデリクス,エルモ
Current Assignee (The listed assignees may be inaccurate. Google has not performed a legal analysis and makes no representation or warranty as to the accuracy of the list.)
Koninklijke Philips NV
Original Assignee
Koninklijke Philips NV
Koninklijke Philips Electronics NV
Priority date (The priority date is an assumption and is not a legal conclusion. Google has not performed a legal analysis and makes no representation as to the accuracy of the date listed.)
Filing date
Publication date
Application filed by Koninklijke Philips NV, Koninklijke Philips Electronics NV filed Critical Koninklijke Philips NV
Publication of JP2008521048A publication Critical patent/JP2008521048A/ja
Application granted granted Critical
Publication of JP5154943B2 publication Critical patent/JP5154943B2/ja
Anticipated expiration legal-status Critical
Expired - Fee Related legal-status Critical Current

Links

Images

Classifications

    • AHUMAN NECESSITIES
    • A63SPORTS; GAMES; AMUSEMENTS
    • A63FCARD, BOARD, OR ROULETTE GAMES; INDOOR GAMES USING SMALL MOVING PLAYING BODIES; VIDEO GAMES; GAMES NOT OTHERWISE PROVIDED FOR
    • A63F13/00Video games, i.e. games using an electronically generated display having two or more dimensions
    • A63F13/80Special adaptations for executing a specific game genre or game mode
    • A63F13/843Special adaptations for executing a specific game genre or game mode involving concurrently two or more players on the same game device, e.g. requiring the use of a plurality of controllers or of a specific view of game data for each player
    • AHUMAN NECESSITIES
    • A63SPORTS; GAMES; AMUSEMENTS
    • A63FCARD, BOARD, OR ROULETTE GAMES; INDOOR GAMES USING SMALL MOVING PLAYING BODIES; VIDEO GAMES; GAMES NOT OTHERWISE PROVIDED FOR
    • A63F13/00Video games, i.e. games using an electronically generated display having two or more dimensions
    • A63F13/20Input arrangements for video game devices
    • A63F13/21Input arrangements for video game devices characterised by their sensors, purposes or types
    • A63F13/214Input arrangements for video game devices characterised by their sensors, purposes or types for locating contacts on a surface, e.g. floor mats or touch pads
    • AHUMAN NECESSITIES
    • A63SPORTS; GAMES; AMUSEMENTS
    • A63FCARD, BOARD, OR ROULETTE GAMES; INDOOR GAMES USING SMALL MOVING PLAYING BODIES; VIDEO GAMES; GAMES NOT OTHERWISE PROVIDED FOR
    • A63F13/00Video games, i.e. games using an electronically generated display having two or more dimensions
    • GPHYSICS
    • G06COMPUTING OR CALCULATING; COUNTING
    • G06FELECTRIC DIGITAL DATA PROCESSING
    • G06F3/00Input arrangements for transferring data to be processed into a form capable of being handled by the computer; Output arrangements for transferring data from processing unit to output unit, e.g. interface arrangements
    • G06F3/01Input arrangements or combined input and output arrangements for interaction between user and computer
    • G06F3/02Input arrangements using manually operated switches, e.g. using keyboards or dials
    • G06F3/023Arrangements for converting discrete items of information into a coded form, e.g. arrangements for interpreting keyboard generated codes as alphanumeric codes, operand codes or instruction codes
    • G06F3/0238Programmable keyboards
    • GPHYSICS
    • G06COMPUTING OR CALCULATING; COUNTING
    • G06FELECTRIC DIGITAL DATA PROCESSING
    • G06F3/00Input arrangements for transferring data to be processed into a form capable of being handled by the computer; Output arrangements for transferring data from processing unit to output unit, e.g. interface arrangements
    • G06F3/01Input arrangements or combined input and output arrangements for interaction between user and computer
    • G06F3/048Interaction techniques based on graphical user interfaces [GUI]
    • G06F3/0487Interaction techniques based on graphical user interfaces [GUI] using specific features provided by the input device, e.g. functions controlled by the rotation of a mouse with dual sensing arrangements, or of the nature of the input device, e.g. tap gestures based on pressure sensed by a digitiser
    • G06F3/0488Interaction techniques based on graphical user interfaces [GUI] using specific features provided by the input device, e.g. functions controlled by the rotation of a mouse with dual sensing arrangements, or of the nature of the input device, e.g. tap gestures based on pressure sensed by a digitiser using a touch-screen or digitiser, e.g. input of commands through traced gestures
    • G06F3/04886Interaction techniques based on graphical user interfaces [GUI] using specific features provided by the input device, e.g. functions controlled by the rotation of a mouse with dual sensing arrangements, or of the nature of the input device, e.g. tap gestures based on pressure sensed by a digitiser using a touch-screen or digitiser, e.g. input of commands through traced gestures by partitioning the display area of the touch-screen or the surface of the digitising tablet into independently controllable areas, e.g. virtual keyboards or menus
    • AHUMAN NECESSITIES
    • A63SPORTS; GAMES; AMUSEMENTS
    • A63FCARD, BOARD, OR ROULETTE GAMES; INDOOR GAMES USING SMALL MOVING PLAYING BODIES; VIDEO GAMES; GAMES NOT OTHERWISE PROVIDED FOR
    • A63F2300/00Features of games using an electronically generated display having two or more dimensions, e.g. on a television screen, showing representations related to the game
    • A63F2300/30Features of games using an electronically generated display having two or more dimensions, e.g. on a television screen, showing representations related to the game characterized by output arrangements for receiving control signals generated by the game device
    • A63F2300/303Features of games using an electronically generated display having two or more dimensions, e.g. on a television screen, showing representations related to the game characterized by output arrangements for receiving control signals generated by the game device for displaying additional data, e.g. simulating a Head Up Display
    • AHUMAN NECESSITIES
    • A63SPORTS; GAMES; AMUSEMENTS
    • A63FCARD, BOARD, OR ROULETTE GAMES; INDOOR GAMES USING SMALL MOVING PLAYING BODIES; VIDEO GAMES; GAMES NOT OTHERWISE PROVIDED FOR
    • A63F2300/00Features of games using an electronically generated display having two or more dimensions, e.g. on a television screen, showing representations related to the game
    • A63F2300/30Features of games using an electronically generated display having two or more dimensions, e.g. on a television screen, showing representations related to the game characterized by output arrangements for receiving control signals generated by the game device
    • A63F2300/308Details of the user interface
    • AHUMAN NECESSITIES
    • A63SPORTS; GAMES; AMUSEMENTS
    • A63FCARD, BOARD, OR ROULETTE GAMES; INDOOR GAMES USING SMALL MOVING PLAYING BODIES; VIDEO GAMES; GAMES NOT OTHERWISE PROVIDED FOR
    • A63F2300/00Features of games using an electronically generated display having two or more dimensions, e.g. on a television screen, showing representations related to the game
    • A63F2300/60Methods for processing data by generating or executing the game program
    • A63F2300/66Methods for processing data by generating or executing the game program for rendering three dimensional images

Landscapes

  • Engineering & Computer Science (AREA)
  • General Engineering & Computer Science (AREA)
  • Theoretical Computer Science (AREA)
  • Multimedia (AREA)
  • Human Computer Interaction (AREA)
  • Physics & Mathematics (AREA)
  • General Physics & Mathematics (AREA)
  • Control Of Indicators Other Than Cathode Ray Tubes (AREA)
  • Position Fixing By Use Of Radio Waves (AREA)
  • Controls And Circuits For Display Device (AREA)

Description

本発明は、電子機器及びディスプレイ装置の分野に係り、特には、プレースマットに係る。該プレースマットは、プレースマットを介してディスプレイの一部のプライベートビューイング(private viewing)を与えるインタラクティブディスプレイ上での使用に対するものである。
本願中に参照される、2003年1月7日発行、米国特許第6,504,649号明細書、「PRIVACY SCREENS AND STEREOSCOPIC EFFECTS DEVICES UTILIZING MICROPRISM SHEETS」(特許文献1)は、プライバシー画面を開示し、該プライバシー画面は、ディスプレイ装置からの光が所定の方向において進むことを防ぎ、それによってその方向からのディスプレイ上の画像のビューイングを防ぐ。かかるプライバシー画面の適用の一例は、2人のプレーヤで遊ぶゲームにおける使用であり、ディスプレイ画面の各側のプライベート(内密)な情報は、ディスプレイ画面の他方の側の人物のビュー(視野)から遮断される。このようにして、各プレーヤにとってプライベートである情報は、他方のプレーヤのビューからは避けられる。
本願中に参照される、2002年11月7日発行、米国公開出願番号2002/0163728、「OPTICAL SHEETS OR OVERLAYS」(特許文献2)は、複数の方向からのビューイングを遮断するよう構成され得る、同様のプライバシーシートを与える。
2000年8月29日発行、日本国特開2000−235443号、「ELECTRONIC CONFERENCING DEVICE, AND ITS CONTROL METHOD AND STORAGE MEDIUM」(特許文献3)は、ディスプレイテーブルを教示する。該ディスプレイテーブルは、個人がテーブルの周囲に着席している位置を検出し、検出された位置において、個人による容易なビューイングに対して適切に方向付けられて、各個人に対して情報を表示する。テーブルはまた、各ユーザが電子ペンを介してディスプレイテーブルと相互交流し得るよう、座標測定(coordinate determination)手段を有する。
米国特許第6,504,649号明細書 米国公開出願番号2002/0163728 特開2000−235443号
本発明は、プライバシーオーバーレイの使用をディスプレイテーブルと一体にする、ことを目的とする。更に本発明は、使用が容易であり且つ設定が容易である複数人数ゲームボード(gaming board)を与える、ことを目的とする。
かかる目的及び他の目的は、ディスプレイテーブル上の各プライバシーオーバーレイの位置及び向きを測定する位置確定装置を有し、それに応じてプライベート情報の表示を制御する、ディスプレイテーブルによって達成される。望ましくはオーバーレイは、プレースマットに類似する、携帯型のシートであり、ディスプレイ表面の周囲に比較的任意に位置付けられ得る。
本発明は、一例として添付の図面を参照して更に詳細に説明される。
図面を通して、同一の参照符号は、同一の要素、又は実質的に同一の機能を実行する要素を示す。図面は、例証を目的とするものであり、本発明の範囲を制限するよう意図されない。
図1は、ディスプレイ110及び典型的なプレースマット120を有する一例としてのディスプレイテーブル100を示す。各プレースマット120は、プライベートビューイング方向122を有し、プレースマット120の下方のディスプレイ110上に表示される情報は、方向122に対向する方向からのビューから見えなくされる。ディスプレイ110はまた、テーブル100における全てのビューアーによる自由なビューイングを可能にする1つ又はそれより多い範囲130を有し得る。
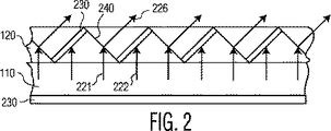
図2は、オーバーレイ120を介してディスプレイ110に対して方向性のある可視性を与える技術の一例を示す。オーバーレイ120は、ディスプレイ110からの光ビーム221,222の伝搬に影響を与える光学素子のシートを有し、例えば特許文献1及び特許文献2中に教示される通りである。オーバーレイ120は、ディスプレイ110から光ビーム222の伝搬を防ぐ光学ブロック要素230と、方向226において光ビーム221を偏向させる表面240とを有する。望ましい方向においてディスプレイから光を放射し、また、ディスプレイ上のオーバーレイシートを介して他の方向において放射するディスプレイからの光を防ぐ他の手段はまた、本発明において使用され得る。
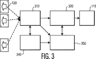
本発明によれば、図1中のディスプレイテーブル100は、各プレースマットの位置を検出する位置測定装置(図3中の参照符号310)を有する。かかる位置測定装置は、ディスプレイ110の下方の層230におけるセンサ、又はRF、IR等である他のセンサ、あるいはディスプレイ110の周辺において取り付けられる他のセンサ、ディスプレイ110の表面上に位置決めされるセンサ、又は他の位置測定センサを有し得る。当業者は、ディスプレイ110上のプレースマット120の位置を検出する、これらの及び他の手段を認識する。例えば、プレースマット120は、ディスプレイ110において行及び列の起動信号を検出するオブジェクト125を有し得、また、信号が検出される時間と行及び列の起動信号が適用される時間との間の相互関係は、プレースマット上のセンサの位置を測定するよう使用され得る。あるいは、プレースマット120上のオブジェクト125は、層230又はディスプレイ110の他の位置においてセンサに信号を送るトランスミッタであり得る。例えば、層230は、プレースマット120における電磁コイルからの電流を検出するよう構成されるワイヤのグリッド、又は、プレースマット120における静電板からの電圧を検出するよう構成される表面伝導体のグリッドを有する、従来の離散化タブレットに対応し得る。
顕著である通り、本願中に参照される、1991年7月2日発行、米国特許第5,028,745号明細書、「POSITION DETECTING APPARATUS」は、導体のグリッドを開示する。該導体のグリッドは、共振回路に信号を送り、続いて、グリッドに対する共振回路の位置を測定するよう、共振回路からグリッドに反射される振動を検出する。同様にして、本願中に参照される、2001年5月29日発行、米国特許第6,239,729号明細書、「POSITION DETECTING METHOD AND APPARATUS FOR DETECTING A PLURALITY OF POSITION INDICATORS」は、複数の共振回路を検出する技術を開示する。故に、共振回路をオブジェクト125として実施することによって、プレースマット120の位置は、上述の特許において開示される通り従来の手段を使用して測定され得る。
同様にして、プレースマット120におけるオブジェクト125は、RFIDトランスミッタであり得る。該RFIDトランスミッタは、ディスプレイテーブル100における位置測定装置によって制御されるトランスミッタからのトリガ信号に応じ、位置測定装置のレシーバにおけるRFIDトランスミッタからの応答の到着及び/又は規模の時間は、オブジェクト125におけるRFIDトランスミッタの位置を測定するよう使用され得る。
更に他の実施例では、オブジェクト125は、単なる基準マーカーであり、前述の電磁コイル、静電板、RFIDトランスミッタ、又は他の位置識別構成部品は、プレースマット120外部であるスタイラス又はパック等である携帯型機器であり得、プレースマット120上の基準マーカーにおいて置かれる際に位置測定信号を送るよう使用され得る。
プレースマット120上のオブジェクト125は、容易に理解されるようにプレースマット120上の固定された位置において1つ又はそれより多い個別の要素として示されるが、当業者は、ディスプレイ110に対するプレースマット120の位置及び向きを測定する役割を果たす方法又は装置が本発明における使用に対して適切である、ことを理解する。例えば、光学系は、ディスプレイ110の上方に位置付けられるカメラ等を使用して、各プレースマット120の位置を測定するよう使用され得る。あるいは、ディスプレイの周辺において対向する光学トランスミッタ−検出器の組は、各プレースマット120の範囲を測定するよう使用され得る。同様に、上述された位置測定スタイラスは、各プレースマット120の輪郭をトレースするよう使用され得る。
図3は、本発明に従ったディスプレイ装置の典型的なブロック図を示す。ディスプレイ装置は、ディスプレイ110上で各プレースマット120の位置を測定するよう構成されるプレースマット検出器310を有する。意図されるプライバシーを与えるよう、位置の測定は、プレースマット120の向きの測定を有する。
望ましい一実施例では、位置識別アイテムは、向き識別特性を有する。例えば、該アイテムがRFIDトランスミッタである場合、プレースマット上の異なる位置における2つのRFIDトランスミッタは、異なる所定の識別子を送るよう構成され得、該識別子は、相対的向きを認識する役割を果たす。即ち、一方の識別子は、プレースマット120の上方左上に置かれるアイテムに対応し得、他方の識別子は、プレースマット120の下方右側に置かれるアイテムに対応し得る。あるいは、向きは、例えばディスプレイ110の最も近い端部に向かって、想定デフォルト値を有し得る。同様に、別個のユーザインタフェースは、各プレースマットの向きを識別するようユーザに対して与えられ得る。プレースマットの向きを測定する他の技術は、本願を考慮する当業者には明らかである。
プレースマット検出器310は、各プレースマット120に対応してディスプレイ110における範囲を作り出すよう、並びに、各プレースマット120の向きに対応する各範囲のビューイング向きを設定するよう構成されるウィンドウコントローラ320に対して、プレースマット120の位置を伝える。
ゲームコントローラ等であるアプリケーションコントローラ350は、ウィンドウコントローラ320と相互に作用し、コントローラ320によって作られた異なるウィンドウに対して異なるユーザインタフェース出力ポートを割り当てるようにする。RFIDトランスミッタをプレースマット120上で用いる望ましい一実施例では、一意的な識別信号は、各プレースマット120に対して割り当てられ、プレースマット検出器310は、アプリケーションコントローラ350に対してかかる識別子を伝える。ゲーム環境においては、例えば、プレースマット120は、色分けされたトリムを有し得、コントローラは、対応するウィンドウを赤色のプレーヤ、青色のプレーヤ等に対して割り当てる。その後、赤色のプレーヤに対して向けられたメッセージは、赤色にトリムされたプレースマットに対応するウィンドウに伝えられる。あるいは、ユーザインタフェースは、各プレースマットに対してプレーヤ識別を割り当てるよう、コントローラ350によって与えられ、対応するプレースマットの下方のディスプレイ範囲を介して各プレーヤにメッセージを送る。
入力検出器340はまた、ユーザがアプリケーションコントローラ350と相互に作用し得るよう与えられる。また、この同一の検出器340は望ましくは、プレースマット120の位置/向きの測定、プライベートディスプレイ範囲に対する各プレースマット120のマッピング等を促進するよう、上述されたユーザインタフェースに対して使用される。
詳述される通り、本発明のディスプレイ装置の各ユーザは、プレースマット120を与えられる。ユーザが自身のプレースマット120をディスプレイ110上へと位置付ける際、プレースマット検出器310は、任意により入力検出器340を介してユーザが与える補助的情報を使用して、プレースマット120の位置及び向きを検出する。プレースマット検出器310は、ウィンドウコントローラ320に各プレースマット120の位置/向きに関する情報を与え、ウィンドウコントローラ320は、各ユーザに対して各プレースマット120の下方の範囲を配置する。アプリケーションコントローラ350は、その後、各ユーザに対して意図された情報をユーザのプレースマット120の下方のディスプレイにおける範囲に方向付ける。プレースマット120がプレースマット120の下方の範囲からの光の方向性ビューイングを与えるため、各ユーザは、ユーザのプレースマット120に対して方向付けられた材料のプライベートビューイングを与えられる。
前述は単に、本発明の原理を示すものである。故に、当業者は、本願中に明らかに記載又は図示されていないが、本発明の原理を実施し、その趣旨及び範囲内である多種の配置を工夫することができる、ことは十分理解される。例えば、本発明はプライベートな情報を示すよう方向性のある可視性を有するプレースマットを提示するが、本発明の原理は、プレースマットの特徴にかかわらず、また与えられる情報の種類にかかわらず、適用され得る。各プレースマットは、例えばプレースマットの特定のユーザ/オーナーを識別するRFID機器を有し得る。ユーザが自身のプレースマットをディスプレイテーブル上に億歳、装置は、ユーザを認識し、ユーザがディスプレイテーブルに対してどこに位置付けられているかを認識する。その後、ユーザに対して意図される情報は、ユーザの位置においてディスプレイ上に示され得、ディスプレイ装置がインタラクティブである際は、ユーザの位置から到着する入力は、識別されたユーザに対して属される。同様に、各プレースマットがどこに位置決めされるか、並びに、どのように向けられているかを単に知ることによって、装置は、表示される情報をプライベートにしておく必要性の有無にかかわらず、対応する範囲及び適切な向きにおいて情報を表示し得る。これらの及び他の装置構造及び最適化特徴は、本願を考慮する当業者には明らかであり、添付の請求項の範囲内に有される。
かかる請求項の解釈にあたり、以下の点が理解されるべきである:
a) 「有する」という語は、所定の請求項中に列記される要素又は作用以外の要素及び作用の存在を除外するものではない。
b) 単数形で示される要素は、かかる要素の複数の存在を除外するものではない。
c) 請求項中の参照符号は、その範囲を制限するものではない。
d) 複数の「手段」は、同一のアイテム又はハードウェア又はソフトウェアが行う構造又は機能によって示され得る。
e) 開示される要素の各々は、ハードウェア部分(例えば、別個及び一体の電子回路を有する)、ソフトウェア部分(例えば、コンピュータプログラム)、及びそれらの組合せを有し得る。
f) ハードウェア部分は、アナログ部分及びデジタル部分の一方又は両方を有し得る。
g) 開示される機器又はその部分は、特記されない限り、更なる部分と合わせられ得るか、あるいは一体にされ得る。
h) 特定の一連の作用は、特記されない限り、求められるよう意図されない。
i) 複数形で示される要素は、2つ又はそれより多い当該要素を有し、要素の特定の範囲の数を示唆しない。即ち、複数の要素は、わずか2つの要素でもあり得る。
本発明に従った典型的なプレースマットを有する一例としてのディスプレイテーブルを図示する。 本発明に従った典型的なプレースマット及びディスプレイを図示する。 本発明に従ったインタラクティブディスプレイテーブルの典型的なブロック図ある。

Claims (22)

  1. 装置であって:
    テーブルの天面に対して水平な表示面を有するディスプレイと;
    前記ディスプレイの表示面上の位置において置かれ、プライベートビューイング方向を有し、前記位置において前記表示面に表示される情報が前記プライベートビューイング方向に対向する方向からのビューから見えなくされるようにする第1の携帯型プレースマットと;
    前記第1のプレースマットとは別個に、前記ディスプレイ、又は前記ディスプレイの周囲若しくは下、又は前記ディスプレイの表示面上に配置され、前記表示面上の前記第1のプレースマットの前記位置を測定するよう構成される、プレースマット検出器と;
    前記ディスプレイの表示面を、該表示面上の前記第1のプレースマットの下にあるユーザ範囲を含む複数のディスプレイ範囲へと分割するよう構成される、ウィンドウコントローラと;
    前記ウィンドウコントローラと相互に作用して、前記第1のプレースマットに関連付けられるプレーヤに特有の情報を前記ユーザ範囲に表示するよう構成されるアプリケーションコントローラと
    を有する装置。
  2. 前記第1のプレースマットは、前記ディスプレイの表示面からの光の伝播を防ぐ光学ブロック要素と、特定の方向において前記光を偏向させる面とを有し、前記第1のプレースマットの前記位置に対応するユーザ範囲において表示される情報が前記プライベートビューイング方向からのみ可視的であるようにする、
    請求項1記載の装置。
  3. 前記第1のプレースマットは、前記プレースマット検出器が前記ディスプレイの表示面上の前記第1のプレースマットの前記位置を測定することを可能にするように前記プレースマット検出器と相互作用するよう動作可能な1つ又はそれより多いオブジェクトを有し、該オブジェクトは共振回路を有し、該共振回路は自身に送信された信号に応答して振動を生成する、
    請求項2記載の装置。
  4. 前記第1のプレースマットは、前記プレースマット検出器が前記ディスプレイの表示面上の前記第1のプレースマットの前記位置を測定することを可能にするように前記プレースマット検出器と相互作用するよう動作可能な1つ又はそれより多いオブジェクトを有し、該オブジェクトは共振回路を有し、該共振回路は自身に送信された信号に応答して振動を生成する、
    請求項1記載の装置。
  5. 前記第1のプレースマットは、前記プレースマット検出器が前記ディスプレイの表示面上の前記第1のプレースマットの前記位置を測定することを可能にするように前記プレースマット検出器と相互作用するよう動作可能な1つ又はそれより多いオブジェクトを有し、該オブジェクトはRFIDトランスミッタを有し、該RFIDトランスミッタは、前記プレースマット検出器によって制御されるトランスミッタからのトリガ信号に応答する、
    請求項1記載の装置。
  6. 記プレースマット検出器は、前記ディスプレイ又は該ディスプレイの下方に配置される導体のグリッドを有し、該グリッドは、前記共振回路へ信号を送り、該信号に応答して前記共振回路から当該グリッドに反射される前記振動を検出する、
    請求項3又は4記載の装置。
  7. 前記プレースマット検出器は、前記ディスプレイ又は該ディスプレイの下方に配置される前記トランスミッタ及びレシーバを有し、前記トランスミッタは前記RFIDトランスミッタへトリガ信号を送信し、前記レシーバは前記トリガ信号に対する前記RFIDトランスミッタの応答を受信する、
    請求項5記載の装置。
  8. 前記プレースマット検出器に対して作動可能に結合される携帯型機器を更に有し、
    前記携帯型機器は、前記ディスプレイの表示面より上方に位置付けられるカメラを有し、前記プレースマット検出器は、前記カメラによって撮影された前記第1のプレースマットの画像に基づき該第1のプレースマットの前記位置を測定する、
    請求項1記載の装置。
  9. 前記プレースマット検出器に対して作動可能に結合される携帯型機器を更に有し、
    前記携帯型機器は、前記プレースマットの輪郭をトレースするスタイラスを有し、前記プレースマット検出器は、前記スタイラスによるトレースの結果に基づき前記第1のプレースマットの前記位置を測定する、
    請求項1記載の装置。
  10. テーブルの天面に対して水平であるディスプレイの表示面上の位置において置かれる携帯型のプレースマットであって:
    前記プレースマットの真下の前記表示面の範囲に表示される画像のビューイングを可能にする範囲と、
    前記ディスプレイの表示面上の前記プレースマットの前記位置の検出を可能にする1つ又はそれより多い位置決め要素と、
    を有し、
    前記プレースマットは、プライベートビューイング方向を有し、前記プレースマットの真下の前記表示面の範囲に表示される情報が前記プライベートビューイング方向に対向する方向におけるビューから見えなくされるようにする、
    プレースマット。
  11. 前記1つ又はそれより多い位置決め要素は、前記ディスプレイ又は該ディスプレイの下方に設けられた導体のグリッドと相互作用するよう動作可能な共振回路を有し、該共振回路は、前記グリッドから送信された信号に応答して、当該共振回路から前記グリッドに反射される振動を生成する、
    請求項10記載のプレースマット。
  12. 前記1つ又はそれより多い位置決め要素は、前記ディスプレイ又は該ディスプレイの下方に設けられたトランスミッタ及びレシーバと相互作用するよう動作可能なRFID機器を有し、該RFID機器は、前記トランスミッタから送信されるトリガ信号に対する応答を前記レシーバに供給する、
    請求項10記載のプレースマット。
  13. 前記1つ又はそれより多い位置決め要素は、前記ディスプレイの表示面に対する前記プレースマットの回転の向きの測定を可能にするよう前記プレースマット上に配置される複数の要素を有する、
    請求項10記載のプレースマット。
  14. 前記プレースマットの真下の前記画像が前記プライベートビューイング方向から見られることを可能にする光学素子の層を更に有し、
    前記層は、前記プライベートビューイング方向に対向する方向における前記ディスプレイの表示面からの光の伝播を防ぐ光学ブロック要素と、前記プライベートビューイング方向において前記光を偏向させる面とを有する、
    請求項10記載のプレースマット。
  15. 前記1つ又はそれより多い位置決め要素は、前記ディスプレイ又は該ディスプレイの下方に設けられた導体のグリッドと相互作用するよう動作可能な共振回路を有し、該共振回路は、前記グリッドから送信された信号に応答して、当該共振回路から前記グリッドに反射される振動を生成する、
    請求項14記載のプレースマット。
  16. 前記1つ又はそれより多い位置決め要素は、前記ディスプレイ又は該ディスプレイの下方に設けられたトランスミッタ及びレシーバと相互作用するよう動作可能なRFID機器を有し、該RFID機器は、前記トランスミッタから送信されるトリガ信号に対する応答を前記レシーバに供給する、
    請求項14記載のプレースマット。
  17. 前記1つ又はそれより多い位置決め要素は、前記プレースマットの真下の前記画像が可視的である前記プライベートビューイング方向の測定を可能にするよう前記プレースマット上に配置される、
    請求項10記載のプレースマット。
  18. テーブルの天面に対して水平であるディスプレイの表示面上に画像を表示する方法であって:
    前記ディスプレイの表示面上で携帯型のプレースマットの位置を測定する段階と、
    前記携帯型のプレースマットの前記位置に対応する前記ディスプレイの表示面の範囲において前記画像を表示する段階と、
    を有し、
    前記プレースマットは、プライベートビューイング方向を有し、前記位置において前記表示面に表示される情報が前記プライベートビューイング方向に対向する方向からのビューから見えなくされるようにする、
    方法。
  19. 前記ディスプレイの表示面の前記プレースマットの向きを測定する段階と、
    前記プレースマットの前記向きに基づき前記画像を表示する段階と、
    を更に有する、
    請求項18記載の方法。
  20. 前記プレースマットは、前記ディスプレイの表示面からの光の伝播を防ぐ光学ブロック要素と、特定の方向において前記光を偏向させる面とを有し、前記プレースマットの前記位置に対応するユーザ範囲において表示される情報が前記プライベートビューイング方向からのみ可視的であるようにする、
    請求項18記載の方法。
  21. 前記ディスプレイの表示面上の更なる位置において置かれ、前記第1のプレースマットの前記プライベートビューイング方向とは異なる更なるプライベートビューイング方向を有する更なる携帯型プレースマットを有し、前記第1のプレースマットに関連付けられるプレーヤは前記更なるプレースマットの前記更なる位置において前記表示面に表示される情報を見ることができず、前記更なるプレースマットに関連付けられるプレーヤは前記第1のプレースマットの前記位置において前記表示面に表示される情報を見ることができない、
    請求項1記載の装置。
  22. 前記位置決め要素のうち2つは、前記プレースマットの、水平面上で対向する辺又は角の夫々に置かれる、
    請求項10記載のプレースマット。
JP2007542459A 2004-11-24 2005-11-21 インタラクティブディスプレイテーブルに対するプレースマット Expired - Fee Related JP5154943B2 (ja)

Applications Claiming Priority (5)

Application Number Priority Date Filing Date Title
US63066904P 2004-11-24 2004-11-24
US60/630,669 2004-11-24
US72460005P 2005-10-07 2005-10-07
US60/724,600 2005-10-07
PCT/IB2005/053848 WO2006056939A2 (en) 2004-11-24 2005-11-21 Privacy overlay for interactive display tables

Publications (2)

Publication Number Publication Date
JP2008521048A JP2008521048A (ja) 2008-06-19
JP5154943B2 true JP5154943B2 (ja) 2013-02-27

Family

ID=36390291

Family Applications (1)

Application Number Title Priority Date Filing Date
JP2007542459A Expired - Fee Related JP5154943B2 (ja) 2004-11-24 2005-11-21 インタラクティブディスプレイテーブルに対するプレースマット

Country Status (6)

Country Link
US (1) US8487880B2 (ja)
EP (1) EP1817088B1 (ja)
JP (1) JP5154943B2 (ja)
KR (1) KR20070098817A (ja)
CN (1) CN101068604B (ja)
WO (1) WO2006056939A2 (ja)

Families Citing this family (7)

* Cited by examiner, † Cited by third party
Publication number Priority date Publication date Assignee Title
US7734299B2 (en) 2007-03-20 2010-06-08 Microsoft Corporation Facilitating use of a device based on short-range wireless technology
US8593255B2 (en) * 2009-04-24 2013-11-26 Nokia Corporation Method and apparatus for providing user interaction via transponders
EP2270640A1 (fr) * 2009-06-26 2011-01-05 France Telecom Procédé de gestion de l'affichage d'une fenêtre d'une application sur un écran, un programme et un terminal l'utilisant
KR20110097083A (ko) * 2010-02-24 2011-08-31 삼성전자주식회사 디스플레이 장치 및 디스플레이 시스템 그리고 그것의 외부 장치 인식 방법
US20120032872A1 (en) * 2010-08-09 2012-02-09 Delphi Technologies, Inc. Dual view display system
US8686958B2 (en) * 2011-01-04 2014-04-01 Lenovo (Singapore) Pte. Ltd. Apparatus and method for gesture input in a dynamically zoned environment
US10691990B2 (en) 2016-06-13 2020-06-23 Koninklijke Philips N.V. System and method for capturing spatial and temporal relationships between physical content items

Family Cites Families (19)

* Cited by examiner, † Cited by third party
Publication number Priority date Publication date Assignee Title
JPS6370326A (ja) 1986-09-12 1988-03-30 Wacom Co Ltd 位置検出装置
JP3378604B2 (ja) * 1993-03-16 2003-02-17 株式会社日立製作所 情報処理装置
US20030062889A1 (en) * 1996-12-12 2003-04-03 Synaptics (Uk) Limited Position detector
JP2730018B2 (ja) 1995-02-28 1998-03-25 株式会社ワコム ディジタイザおよび位置検出方法
US5831614A (en) * 1996-07-01 1998-11-03 Sun Microsystems, Inc. X-Y viewport scroll using location of display with respect to a point
US6239729B1 (en) 1997-11-26 2001-05-29 Seiko Epson Corporation Image processor and integrated circuit for the same
WO2000016863A1 (en) * 1998-09-21 2000-03-30 Game Data, Inc. Gaming apparatus and method
JP2000222133A (ja) * 1999-01-28 2000-08-11 Canon Inc 電子情報表示装置及びその表示制御方法並びに記憶媒体
JP2000235352A (ja) * 1999-02-16 2000-08-29 Canon Inc 表示装置及び遊戯装置
JP3703328B2 (ja) * 1999-02-16 2005-10-05 キヤノン株式会社 電子会議システム及びその制御方法
JP2000235443A (ja) 1999-02-16 2000-08-29 Canon Inc 電子会議装置及びその制御方法及び記憶媒体
US6504649B1 (en) * 2000-01-13 2003-01-07 Kenneth J. Myers Privacy screens and stereoscopic effects devices utilizing microprism sheets
JP4284855B2 (ja) * 2000-10-25 2009-06-24 ソニー株式会社 情報入出力システム及び情報入出力方法、並びにプログラム記憶媒体
US6443579B1 (en) 2001-05-02 2002-09-03 Kenneth Myers Field-of-view controlling arrangements
US6498590B1 (en) * 2001-05-24 2002-12-24 Mitsubishi Electric Research Laboratories, Inc. Multi-user touch surface
JP4618401B2 (ja) * 2003-07-04 2011-01-26 富士ゼロックス株式会社 情報表示システムおよび情報表示方法
JP4095040B2 (ja) * 2004-02-12 2008-06-04 株式会社日立製作所 テーブル型情報端末の表示方法
US7394459B2 (en) 2004-04-29 2008-07-01 Microsoft Corporation Interaction between objects and a virtual environment display
US20060073891A1 (en) * 2004-10-01 2006-04-06 Holt Timothy M Display with multiple user privacy

Also Published As

Publication number Publication date
WO2006056939A2 (en) 2006-06-01
EP1817088B1 (en) 2014-06-25
US8487880B2 (en) 2013-07-16
KR20070098817A (ko) 2007-10-05
EP1817088A2 (en) 2007-08-15
JP2008521048A (ja) 2008-06-19
WO2006056939A3 (en) 2006-09-14
CN101068604A (zh) 2007-11-07
CN101068604B (zh) 2011-08-03
US20090174670A1 (en) 2009-07-09

Similar Documents

Publication Publication Date Title
CN101052444B (zh) 具有多用户私密性的显示器
ES2279823T3 (es) Sistema tactil basado en camaras.
JP5750229B2 (ja) ゲームシステム、ゲームシステムの制御方法及びゲームシステム装置用プログラム
US20020175900A1 (en) Touch input system
TW201015404A (en) Optical touch display device, optical touch sensing device and touch sensing method
US20130321621A1 (en) Method for Mapping Hidden Objects Using Sensor Data
US20110141108A1 (en) Device and method for setting instructed position during three-dimensional display, as well as program
JP6827193B2 (ja) 表示システム、サーバ、表示方法及び装置
JP2008071102A (ja) 点図ディスプレイ装置
US8899474B2 (en) Interactive document reader
JP5154943B2 (ja) インタラクティブディスプレイテーブルに対するプレースマット
JPWO2019069575A1 (ja) 情報処理装置、情報処理方法及びプログラム
KR102543476B1 (ko) 전자 디바이스용 하우징 구조체 및 입출력 디바이스
US20100245538A1 (en) Methods and devices for receiving and transmitting an indication of presence
CN108388339B (zh) 显示方法、装置及移动终端
TW200928879A (en) Positioning apparatus and related method of orientation devices
CN103154861A (zh) 用于触摸屏幕的系统和方法
JPH1165814A (ja) インタラクティブシステム及び画像表示方法
US20210325983A1 (en) Information providing system and information providing method
JP5782149B2 (ja) ゲームシステム及びプログラム
JP6078770B2 (ja) ゲーム装置、ゲーム装置の制御方法及びゲーム装置のプログラム
KR102219581B1 (ko) 전방향 상호작용 가능한 로봇의 얼굴 방향 제어 장치 및 방법
JP2020088450A (ja) 表示装置、表示システム、及び制御方法
ES2318970B1 (es) Dispositivo interactivo.
TWM634499U (zh) 藝術品展示監控裝置及其系統

Legal Events

Date Code Title Description
A621 Written request for application examination

Free format text: JAPANESE INTERMEDIATE CODE: A621

Effective date: 20081119

A131 Notification of reasons for refusal

Free format text: JAPANESE INTERMEDIATE CODE: A131

Effective date: 20111025

A521 Request for written amendment filed

Free format text: JAPANESE INTERMEDIATE CODE: A523

Effective date: 20120113

A131 Notification of reasons for refusal

Free format text: JAPANESE INTERMEDIATE CODE: A131

Effective date: 20120605

A521 Request for written amendment filed

Free format text: JAPANESE INTERMEDIATE CODE: A523

Effective date: 20120823

TRDD Decision of grant or rejection written
A01 Written decision to grant a patent or to grant a registration (utility model)

Free format text: JAPANESE INTERMEDIATE CODE: A01

Effective date: 20121113

A61 First payment of annual fees (during grant procedure)

Free format text: JAPANESE INTERMEDIATE CODE: A61

Effective date: 20121206

FPAY Renewal fee payment (event date is renewal date of database)

Free format text: PAYMENT UNTIL: 20151214

Year of fee payment: 3

R150 Certificate of patent or registration of utility model

Ref document number: 5154943

Country of ref document: JP

Free format text: JAPANESE INTERMEDIATE CODE: R150

Free format text: JAPANESE INTERMEDIATE CODE: R150

R250 Receipt of annual fees

Free format text: JAPANESE INTERMEDIATE CODE: R250

R250 Receipt of annual fees

Free format text: JAPANESE INTERMEDIATE CODE: R250

R250 Receipt of annual fees

Free format text: JAPANESE INTERMEDIATE CODE: R250

R250 Receipt of annual fees

Free format text: JAPANESE INTERMEDIATE CODE: R250

LAPS Cancellation because of no payment of annual fees