JP5117828B2 - 駆動装置 - Google Patents

駆動装置 Download PDF

Info

Publication number
JP5117828B2
JP5117828B2 JP2007301963A JP2007301963A JP5117828B2 JP 5117828 B2 JP5117828 B2 JP 5117828B2 JP 2007301963 A JP2007301963 A JP 2007301963A JP 2007301963 A JP2007301963 A JP 2007301963A JP 5117828 B2 JP5117828 B2 JP 5117828B2
Authority
JP
Japan
Prior art keywords
voltage
terminal
input
potentiometer
rated voltage
Prior art date
Legal status (The legal status is an assumption and is not a legal conclusion. Google has not performed a legal analysis and makes no representation as to the accuracy of the status listed.)
Active
Application number
JP2007301963A
Other languages
English (en)
Other versions
JP2009126623A (ja
Inventor
半蔵 門脇
Original Assignee
リョウコウエンジニアリング株式会社
Priority date (The priority date is an assumption and is not a legal conclusion. Google has not performed a legal analysis and makes no representation as to the accuracy of the date listed.)
Filing date
Publication date
Application filed by リョウコウエンジニアリング株式会社 filed Critical リョウコウエンジニアリング株式会社
Priority to JP2007301963A priority Critical patent/JP5117828B2/ja
Publication of JP2009126623A publication Critical patent/JP2009126623A/ja
Application granted granted Critical
Publication of JP5117828B2 publication Critical patent/JP5117828B2/ja
Active legal-status Critical Current
Anticipated expiration legal-status Critical

Links

Images

Landscapes

  • Emergency Protection Circuit Devices (AREA)

Description

本発明は、電動ウインチの駆動装置に関するものであり、特に、タンカー等の可燃性危険物を運搬する船舶でも安全に使用可能なウインチの駆動装置に関するものである。
船舶には、船体を岸壁に係留するためのロープ又はワイヤーの繰出し及び巻取りを行うウインチが設けられている。
このウインチは、ワイヤー又はロープを巻回するドラムを回転駆動するモータを備えているが、石油や液化天然ガス等の可燃性危険物を運搬するタンカーでは、電動のウインチを配設した場合、電動モータの駆動制御を行う駆動装置等からの発火により火災が発生する恐れがあるため、ウインチには油圧モータが用いられていた(たとえば、特許文献1参照。)。
特開2005−273488号公報
ところが、船舶に油圧モータを配設した場合には、当該油圧モータへ動力となる高圧油を供給するための油圧供給用の配管を設ける必要がある。
特に、タンカー等の大型船舶にあっては、その船体の大きさから船体の複数個所にウインチを設ける必要があり、これら複数のウインチに対してそれぞれ油圧供給用の配管を設けなければならないため、油圧供給用の配管の総延長が数100メートルにものぼる。
油圧モータの保守点検を行う際には、油圧供給用の配管から油を抜き、全ての配管を洗浄した上で点検を行うため、タンカーでは油圧モータの保守点検に多大な時間と労力要するという問題があった。
また、油圧モータに換えて、電動モータを用いた場合には、上記したように、駆動装置等からの発火が発生する恐れがあるという問題があった。
そこで、本発明は、上記課題を解決すべく、電動モータによる駆動が可能でありながら、タンカー等の可燃性危険物を運搬する船舶でも安全に使用可能なウインチの駆動装置を提供することを目的とする。
請求項1に係る本発明では、可燃性危険物を運搬する船舶に配設され、ワイヤー又はロープを巻回するドラムと前記ドラムを回転駆動する電動モータとを備えたウインチの駆動装置において、前記ウインチを駆動するために操作する操作部と、所定の基準電圧が入力され、前記操作部の操作量に応じた制御信号を出力するポテンショメータと、前記ポテンショメータから出力される制御信号に基づいて、電源から供給される電圧を調整して前記モータへ供給するインバータ装置と、前記ポテンショメータに入力される電圧が所定の定格電圧に達すると、前記ポテンショメータへの前記定格電圧の入力を遮断する遮断器とを有することとした。
また、請求項2に係る本発明では、請求項1に記載の駆動装置において、前記ポテンショメータは、第1の基準電圧が入力される第1端子と、前記第1の基準電圧よりも低い第2の基準電圧が入力される第2端子と、前記操作部の操作量に応じて前記第1の基準電圧と前記第2の基準電圧との間の電圧を前記制御信号として出力する第3端子とを備え、前記遮断器は、前記第1端子へ入力される電圧が前記定格電圧に達したときに、前記第1端子とグランドとを短絡する第1遮断回路と、前記第2端子へ入力される電圧が前記定格電圧に達したときに、前記第2端子とグランドとを短絡する第2遮断回路と、前記第3端子へ入力される電圧が前記定格電圧に達したときに、前記第3端子とグランドとを短絡する第3遮断回路とを有することを特徴とする。
また、請求項3に係る本発明では、請求項2に記載の駆動装置において、前記遮断器は、前記第1端子へ入力される電圧が前記定格電圧に達したときに溶断して、前記第1端子への前記定格電圧の入力を遮断する第1ヒューズと、前記第2端子へ入力される電圧が前記定格電圧に達したときに溶断して、前記第2端子への前記定格電圧の入力を遮断する第2ヒューズと、前記第3端子へ入力される電圧が前記定格電圧に達したときに溶断して、前記第3端子への前記定格電圧の入力を遮断する第3ヒューズとを有することを特徴とする。
また、請求項4に係る本発明では、請求項1〜3のいずれか1項に記載の駆動装置において、前記遮断器を前記船舶における非危険区域に設けたことを特徴とする。
請求項1に係る本発明では、可燃性危険物を運搬する船舶に配設され、ワイヤー又はロープを巻回するドラムと前記ドラムを回転駆動する電動モータとを備えたウインチの駆動装置において、前記ウインチを駆動するために操作する操作部と、所定の基準電圧が入力され、前記操作部の操作量に応じた制御信号を出力するポテンショメータと、前記ポテンショメータから出力される制御信号に基づいて、電源から供給される電圧を調整して前記モータへ供給するインバータ装置と、前記ポテンショメータに入力される電圧が所定の定格電圧に達すると、前記ポテンショメータへの前記定格電圧の入力を遮断する遮断器とを有することとしたため、万一落雷や内部回路のショートにより、ポテンショメータに定格電圧を超える過電圧が入力されるような事態が生じても、ポテンショメータに入力される電圧が定格電圧に達すると、遮断器が定格電圧のポテンショメータへの入力を遮断して、過電圧の入力に起因したポテンショメータからの発火を防止することができるので、電動モータによる駆動が可能でありながら、タンカー等の可燃性危険物を運搬する船舶でも安全に使用可能なウインチの駆動装置を提供することができる。
また、請求項2に係る本発明では、請求項1に記載の駆動装置において、前記ポテンショメータは、第1の基準電圧が入力される第1端子と、前記第1の基準電圧よりも低い第2の基準電圧が入力される第2端子と、前記操作部の操作量に応じて前記第1の基準電圧と前記第2の基準電圧との間の電圧を前記制御信号として出力する第3端子とを備え、前記遮断器は、前記第1端子へ入力される電圧が前記定格電圧に達したときに、前記第1端子とグランドとを短絡する第1遮断回路と、前記第2端子へ入力される電圧が前記定格電圧に達したときに、前記第2端子とグランドとを短絡する第2遮断回路と、前記第3端子へ入力される電圧が前記定格電圧に達したときに、前記第3端子とグランドとを短絡する第3遮断回路とを有することを特徴とするため、簡易な構造でありながら、ポテンショメータの第1〜第3端子のうちのいずれかに定格電圧を超える過電圧が入力されることを確実に防止することができる。
また、請求項3に係る本発明では、請求項2に記載の駆動装置において、前記遮断器は、前記第1端子へ入力される電圧が前記定格電圧に達したときに溶断して、前記第1端子への前記定格電圧の入力を遮断する第1ヒューズと、前記第2端子へ入力される電圧が前記定格電圧に達したときに溶断して、前記第2端子への前記定格電圧の入力を遮断する第2ヒューズと、前記第3端子へ入力される電圧が前記定格電圧に達したときに溶断して、前記第3端子への前記定格電圧の入力を遮断する第3ヒューズとを有することを特徴とするため、何らかの原因により、第1〜第3遮断器のうちのいずれかが正常に作動しないような場合であっても、第1〜第3端子のうちのいずれかに定格電圧を超える過電圧が入力されることを確実に防止することができる。
また、請求項4に係る本発明では、請求項1〜3のいずれか1項に記載の駆動装置において、前記遮断器を前記船舶における非危険区域に設けたことを特徴とするため、遮断器によるポテンショメータへの定格電圧の入力の遮断を安全に行うことができる。
以下、本発明の一実施形態について、図面を参照して具体的に説明する。なお、ここでは、石油や液化天然ガス等の可燃性危険物を運搬する船舶(以下、「タンカー」という。)に配設されたウインチの駆動装置に対して本発明を適用した場合を例に挙げて説明する。
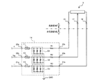
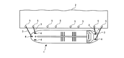
図1は、本実施形態に係る駆動装置を備えたタンカーを示す説明図であり、図2は、本実施形態に係る駆動装置を示す説明図であり、図3は、本実施形態に係る遮断器を示す説明図である。
図1に示すように、本実施形態に係るタンカー1は、船首及び船尾に、船体を岸壁2に係留するためのロープ3の繰出し及び巻き取りを行うウインチ4を複数備えている。図中の符号5は、ウインチ4から繰出したロープ3を縛り付けるためのボラード(係船柱)である。
各ウインチ4は、図2に示すように、舫い綱としてのロープを巻回するドラム4aと、このドラム4aを回転駆動する電動モータ4bとを備えている。なお、ここでは、ドラム4aに巻回する線材をロープとしているが、線材はこれに限定するものではなくワイヤーであってもよい。また、本実施形態のウインチ4をアンカー(錨)用として用いる場合には、先端にアンカーが接続された鎖をドラム4aに巻回して使用する。
また、このウインチ4の電動モータ4bは、駆動装置6から供給される駆動電圧により回転駆動するように構成している。
駆動装置6は、ウインチ4を駆動するために作業者7が操作する操作部としての回動レバー8と、この回動レバー8の操作量に応じた制御信号Sigを出力するポテンショメータ9と、このポテンショメータ9から出力される制御信号Sigに基づいて、電源10から供給される電圧を調整して電動モータ4bへ供給するインバータ装置11とを備えている。
図2中の符号12は、ポテンショメータ9から出力された制御信号Sigを所定の増幅率で増幅してインバータ装置11へ出力するアンプであり、符号13は、電源10電圧から第1の基準電圧と、この第1の基準電圧よりも低い第2の基準電圧とを生成してポテンショメータ9へ出力する基準電圧生成器である。
そして、この駆動装置6が備えるポテンショメータ9は、基準電圧生成器13から第1の基準電圧が入力される第1端子15と、第2の基準電圧が入力される第2端子16と、制御信号Sigを出力する第3端子17とを備えており、作業者7が回動レバー8を回動操作すると、その回動操作量に応じて、第1の基準電圧と第2の基準電圧との間の電圧を制御信号Sigとしてアンプ12を介してインバータ装置11へ入力する。
インバータ装置11では、電源10から入力される所定の交流電流を一旦直流電流に変化し、その直流電流をポテンショメータ9から入力される制御信号Sigに基づいて周波数変調して交流電流を生成して電動モータ4bに入力して電動モータ4bを駆動する。
すなわち、この駆動装置6では、作業者7による回動レバー8の回動操作量に応じた周波数で所定の駆動電圧を電動モータ4b供給することにより、回動レバー8の回動操作量に応じた回転速度でドラム4aを回転させるように構成している。
特に、本実施形態の駆動装置6は、落雷や内部回路のショート等に起因してポテンショメータ9に定格電圧を超える電圧が入力されることによる発火を防止するための防爆手段として、ポテンショメータ9に入力される電圧が所定の定格電圧に達すると、ポテンショメータ9への定格電圧の入力を遮断する遮断器としてのバリア14を備えている。
このバリア14は、ポテンショメータ9の第1端子15、第2端子16、第3端子17のいずれかに入力される電圧が定格電圧に達すると、入力電圧が定格電圧に達した端子(第1端子15、第2端子16、第3端子17)毎に、定格電圧の入力を遮断するように構成している。このバリア14の具体的な回路構成等については、後に詳述する。
このように、本実施形態の駆動装置6は、ポテンショメータ9へ入力される電圧が定格電圧に達すると、その定格電圧のポテンショメータ9への入力を遮断するバリア14を備えているため、万一落雷や内部回路のショートにより、ポテンショメータに定格電圧を超える過電圧が入力されるような事態が生じても、ポテンショメータに入力される電圧が定格電圧に達すると、バリア14が定格電圧のポテンショメータ9への入力を遮断して、過電圧の入力に起因したポテンショメータ9からの発火を防止することができるので、電動モータ4bによる駆動が可能でありながら、タンカー1等の可燃性危険物を運搬する船舶でも安全に使用可能なウインチ4の駆動装置6を提供することができる。
また、本実施形態の駆動装置6では、回動レバー8と、この回動レバー8に接続したポテンショメータ9を、作業者7からウインチ4の動作状態を視認しやすい甲板18上に配設すると共に、電源10、インバータ装置11、アンプ12、基準電圧生成器13、バリア14等といった電装部品を甲板18の下方に設けた船舶安全法上の非危険区域19に設けている。
このように、本実施形態では、バリア14を含む電装部品をタンカー1における非危険区域19に配設しているため、船舶安全法において危険区域に指定されているタンカー1の甲板18上に配設したポテンショメータ9へ定格電圧を超える電圧が入力される前に、非危険区域19に配設したバリア14によって、ポテンショメータ9への定格電圧の入力を遮断することができるので、危険区域である甲板18上でポテンショメータ9からの発火による火災の発生を未然に防止することができる。
ここで、バリア14の具体的な回路構成及び動作について説明する。このバリア14は、図3に示すように、基準電圧生成器13から第1の基準電圧が入力される第1入力端子20aと、第1の基準電圧をポテンショメータ9の第1端子15へ出力する第1出力端子20bと、基準電圧生成器13から第2の基準電圧が入力される第2入力端子21aと、第2の基準電圧をポテンショメータ9の第2端子16へ出力する第2出力端子21bと、ポテンショメータ9の第3端子17から制御信号Sigが入力される制御入力端子22aと、制御信号Sigをアンプ12へ出力する制御出力端子22bとを備えている。
また、このバリア14では、第1入力端子20aと第1出力端子20bとの間に、第1入力端子20a又は第1出力端子20bに入力される電圧が所定の定格電圧に達すると溶断する第1ヒューズF1と、第1の基準電圧調整用の抵抗R1とを直列に接続している。
さらに、第1ヒューズF1と抵抗R1とを接続する接続線とグランドGNDとの間に、第1入力端子20a又は第1出力端子20bに入力される電圧が所定の定格電圧に達すると、第1ヒューズF1と抵抗R1とを接続する接続線とグランドGNDとを短絡して、ポテンショメータ9が備える第1端子15への定格電圧の入力を遮断する第1遮断回路D1を接続している。
この第1遮断回路D1は、第1ヒューズF1と抵抗R1とを接続する接続線と、グランドGNDとの間に、2つのツェナーダイオードのカソード同士を接続した双方向型のダイオードを3組並列に接続して構成している。
また、このバリア14では、制御入力端子22aと制御出力端子22bとの間に、制御入力端子22a又は制御出力端子22bに入力される電圧が所定の定格電圧に達すると溶断する第2ヒューズF2と、制御信号Sigの電圧調整用の抵抗R2とを直列に接続している。
さらに、第2ヒューズF2と抵抗R2とを接続する接続線とグランドGNDとの間に、制御入力端子22a又は制御出力端子22bに入力される電圧が所定の定格電圧に達すると、第2ヒューズF2と抵抗R2とを接続する接続線とグランドGNDとを短絡して、ポテンショメータ9が備える第3端子17への定格電圧の入力を遮断する第2遮断回路D2を接続している。
この第2遮断回路D2は、第2ヒューズF2と抵抗R2とを接続する接続線と、グランドGNDとの間に、2つのツェナーダイオードのカソード同士を接続した双方向型のダイオードを3組並列に接続して構成している。
また、このバリア14では、第2入力端子21aと第2出力端子21bとの間に、第2入力端子21a又は第2出力端子21bに入力される電圧が所定の定格電圧に達すると溶断する第3ヒューズF3と、第2の基準電圧調整用の抵抗R3とを直列に接続している。
さらに、第3ヒューズF3と抵抗R3とを接続する接続線とグランドGNDとの間に、第2入力端子21a又は第2出力端子21bに入力される電圧が所定の定格電圧に達すると、第3ヒューズF3と抵抗R3とを接続する接続線とグランドGNDとを短絡して、ポテンショメータ9が備える第2端子16への定格電圧の入力を遮断する第3遮断回路D3を接続している。
この第3遮断回路D3は、第2ヒューズF2と抵抗R2とを接続する接続線と、グランドGNDとの間に、2つのツェナーダイオードのカソード同士を接続した双方向型のダイオードを3組並列に接続して構成している。
かかる構成により、本実施形態の駆動装置6では、何らかの原因によりポテンショメータ9の第1端子15に、定格電圧を超えるような電圧が入力される場合、その第1端子15に入力される電圧が定格電圧に達した時点で、第1ヒューズF1が溶断するか、若しくは、第1遮断回路D1がポテンショメータ9の第1端子15とグランドGNDとを短絡することによって、第1端子15への定格電圧の入力を遮断することができる。
また、何らかの原因によりポテンショメータ9の第2端子16に定格電圧を超えるような電圧が入力される場合にも同様に、その第2端子16に入力される電圧が定格電圧に達した時点で、第3ヒューズF3が溶断するか、若しくは、第3遮断回路D3がポテンショメータ9の第2端子16とグランドGNDとを短絡することによって、第2端子16への定格電圧の入力を遮断することができる。
また、何らかの原因によりポテンショメータ9の第3端子17に定格電圧を超えるような電圧が入力される場合にも同様に、その第3端子17に入力される電圧が定格電圧に達した時点で、第2ヒューズF2が溶断するか、若しくは、第2遮断回路D2がポテンショメータ9の第3端子17とグランドGNDとを短絡することによって、第3端子17への定格電圧の入力を遮断することができる。
このように、本実施形態の駆動装置6では、ポテンショメータ9の第1端子15、第2端子16、第3端子17のいずれかに、定格電圧を超えるような電圧が入力されるような場合に、入力される電圧が定格電圧に達すると、その定格電圧のポテンショメータ9への入力を遮断することができるので、ポテンショメータ9に定格電圧以上の過電圧が入力されることを防止することができ、過電圧によるポテンショメータ9からの発火を未然に防止することができる。
しかも、ポテンショメータ9への定格電圧の入力を遮断する遮断手段として、第1端子15、第2端子16、第3端子17のそれぞれに、ヒューズ(第1ヒューズF1、第2ヒューズF2、第3ヒューズF3)と、遮断回路(第1遮断回路D1、第2遮断回路D2、第3遮断回路D3)という2種類の遮断手段を設けているため、どちらか一方の遮断手段が正常に作動しなかった場合であっても、他方の遮断手段により、ポテンショメータ9への定格電圧の入力を遮断することができるので、ポテンショメータ9への定格電圧の入力を確実に防止することができ、過電圧によるポテンショメータ9からの発火をより確実に防止することができる。
なお、本実施形態において説明したバリア14の具体的な回路構成は、本発明の一例を示したに過ぎず、ポテンショメータ9に入力される電圧が所定の定格電圧に達したときに、その定格電圧のポテンショメータ9への入力を遮断可能な回路構成であれば、任意の回路によりバリア14を構成してもよい。
本実施形態では、石油や液化天然ガス等の可燃性危険物を運搬するタンカー1に配設されたウインチ4の駆動装置6に対して本発明を適用した場合を例に挙げて説明したが、本発明は、これに限定されるものではなく、任意の船舶に配設するウインチの駆動装置に対して適用することができる。
このように本発明の駆動装置を任意の船舶に配設するウインチの駆動装置に対して適用すれば、駆動装置からの発火に起因した船舶火災の発生を未然に防止することがでる。
本実施形態に係る駆動装置を備えたタンカーを示す説明図である。 本実施形態に係る駆動装置を示す説明図である。 本実施形態に係る遮断器を示す説明図である。
符号の説明
1 タンカー
3 ロープ
4 ウインチ
4a ドラム
4b 電動モータ
6 駆動装置
8 回動レバー
9 ポテンショメータ
10 電源
11 インバータ装置
12 アンプ
13 基準電圧生成器
14 バリア
15〜17 第1〜第3端子
19 非危険区域
20a 第1入力端子
20b 第1出力端子
21a 第2入力端子
21b 第2出力端子
22a 制御入力端子
22b 制御出力端子
R1〜R3 抵抗
F1〜F3 第1〜第3ヒューズ
D1〜D3 第1〜第3遮断回路

Claims (4)

  1. 可燃性危険物を運搬する船舶に配設され、ワイヤー又はロープを巻回するドラムと前記ドラムを回転駆動する電動モータとを備えたウインチの駆動装置において、
    前記ウインチを駆動するために操作する操作部と、
    所定の基準電圧が入力され、前記操作部の操作量に応じた制御信号を出力するポテンショメータと、
    前記ポテンショメータから出力される制御信号に基づいて、電源から供給される電圧を調整して前記モータへ供給するインバータ装置と、
    前記ポテンショメータに入力される電圧が所定の定格電圧に達すると、前記ポテンショメータへの前記定格電圧の入力を遮断する遮断器と、
    を有することを特徴とする駆動装置。
  2. 前記ポテンショメータは、
    第1の基準電圧が入力される第1端子と、前記第1の基準電圧よりも低い第2の基準電圧が入力される第2端子と、前記操作部の操作量に応じて前記第1の基準電圧と前記第2の基準電圧との間の電圧を前記制御信号として出力する第3端子とを備え、
    前記遮断器は、
    前記第1端子へ入力される電圧が前記定格電圧に達したときに、前記第1端子とグランドとを短絡する第1遮断回路と、
    前記第2端子へ入力される電圧が前記定格電圧に達したときに、前記第2端子とグランドとを短絡する第2遮断回路と、
    前記第3端子へ入力される電圧が前記定格電圧に達したときに、前記第3端子とグランドとを短絡する第3遮断回路と、
    を有することを特徴とする請求項1に記載の駆動装置。
  3. 前記遮断器は、
    前記第1端子へ入力される電圧が前記定格電圧に達したときに溶断して、前記第1端子への前記定格電圧の入力を遮断する第1ヒューズと、
    前記第2端子へ入力される電圧が前記定格電圧に達したときに溶断して、前記第2端子への前記定格電圧の入力を遮断する第2ヒューズと、
    前記第3端子へ入力される電圧が前記定格電圧に達したときに溶断して、前記第3端子への前記定格電圧の入力を遮断する第3ヒューズと、
    を有することを特徴とする請求項2に記載の駆動装置。
  4. 前記遮断器を前記船舶における非危険区域に設けたことを特徴とする請求項1〜3のいずれか1項に記載の駆動装置。
JP2007301963A 2007-11-21 2007-11-21 駆動装置 Active JP5117828B2 (ja)

Priority Applications (1)

Application Number Priority Date Filing Date Title
JP2007301963A JP5117828B2 (ja) 2007-11-21 2007-11-21 駆動装置

Applications Claiming Priority (1)

Application Number Priority Date Filing Date Title
JP2007301963A JP5117828B2 (ja) 2007-11-21 2007-11-21 駆動装置

Publications (2)

Publication Number Publication Date
JP2009126623A JP2009126623A (ja) 2009-06-11
JP5117828B2 true JP5117828B2 (ja) 2013-01-16

Family

ID=40817930

Family Applications (1)

Application Number Title Priority Date Filing Date
JP2007301963A Active JP5117828B2 (ja) 2007-11-21 2007-11-21 駆動装置

Country Status (1)

Country Link
JP (1) JP5117828B2 (ja)

Families Citing this family (3)

* Cited by examiner, † Cited by third party
Publication number Priority date Publication date Assignee Title
JP5808128B2 (ja) 2011-03-31 2015-11-10 三菱重工業株式会社 ガス焚きエンジン
JP5318989B2 (ja) * 2012-05-14 2013-10-16 株式会社新来島どっく タンカーにおけるバラスト水処理装置の配置構造
CN104118813B (zh) * 2014-07-11 2016-08-24 常州科研试制中心有限公司 无线操控的矿用绳牵引运输设备控制系统

Family Cites Families (4)

* Cited by examiner, † Cited by third party
Publication number Priority date Publication date Assignee Title
JPS6151489A (ja) * 1984-08-14 1986-03-13 日立建機株式会社 水平引込式ジブクレ−ン
JPH0622554A (ja) * 1992-07-07 1994-01-28 Matsushita Electric Ind Co Ltd 電源回路
JP2003002280A (ja) * 2001-06-20 2003-01-08 Shinnaka:Kk 船舶用ウィンチ
JP2005273488A (ja) * 2004-03-23 2005-10-06 Kayaba Ind Co Ltd 船舶甲板機械用の星形油圧モータ

Also Published As

Publication number Publication date
JP2009126623A (ja) 2009-06-11

Similar Documents

Publication Publication Date Title
JP4623897B2 (ja) 船の推進駆動システム
KR102299078B1 (ko) 선박의 축 발전기 어레인지먼트
JP5117828B2 (ja) 駆動装置
CN101983464B (zh) 低压设备中的短路限制装置
JP6399593B2 (ja) ウィンドエネルギ設備のピッチシステムを駆動する方法
US3196316A (en) Protective electrical system for remotely powered mobile machines
JP4436203B2 (ja) 船舶
JP4587305B2 (ja) 船用給電装置および船舶の給電切り替え方法
KR200485291Y1 (ko) 범용 디지털 와이어 송급장치를 갖춘 co2 용접장치
KR20120002216A (ko) 부유식 해양 구조물의 전기 설비 배치구조
JP4656990B2 (ja) 船用給電装置および船舶の給電切り替え方法
KR20150020963A (ko) 육상전력 케이블 제어장치 및 방법
JP4605598B2 (ja) 船用給電装置とその制御方法
NO793109L (no) System for beskyttelse av fralands-konstruksjoner
KR20120007737A (ko) 발전 장치를 갖는 부유식 해양 구조물
JP4605599B2 (ja) 船用給電パッケージとこれを用いた船舶電力供給方法
JP2006290018A (ja) 船用給電装置とその制御方法
CN104746496B (zh) 自升式平台升降系统的限速保护装置
KR20160104972A (ko) 선박의 비상 전력 공급 장치 및 방법
KR20160025815A (ko) 해양 플랜트의 전력 공급 장치 및 상기 전력 공급 장치를 포함하는 해양 플랜트
JP2011020830A (ja) 陸上電源給電用ケーブルリール
US8953287B2 (en) Mobile generator and mobile generator protective device
KR101144360B1 (ko) 모터 보호방법 및 모터 보호시스템
KR100789017B1 (ko) 선박의 용접작업을 위한 접지 케이블의 단선을 감지하는장치
KR19980031066A (ko) 선박용 누전경보장치

Legal Events

Date Code Title Description
A621 Written request for application examination

Free format text: JAPANESE INTERMEDIATE CODE: A621

Effective date: 20101004

A977 Report on retrieval

Free format text: JAPANESE INTERMEDIATE CODE: A971007

Effective date: 20120912

TRDD Decision of grant or rejection written
A01 Written decision to grant a patent or to grant a registration (utility model)

Free format text: JAPANESE INTERMEDIATE CODE: A01

Effective date: 20120918

A01 Written decision to grant a patent or to grant a registration (utility model)

Free format text: JAPANESE INTERMEDIATE CODE: A01

A61 First payment of annual fees (during grant procedure)

Free format text: JAPANESE INTERMEDIATE CODE: A61

Effective date: 20121018

R150 Certificate of patent or registration of utility model

Free format text: JAPANESE INTERMEDIATE CODE: R150

Ref document number: 5117828

Country of ref document: JP

Free format text: JAPANESE INTERMEDIATE CODE: R150

FPAY Renewal fee payment (event date is renewal date of database)

Free format text: PAYMENT UNTIL: 20151026

Year of fee payment: 3

R250 Receipt of annual fees

Free format text: JAPANESE INTERMEDIATE CODE: R250

R250 Receipt of annual fees

Free format text: JAPANESE INTERMEDIATE CODE: R250

R250 Receipt of annual fees

Free format text: JAPANESE INTERMEDIATE CODE: R250

R250 Receipt of annual fees

Free format text: JAPANESE INTERMEDIATE CODE: R250

R250 Receipt of annual fees

Free format text: JAPANESE INTERMEDIATE CODE: R250

R250 Receipt of annual fees

Free format text: JAPANESE INTERMEDIATE CODE: R250

R250 Receipt of annual fees

Free format text: JAPANESE INTERMEDIATE CODE: R250

R250 Receipt of annual fees

Free format text: JAPANESE INTERMEDIATE CODE: R250