JP5116521B2 - 液体用容器 - Google Patents

液体用容器 Download PDF

Info

Publication number
JP5116521B2
JP5116521B2 JP2008065804A JP2008065804A JP5116521B2 JP 5116521 B2 JP5116521 B2 JP 5116521B2 JP 2008065804 A JP2008065804 A JP 2008065804A JP 2008065804 A JP2008065804 A JP 2008065804A JP 5116521 B2 JP5116521 B2 JP 5116521B2
Authority
JP
Japan
Prior art keywords
liquid
container
valve
partition
compartment
Prior art date
Legal status (The legal status is an assumption and is not a legal conclusion. Google has not performed a legal analysis and makes no representation as to the accuracy of the status listed.)
Active
Application number
JP2008065804A
Other languages
English (en)
Other versions
JP2009220843A (ja
Inventor
能利 山口
浩司 松重
將之 相澤
歩 百々海
Current Assignee (The listed assignees may be inaccurate. Google has not performed a legal analysis and makes no representation or warranty as to the accuracy of the list.)
Tokuyma Dental Corp
Original Assignee
Tokuyma Dental Corp
Priority date (The priority date is an assumption and is not a legal conclusion. Google has not performed a legal analysis and makes no representation as to the accuracy of the date listed.)
Filing date
Publication date
Application filed by Tokuyma Dental Corp filed Critical Tokuyma Dental Corp
Priority to JP2008065804A priority Critical patent/JP5116521B2/ja
Publication of JP2009220843A publication Critical patent/JP2009220843A/ja
Application granted granted Critical
Publication of JP5116521B2 publication Critical patent/JP5116521B2/ja
Active legal-status Critical Current
Anticipated expiration legal-status Critical

Links

Images

Landscapes

  • Closures For Containers (AREA)

Description

本発明は、容器本体の開口に取付けられるノズル部と容器本体内との間に液体が通る隔室を形成した液体用容器に関する。
歯科用接着剤や各種治療薬等の種々の液体を充填する容器として、容器本体部とノズルとからなる液体用容器が用いられる。このような液体用容器は、容器本体部の可撓性を有する胴部(外周部)を指先で圧縮することにより、容器本体内に充填された液体を、ノズルの先端に設けられた液体流出口より少量ずつ流出させることができる。そして、容器本体を必要角度に傾倒させて使用することにより、液体を目的箇所に所望量だけ塗布や滴下させることができる。
しかしながら、冷蔵庫などに貯蔵していた液体用容器を、使用した後にそのまま室温で放置をしておくと、容器本体の内部の温度が室温の上昇するにつれて、容器本体の空気が膨張して、ノズルの内部に残っている液体をノズルの先端部から噴き出してしまい、それが液垂れとなってノズルの先端に付着することがある。
この噴き出し現象を防止するため、図7に示す液体用容器が下記の特許文献1として開示されている。
特許文献1の液体用容器51は、容器本体とノズル蓋部とを備え、容器本体は可撓性を有し、指先で胴部52を狭持して押圧し容器本体を圧縮することができる。また、容器本体の開口部に口頸部54が形成されており、その開口部にノズル蓋部が差し込まれている。ノズル蓋部には、液体流出口55が開口する突出部56が設けられ、液体流出口55と胴部内空部57とは、液体流通路58により連通している。
小口径の液体流通路58は、容器本体側の端部で拡径させた隔室60が形成されている。この隔室60には、復動部材61を遊嵌している。復動部材61は、その上面および側壁に、該復動部材が隔室60内を上昇して上面が隔室60の上壁に当接した際に、隔室60とこれより上方の液体流通路58とが連通するように液体流通用溝63が形成されている。
このような構造の液体用容器51は、胴部52が押圧されると、胴部内空部57に充填される液体53は液体流通路58内に流入し上方に流れる。このとき、液体53は、液体流通下方路59と支持棒部62との間隙を流れる。
復動部材61は、液体53の液圧に押されて上面が隔室60の上壁に当接するが、隔室60と液体流通路58とが連通するように液体流通用溝63が形成されているため、この液体流通用溝63を通って、液体流通路58に流入し、胴部52の押圧の程度に応じて、液体流出口55から所望量の液体53を流出させることができる。
液体53の注入後は、液体充填用容器51において、胴部52の押圧を弱め液体の流出のため傾倒させていた容器51を垂直に立てようとすると、隔室60内において、上壁に当接していた復動部材61は、すぐに下降を始める。この復動部材61の下降により、隔室60内に溜まっていた液体のほとんどは、液体流通下方路59に押し戻され、この際、上方の液体流通路58内に存在する液体53も、下方に流下する。その結果、使用直後において容器51の液ダレの発生が防止される。
特開2005−138990号公報
特許文献1の技術によると、上述のように液ダレが防止されるが、復動部材の移動によって、液体を胴部内空部に戻すようにしているので、使用後に容器に蓋を被せるようなときに、容器を立てる姿勢にすることなく、特に容器を横向きや下向きにした状態で蓋を被せて、そのまま容器を横置きにして保管したような場合は、復動部材の移動がなくその役割を果たすことができず、液ダレを生じることがある。
本発明は、このような事情に鑑みてなされたものであって、容器の姿勢に影響されることなく、液ダレを防止することのできる液体用容器を提供することにある。
本発明の液体用容器は、上記目的を達成するために、胴部が可撓性を有する容器本体と該容器本体の開口部に取付けられるノズル蓋部とを備え、該ノズル蓋部には前記開口部に配設される筒状部と前記容器本体の開口部よりも外側に突出するノズル部とを備え、前記筒状部又は前記容器本体に該筒状部と前記容器本体内の液体収容室とを仕切る隔壁を設けることによって、前記ノズル部と前記液体収容室との間に隔室を形成した液体用容器において、前記隔壁には、前記液体収容室の内方側への押圧時に前記液体収容室の内圧力によって開弁し前記液体収容室側から前記隔室側に液体の流れを許容し、前記液体収容室への押圧力の解除時に前記液体収容室の減圧力によって開弁し前記隔室側から前記液体収容室への液体の流れを許容する切れ目を形成した隔壁弁を設け、前記隔室には、重力によって該隔室内を移動する移動弁を配設し、該移動弁の一端には前記容器本体の傾倒時に前記ノズル部の液体流通路における前記隔室側の一端を閉塞して液体の流通量を制限する規制部を形成し、前記移動弁の一端が前記ノズル部の液体流通路側に位置し、他端が前記隔壁側に位置するように前記移動弁と前記隔室とを形成し、該規制部には前記移動弁の前記液体流通路の閉塞時に、前記隔室と前記流通路とを連通する溝を形成した
上記液体用容器は、前記移動弁の他端側端部に前記容器本体の径方向に延びる溝を形成することができる。
上記液体用容器は、前記隔壁に該隔壁の周囲から立ち上がる周壁部を形成し、該周壁部の内周面によって前記筒状部の外周部を覆うようにすることができる。
本発明の液体用容器は、前記隔壁には、前記液体収容室の内方側への押圧時に前記液体収容室の内圧力によって開弁し前記液体収容室側から前記隔室側に液体の流れを許容し、前記液体収容室への押圧力の解除時に前記液体収容室の減圧力によって開弁し前記隔室側から前記液体収容室への液体の流れを許容する切れ目を形成した隔壁弁を設け、前記隔室には、重力によって該隔室内を移動する移動弁を配設し、該移動弁の一端には前記容器本体の傾倒時に前記ノズル部の液体流通路における前記隔室側の一端を閉塞して液体の流通量を制限する規制部を形成し、前記移動弁の一端が前記ノズル部の液体流通路側に位置し、他端が前記隔壁側に位置するように前記移動弁と前記隔室とを形成し、該規制部には前記移動弁の前記液体流通路の閉塞時に、前記隔室と前記流通路とを連通する溝を形成したので、ノズルの液体流通路に充填されている液体を容器本体側に戻すことができる。その結果、容器の姿勢に影響されることなく、液ダレを良好に防止できる。また、溝の大きさを適宜変更することによって、容器本体内の液体の粘度に合わせて液体の流通量を調整することができる。
上記液体用容器は、前記移動弁の他端側端部に前記容器本体の径方向に延びる溝を形成したので、移動弁が隔壁弁を塞ぐようなことがあっても、隔壁弁の開弁時に液体の流通を確保することができる。
上記液体用容器は、前記隔壁に該隔壁の周囲から立ち上がる周壁部を形成し、該周壁部の内周面によって前記筒状部の外周部を覆うようにしたので、仕切材の取付け容易になる。
以下、本発明の第1の実施形態の液体用容器について、図面を参照しながら説明する。
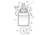
図1は、本発明に係る液体用容器を示す。液体用容器1は、液体が充填される容器本体2と容器本体2の口頸部9の上端部に形成された開口部3に装着されるノズル蓋部5とを備えている。
容器本体2は、胴部が手で挟持して圧縮できる程度の可撓性を備えるものであれは制限なく採択できる。一般には、ポリエチレン、ポリプロピレン等のポリオレフィン;ポリアセタール;アクリロニトリル―ブタジエン―スチレン樹脂(ABS樹脂)などの合成樹脂が好ましい。また、遮光性、ガスバリア性を持たせたポリエチレン−ABS−ポリエチレン等の3層構造を有する材質で容器を形成しても良い。上記樹脂で形成された容器本体2は、上部に肩部4を形成し、肩部4よりも下部は円筒状の胴部7を形成し、胴部7の下端に円形の底部8を形成している。この可撓性の容器本体2は、胴部7を指先で挟み込むようにして押すと、押圧力によって胴部7が内側に窪み、指先を離すともとの形状に戻るような弾性力を有する。
ノズル蓋部5も、上記容器本体2と同様の材料(合成樹脂)で形成されるが、液切れ性を向上させる観点からは、フッ素系樹脂を使用するのも好ましい態様である。また、液体の滴下位置の正確性を高める観点からは実質的に変形をしない剛性のものとするのが好ましいため、ノズル蓋部5の壁の厚さは、該容器本体2よりも厚くするのが好適である。このノズル蓋部5は、一体成形により形成され、基端側に断面が円形の筒状部10が形成され、先端側にノズル11が形成され、これらの筒状部10とノズル11の間にフランジ部12が形成されている。
フランジ部12は、筒状部10の上端縁から筒状部10の半径方向外側に突出する環状部であり、開口部3よりも大きな径を有し、フランジ部12と筒状部10の上端部を密着させることによって、ノズル蓋部5と容器本体2との境界部が気密になるようにシール性を維持させることができる。
ノズル11は、先細りのテーパー形状であって、軸方向に小径の流通路14がノズル11の中央位置を貫通し、流通路14の先端部には先端部に向かって徐々に拡径する注出口15が設けられている。流通路14の径は、通常状態で液体の毛細管現象が起きるような径に形成されている。
筒状部10には、図2に示すように、ほぼ円筒有底形状の仕切材16が取付けられている。仕切材16は、弾性を有する部材を用いる。こうした弾性を有する部材としては、具体的には、隔壁弁19の進退移動のし易さの観点から、JIS6253記載の硬さ試験方法に準拠した方法で測定した硬さが30〜100(国際ゴム硬さ:IRHD)、より好ましくは40〜80(IRDH)である合成ゴムや、エラストマー樹脂などが好適である。
仕切材16は、周壁部17と底部からなる円形の隔壁18とからなり、周壁部17は、筒状部10の周囲を包むように、内径を筒状部10の外周径とほぼ同じで、そのまま或いは弾性力で筒状部10の周囲に取付けられる程度の大きさに形成している。仕切材16の隔壁18は、筒状部10の下端部開口に対応する位置に配置され、容器本体2の内部に設けられた液体収容室6とノズル蓋部5との間を仕切っている。隔壁18の中心部には、直線状の切れ目を形成した隔壁弁19が形成されている。
隔壁弁19を開閉弁として有効に機能させるには、隔壁弁19の近傍はその周りよりも少し薄くするのが、容器本体2の胴部7を押して容器本体2の内部圧力を上昇させた時に該隔壁弁19が開弁しやすくなり、液の出入りが容易になり、液の滴下性能を向上させることができるため好適である。
容器本体2に外力が負荷されていない状態(以下、無負荷状態という)では、隔壁弁19は閉弁状態にあり、容器本体2の胴部7を押圧して液体収容室6に内圧を負荷すると、仕切材16の隔壁18がノズル蓋部5の先端側に押圧され、隔壁弁19の切れ目が拡がり、開弁状態になる。そして、再び無負荷状態にすると、胴部7がもとの初期形状に戻り、内圧が減少して、隔壁弁19の切れ目がもとの状態に戻る。このように、隔壁18は容器本体2の内圧に依存して、隔壁弁19の切れ目が開閉弁となって容器本体2内の液体の流通を許容する。
仕切材16の周壁部17は、内周側にノズル蓋部5の筒状部10の底部を隔壁18が覆うように嵌入し、周壁部17の開口側の上端部はフランジ部12に当接させている。仕切材16は、筒状部10に装着された状態で、容器本体2の口頸部9の内部に装着される。
液体用容器1には、上述の隔壁18とノズル蓋部5の筒状部10及びノズル11の下部壁21によって区画されている隔室22が形成されている。隔室22は、流通路14と連通し、隔室22の容積は、流通路14よりも十分に大きく、容器本体2の内部空間よりも小さく形成されている。ノズル11の下部壁21は、上方側が減径するテーパー形状の絞り面21が形成されている。
図4に示すように、隔室22には、移動弁23が収容されている。移動弁23の材質は、特に問わないが、加工をしやすいように、本実施形態では合成樹脂製としている。ただし、容器本体2に入れられる液体の比重よりも大きなものを用いる必要がある。
移動弁23の形状は、一端(容器の正立姿勢で上端)がほぼ半球形であり、他端(同じく下端)が円柱形のいわゆる弾丸形状である。一端側には、一対の扇状溝24a,24bを形成し、これらの扇状溝24a,24bは同一直径状に先端部(又は中心部)Pを挟むようにした位置に形成されている。
一方の扇状溝24aは、移動弁23の中心部Pを僅かにずれた部位から、移動弁23の軸方向他端側へ向かい、該移動弁23のほぼ上下方向中間位置で、半径方向外側に向かって薄く切り欠くようにして開角がほぼ90度の扇状になるように形成している。
移動弁23の底面部には、長溝25を形成している。長溝25は、移動弁23の径方向の一端から他端まで貫通する直線状かつ一条の溝であり、径方向に向かって形成された扇状溝24a,24bの延在方向に対して周方向に90度ずらした方向に形成されている。したがって、移動弁23を平面視で見ると溝24a,24b,25は十字形状となる。
移動弁23と隔室22との関係は、移動弁23が倒れようとしても、移動弁23が水平方向へ向いて傾倒しないようにする必要がある。したがって、隔室22の形状が円筒形であれば、移動弁の高さHと隔室22の径Dの関係は、H>Dを満たすようにする。こうすれば、常に移動弁23の先端部である半球形の側が常に流通路14側に向くようになる。
なお、この液体用容器1の筒状の口頸部9の外周囲には、雄ネジ26が形成され、ノズル蓋部5に被せる図示しないキャップが装着されるが、図面では省略されている。また、液体用容器2に入れられる液体は、水、薬品、接着剤などの液状のものである。
次に、本実施形態における液体用容器の作用について説明する。
この液体用容器1を使用するときは、図示しないキャップを外し、図3に示すように、液体用容器1の上下を反対にしてノズル11の注出口15が下向きになるように傾倒させて使用する。容器本体2は、実質的に容器本体2を把持するのみで胴部7を押していない状態では、隔室22側と容器本体2の液体収容室6側との圧力の均衡がとれている。液体を排出するには、容器本体2の胴部7を軽く圧迫するように指先で押圧する。
通常時では、隔壁弁19は閉弁状態にあるので、容器本体2の内部空間である液体収容室6の内部圧力が上昇し、隔壁弁19が開弁する。隔壁弁19が開弁することによって、液体収容室6側から隔室18側への液体の流通を可能にする。一方、移動弁23は、容器本体2を傾倒させているので、重力作用でノズル蓋部5の流通路14に先端部Pを当接させる。この際、下部壁21は移動弁23の先端部Pを流通路14に案内する。移動弁23の一端には、一対の扇状溝24a,24bを形成しているので、液体は流通することができる。
こうして、液体は、液体収容室6側から隔壁弁19の切れ目を通って、隔室22,移動弁23の扇状溝24a,24bを通って流通路14、注出口15に排出される。この際、液体が注出口15にて滴になったときに、指先で押圧力を調整しながら、必要滴数だけ所望部分に、液体などを滴下することができる。
隔室22と液体収容室6との間には、隔壁弁19を有するので、液体収容室6の内圧よりも隔室22の内圧は小さいので、液体が容器本体2の押圧する容積に比べて、液体の排出量は少ないので、微調整が可能になる。
本実施形態の液体用容器1は、特に粘度の小さな液体を使用するときに好適である。すなわち、粘度の小さな液体では、容器本体を押圧するとそれに敏感に応答し、排出口から液体が勢いよく飛び出す傾向にある。本実施形態では、隔壁弁19の閉塞力によって、容器本体2の押圧時における液体収容室6に直接負荷する内圧を、隔室22が間接的に負荷するようにし、内圧力に対する隔室22の応答性を鈍らせ、液体の排出量の微調整が可能になる。さらに移動弁23の存在によって、液体を注出口15から滴状に排出させる液切れ性を向上させることができ、扇状溝24a,24bの大きさを適宜調整すれば、液体の粘度に適合させた液切れ性の微調整が可能になる。
なお、この隔壁弁19は、容器本体2の押圧の初期には、すぐに開弁せず、液体収容室6内の内圧がある程度上昇してから開弁するため、係る押圧の初期において、内圧の高まり具合が激しかった場合には、開弁と同時に上記低粘度の液体が一気に隔室22に流入する危険性がある。しかしながら、本実施形態によれば、このような押圧の初期にも、移動弁23の存在によって、ノズル蓋部5の流通路14は閉塞されており。上記隔室22に流入した液体は扇状溝24a,24bにより規制された量しか流通路14には流れないため、上記隔室22に流入した低粘度の液体も、注出口15から飛び出すような虞がない。
液体の滴下作業が終了した状態では、指先の押圧力を解除することにより液体収容室6の内圧が下がる。このとき、ノズル11の流通路14の内部に残った液体を隔室22に引き戻すことができる。例えば、液体を排出しようとして、そのまま液体を吐出することなく、もとに戻したような場合にも、液体収容室6の容積の変動量に比べ、ノズル11の流通路14の容積が小さいため、流通路14の液体を隔室22及び液体収容室6に戻すことができる。その結果、ノズル11からの液ダレを良好に防止できる。
なお、容器本体2を傾倒させた状態から起立姿勢に戻したときは、移動弁23が隔壁18の隔壁弁19に当接するが、移動弁23の底部には長溝25を形成しているため、液体若しくは空気の流通ができる。そして、容器本体2の胴部7が弾性体の復元力によってもとの円筒形状に戻り、隔室22内の液体が容器本体2の内部に流入する。同時に、容器本体2側から吐出された液体の容積分を補う量の空気が液体収容室6に流入する。容器本体2の内部圧力がもとに戻ると、隔壁18の隔壁弁19が閉じる。
本実施形態の液体用容器1は、隔壁弁19の切れ目の開弁作用と液体収容室6の減圧力により、液体を容器本体2の内部に戻すことから、液体用容器1が上下反対の状態にあっても、横向きにおいても、液体を容器本体2の内部に戻すので、使い勝手がよい。液体用容器1を冷蔵庫内で保存した状態でも、ノズル11の流通路14に液体が残らないので、未使用時におけるノズル11からの液噴き出しを防止することができる。また、容器本体2の押圧の初期において、液体収容室6内の内圧が高まった状態で隔壁弁19が開弁しても、上記移動弁23の液体への規制作用により、ノズル11の注出口15からの液体の飛び出しを防止できる。
さらに、ノズル11から液体を滴下するときには、胴部7を押圧する際に、隔壁18に形成した隔壁弁19及び、移動弁23を介在させて、液体を排出するので、微妙な押圧力の調整が可能になり、液切れ性も向上するようになった。
さらに、本実施形態では、仕切材16の形状を周壁部17とこの周壁部17の底部である隔壁18とによって形成されているので、周壁部17を筒状部10に被せる際に、容易であり、さらに、容器本体2の口頸部9に嵌合させたときは、仕切材16がシール部材としての役割を果たす。
次に、本発明の第2の実施形態による液体用容器について説明する。なお、上記第1の実施形態と同じ部材については同一の符合を付して説明する。
図5に示す液体容器は、上記第1の実施形態で説明した液体用容器1の容器本体2と、仕切材16の形状が異なり、ノズル蓋部5の形状は同じ形状である。
容器本体2は、容器本体2のやや上部側に円錐台形状の中空の肩部4を形成し、肩部4よりも下部は円筒状の胴部7を形成している。本実施形態では、容器本体2の肩部4の上に筒状の口頸部9(図1参照)がなく、開口部27のみが形成されている。そして、開口部27の上端部がノズル蓋部5のフランジ部12の下面に当接している。
仕切材16は、上記第1の実施形態と同様に、周壁部17と底部である円形の隔壁18とからなり、上記実施形態と異なるのは、切れ目の形状のみが異なっている。図5に示すように、本実施形態では、十字形状の隔壁弁20の切れ目を隔壁18の中心部に形成している。この隔壁弁20の切れ目が弁体の開弁部として形成されている。仕切材16が、容器本体2に組み込まれるときは、周壁部17がノズル蓋部5の筒状部10の外周面に嵌合するようにして装着される。この仕切材16を配設することにより、ノズル蓋部5の流通路14と容器本体2の内部との間に隔室22を形成している。隔室22には、移動弁23を形成している。移動弁23については、図4に示すように、上部側の一端に扇状溝24a,24bを形成し、下部側の一端に長溝25が形成されている。
その他の説明を省略した部分については、上記実施形態と同じ形状である。
本実施形態の液体用容器1についての基本的な効果に付いては、上記第1の実施形態と同じであり、使用時に、液体収容室6の内部圧力が上昇し、さらに内圧が上昇すると隔壁弁20の切れ目が開いて隔壁18が開弁状態になり、液体収容室6から隔室22に液体が流出し、移動弁23の扇状溝24a,24bを通って流通路14、注出口15に排出される。
本実施形態では、隔壁弁20の閉塞力によって、液体の内圧力に対する応答性を鈍らせ、移動弁2によって、液体の粘度に適合させた液切れ性の微調整が可能になる。また、容器本体2の押圧の初期において、液体収容室6内の内圧が高まった状態で隔壁弁19が開弁しても、上記移動弁23の液体への規制作用により、ノズル11の注出口15からの液体の飛び出しを防止できる。
ただし、本実施形態では、仕切材16の周壁部17が容器本体2の口頸部3とノズル蓋部5の筒状部10との間に配設されていないので、容器本体2の開口部27とノズル蓋部5のフランジ部12との密閉性の維持を上記第1の実施形態の液体用容器1よりも必要とする。
隔壁18の隔壁弁20の切れ目については、十字形状に形成したが、隔壁弁20の開弁圧力を小さくするような場合により効果がある。なお、線状の切れ目の数について、適宜変更することができる。
その他、効果については上記実施形態と同じである。
次に、本発明の第3の実施形態による液体用容器について説明する。なお、上記第1の実施形態と同じ部材については同一の符合を付して説明する。
図6に示す液体容器は、上記第1及び第2の実施形態で説明した液体用容器1と、仕切材16の取り付ける位置が異なり、上記実施形態では筒状部10に配設したが、本実施形態では、開口部3に配設したことが異なる。
すなわち、本実施形態の容器本体2は、容器本体2のやや上部側に肩部4を形成し、肩部4よりも下部は胴部7を形成し、肩部4よりも上の部位は、肩部4から上方に突出する円筒形状の口頸部9が形成されている。
仕切材16は、上記第1の実施形態と同様に、周壁部17と底部である円形の隔壁18とからなり、本実施形態では、直線状の切れ目を有する隔壁弁19を隔壁18の中心部を通るように形成している。この隔壁弁19の切れ目が弁体の開弁部として形成されている。仕切材16が、容器本体2に組み込まれるときは、図1に示す仕切材16とは異なり、仕切材16の向きを逆にして、切れ目を形成した側を上にして、該仕切材16を開口部3に被せる。こうして、周壁部17が容器本体2の頸部9の外周面とノズル蓋部5の筒状部10の内周面との間に狭着されるようにして配設される。この仕切材16を配設することにより、ノズル蓋部5の流通路14と容器本体2の内部との間に隔室22が形成される。
隔室22には、移動弁23を備えている。移動弁23については、図4に示すように、上部側の一端に扇状溝24を形成し、下部側の一端に長溝25が形成されている。
その他の説明を省略した部分については、上記実施形態と同じ形状である。
本実施形態の液体用容器1についての基本的な効果に付いては、上記第1の実施形態と同じであり、使用時に、液体収容室6の内部圧力が上昇し、さらに内圧が上昇すると隔壁弁19の切れ目が開いて隔壁18が開弁状態になり、液体収容室6から隔室22に液体が流出し、移動弁23の扇状溝24a,24bを通って流通路14、注出口15に排出される。
本実施形態では、隔壁弁19の閉塞力によって、液体の内圧力に対する応答性を鈍らせ、移動弁2によって、液体の粘度に適合させた液切れ性の微調整が可能になる。また、容器本体2の押圧の初期において、液体収容室6内の内圧が高まった状態で隔壁弁19が開弁しても、上記移動弁23の液体への規制作用により、ノズル11の注出口15からの液体の飛び出しを防止できる。
以上、本発明の実施の形態について説明したが、本発明の技術的思想に基づいて、勿論、本発明は種々の変形又は変更が可能である。
例えば、上記実施形態では、仕切材16について、周壁部17と隔壁18とで構成したが、周壁部17を削除し底部である隔壁18のみで構成し、円形の隔壁の外周部を筒状部10の下端若しくは開口部3に接着剤などで固定してもよく、あるいは、それらに一体成形してもよい。開口部3に隔壁18を一体成形するときは、先端の細いノズルを用いて、隔壁弁19,20から容器本体2の内部に液体を収容することができる。
本発明の第1の実施形態の液体用容器を上下方向に切断した断面図である。 図1の仕切材を仕切材の底部を上にした状態で、上方から見た斜視図である。 図1の液体用容器を傾倒させて容器本体に内圧を負荷して液体を注出している状態の断面図である。 図1の液体用容器の隔室に配設している移動弁を上方から見た斜視図である。 本発明の第2の実施形態の液体用容器を上下方向に切断した断面図(液体用容器の下部には仕切材の底面図を示す)である。 本発明の第3の実施形態の液体用容器を上下方向に切断した断面図(液体用容器の下部には仕切材の底面図を示す)である。 従来例における液体用容器を上下方向に切断した断面図である。
符号の説明
1 液体用容器
2 容器本体
3,27 開口部
5 ノズル蓋部
9 口頸部
10 筒状部
11 ノズル
14 流通路
16 仕切材
17 周壁部
18 隔壁
19,20 隔壁弁
22 隔室

Claims (3)

  1. 胴部が可撓性を有する容器本体と該容器本体の開口部に取付けられるノズル蓋部とを備え、該ノズル蓋部には前記開口部に配設される筒状部と前記容器本体の開口部よりも外側に突出するノズル部とを備え、
    前記筒状部又は前記容器本体に該筒状部と前記容器本体内の液体収容室とを仕切る隔壁を設けることによって、前記ノズル部と前記液体収容室との間に隔室を形成した液体用容器において、
    前記隔壁には、前記液体収容室の内方側への押圧時に前記液体収容室の内圧力によって開弁し前記液体収容室側から前記隔室側に液体の流れを許容し、前記液体収容室への押圧力の解除時に前記液体収容室の減圧力によって開弁し前記隔室側から前記液体収容室への液体の流れを許容する切れ目を形成した隔壁弁を設け、
    前記隔室には、重力によって該隔室内を移動する移動弁を配設し、該移動弁の一端には前記容器本体の傾倒時に前記ノズル部の液体流通路における前記隔室側の一端を閉塞して液体の流通量を制限する規制部を形成し、
    前記移動弁の一端が前記ノズル部の液体流通路側に位置し、他端が前記隔壁側に位置するように前記移動弁と前記隔室とを形成し、
    該規制部には前記移動弁の前記液体流通路の閉塞時に、前記隔室と前記流通路とを連通する溝を形成したことを特徴とする液体用容器。
  2. 前記移動弁の他端側端部に前記容器本体の径方向に延びる溝を形成したことを特徴とする請求項1に記載の液体用容器。
  3. 前記隔壁に該隔壁の周囲から立ち上がる周壁部を形成し、該周壁部の内周面によって前記筒状部の外周部を覆うようにしたことを特徴とする請求項1又は2に記載の液体用容器。
JP2008065804A 2008-03-14 2008-03-14 液体用容器 Active JP5116521B2 (ja)

Priority Applications (1)

Application Number Priority Date Filing Date Title
JP2008065804A JP5116521B2 (ja) 2008-03-14 2008-03-14 液体用容器

Applications Claiming Priority (1)

Application Number Priority Date Filing Date Title
JP2008065804A JP5116521B2 (ja) 2008-03-14 2008-03-14 液体用容器

Publications (2)

Publication Number Publication Date
JP2009220843A JP2009220843A (ja) 2009-10-01
JP5116521B2 true JP5116521B2 (ja) 2013-01-09

Family

ID=41238079

Family Applications (1)

Application Number Title Priority Date Filing Date
JP2008065804A Active JP5116521B2 (ja) 2008-03-14 2008-03-14 液体用容器

Country Status (1)

Country Link
JP (1) JP5116521B2 (ja)

Families Citing this family (3)

* Cited by examiner, † Cited by third party
Publication number Priority date Publication date Assignee Title
JP6039984B2 (ja) * 2012-09-28 2016-12-07 株式会社吉野工業所 吐出容器
CN107406176B (zh) * 2015-03-02 2020-05-15 东洋制罐集团控股株式会社 喷嘴
JP7039745B1 (ja) * 2021-03-19 2022-03-22 サンメディカル株式会社 液体用容器

Family Cites Families (2)

* Cited by examiner, † Cited by third party
Publication number Priority date Publication date Assignee Title
JPS4817242U (ja) * 1971-06-18 1973-02-27
JP2005138900A (ja) * 2003-10-16 2005-06-02 Daipura Kk 液体充填用容器

Also Published As

Publication number Publication date
JP2009220843A (ja) 2009-10-01

Similar Documents

Publication Publication Date Title
US9924775B2 (en) Powder discharging container
US20010002598A1 (en) Pressure control device for maintaining a constant predetermined pressure in a container
US9308541B2 (en) Pump-dispensing container
CN100464871C (zh) 手动计量泵及用于包装和分配流体或糊状产品的装置
JP6727123B2 (ja) 分割体又は多孔質材料を含む流体溜めを有するディスペンサー
JP2014111476A (ja) 圧力差による調量装置
KR20200029537A (ko) 환기식 병 및 이를 위한 토출 헤드를 갖는 액체 분배기
JP2016529169A5 (ja)
JP5116521B2 (ja) 液体用容器
JP5055281B2 (ja) 点眼薬容器
JP7196191B2 (ja) 化粧品容器
JP6125887B2 (ja) 二重容器
JP6637830B2 (ja) 吐出キャップ
JP5281957B2 (ja) 液体用容器
KR100858320B1 (ko) 유체용기
JP4906483B2 (ja) 液体用容器
KR20170027528A (ko) 용기 및 이에 사용되는 이동 장치
US7874464B2 (en) Venting system for a product dispensing device
US20180255905A1 (en) Cosmetic-fluid dispenser
KR102295465B1 (ko) 액상 제품 디스펜서
GB2467579A (en) Container with metering valve for dispensing fluid containing a suspended solid
JP4808096B2 (ja) 内圧吸収機構付き吐出容器
JP2016008049A (ja) 液体容器
JP6474704B2 (ja) 泡噴出容器
JP6568352B2 (ja) 定量吐出容器

Legal Events

Date Code Title Description
A621 Written request for application examination

Free format text: JAPANESE INTERMEDIATE CODE: A621

Effective date: 20101125

A977 Report on retrieval

Free format text: JAPANESE INTERMEDIATE CODE: A971007

Effective date: 20120622

A131 Notification of reasons for refusal

Free format text: JAPANESE INTERMEDIATE CODE: A131

Effective date: 20120717

A521 Written amendment

Free format text: JAPANESE INTERMEDIATE CODE: A523

Effective date: 20120910

TRDD Decision of grant or rejection written
A01 Written decision to grant a patent or to grant a registration (utility model)

Free format text: JAPANESE INTERMEDIATE CODE: A01

Effective date: 20121002

A01 Written decision to grant a patent or to grant a registration (utility model)

Free format text: JAPANESE INTERMEDIATE CODE: A01

A61 First payment of annual fees (during grant procedure)

Free format text: JAPANESE INTERMEDIATE CODE: A61

Effective date: 20121016

R150 Certificate of patent or registration of utility model

Free format text: JAPANESE INTERMEDIATE CODE: R150

Ref document number: 5116521

Country of ref document: JP

Free format text: JAPANESE INTERMEDIATE CODE: R150

FPAY Renewal fee payment (event date is renewal date of database)

Free format text: PAYMENT UNTIL: 20151026

Year of fee payment: 3

R250 Receipt of annual fees

Free format text: JAPANESE INTERMEDIATE CODE: R250

R250 Receipt of annual fees

Free format text: JAPANESE INTERMEDIATE CODE: R250

R250 Receipt of annual fees

Free format text: JAPANESE INTERMEDIATE CODE: R250