JP5114548B2 - 心臓弁の機能不全または狭窄症を治療するための医療用デバイス - Google Patents
心臓弁の機能不全または狭窄症を治療するための医療用デバイス Download PDFInfo
- Publication number
- JP5114548B2 JP5114548B2 JP2010502428A JP2010502428A JP5114548B2 JP 5114548 B2 JP5114548 B2 JP 5114548B2 JP 2010502428 A JP2010502428 A JP 2010502428A JP 2010502428 A JP2010502428 A JP 2010502428A JP 5114548 B2 JP5114548 B2 JP 5114548B2
- Authority
- JP
- Japan
- Prior art keywords
- endoprosthesis
- self
- arch
- holding
- expanding
- Prior art date
- Legal status (The legal status is an assumption and is not a legal conclusion. Google has not performed a legal analysis and makes no representation as to the accuracy of the status listed.)
- Active
Links
Images
Classifications
-
- A—HUMAN NECESSITIES
- A61—MEDICAL OR VETERINARY SCIENCE; HYGIENE
- A61F—FILTERS IMPLANTABLE INTO BLOOD VESSELS; PROSTHESES; DEVICES PROVIDING PATENCY TO, OR PREVENTING COLLAPSING OF, TUBULAR STRUCTURES OF THE BODY, e.g. STENTS; ORTHOPAEDIC, NURSING OR CONTRACEPTIVE DEVICES; FOMENTATION; TREATMENT OR PROTECTION OF EYES OR EARS; BANDAGES, DRESSINGS OR ABSORBENT PADS; FIRST-AID KITS
- A61F2/00—Filters implantable into blood vessels; Prostheses, i.e. artificial substitutes or replacements for parts of the body; Appliances for connecting them with the body; Devices providing patency to, or preventing collapsing of, tubular structures of the body, e.g. stents
- A61F2/02—Prostheses implantable into the body
- A61F2/24—Heart valves ; Vascular valves, e.g. venous valves; Heart implants, e.g. passive devices for improving the function of the native valve or the heart muscle; Transmyocardial revascularisation [TMR] devices; Valves implantable in the body
- A61F2/2427—Devices for manipulating or deploying heart valves during implantation
- A61F2/2436—Deployment by retracting a sheath
-
- A—HUMAN NECESSITIES
- A61—MEDICAL OR VETERINARY SCIENCE; HYGIENE
- A61F—FILTERS IMPLANTABLE INTO BLOOD VESSELS; PROSTHESES; DEVICES PROVIDING PATENCY TO, OR PREVENTING COLLAPSING OF, TUBULAR STRUCTURES OF THE BODY, e.g. STENTS; ORTHOPAEDIC, NURSING OR CONTRACEPTIVE DEVICES; FOMENTATION; TREATMENT OR PROTECTION OF EYES OR EARS; BANDAGES, DRESSINGS OR ABSORBENT PADS; FIRST-AID KITS
- A61F2/00—Filters implantable into blood vessels; Prostheses, i.e. artificial substitutes or replacements for parts of the body; Appliances for connecting them with the body; Devices providing patency to, or preventing collapsing of, tubular structures of the body, e.g. stents
- A61F2/02—Prostheses implantable into the body
- A61F2/24—Heart valves ; Vascular valves, e.g. venous valves; Heart implants, e.g. passive devices for improving the function of the native valve or the heart muscle; Transmyocardial revascularisation [TMR] devices; Valves implantable in the body
- A61F2/2412—Heart valves ; Vascular valves, e.g. venous valves; Heart implants, e.g. passive devices for improving the function of the native valve or the heart muscle; Transmyocardial revascularisation [TMR] devices; Valves implantable in the body with soft flexible valve members, e.g. tissue valves shaped like natural valves
- A61F2/2418—Scaffolds therefor, e.g. support stents
-
- A—HUMAN NECESSITIES
- A61—MEDICAL OR VETERINARY SCIENCE; HYGIENE
- A61F—FILTERS IMPLANTABLE INTO BLOOD VESSELS; PROSTHESES; DEVICES PROVIDING PATENCY TO, OR PREVENTING COLLAPSING OF, TUBULAR STRUCTURES OF THE BODY, e.g. STENTS; ORTHOPAEDIC, NURSING OR CONTRACEPTIVE DEVICES; FOMENTATION; TREATMENT OR PROTECTION OF EYES OR EARS; BANDAGES, DRESSINGS OR ABSORBENT PADS; FIRST-AID KITS
- A61F2220/00—Fixations or connections for prostheses classified in groups A61F2/00 - A61F2/26 or A61F2/82 or A61F9/00 or A61F11/00 or subgroups thereof
- A61F2220/0008—Fixation appliances for connecting prostheses to the body
- A61F2220/0016—Fixation appliances for connecting prostheses to the body with sharp anchoring protrusions, e.g. barbs, pins, spikes
-
- A—HUMAN NECESSITIES
- A61—MEDICAL OR VETERINARY SCIENCE; HYGIENE
- A61F—FILTERS IMPLANTABLE INTO BLOOD VESSELS; PROSTHESES; DEVICES PROVIDING PATENCY TO, OR PREVENTING COLLAPSING OF, TUBULAR STRUCTURES OF THE BODY, e.g. STENTS; ORTHOPAEDIC, NURSING OR CONTRACEPTIVE DEVICES; FOMENTATION; TREATMENT OR PROTECTION OF EYES OR EARS; BANDAGES, DRESSINGS OR ABSORBENT PADS; FIRST-AID KITS
- A61F2230/00—Geometry of prostheses classified in groups A61F2/00 - A61F2/26 or A61F2/82 or A61F9/00 or A61F11/00 or subgroups thereof
- A61F2230/0002—Two-dimensional shapes, e.g. cross-sections
- A61F2230/0028—Shapes in the form of latin or greek characters
- A61F2230/0054—V-shaped
Landscapes
- Health & Medical Sciences (AREA)
- Cardiology (AREA)
- Engineering & Computer Science (AREA)
- Biomedical Technology (AREA)
- Heart & Thoracic Surgery (AREA)
- Transplantation (AREA)
- Oral & Maxillofacial Surgery (AREA)
- Vascular Medicine (AREA)
- Life Sciences & Earth Sciences (AREA)
- Animal Behavior & Ethology (AREA)
- General Health & Medical Sciences (AREA)
- Public Health (AREA)
- Veterinary Medicine (AREA)
- Prostheses (AREA)
Description
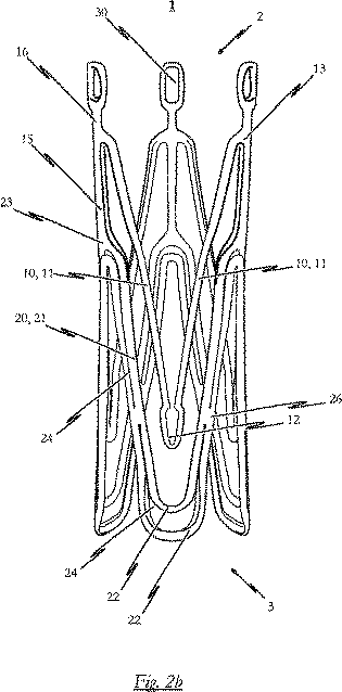
本発明が提示する医療用デバイスに用いる第1の好適な実施形態の自己拡張型の内部人工器官1を、図1(a)〜図1(e)を参照してまず初めに説明する。図1(a)は、第1のプログラムモードにある内部人工器官1を示す。そこでは内部人工器官は最小化状態にあるので、カテーテル機構を用いて、最小限の侵襲しか伴わずに患者の身体に導入できる。図1(c)は、第2のプログラムモードにある内部人工器官1を示す。そこでは、内部人工器官は拡張状態にある。図1(b)は、内部人工器官1を示す。第1のプログラムモード(図1(a)参照)と第2のプログラムモード(図1(c)参照)の間にある内部人工器官1を示す。図1(d)は、心臓代用弁が取り付けられた、図1(c)の拡張した内部人工器官を示す。本実施形態の内部人工器官1は、1本の金属チューブから一体的に切り取られた構造を有するという点に特徴を有する。ステントの設計を作り出すために使用される切削パターンを、図1(e)の平面投影図で示す。
Claims (64)
- 心臓弁の機能不全を治療するための自己拡張型の内部人工器官であって、患者の体内で内部人工器官の所定位置への着脱の操作を行うための少なくとも1つの保持手段と、
内部人工器官を患者の体内で所定の位置に配置するための複数の位置決めアーチと、
人工心臓弁を収容するための保持アーチを備えた固定部とを有し、
位置決めアーチと保持アーチは、互いに連携する形状を有することによって、内部人工器官が患者の体内で所定の位置にある場合に、まだ残っている心臓弁の組織片を、位置決めアーチと保持アーチとの間に保持することを特徴とする内部人工器官。 - 少なくとも1つの保持手段は、導入カテーテル機構の固定機構と連携するように構成されていることを特徴とする請求項1に記載の自己拡張型の内部人工器官。
- 患者の身体に導入される際には第1のプログラムモードをとり、
体内に埋め込まれた状態では第2のプログラムモードをとり、
第1のプログラムモード時には折り畳まれた状態にあり、
第2のプログラムモード時には拡張状態にあることを特徴とする請求項2に記載の自己拡張型の内部人工器官。 - 心臓代用弁を取り付け可能な近位固定部と、
保持手段を有する末端領域とを含むことを特徴とする請求項1または2に記載の自己拡張型の内部人工器官。 - 前記保持手段は、挿入機構の固定機構と一体となる、望ましくは王冠状に形成されたカテーテル先端の固定機構のポケットと一体となる、解除可能な係合へと移行可能であることを特徴とする請求項4に記載の自己拡張型の内部人工器官。
- 前記保持手段は、固定機構の冠部に形成された少なくとも1つのポケットと補完的な形状を有することにより、解除可能な係合によってカテーテル先端の固定機構と連携するように構成されていることを特徴とする請求項5に記載の自己拡張型の内部人工器官。
- 内部人工器官が所定の位置にある場合に、固定部が内部人工器官の近位端にあり、保持手段が内部人工器官の遠位末端にあることを特徴とする請求項1〜6のいずれか1つに記載の自己拡張型の内部人工器官。
- 各保持アーチは位置決めアーチと関連しており、各位置決めアーチの遠位末端部分は関連する保持アーチの端部に接続されていることを特徴とする請求項1〜7のいずれか1つに記載の自己拡張型の内部人工器官。
- 位置決めアーチと保持アーチは、内部人工器官の近位端側が閉じた実質的にU字形またはV字形の構造を有することを特徴とする請求項1〜8のいずれか1つに記載の自己拡張型の内部人工器官。
- 各位置決めアーチの遠位末端は、内部人工器官の長手方向に延びる接続羽板によって、関連する保持アーチの遠位末端部分に接続されていることを特徴とする請求項1〜9のいずれか1つに記載の自己拡張型の内部人工器官。
- 保持手段は、内部人工器官の遠位末端において、隣接する位置決めアーチの間に配置されていることを特徴とする請求項1〜10のいずれか1つに記載の自己拡張型の内部人工器官。
- 保持手段は、内部人工器官の長手方向に延びる接続羽板によって、位置決めアーチに接続されていることを特徴とする請求項11に記載の自己拡張型の内部人工器官。
- 保持手段は、少なくとも1つの返しを含むことを特徴とする請求項1〜12のいずれか1つに記載の自己拡張型の内部人工器官。
- 返しは、内部人工器官の近位端側を向く先端を有することを特徴とする請求項13に記載の自己拡張型の内部人工器官。
- 保持手段は、アイであることを特徴とする請求項1〜14のいずれか1つに記載の自己拡張型の内部人工器官。
- 保持手段は、穴の開いていない保持ヘッドであることを特徴とする請求項1〜15のいずれか1つに記載の自己拡張型の内部人工器官。
- 各保持アーチは、内部人工器官の遠位末端側に延びる、返し部を含むことを特徴とする請求項1〜16のいずれか1つに記載の自己拡張型の内部人工器官。
- 返し部は、アーチ形状であって、内部人工器官が所定の位置にある場合に、保持アーチから突き出ることを特徴とする請求項17に記載の自己拡張型の内部人工器官。
- 返し部は、遠位末端において閉じた実質的にU字形またはV字形の構造を有し、
返し部の末端領域は、固定支持部の先端を形成し、
返し部は、近位端において、隣接する保持アーチに接続されていることを特徴とする請求項17または18に記載の自己拡張型の内部人工器官。 - 保持アーチには、長手方向に延びる1つ以上の溝が設けられていることを特徴とする請求項1〜19のいずれか1つに記載の自己拡張型の内部人工器官。
- 各溝の長さは、補強部によって分断されていることを特徴とする請求項20に記載の自己拡張型の内部人工器官。
- 着床部位まで供給できるようにするための最小化した立体配置と、
拡張した立体配置とを有することを特徴とする請求項1〜21のいずれか1つに記載の自己拡張型の内部人工器官。 - 医療用デバイスを患者の大動脈中で機械的に配置するための少なくとも3つの位置決めアーチと、
心臓代用弁を収容するための保持アーチを有する保持セグメントとをさらに含み、
内部人工器官は、患者の身体に導入される間は第1のプログラムモードをとり、
埋め込まれた状態では第2のプログラムモードをとり、
第1のプログラムモードにあるときは折り畳まれた状態にあり、
第2のプログラムモードにあるときは拡張状態にあり、
金属チューブから一体的に切り取られた構造を有し、
保持アーチは各位置決めアーチと関連し、
内部人工器官の遠位末端にある各位置決めアーチの各端部は、関連する保持アーチの端部に接続されていることを特徴とする請求項1〜22のいずれか1つに記載の自己拡張型の内部人工器官。 - 各位置決めアーチは、金属チューブの材料部分から切り取られたものであり、関連する保持アーチの実質的にU字形またはV字形の構造に収容されていることを特徴とする請求項23に記載の自己拡張型の内部人工器官。
- 各位置決めアーチの端部は、実質的に内部人工器官の長手方向に延びる接続羽板によって、関連する保持アーチの端部にそれぞれ接続されていることを特徴とする請求項23または24に記載の自己拡張型の内部人工器官。
- 一方では、保持手段は、2つの隣接する位置決めアーチと、隣接する位置決めアーチの各アームとの間にそれぞれ配置された固定アイを有し、
他方では、隣接する位置決めアーチと関連する保持アーチの各アームは、固定アイに接続されていることを特徴とする請求項1〜25のいずれか1つに記載の自己拡張型の内部人工器官。 - 隣接する位置決めアーチの各アームは直接的に、
隣接する位置決めアーチと関連する保持アーチの各アームは間接的に、
実質的に内部人工器官の長手方向に延びる接続羽板によって、固定アイに接続されていることを特徴とする請求項26に記載の自己拡張型の内部人工器官。 - 隣接する位置決めアーチの各アームは、実質的に内部人工器官の長手方向に延びる接続羽板によって、間接的に固定アイに接続されており、
隣接する位置決めアーチと関連する保持アーチの各アームは、実質的に内部人工器官の長手方向に延びる接続羽板によって、間接的に固定アイに接続されており、
保持アーチの接続羽板は、位置決めアーチの端部において、位置決めアーチの接続羽板と1つになっていることを特徴とする請求項26に記載の自己拡張型の内部人工器官。 - 隣接する位置決めアーチの各アームは、実質的にステントの長手方向に延びる第1の接続羽板によって、間接的に保持ヘッドに接続されており、
隣接する位置決めアーチと関連する保持アーチの各アームは、実質的にステントの長手方向に延びる第2の接続羽板によって、間接的に保持ヘッドに接続されており、
第2の接続羽板は、位置決めアーチの端部において、第1の接続羽板と1つになっていることを特徴とする請求項26に記載の自己拡張型の内部人工器官。 - 保持アーチの各アームは、それぞれアーチ形状の固定支持部を有し、
固定支持部は、内部人工器官が拡張状態にあるときに、保持アーチの関連するアームから突き出て、
固定支持部の先端は、内部人工器官の遠位末端側を向くことを特徴とする請求項1〜29のいずれか1つに記載の自己拡張型の内部人工器官。 - 固定支持部は、実質的にU字形またはV字形の構造を有し、
その構造は、内部人工器官の遠位末端において閉じており、
固定支持部の末端領域は、固定支持部の先端を形成し、
固定支持部の近位端にある固定支持部の各アームは、2つの隣接する保持アーチの各アームに接続していることを特徴とする請求項30に記載の自己拡張型の内部人工器官。 - 各保持アーチに、保持アーチの長手方向に延びる溝が設けられ、
溝は、内部人工器官の第2のプログラムモードに影響を及ぼすように設計されていることを特徴とする請求項1〜31のいずれか1つに記載の自己拡張型の内部人工器官。 - 各保持アーチは、保持アーチの長手方向に延びる溝を分断する補強部を有することを特徴とする請求項32に記載の自己拡張型の内部人工器官。
- 最小化した立体配置において、約5.0mmの外径と、33.0mm〜40.0mmの長さを有することを特徴とする請求項1〜33のいずれか1つに記載の自己拡張型の内部人工器官。
- 長さは、34.0mm〜39.0mmの範囲であることを特徴とする請求項34に記載の自己拡張型の内部人工器官。
- 長さは、34.37mm〜38.37mmの範囲であることを特徴とする請求項35に記載の自己拡張型の内部人工器官。
- 拡張した第2のプログラムモードにある場合に、内部人工器官の近位保持領域に向かって次第に細くなる、わずかに凹んだ形状を有することを特徴とする請求項1〜36のいずれか1つに記載の自己拡張型の内部人工器官。
- 拡張した第2のプログラムモードにある場合に、内部人工器官の遠位保持領域は、内部人工器官の近位保持領域の直径よりも、約10%〜25%大きい直径を有することを特徴とする請求項37に記載の自己拡張型の内部人工器官。
- 拡張した第2のプログラムモードにある場合に、内部人工器官の近位保持領域は、22mm〜33mmの範囲の直径を有することを特徴とする請求項37または38に記載の自己拡張型の内部人工器官。
- 内部人工器官が拡張した第2のプログラムモードにある場合に、内部人工器官の近位端は、25mm〜31mmの範囲の直径を有することを特徴とする請求項39に記載の自己拡張型の内部人工器官。
- 保持アーチに取り付けられた心臓代用弁をさらに含むことを特徴とする請求項1〜40のいずれか1つに記載の自己拡張型の内部人工器官。
- 心臓代用弁は、生体心臓代用弁であることを特徴とする請求項41に記載の自己拡張型の内部人工器官。
- 生体心臓代用弁は、ブタまたはウシの組織から作られたものであることを特徴とする請求項42に記載の自己拡張型の内部人工器官。
- 心臓代用弁は、保持アーチに縫い合わされていることを特徴とする請求項41〜43のいずれか1つに記載の自己拡張型の内部人工器官。
- 形状記憶材料から作られたものであることを特徴とする請求項1〜44のいずれか1つに記載の自己拡張型の内部人工器官。
- 外部刺激によって、最小化した立体配置から拡張した立体配置へと自己拡張することを特徴とする請求項45に記載の自己拡張型の内部人工器官。
- 外部刺激は、設定可能な、またはあらかじめ設定されたスイッチング温度であることを特徴とする請求項46に記載の自己拡張型の内部人工器官。
- スイッチング温度は、室温と患者の体温の範囲内にあることを特徴とする請求項47に記載の自己拡張型の内部人工器官。
- スイッチング温度は、約22℃であることを特徴とする請求項48に記載の自己拡張型の内部人工器官。
- カテーテル機構の近位端に配置できるカテーテル先端であって、
請求項1〜49のいずれか1つに記載の内部人工器官が収容でき、
前記カテーテル先端は、少なくとも内部人工器官の遠位末端を、カテーテル先端において、解除可能なように固定するための保持機構を有することを特徴とするカテーテル先端。 - 保持機構は、内部人工器官の保持手段と連携するように成形されていることを特徴とする請求項50に記載のカテーテル先端。
- 保持機構は、少なくとも1つのポケットを備えた冠部を有し、
少なくとも1つのポケットは、内部人工器官の保持手段を補完する形状を有することを特徴とする請求項50または51に記載のカテーテル先端。 - 少なくとも1つのポケットは、内部人工器官の保持手段を、カテーテル先端に対して能動的に固定する形状を有することを特徴とする請求項52に記載のカテーテル先端。
- 冠部が円筒形状であることを特徴とする請求項50〜53のいずれか1つに記載のカテーテル先端。
- 少なくとも1つのポケットは、内部人工器官の保持手段を完全に収容する形状を有することを特徴とする請求項50〜54のいずれか1つに記載のカテーテル先端。
- 保持機構は、内部人工器官の保持手段を解除可能に固定するためのスナップ式手段を含むことを特徴とする請求項50〜55のいずれか1つに記載のカテーテル先端。
- スナップ式手段は、冠部に形成された少なくとも1つのポケットの外縁上または外縁近傍に配置されたフランジを含み、
前記フランジは、内部人工器官の末端領域に設けられた保持手段を、少なくとも1つのポケット中で保持するように調整されていることを特徴とする請求項56に記載のカテーテル先端。 - 固定機構の冠部は、冠部に形成された少なくとも1つの溝をさらに含み、
前記少なくとも1つの溝は、少なくとも1つのポケットに割り当てられており、前記ポケットから冠部の一端へと、実質的に冠部の長手方向に延び、
前記少なくとも1つの溝は、内部人工器官の接続羽板を収容するのに適した形状を有し、
内部人工器官の前記接続羽板は、実質的に内部人工器官の方向に延び、内部人工器官の末端領域上に設けられた保持手段と内部人工器官の各アームとを接続することを特徴とする請求項50〜57のいずれか1つに記載のカテーテル先端。 - 内部人工器官の末端領域上に設けられた保持手段と内部人工器官の各アームとを接続する内部人工器官の接続羽板を、解除可能なように固定するために、固定機構の冠部に形成された少なくとも1つの溝上に配置された、スナップ式手段をさらに含むことを特徴とする請求項58に記載のカテーテル先端。
- 前記スナップ式手段は、固定機構の冠部に形成された少なくとも1つの溝の外縁上または外縁近傍に配置されたフランジを含み、
前記フランジは、内部人工器官の接続羽板を、少なくとも1つの溝の中で保持するように調整されていることを特徴とする請求項59に記載のカテーテル先端。 - 心臓弁の疾患、特に患者の心臓弁の機能不全または心臓弁の狭窄の治療に使用されるカテーテル機構であって、
請求項50〜60のいずれか1つに記載されたカテーテル先端を含み、
カテーテル機構のカテーテル先端に収容される、請求項1〜48のいずれか1つに記載された自己拡張型の内部人工器官をさらに含み、
内部人工器官がカテーテル機構のカテーテル先端に収容されたときには、内部人工器官は第1のプログラムモードをとり、
内部人工器官がカテーテル先端の外部にあるときおよび埋め込まれた状態にあるときには、内部人工器官は第2のプログラムモードをとり、
内部人工器官は、第1のプログラムモードにあるときは折り畳まれた状態にあり、第2のプログラムモードにあるときは拡張状態にあることを特徴とするカテーテル機構。 - カテーテル機構の遠位末端においてハンドルをさらに含み、ハンドルを用いてカテーテル先端は操作可能であり、
前記ハンドルは、操作手段を含み、
操作手段がカテーテル先端と連携することにより、操作手段が操作される場合に、プログラムされた順序にしたがって段階的に、内部人工器官をカテーテル先端から放出することができることを特徴とする請求項61に記載のカテーテル機構。 - カテーテル先端は、内部人工器官を収容するためのハウジングシステムをさらに含み、
前記ハウジングシステムは、内部人工器官の第1の機能部品を収容するための第1の筐体部と、
内部人工器官の第2の機能部品を収容するための第2の筐体部とを含み、
ハンドルは、第1の筐体部と連携する少なくとも1つの第1の操作手段と、第2の筐体部と連携する少なくとも1つの第2の操作手段とを有し、
前記第1の操作手段は、第1の操作手段が操作される場合に、第1の筐体部が固定機構に対するプログラムされた長手方向の移動をもたらすように第1の筐体部と連携し、
前記第2の操作手段は、第2の操作手段が操作される場合に、第2の筐体部が固定機構に対するプログラムされた長手方向の移動をもたらすように第2の筐体部と連携することを特徴とする請求項62に記載のカテーテル機構。 - 第1の筐体部と第2の筐体部のいずれもがそれぞれスリーブ状の部位として設計されており、
第2の筐体部は、内部人工器官の第2の機能部品に加えて、内部人工器官に収容された第1の機能部品を備えた第1の筐体部を収容するように設計するために、
第2の筐体部の内径が、第1の筐体部の外径よりも大きいことを特徴とする請求項63に記載のカテーテル機構。
Applications Claiming Priority (11)
| Application Number | Priority Date | Filing Date | Title |
|---|---|---|---|
| DE200720005491 DE202007005491U1 (de) | 2007-04-13 | 2007-04-13 | Medizinische Vorrichtung zur Behandlung einer Aortenklappeninsuffizienz |
| US11/785,072 | 2007-04-13 | ||
| US11/785,072 US7896915B2 (en) | 2007-04-13 | 2007-04-13 | Medical device for treating a heart valve insufficiency |
| DE202007005491.2 | 2007-04-13 | ||
| EP07009728 | 2007-05-15 | ||
| EP07009728.2 | 2007-05-15 | ||
| US11/812,095 US9138315B2 (en) | 2007-04-13 | 2007-06-14 | Medical device for treating a heart valve insufficiency or stenosis |
| EP07110318.8 | 2007-06-14 | ||
| US11/812,095 | 2007-06-14 | ||
| EP07110318A EP1980220A1 (en) | 2007-04-13 | 2007-06-14 | Medical device for treating a heart valve insufficiency or stenosis |
| PCT/EP2007/061117 WO2008125153A1 (en) | 2007-04-13 | 2007-10-17 | Medical device for treating a heart valve insufficiency or stenosis |
Publications (2)
| Publication Number | Publication Date |
|---|---|
| JP2010523234A JP2010523234A (ja) | 2010-07-15 |
| JP5114548B2 true JP5114548B2 (ja) | 2013-01-09 |
Family
ID=39032099
Family Applications (1)
| Application Number | Title | Priority Date | Filing Date |
|---|---|---|---|
| JP2010502428A Active JP5114548B2 (ja) | 2007-04-13 | 2007-10-17 | 心臓弁の機能不全または狭窄症を治療するための医療用デバイス |
Country Status (7)
| Country | Link |
|---|---|
| EP (1) | EP2155115B1 (ja) |
| JP (1) | JP5114548B2 (ja) |
| CN (1) | CN101742975B (ja) |
| AU (1) | AU2007351026B2 (ja) |
| CA (1) | CA2682564C (ja) |
| IL (1) | IL201218A (ja) |
| WO (1) | WO2008125153A1 (ja) |
Families Citing this family (118)
| Publication number | Priority date | Publication date | Assignee | Title |
|---|---|---|---|---|
| US6569194B1 (en) | 2000-12-28 | 2003-05-27 | Advanced Cardiovascular Systems, Inc. | Thermoelastic and superelastic Ni-Ti-W alloy |
| CA2848445C (en) | 2004-09-14 | 2016-10-25 | Edwards Lifesciences Ag | Device and method for treatment of heart valve regurgitation |
| WO2006041505A1 (en) | 2004-10-02 | 2006-04-20 | Huber Christoph Hans | Methods and devices for repair or replacement of heart valves or adjacent tissue without the need for full cardiopulmonary support |
| DE102005003632A1 (de) | 2005-01-20 | 2006-08-17 | Fraunhofer-Gesellschaft zur Förderung der angewandten Forschung e.V. | Katheter für die transvaskuläre Implantation von Herzklappenprothesen |
| DE102005051849B4 (de) | 2005-10-28 | 2010-01-21 | JenaValve Technology Inc., Wilmington | Vorrichtung zur Implantation und Befestigung von Herzklappenprothesen |
| AU2006315812B2 (en) | 2005-11-10 | 2013-03-28 | Cardiaq Valve Technologies, Inc. | Balloon-expandable, self-expanding, vascular prosthesis connecting stent |
| US20070213813A1 (en) | 2005-12-22 | 2007-09-13 | Symetis Sa | Stent-valves for valve replacement and associated methods and systems for surgery |
| WO2008013915A2 (en) | 2006-07-28 | 2008-01-31 | Arshad Quadri | Percutaneous valve prosthesis and system and method for implanting same |
| US8070799B2 (en) | 2006-12-19 | 2011-12-06 | Sorin Biomedica Cardio S.R.L. | Instrument and method for in situ deployment of cardiac valve prostheses |
| US8470024B2 (en) | 2006-12-19 | 2013-06-25 | Sorin Group Italia S.R.L. | Device for in situ positioning of cardiac valve prosthesis |
| US9415567B2 (en) | 2007-02-05 | 2016-08-16 | Boston Scientific Scimed, Inc. | Synthetic composite structures |
| US9138315B2 (en) | 2007-04-13 | 2015-09-22 | Jenavalve Technology Gmbh | Medical device for treating a heart valve insufficiency or stenosis |
| US7896915B2 (en) | 2007-04-13 | 2011-03-01 | Jenavalve Technology, Inc. | Medical device for treating a heart valve insufficiency |
| EP2150210B1 (en) | 2007-05-15 | 2016-10-12 | JenaValve Technology, Inc. | Handle for manipulating a catheter tip, catheter system and medical insertion system for inserting a self-expandable heart valve stent |
| US8114154B2 (en) | 2007-09-07 | 2012-02-14 | Sorin Biomedica Cardio S.R.L. | Fluid-filled delivery system for in situ deployment of cardiac valve prostheses |
| US8808367B2 (en) | 2007-09-07 | 2014-08-19 | Sorin Group Italia S.R.L. | Prosthetic valve delivery system including retrograde/antegrade approach |
| BR112012021347A2 (pt) | 2008-02-26 | 2019-09-24 | Jenavalve Tecnology Inc | stent para posicionamento e ancoragem de uma prótese valvular em um local de implantação no coração de um paciente |
| US9168130B2 (en) | 2008-02-26 | 2015-10-27 | Jenavalve Technology Gmbh | Stent for the positioning and anchoring of a valvular prosthesis in an implantation site in the heart of a patient |
| US8465540B2 (en) | 2008-02-26 | 2013-06-18 | Jenavalve Technology, Inc. | Stent for the positioning and anchoring of a valvular prosthesis |
| US8398704B2 (en) | 2008-02-26 | 2013-03-19 | Jenavalve Technology, Inc. | Stent for the positioning and anchoring of a valvular prosthesis in an implantation site in the heart of a patient |
| US9044318B2 (en) | 2008-02-26 | 2015-06-02 | Jenavalve Technology Gmbh | Stent for the positioning and anchoring of a valvular prosthesis |
| US8317858B2 (en) | 2008-02-26 | 2012-11-27 | Jenavalve Technology, Inc. | Stent for the positioning and anchoring of a valvular prosthesis in an implantation site in the heart of a patient |
| US20090276040A1 (en) | 2008-05-01 | 2009-11-05 | Edwards Lifesciences Corporation | Device and method for replacing mitral valve |
| CA2749026C (en) | 2008-09-29 | 2018-01-09 | Impala, Inc. | Heart valve |
| EP4321134A3 (en) | 2008-11-21 | 2024-05-01 | Percutaneous Cardiovascular Solutions Pty Limited | Heart valve prosthesis and method |
| EP2400923B1 (en) * | 2009-02-25 | 2017-01-04 | JenaValve Technology, Inc. | Stent for the positioning and anchoring of a valvular prosthesis in an implantation site in the heart of a patient |
| AU2010236288A1 (en) | 2009-04-15 | 2011-10-20 | Cardiaq Valve Technologies, Inc. | Vascular implant and delivery system |
| NZ624106A (en) | 2009-04-29 | 2015-12-24 | Cleveland Clinic Foundation | Apparatus and method for replacing a diseased cardiac valve |
| EP2250970B1 (en) | 2009-05-13 | 2012-12-26 | Sorin Biomedica Cardio S.r.l. | Device for surgical interventions |
| US8403982B2 (en) | 2009-05-13 | 2013-03-26 | Sorin Group Italia S.R.L. | Device for the in situ delivery of heart valves |
| US8353953B2 (en) | 2009-05-13 | 2013-01-15 | Sorin Biomedica Cardio, S.R.L. | Device for the in situ delivery of heart valves |
| US8468667B2 (en) | 2009-05-15 | 2013-06-25 | Jenavalve Technology, Inc. | Device for compressing a stent |
| US8652203B2 (en) | 2010-09-23 | 2014-02-18 | Cardiaq Valve Technologies, Inc. | Replacement heart valves, delivery devices and methods |
| US8449599B2 (en) | 2009-12-04 | 2013-05-28 | Edwards Lifesciences Corporation | Prosthetic valve for replacing mitral valve |
| CN102113921A (zh) * | 2009-12-30 | 2011-07-06 | 微创医疗器械(上海)有限公司 | 一种介入式心脏瓣膜 |
| US8926693B2 (en) | 2010-02-17 | 2015-01-06 | Medtronic, Inc. | Heart valve delivery catheter with safety button |
| CA2752660A1 (en) * | 2010-02-25 | 2010-08-05 | Jenavalve Technology Inc. | Stent for the positioning and anchoring of a valvular prosthesis in an implantation site in the heart of a patient |
| US9320597B2 (en) | 2010-03-30 | 2016-04-26 | Medtronic, Inc. | Transcatheter prosthetic heart valve delivery system with recapturing feature and method |
| CN101961269B (zh) * | 2010-04-19 | 2012-09-05 | 杭州启明医疗器械有限公司 | 用于输送人造瓣膜置换装置的输送装置 |
| US8579964B2 (en) | 2010-05-05 | 2013-11-12 | Neovasc Inc. | Transcatheter mitral valve prosthesis |
| US10856978B2 (en) | 2010-05-20 | 2020-12-08 | Jenavalve Technology, Inc. | Catheter system |
| US11278406B2 (en) * | 2010-05-20 | 2022-03-22 | Jenavalve Technology, Inc. | Catheter system for introducing an expandable heart valve stent into the body of a patient, insertion system with a catheter system and medical device for treatment of a heart valve defect |
| JP2013526388A (ja) | 2010-05-25 | 2013-06-24 | イエナバルブ テクノロジー インク | 人工心臓弁、及び人工心臓弁とステントを備える経カテーテル搬送体内プロテーゼ |
| CA2803149C (en) | 2010-06-21 | 2018-08-14 | Impala, Inc. | Replacement heart valve |
| JP5848345B2 (ja) | 2010-07-09 | 2016-01-27 | ハイライフ エスエーエス | 経カテーテル式房室弁人工器官 |
| US9039759B2 (en) * | 2010-08-24 | 2015-05-26 | St. Jude Medical, Cardiology Division, Inc. | Repositioning of prosthetic heart valve and deployment |
| BR112013004962A2 (pt) * | 2010-09-01 | 2016-08-16 | Medtronic Vascular Galway Ltd | prótese, estrutura de suporte da válvula protética, e, método de colocação de uma prótese a um local desejado no corpo |
| AU2011306028B2 (en) | 2010-09-20 | 2014-07-17 | St. Jude Medical, Cardiology Division, Inc. | Valve leaflet attachment in collapsible prosthetic valves |
| WO2012054776A1 (en) * | 2010-10-21 | 2012-04-26 | Medtronic Inc | Mitral bioprosthesis with low ventricular profile |
| US9717593B2 (en) | 2011-02-01 | 2017-08-01 | St. Jude Medical, Cardiology Division, Inc. | Leaflet suturing to commissure points for prosthetic heart valve |
| US9554897B2 (en) | 2011-04-28 | 2017-01-31 | Neovasc Tiara Inc. | Methods and apparatus for engaging a valve prosthesis with tissue |
| US9308087B2 (en) | 2011-04-28 | 2016-04-12 | Neovasc Tiara Inc. | Sequentially deployed transcatheter mitral valve prosthesis |
| US12502276B2 (en) | 2011-05-16 | 2025-12-23 | Edwards Lifesciences Corporation | Inversion delivery device and method for a prosthesis |
| US20120303048A1 (en) | 2011-05-24 | 2012-11-29 | Sorin Biomedica Cardio S.R.I. | Transapical valve replacement |
| CN107496054B (zh) | 2011-06-21 | 2020-03-03 | 托尔福公司 | 人工心脏瓣膜装置及相关系统和方法 |
| US11202704B2 (en) | 2011-10-19 | 2021-12-21 | Twelve, Inc. | Prosthetic heart valve devices, prosthetic mitral valves and associated systems and methods |
| US9039757B2 (en) | 2011-10-19 | 2015-05-26 | Twelve, Inc. | Prosthetic heart valve devices, prosthetic mitral valves and associated systems and methods |
| WO2013059747A1 (en) * | 2011-10-19 | 2013-04-25 | Foundry Newco Xii, Inc. | Prosthetic heart valve devices, prosthetic mitral valves and associated systems and methods |
| EP3943047B1 (en) | 2011-10-19 | 2023-08-30 | Twelve, Inc. | Device for heart valve replacement |
| WO2013056898A1 (en) | 2011-10-21 | 2013-04-25 | Jenavalve Technology Inc. | Catheter system for introducing an expandable heart valve stent into the body of a patient, insertion system with a catheter system and medical device for treatment of a heart valve defect |
| US9579198B2 (en) | 2012-03-01 | 2017-02-28 | Twelve, Inc. | Hydraulic delivery systems for prosthetic heart valve devices and associated methods |
| CN104470471B (zh) | 2012-05-16 | 2017-05-31 | 耶拿阀门科技有限责任公司 | 用于引入可扩张的心脏瓣膜假体的导管递送系统和用于治疗心脏瓣膜缺陷的医疗设备 |
| US9345573B2 (en) | 2012-05-30 | 2016-05-24 | Neovasc Tiara Inc. | Methods and apparatus for loading a prosthesis onto a delivery system |
| US9439763B2 (en) | 2013-02-04 | 2016-09-13 | Edwards Lifesciences Corporation | Prosthetic valve for replacing mitral valve |
| CN109938877B (zh) * | 2013-02-04 | 2021-08-31 | 托尔福公司 | 用于人工心脏瓣膜装置的液压输送系统及相关方法 |
| US20140277427A1 (en) | 2013-03-14 | 2014-09-18 | Cardiaq Valve Technologies, Inc. | Prosthesis for atraumatically grasping intralumenal tissue and methods of delivery |
| US9730791B2 (en) | 2013-03-14 | 2017-08-15 | Edwards Lifesciences Cardiaq Llc | Prosthesis for atraumatically grasping intralumenal tissue and methods of delivery |
| US9572665B2 (en) | 2013-04-04 | 2017-02-21 | Neovasc Tiara Inc. | Methods and apparatus for delivering a prosthetic valve to a beating heart |
| JP6515088B2 (ja) | 2013-05-20 | 2019-05-15 | エドワーズ ライフサイエンシーズ コーポレイションEdwards Lifesciences Corporation | 人工心臓弁送達装置 |
| EP4098226A1 (en) | 2013-08-30 | 2022-12-07 | JenaValve Technology, Inc. | Endoprosthesis comprising a radially collapsible frame and a prosthetic valve |
| WO2015063118A1 (en) | 2013-10-28 | 2015-05-07 | Symetis Sa | Stent-valve, delivery apparatus and method of use |
| US10792490B2 (en) * | 2013-11-12 | 2020-10-06 | Medtronic, Inc. | Open channel implant tools and implant techniques utilizing such tools |
| EP3107497B1 (en) | 2014-02-21 | 2020-07-22 | Edwards Lifesciences CardiAQ LLC | Delivery device for controlled deployment of a replacement valve |
| ES2711663T3 (es) * | 2014-03-18 | 2019-05-06 | Nvt Ag | Implante de válvula cardiaca |
| WO2015148241A1 (en) | 2014-03-26 | 2015-10-01 | St. Jude Medical, Cardiology Division, Inc. | Transcatheter mitral valve stent frames |
| CA3161000A1 (en) | 2014-05-19 | 2015-11-26 | Edwards Lifesciences Cardiaq Llc | Replacement mitral valve with annular flap |
| US9532870B2 (en) | 2014-06-06 | 2017-01-03 | Edwards Lifesciences Corporation | Prosthetic valve for replacing a mitral valve |
| US9855140B2 (en) | 2014-06-10 | 2018-01-02 | St. Jude Medical, Cardiology Division, Inc. | Stent cell bridge for cuff attachment |
| US9180005B1 (en) * | 2014-07-17 | 2015-11-10 | Millipede, Inc. | Adjustable endolumenal mitral valve ring |
| CA2962747C (en) | 2014-09-28 | 2023-02-28 | Cardiokinetix, Inc. | Apparatuses for treating cardiac dysfunction |
| US10531951B2 (en) | 2014-11-26 | 2020-01-14 | Edwards Lifesciences Corporation | Transcatheter prosthetic heart valve and delivery system |
| US11083491B2 (en) | 2014-12-09 | 2021-08-10 | Medtronic, Inc. | Extravascular implant tools utilizing a bore-in mechanism and implant techniques using such tools |
| US10751064B2 (en) | 2015-03-20 | 2020-08-25 | Edwards Lifescience Corporation | Systems and methods for delivering an implantable device |
| WO2016150806A1 (en) | 2015-03-20 | 2016-09-29 | Jenavalve Technology, Inc. | Heart valve prosthesis delivery system and method for delivery of heart valve prosthesis with introducer sheath |
| CN104758090B (zh) * | 2015-04-20 | 2018-09-21 | 上海纽脉医疗科技有限公司 | 一种便于准确定位的介入式人工心脏瓣膜的支架及其制备方法 |
| US10376363B2 (en) | 2015-04-30 | 2019-08-13 | Edwards Lifesciences Cardiaq Llc | Replacement mitral valve, delivery system for replacement mitral valve and methods of use |
| JP6767388B2 (ja) | 2015-05-01 | 2020-10-14 | イェーナヴァルヴ テクノロジー インコーポレイテッド | 心臓弁置換におけるペースメーカー割合を低減させるデバイス及び方法 |
| US10226335B2 (en) | 2015-06-22 | 2019-03-12 | Edwards Lifesciences Cardiaq Llc | Actively controllable heart valve implant and method of controlling same |
| US10092400B2 (en) | 2015-06-23 | 2018-10-09 | Edwards Lifesciences Cardiaq Llc | Systems and methods for anchoring and sealing a prosthetic heart valve |
| US10117744B2 (en) | 2015-08-26 | 2018-11-06 | Edwards Lifesciences Cardiaq Llc | Replacement heart valves and methods of delivery |
| US10575951B2 (en) | 2015-08-26 | 2020-03-03 | Edwards Lifesciences Cardiaq Llc | Delivery device and methods of use for transapical delivery of replacement mitral valve |
| US10350066B2 (en) | 2015-08-28 | 2019-07-16 | Edwards Lifesciences Cardiaq Llc | Steerable delivery system for replacement mitral valve and methods of use |
| CN113069242A (zh) | 2015-12-15 | 2021-07-06 | 内奥瓦斯克迪亚拉公司 | 经中隔递送系统 |
| JP7006940B2 (ja) | 2016-01-29 | 2022-01-24 | ニオバスク ティアラ インコーポレイテッド | 流出の閉塞を回避するための人工弁 |
| EP4183371A1 (en) | 2016-05-13 | 2023-05-24 | JenaValve Technology, Inc. | Heart valve prosthesis delivery system and method for delivery of heart valve prosthesis with introducer sheath and loading system |
| US10350062B2 (en) | 2016-07-21 | 2019-07-16 | Edwards Lifesciences Corporation | Replacement heart valve prosthesis |
| US20180140419A1 (en) | 2016-11-21 | 2018-05-24 | Neovasc Tiara Inc. | Methods and systems for rapid retraction of a transcatheter heart valve delivery system |
| CN110392557A (zh) | 2017-01-27 | 2019-10-29 | 耶拿阀门科技股份有限公司 | 心脏瓣膜模拟 |
| US10932904B2 (en) * | 2017-04-07 | 2021-03-02 | Shanghai Joy Medical Devices Co., Ltd | Artificial heart valve |
| WO2019010321A1 (en) | 2017-07-06 | 2019-01-10 | Edwards Lifesciences Corporation | Steerable rail delivery system |
| CA3073834A1 (en) | 2017-08-25 | 2019-02-28 | Neovasc Tiara Inc. | Sequentially deployed transcatheter mitral valve prosthesis |
| CN117481869A (zh) | 2018-01-25 | 2024-02-02 | 爱德华兹生命科学公司 | 在部署后用于辅助置换瓣膜重新捕获和重新定位的递送系统 |
| US11051934B2 (en) | 2018-02-28 | 2021-07-06 | Edwards Lifesciences Corporation | Prosthetic mitral valve with improved anchors and seal |
| WO2019224577A1 (en) | 2018-05-23 | 2019-11-28 | Sorin Group Italia S.R.L. | A cardiac valve prosthesis |
| EP3796872B1 (en) | 2018-05-23 | 2022-07-20 | Corcym S.r.l. | A device for the in-situ delivery of heart valve prostheses |
| WO2020051591A1 (en) | 2018-09-07 | 2020-03-12 | Icahn School Of Medicine At Mount Sinai | Heart valve delivery system and method with rotational alignment |
| EP3876870B1 (en) | 2018-11-08 | 2023-12-20 | Neovasc Tiara Inc. | Ventricular deployment of a transcatheter mitral valve prosthesis |
| WO2020163031A1 (en) | 2019-02-04 | 2020-08-13 | Edwards Lifesciences Corporation | Guide wire apparatuses and methods |
| AU2020233892A1 (en) | 2019-03-08 | 2021-11-04 | Neovasc Tiara Inc. | Retrievable prosthesis delivery system |
| AU2020256195B2 (en) | 2019-04-01 | 2022-10-13 | Neovasc Tiara Inc. | Controllably deployable prosthetic valve |
| CN113924065B (zh) | 2019-04-10 | 2026-01-30 | 内奥瓦斯克迪亚拉公司 | 具有自然血流的假体瓣膜 |
| CN121606417A (zh) | 2019-04-12 | 2026-03-06 | 爱德华兹生命科学公司 | 具有多部分式框架和相关联的弹性桥接特征的瓣膜 |
| ES2982566T3 (es) | 2019-04-23 | 2024-10-16 | Edwards Lifesciences Corp | Sistema de suministro de implantes motorizado |
| US11779742B2 (en) | 2019-05-20 | 2023-10-10 | Neovasc Tiara Inc. | Introducer with hemostasis mechanism |
| US11311376B2 (en) | 2019-06-20 | 2022-04-26 | Neovase Tiara Inc. | Low profile prosthetic mitral valve |
| EP4247297A1 (en) | 2020-12-18 | 2023-09-27 | Edwards Lifesciences Corporation | Storage jar assembly for aprosthetic heart valve |
| AU2022377336A1 (en) | 2021-10-27 | 2024-04-11 | Edwards Lifesciences Corporation | System and method for crimping and loading a prosthetic heart valve |
| US12171658B2 (en) | 2022-11-09 | 2024-12-24 | Jenavalve Technology, Inc. | Catheter system for sequential deployment of an expandable implant |
Family Cites Families (13)
| Publication number | Priority date | Publication date | Assignee | Title |
|---|---|---|---|---|
| US6425916B1 (en) * | 1999-02-10 | 2002-07-30 | Michi E. Garrison | Methods and devices for implanting cardiac valves |
| US20070043435A1 (en) * | 1999-11-17 | 2007-02-22 | Jacques Seguin | Non-cylindrical prosthetic valve system for transluminal delivery |
| US7195641B2 (en) * | 1999-11-19 | 2007-03-27 | Advanced Bio Prosthetic Surfaces, Ltd. | Valvular prostheses having metal or pseudometallic construction and methods of manufacture |
| US6458153B1 (en) * | 1999-12-31 | 2002-10-01 | Abps Venture One, Ltd. | Endoluminal cardiac and venous valve prostheses and methods of manufacture and delivery thereof |
| DE10300513B4 (de) * | 2003-01-08 | 2005-01-20 | Fahrsport Lessing Gmbh | Kutsche |
| WO2004082528A2 (en) * | 2003-03-17 | 2004-09-30 | Cook Incorporated | Vascular valve with removable support component |
| EP2926772B1 (en) * | 2003-04-24 | 2024-12-18 | Cook Medical Technologies LLC | Artificial valve prosthesis with improved flow dynamics |
| US7201772B2 (en) * | 2003-07-08 | 2007-04-10 | Ventor Technologies, Ltd. | Fluid flow prosthetic device |
| EP2526899B1 (en) * | 2003-12-23 | 2014-01-29 | Sadra Medical, Inc. | Repositionable heart valve |
| JP5290573B2 (ja) * | 2004-04-23 | 2013-09-18 | メドトロニック スリーエフ セラピューティクス,インコーポレイティド | 移植可能な補綴具弁 |
| US8012201B2 (en) * | 2004-05-05 | 2011-09-06 | Direct Flow Medical, Inc. | Translumenally implantable heart valve with multiple chamber formed in place support |
| WO2006041505A1 (en) * | 2004-10-02 | 2006-04-20 | Huber Christoph Hans | Methods and devices for repair or replacement of heart valves or adjacent tissue without the need for full cardiopulmonary support |
| EP2901967B1 (en) * | 2005-05-24 | 2019-10-02 | Edwards Lifesciences Corporation | Rapid deployment prosthetic heart valve |
-
2007
- 2007-10-17 AU AU2007351026A patent/AU2007351026B2/en not_active Ceased
- 2007-10-17 EP EP07821482.2A patent/EP2155115B1/en active Active
- 2007-10-17 CA CA2682564A patent/CA2682564C/en not_active Expired - Fee Related
- 2007-10-17 JP JP2010502428A patent/JP5114548B2/ja active Active
- 2007-10-17 WO PCT/EP2007/061117 patent/WO2008125153A1/en not_active Ceased
- 2007-10-17 CN CN200780053331XA patent/CN101742975B/zh active Active
-
2009
- 2009-09-29 IL IL201218A patent/IL201218A/en not_active IP Right Cessation
Also Published As
| Publication number | Publication date |
|---|---|
| IL201218A0 (en) | 2010-05-31 |
| EP2155115A1 (en) | 2010-02-24 |
| JP2010523234A (ja) | 2010-07-15 |
| EP2155115B1 (en) | 2018-09-05 |
| AU2007351026B2 (en) | 2012-04-05 |
| IL201218A (en) | 2012-08-30 |
| CA2682564C (en) | 2013-10-08 |
| WO2008125153A1 (en) | 2008-10-23 |
| CN101742975B (zh) | 2013-03-06 |
| CA2682564A1 (en) | 2008-10-23 |
| AU2007351026A1 (en) | 2008-10-23 |
| CN101742975A (zh) | 2010-06-16 |
Similar Documents
| Publication | Publication Date | Title |
|---|---|---|
| JP5114548B2 (ja) | 心臓弁の機能不全または狭窄症を治療するための医療用デバイス | |
| US11357624B2 (en) | Medical device for treating a heart valve insufficiency | |
| CN102836020B (zh) | 用于治疗心脏瓣膜关闭不全或狭窄的医疗装置 | |
| US9445896B2 (en) | Methods for treating a heart valve insufficiency or stenosis | |
| JP4904361B2 (ja) | 人工心臓弁の植え込み及び固定のための装置 | |
| CA2778944C (en) | Aortic bioprosthesis and systems for delivery thereof | |
| JP4904362B2 (ja) | 患者の心臓の欠陥を治療するための自己拡張可能な医療器具 | |
| CA2822636A1 (en) | Medical device for treating a heart valve insufficiency or stenosis | |
| AU2012203901B2 (en) | Medical device for treating a heart valve insufficiency or stenosis |
Legal Events
| Date | Code | Title | Description |
|---|---|---|---|
| A621 | Written request for application examination |
Free format text: JAPANESE INTERMEDIATE CODE: A621 Effective date: 20100729 |
|
| A131 | Notification of reasons for refusal |
Free format text: JAPANESE INTERMEDIATE CODE: A131 Effective date: 20120619 |
|
| A521 | Request for written amendment filed |
Free format text: JAPANESE INTERMEDIATE CODE: A523 Effective date: 20120903 |
|
| TRDD | Decision of grant or rejection written | ||
| A01 | Written decision to grant a patent or to grant a registration (utility model) |
Free format text: JAPANESE INTERMEDIATE CODE: A01 Effective date: 20121002 |
|
| A01 | Written decision to grant a patent or to grant a registration (utility model) |
Free format text: JAPANESE INTERMEDIATE CODE: A01 |
|
| A61 | First payment of annual fees (during grant procedure) |
Free format text: JAPANESE INTERMEDIATE CODE: A61 Effective date: 20121015 |
|
| FPAY | Renewal fee payment (event date is renewal date of database) |
Free format text: PAYMENT UNTIL: 20151019 Year of fee payment: 3 |
|
| R150 | Certificate of patent or registration of utility model |
Free format text: JAPANESE INTERMEDIATE CODE: R150 Ref document number: 5114548 Country of ref document: JP |
|
| R250 | Receipt of annual fees |
Free format text: JAPANESE INTERMEDIATE CODE: R250 |
|
| R250 | Receipt of annual fees |
Free format text: JAPANESE INTERMEDIATE CODE: R250 |
|
| R250 | Receipt of annual fees |
Free format text: JAPANESE INTERMEDIATE CODE: R250 |
|
| R250 | Receipt of annual fees |
Free format text: JAPANESE INTERMEDIATE CODE: R250 |
|
| R250 | Receipt of annual fees |
Free format text: JAPANESE INTERMEDIATE CODE: R250 |
|
| R250 | Receipt of annual fees |
Free format text: JAPANESE INTERMEDIATE CODE: R250 |
|
| R250 | Receipt of annual fees |
Free format text: JAPANESE INTERMEDIATE CODE: R250 |
|
| R250 | Receipt of annual fees |
Free format text: JAPANESE INTERMEDIATE CODE: R250 |
|
| R250 | Receipt of annual fees |
Free format text: JAPANESE INTERMEDIATE CODE: R250 |
|
| R250 | Receipt of annual fees |
Free format text: JAPANESE INTERMEDIATE CODE: R250 |
|
| R250 | Receipt of annual fees |
Free format text: JAPANESE INTERMEDIATE CODE: R250 |
