JP5086112B2 - 防水ケース - Google Patents

防水ケース Download PDF

Info

Publication number
JP5086112B2
JP5086112B2 JP2008012423A JP2008012423A JP5086112B2 JP 5086112 B2 JP5086112 B2 JP 5086112B2 JP 2008012423 A JP2008012423 A JP 2008012423A JP 2008012423 A JP2008012423 A JP 2008012423A JP 5086112 B2 JP5086112 B2 JP 5086112B2
Authority
JP
Japan
Prior art keywords
peripheral wall
waterproof
case
wall
liquid
Prior art date
Legal status (The legal status is an assumption and is not a legal conclusion. Google has not performed a legal analysis and makes no representation as to the accuracy of the status listed.)
Expired - Fee Related
Application number
JP2008012423A
Other languages
English (en)
Other versions
JP2009177902A (ja
Inventor
邦彦 竹内
昭典 五十嵐
Current Assignee (The listed assignees may be inaccurate. Google has not performed a legal analysis and makes no representation or warranty as to the accuracy of the list.)
Yazaki Corp
Original Assignee
Yazaki Corp
Priority date (The priority date is an assumption and is not a legal conclusion. Google has not performed a legal analysis and makes no representation as to the accuracy of the date listed.)
Filing date
Publication date
Application filed by Yazaki Corp filed Critical Yazaki Corp
Priority to JP2008012423A priority Critical patent/JP5086112B2/ja
Publication of JP2009177902A publication Critical patent/JP2009177902A/ja
Application granted granted Critical
Publication of JP5086112B2 publication Critical patent/JP5086112B2/ja
Expired - Fee Related legal-status Critical Current
Anticipated expiration legal-status Critical

Links

Images

Landscapes

  • Connection Or Junction Boxes (AREA)

Description

本発明は、例えば、自動車のエンジンルームなどに取り付けられ、ヒューズやリレー等の電気部品を収容する電気接続箱に好適な防水ケースに関するものである。
自動車には、ワイヤハーネスのコネクタや、リレー、ヒューズ、電子制御ユニット等の電気部品を収容するために、ジャンクションボックス、ヒューズボックス、リレーボックス等の電気接続箱(特許文献1ないし3を参照。)が搭載されている。この電気接続箱は、車種によりいろいろなものが用いられているが、例えば、図5ないし図7に示す電気接続箱110のように、合成樹脂製のケース本体103と、このケース本体103の上面に取り付けられるアッパカバー102とで構成される防水ケース101内に各種電気部品が収容されたものがある。また、この電気接続箱110は、前記自動車のエンジンルームなどに取り付けられている。
図5ないし図7に示された電気接続箱110は、ケース本体103の周壁131に付着した雨水や結露した水滴、洗車時に吹き付けられる洗車液等の液体が、毛細管現象などにより周壁131とアッパカバー102の周壁121との間に入り込み、防水ケース101内に侵入するおそれがあるので、防水ケース101を防水構造にする必要がある。なお、防水ケース101内部にこれら液体が浸入すると、回路等の部品が短絡したり、リーク電流が流れるおそれがある。
このことから、防水ケース101においては、周壁131の縁部131aの、周壁121の縁部121aと重なる部分に、縁部121aに向かって張り出した凸部133を設けるとともに、周壁121の縁部121aに凸部133と重なる段部123を設けることにより、周壁131と周壁121との重なり部分を階段形状にして、周壁131を伝ってきた液体が防水ケース101内に侵入することを防止している。
また、図5ないし図7中の矢印Yはアッパカバー102のケース本体103への取付方向を示している。本明細書で言う防水ケース101の上下方向は、取付方向Yに沿った方向を言う。また、図5ないし図7中の矢印X及び矢印Zは、取付方向Yと直交する直交方向を示している。即ち、防水ケース101においては、周壁121及び周壁131が取付方向Yに沿って延びている。
特開2000−316219号公報 特開平9−216648号公報 特開平8−288667号公報
このように防水ケース101においては凸部133及び段部123が設けられているので、雨水や防水ケース101の外表面に結露した水滴などが防水ケース101内に侵入することを防止できる。しかしながら、この防水ケース101においては、例えば洗車時に噴射された水や洗車液等の液体が直接防水ケース101に吹き付けられると、防水ケース101内にこの液体が浸入してしまうことがあるという問題があった。
即ち、洗車時などにおいて、図6の矢印P1に示すように、噴射された液体がケース本体103の取付方向Yに沿った下方からケース本体103の周壁131に直接衝突すると、この液体の液圧により内側に撓んだ周壁131と周壁121との間に隙間が生じ、矢印P2に示すように、周壁131を伝ってケース本体103の上方に向かって流れた液体が、前述した隙間から防水ケース101内に浸入してしまうことがあるという問題があった。
このような噴射された液体でさえも内部に浸入できないようにするために、周壁(131)と周壁(121)との間にゴム製のパッキンを取り付けた防水ケースや、周壁(131)と周壁(121)の外側に、互いに重なり合わさってこれら周壁(131)及び周壁(121)を密閉する一対の密閉壁を設けた防水ケース(特許文献2を参照。)などが提案されているが、前記パッキンを使用すると、パッキンの取り付けスペースが必要な分防水ケースが大型化したり、電気接続箱の構成部品の品番増加や、コストアップが避けられないなどの新たな問題が生じてしまう。また、周壁(131)及び周壁(121)を密閉する一対の密閉壁を設けた前記防水ケースなどは、構造が複雑であるがゆえに製造が困難であったり、防水ケースが大型化してしまうという新たな問題が生じてしまう。
さらに、上述した防水ケース101は、図7に示すように、周壁131と周壁121との合わせ目E2(図5及び図6中の二点鎖線で囲んだ部分を意味する。)の一部に、直交方向Xまたは直交方向Zに対して傾斜した傾斜部C2(図7中の実線で囲んだ部分を意味する。)が設けられている。この傾斜部C2が設けられた部分は、合わせ目E2のうち直交方向Xまたは直交方向Zに平行に設けられた平坦部D2(図7中の実線で囲んだ部分を意味する。)よりも液体が侵入し易い。
この理由は、平坦部D2においては、液体が取付方向Yに沿った下方から上方に向かって周壁131を伝って流れる場合に限って、この液体が防水ケース101内に浸入する可能性があるところ、傾斜部C2においては、液体が取付方向Yに沿った下方から上方に向かって周壁131を伝って流れる場合にも、液体が直交方向X,Zに沿って横方向に周壁131を伝って流れる場合にも、この液体が防水ケース101内に浸入する可能性があるからである。このことから、傾斜部C2における防水性をより高くした防水ケースが特に求められていた。
したがって、本発明は、パッキンを用いない簡素な構造でありながら、内部に液体が浸入することを確実に防止できる防水ケースを提供することを目的とする。
上記目的を達成するために、請求項1に記載された発明は、複数の周壁により箱状に設けられたケース本体と、前記ケース本体の複数の周壁の縁部により構成される開口部を覆うカバーと、を有する防水ケースであって、前記ケース本体の周壁と、該周壁と重なる前記カバーの第2周壁と、のうち一方に前記周壁と前記第2周壁との合わせ目の外側に配されて、該合わせ目に噴射された液体が直接当たることを防ぐ防水壁が設けられ、前記防水壁の上端が前記ケース本体の周壁の縁部よりも低く形成されていることを特徴とする防水ケースである。
請求項2に記載された発明は、複数の周壁により箱状に設けられたケース本体と、前記ケース本体の複数の周壁の縁部により構成される開口部を覆うカバーと、を有する防水ケースであって、前記ケース本体の周壁と、該周壁と重なる前記カバーの第2周壁と、のうち一方に、前記周壁と前記第2周壁との合わせ目の外側に配されて、該合わせ目に噴射された液体が直接当たることを防ぐ防水壁が設けられ、前記防水壁が、前記合わせ目のうち、前記カバーの前記ケース本体への取付方向と直交する直交方向に対して傾斜した傾斜部の外側に、部分的に設けられていることを特徴とする防水ケースである。
請求項3に記載された発明は、請求項1または請求項2に記載された発明において、前記防水壁が、前記周壁に設けられていることを特徴とするものである。
請求項1に記載された発明によれば、ケース本体の周壁と、該周壁と重なるカバーの第2周壁と、のうち一方に設けられ、前記周壁と前記第2周壁との合わせ目の外側に配されて、該合わせ目に噴射された液体が直接当たることを防ぐ防水壁が設けられ、前記防水壁の上端が前記ケース本体の周壁の縁部よりも低く形成されていることから、この液体の圧力によって周壁または第2周壁が撓んでこれら周壁と第2周壁との間に液体の浸入経路となる隙間が生じることを防止できるので、パッキンを用いない簡素な構造でありながら、内部に液体が浸入することを確実に防止できる防水ケースを提供することができる。
請求項2に記載された発明によれば、前記防水壁が、液体が浸入し易い箇所である傾斜部の外側に、部分的に設けられていることから、大型化及び構成の複雑化を最小限に抑えつつも、内部に液体が浸入することを確実に防止できる防水ケースを提供することができる。
請求項3に記載された発明によれば、前記防水壁が、前記周壁に設けられていることから、ケース本体の剛性を向上させることができる。また、従来の防水ケースのカバーを、何ら設計変更することなくそのまま本防水ケースに用いることができる。また、ケース本体側に防水壁を設けることにより、カバー側に設ける場合よりも防水ケースの大型化を抑えることができる。
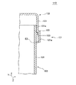
以下、本発明の一実施の形態にかかる防水ケースを、図1ないし図4に基づいて説明する。図1は、本発明の一実施の形態に係る防水ケースにより構成される電気接続箱を示す斜視図である。図2は、図1に示された防水ケースのケース本体からカバーが外された状態を示す斜視図である。図3は、図1中のA−A線に沿った断面図である。図4は、図2中の一点鎖線で囲まれたB部を拡大して示す斜視図である。
本実施形態にかかる防水ケース1は、図1ないし図4に示す電気接続箱10を構成する。この電気接続箱10は、自動車のエンジンルームなどに取り付けられ、ワイヤハーネスのコネクタやリレー11、ヒューズ12、電子制御ユニットなどの複数の電気部品を収容するとともに、これら電気部品とこの自動車に搭載された多種多様な電子機器とを予め定められたパターンにしたがって電気的に接続するものである。
このような電気接続箱10は、当該電気接続箱10の外郭を形成する防水ケース1と、この防水ケース1内に収容される前述した複数の電気部品と、を有している。即ち、本発明の防水ケース1は、複数の電気部品を収容するとともに、これら電気部品に水等の液体が付着することを防止するためのケースである。また、本発明で言う「防水」とは、水の浸入を阻止することに限らず、水、油、アルコール、等を含む液体全般に有効に作用することを意味するが、ここでは一般的に名称として広く用いられている「防水」を用いて説明する。
上記防水ケース1は、前記複数の電気部品が装着されるケース本体3と、このケース本体3の上面に着脱可能に設けられたカバーとしてのアッパカバー2と、ケース本体3の下面に着脱可能に設けられたロアカバー4と、を有している。また、これらケース本体3と、アッパカバー2と、ロアカバー4と、は、絶縁性の合成樹脂で構成され、周知の射出成型により形成されている。
また、本明細書で言う防水ケース1の上下方向は、図1ないし図4中の矢印Y方向に沿った方向を言う。また、この矢印Y方向は、アッパカバー2のケース本体3への取付方向を示している。さらに、図1ないし図4中の矢印X及び矢印Zは、取付方向Yと直交する直交方向を示している。
上記ケース本体3は、図2に示すように、取付方向Yに沿って延び互いに端部が連なる複数の周壁31により筒状即ち箱状に設けられている。また、この周壁31の内側は、複数の隔壁により多数の空間に仕切られているとともに、取付方向Yに沿った上下に位置する両端に開口部3a,3bが設けられている。即ち、前記開口部3aは、複数の周壁31の上端に位置する縁部31aにより構成されている。また、前記開口部3bは、複数の周壁31の下端に位置する縁部31bにより構成されている。また、前記多数の空間には、前述したリレー11やヒューズ12などの電気部品が装着される。
上記アッパカバー2は、開口部3aと相対する天井壁20と、この天井壁20の外縁から取付方向Yに沿って立設した複数の第2周壁21と、により開口部3aに向かって開口した箱状に形成されており、ケース本体3の開口部3aを覆う格好でケース本体3の上面に取り付けられる。また、アッパカバー2は、図1及び図3に示すように、第2周壁21の縁部21aが、ケース本体3の周壁31の縁部31aに重なるとともに、縁部21aの内表面が縁部31aの外表面に重なるようにケース本体3に取り付けられる。即ち、第2周壁21は、周壁31の外側に位置付けられる。
また、第2周壁21の縁部21aと、ケース本体3の周壁31の縁部31aと、には、ケース本体3とアッパカバー2とを互いに固定するロック部5が複数設けられている。このロック部5は、縁部31a側に設けられた突起部51と、縁部21a側に設けられ、前記突起部51と係止可能に設けられたロックアーム52と、で構成されている。
上記ロアカバー4は、開口部3bと相対する底壁と、この底壁の外縁から取付方向Yに沿って立設した複数の周壁41と、により開口部3bに向かって開口した箱状に形成されており、ケース本体3の開口部3bを覆う格好でケース本体3の下面に取り付けられる。
また、周壁41の縁部41b(図4を参照。)と、ケース本体3の周壁31の縁部31bと、には、ケース本体3とロアカバー4とを互いに固定するロック部6が複数設けられている。このロック部6は、縁部41b側に設けられたロック爪部62と、縁部31b側に設けられ、前記ロック爪部62と係止可能に設けられたロック受け部61と、で構成されている。
また、本発明の周壁31と第2周壁21との「合わせ目E1」とは、図1中の矢印E1で示す部分であり、図3中の二点鎖線で囲んだ部分を意味する。即ち、本発明の周壁31と第2周壁21との「合わせ目E1」とは、アッパカバー2がケース本体3に取り付けられた状態において、縁部21aの下端部と周壁31とが重なった部分を意味する。
また、上記合わせ目E1は、図1及び図4に示すように、直交方向Xまたは直交方向Zに平行に設けられた部分である平坦部D1と、直交方向Xまたは直交方向Zに対して傾斜した部分である傾斜部C1と、を有している。なお、図4においては、アッパカバー2がケース本体3から取り外された状態を示しているが、実際の合わせ目E1、即ち平坦部D1と傾斜部C1、は、上述したように、縁部21aの下端部と周壁31とが重なった部分を意味する。
また、本発明では、図4などに示すように、ケース本体3の上面及びアッパカバー2の天井壁20を面一の平面形状にせず、複数の凹凸を有した形状に形成していることから、上述した傾斜部C1が生じることが避けられない。また、前記上面とは、実在する面ではなく仮想面を意味する。このようにケース本体3の上面を複数の凹凸を有した形状に形成している理由は、電気接続箱10を前記エンジンルーム内の狭いスペースにできるだけコンパクトに納めるためである。
次に、周壁31と第2周壁21との間から防水ケース1内に水や洗車液等の液体が浸入することを防止するための防水構造について説明する。
本発明の防水ケース1は、図3などに示すように、上述した周壁31の縁部31aの、第2周壁21の縁部21aと重なる部分に、縁部21aに向かって張り出した凸部33を設けるとともに、縁部21aに凸部33と重なる段部23を設けることにより、周壁31と周壁21との重なり部分を階段形状、即ち入り組んだ形状、にして、周壁31の外表面を伝ってきた液体が防水ケース1内に侵入することを防止している。
また、本発明の防水ケース1は、図3などに示すように、周壁31と第2周壁21との合わせ目E1の外側に配されて、この合わせ目E1に噴射された液体が直接当たることを防ぐ防水壁32を設けている。前記噴射された液体とは、例えば、洗車時にポンプから噴射される水や洗車液である。また、本発明において、「防水壁32が、周壁31と第2周壁21との合わせ目E1の外側に配されている」とは、防水壁32が、図3中の実線、及び、一点鎖線で示すように、合わせ目E1よりも、直交方向Xまたは直交方向Zに沿ったケース本体3の外側に配されていることを言う。た、本発明では、図3中の一点鎖線で示すように、防水壁32の上端32aが第2周壁21の縁部21aと直交方向Xまたは直交方向Zに沿ってラップする位置に配置されている場合も、「防水壁32が、周壁31と第2周壁21との合わせ目E1の外側に配されている」ことに含める。
上記防水壁32は、ケース本体3の周壁31に一体に設けられている。また、防水壁32は、取付方向Yに沿って延びた板状に設けられ、周壁31との間に間隔をあけて周壁31と平行に設けられている。また、防水壁32と周壁31との間の空間は、取付方向Yに沿った両端において、外部空間と連通している。よって、防水壁32は、周壁31との間を液体が通り抜けることを妨げない。
また、本発明において、「合わせ目E1に噴射された液体が直接当たることを防ぐ」ことが可能な防水壁32の構成は、電気接続箱10の取り付け位置や取り付け角度等の条件によって異なってくるが、本実施形態に示す電気接続箱10の場合、即ち図3中の矢印Rで示すようにケース本体3の斜め下から噴射された液体が吹き付けられる場合は、防水壁32が合わせ目E1の外側に配され、かつ、当該防水壁32の取付方向Yに沿った上端32aが、図3中の実線、及び、一点鎖線で示すように、合わせ目E1と取付方向Yに沿って同じ高さの位置に位置付けられている構成、または、図3中の点線で示すように、上端32aが合わせ目E1よりも取付方向Yに沿って上方に位置付けられている構成であれば良い。
そして、本実施形態では、上述したように、防水壁32の上端32aが合わせ目E1と取付方向Yに沿って同じ高さの位置に位置付けられている構成としたことから、図3中の矢印Rで示す噴射された液体が、周壁31と第2周壁21との合わせ目E1に直接当たることを防ぐことができるのに加えて、アッパカバー2をケース本体3に取り付ける際に第2周壁21が防水壁32に当たることがなく容易にアッパカバー2をケース本体3に取り付けることができる。
本発明では、このように、周壁31と第2周壁21との合わせ目E1の外側に配されて、この合わせ目E1に噴射された液体が直接当たることを防ぐ防水壁32が設けられていることから、この液体の圧力によって周壁31が撓んで第2周壁21との間に隙間が生じることを防止できるので、この隙間から防水ケース1内に液体が浸入することを確実に防止できる。また、本発明では、たとえ勢いが弱められた液体が周壁31の縁部31aと第2周壁21の縁部21aとの間に入り込んだとしても、この液体が上述した凸部33と段部23とにより塞き止められるので、防水ケース1内に液体が浸入することを確実に防止できる。
また、本発明では、ケース本体3とアッパカバー2とのうち、ケース本体3側に防水壁32を設けていることから、ケース本体3の剛性を向上させることができる。また、従来の防水ケース101のアッパカバー102を、何ら設計変更することなくそのまま本防水ケース1に用いることができる。また、ケース本体3側に防水壁32を設けることにより、アッパカバー2側に設ける場合よりも防水ケース1の大型化を抑えることができる。
さらに、上述した構成の防水壁32は、周壁31の複数の箇所に設けられている。即ち、防水壁32は周壁31に部分的に設けられている。そして、このうちの幾つかの防水壁32は、図2及び図4に示すように、上述した傾斜部C1の外側に設けられている。
このように本発明では、液体が浸入し易い箇所である傾斜部C1の外側に部分的に防水壁32を設けていることから、防水ケース1の大型化及び構成の複雑化を最小限に抑えつつも、防水ケース1内に液体が浸入することを確実に防止できる。
上記構成の防水ケース1によれば、パッキンを用いない簡素な構造でありながら、内部に液体が浸入することを確実に防止できる。また、パッキンを用いない分、当該防水ケース1を安価で提供することができる。また、周壁31と第2周壁21との合わせ目E1を密閉する一対の密閉壁を設けた構成の従来の防水ケースよりもはるかに簡素な構造でありながら、内部に液体が浸入することを確実に防止できる。
また、上述した実施形態では、防水壁32がケース本体3側に設けられていたが、本発明では、防水壁がアッパカバー2側に設けられていても良い。即ち本発明では、ケース本体3とアッパカバー2とのうち、いずれか一方に防水壁が設けられていれば良い。
また、上述した実施形態では、防水壁32が部分的に設けられていたが、本発明では、防水壁がケース本体3またはアッパカバー2の全周に亘って連続して設けられていても良い。
なお、前述した実施形態は本発明の代表的な形態を示したに過ぎず、本発明は、実施形態に限定されるものではない。即ち、本発明の骨子を逸脱しない範囲で種々変形して実施することができる。
本発明の一実施の形態に係る防水ケースにより構成される電気接続箱を示す斜視図である。 図1に示された防水ケースのケース本体からカバーが外された状態を示す斜視図である。 図1中のA−A線に沿った断面図である。 図2中の一点鎖線で囲まれたB部を拡大して示す斜視図である。 従来の電気接続箱に用いられる防水ケースを示す断面図である。 図5に示された従来の防水ケースの問題点を説明する説明図である。 図5に示された従来の防水ケースを示す斜視図である。
符号の説明
1 防水ケース
2 アッパカバー(カバー)
3 ケース本体
3a 開口部
21 第2周壁
31 周壁
31a 縁部
32 防水壁
C1 傾斜部
E1 合わせ目

Claims (3)

  1. 複数の周壁により箱状に設けられたケース本体と、前記ケース本体の複数の周壁の縁部により構成される開口部を覆うカバーと、を有する防水ケースであって、
    前記ケース本体の周壁と、該周壁と重なる前記カバーの第2周壁と、のうち一方に前記周壁と前記第2周壁との合わせ目の外側に配されて、該合わせ目に噴射された液体が直接当たることを防ぐ防水壁が設けられ
    前記防水壁の上端が前記ケース本体の周壁の縁部よりも低く形成されている
    ことを特徴とする防水ケース。
  2. 複数の周壁により箱状に設けられたケース本体と、前記ケース本体の複数の周壁の縁部により構成される開口部を覆うカバーと、を有する防水ケースであって、
    前記ケース本体の周壁と、該周壁と重なる前記カバーの第2周壁と、のうち一方に、前記周壁と前記第2周壁との合わせ目の外側に配されて、該合わせ目に噴射された液体が直接当たることを防ぐ防水壁が設けられ、
    前記防水壁が、前記合わせ目のうち、前記カバーの前記ケース本体への取付方向と直交する直交方向に対して傾斜した傾斜部の外側に、部分的に設けられている
    ことを特徴とす防水ケース。
  3. 前記防水壁が、前記周壁に設けられている
    ことを特徴とする請求項1または請求項2に記載の防水ケース。
JP2008012423A 2008-01-23 2008-01-23 防水ケース Expired - Fee Related JP5086112B2 (ja)

Priority Applications (1)

Application Number Priority Date Filing Date Title
JP2008012423A JP5086112B2 (ja) 2008-01-23 2008-01-23 防水ケース

Applications Claiming Priority (1)

Application Number Priority Date Filing Date Title
JP2008012423A JP5086112B2 (ja) 2008-01-23 2008-01-23 防水ケース

Publications (2)

Publication Number Publication Date
JP2009177902A JP2009177902A (ja) 2009-08-06
JP5086112B2 true JP5086112B2 (ja) 2012-11-28

Family

ID=41032417

Family Applications (1)

Application Number Title Priority Date Filing Date
JP2008012423A Expired - Fee Related JP5086112B2 (ja) 2008-01-23 2008-01-23 防水ケース

Country Status (1)

Country Link
JP (1) JP5086112B2 (ja)

Cited By (1)

* Cited by examiner, † Cited by third party
Publication number Priority date Publication date Assignee Title
US8487057B2 (en) 2006-09-28 2013-07-16 Korea Kumho Petrochemical Co., Ltd. Maleimide-alpha-alkylstyrene-based tetrapolymer with low molten viscosity and continuous bulk process for producing it

Families Citing this family (3)

* Cited by examiner, † Cited by third party
Publication number Priority date Publication date Assignee Title
JP5161701B2 (ja) * 2008-08-22 2013-03-13 株式会社丸山製作所 散布装置
JP5903057B2 (ja) * 2013-02-14 2016-04-13 オートリブ ディベロップメント エービー 電子制御ユニット
CN114003023B (zh) * 2021-11-10 2023-08-04 中煤科工集团上海有限公司 一种快速故障检测装置

Family Cites Families (1)

* Cited by examiner, † Cited by third party
Publication number Priority date Publication date Assignee Title
JPH0736426Y2 (ja) * 1986-12-16 1995-08-16 矢崎総業株式会社 電気接続箱

Cited By (1)

* Cited by examiner, † Cited by third party
Publication number Priority date Publication date Assignee Title
US8487057B2 (en) 2006-09-28 2013-07-16 Korea Kumho Petrochemical Co., Ltd. Maleimide-alpha-alkylstyrene-based tetrapolymer with low molten viscosity and continuous bulk process for producing it

Also Published As

Publication number Publication date
JP2009177902A (ja) 2009-08-06

Similar Documents

Publication Publication Date Title
US9431806B2 (en) Waterproof box and electric junction box equipped with same
JP5173596B2 (ja) 電気接続箱
JP5880882B2 (ja) 電気接続箱
CN101946381B (zh) 电接线箱的防水结构
JP7164330B2 (ja) 筐体、電気接続箱、及びワイヤハーネス
CN112512231A (zh) 电气连接箱以及线束
JP2009124874A (ja) 電気接続箱
JP5634774B2 (ja) 防水ケース
JP5086112B2 (ja) 防水ケース
CN107615607B (zh) 电连接箱及电连接箱的防水结构
US20170163016A1 (en) Electric connection box
JP7120852B2 (ja) 電気接続箱及びワイヤハーネス
JP5719535B2 (ja) 防水ケース
JP5345871B2 (ja) 電気接続箱
JP5954090B2 (ja) 電気接続箱
JP5394302B2 (ja) 電気接続箱
JP5120135B2 (ja) 電気接続箱
JP2010041778A (ja) 車両用電気機器のハウジング
JP4416706B2 (ja) 電気接続箱の防水構造
JP6931315B2 (ja) 電気接続箱及びワイヤハーネス
JP2010074954A (ja) 防水ケース
JP2003009349A (ja) 電気接続箱の防水構造
JP7115938B2 (ja) 電気接続箱及びワイヤハーネス
JP6797705B2 (ja) 電気接続箱およびワイヤハーネス
JP2018207711A (ja) 電気接続箱

Legal Events

Date Code Title Description
A621 Written request for application examination

Free format text: JAPANESE INTERMEDIATE CODE: A621

Effective date: 20101130

A977 Report on retrieval

Free format text: JAPANESE INTERMEDIATE CODE: A971007

Effective date: 20120229

A131 Notification of reasons for refusal

Free format text: JAPANESE INTERMEDIATE CODE: A131

Effective date: 20120619

A521 Written amendment

Free format text: JAPANESE INTERMEDIATE CODE: A523

Effective date: 20120806

TRDD Decision of grant or rejection written
A01 Written decision to grant a patent or to grant a registration (utility model)

Free format text: JAPANESE INTERMEDIATE CODE: A01

Effective date: 20120821

A01 Written decision to grant a patent or to grant a registration (utility model)

Free format text: JAPANESE INTERMEDIATE CODE: A01

A61 First payment of annual fees (during grant procedure)

Free format text: JAPANESE INTERMEDIATE CODE: A61

Effective date: 20120906

R150 Certificate of patent or registration of utility model

Free format text: JAPANESE INTERMEDIATE CODE: R150

FPAY Renewal fee payment (event date is renewal date of database)

Free format text: PAYMENT UNTIL: 20150914

Year of fee payment: 3

R250 Receipt of annual fees

Free format text: JAPANESE INTERMEDIATE CODE: R250

R250 Receipt of annual fees

Free format text: JAPANESE INTERMEDIATE CODE: R250

LAPS Cancellation because of no payment of annual fees