JP5084792B2 - クラッチ装置 - Google Patents

クラッチ装置 Download PDF

Info

Publication number
JP5084792B2
JP5084792B2 JP2009160387A JP2009160387A JP5084792B2 JP 5084792 B2 JP5084792 B2 JP 5084792B2 JP 2009160387 A JP2009160387 A JP 2009160387A JP 2009160387 A JP2009160387 A JP 2009160387A JP 5084792 B2 JP5084792 B2 JP 5084792B2
Authority
JP
Japan
Prior art keywords
pressure
piston
balance
housing
clutch
Prior art date
Legal status (The legal status is an assumption and is not a legal conclusion. Google has not performed a legal analysis and makes no representation as to the accuracy of the status listed.)
Expired - Fee Related
Application number
JP2009160387A
Other languages
English (en)
Other versions
JP2009264593A (ja
Inventor
トーマス・シュミット
Original Assignee
ボーグワーナー インコーポレーテッド
Priority date (The priority date is an assumption and is not a legal conclusion. Google has not performed a legal analysis and makes no representation as to the accuracy of the date listed.)
Filing date
Publication date
Application filed by ボーグワーナー インコーポレーテッド filed Critical ボーグワーナー インコーポレーテッド
Publication of JP2009264593A publication Critical patent/JP2009264593A/ja
Application granted granted Critical
Publication of JP5084792B2 publication Critical patent/JP5084792B2/ja
Anticipated expiration legal-status Critical
Expired - Fee Related legal-status Critical Current

Links

Images

Classifications

    • FMECHANICAL ENGINEERING; LIGHTING; HEATING; WEAPONS; BLASTING
    • F16ENGINEERING ELEMENTS AND UNITS; GENERAL MEASURES FOR PRODUCING AND MAINTAINING EFFECTIVE FUNCTIONING OF MACHINES OR INSTALLATIONS; THERMAL INSULATION IN GENERAL
    • F16DCOUPLINGS FOR TRANSMITTING ROTATION; CLUTCHES; BRAKES
    • F16D25/00Fluid-actuated clutches
    • F16D25/06Fluid-actuated clutches in which the fluid actuates a piston incorporated in, i.e. rotating with the clutch
    • F16D25/062Fluid-actuated clutches in which the fluid actuates a piston incorporated in, i.e. rotating with the clutch the clutch having friction surfaces
    • F16D25/063Fluid-actuated clutches in which the fluid actuates a piston incorporated in, i.e. rotating with the clutch the clutch having friction surfaces with clutch members exclusively moving axially
    • F16D25/0635Fluid-actuated clutches in which the fluid actuates a piston incorporated in, i.e. rotating with the clutch the clutch having friction surfaces with clutch members exclusively moving axially with flat friction surfaces, e.g. discs
    • F16D25/0638Fluid-actuated clutches in which the fluid actuates a piston incorporated in, i.e. rotating with the clutch the clutch having friction surfaces with clutch members exclusively moving axially with flat friction surfaces, e.g. discs with more than two discs, e.g. multiple lamellae
    • FMECHANICAL ENGINEERING; LIGHTING; HEATING; WEAPONS; BLASTING
    • F16ENGINEERING ELEMENTS AND UNITS; GENERAL MEASURES FOR PRODUCING AND MAINTAINING EFFECTIVE FUNCTIONING OF MACHINES OR INSTALLATIONS; THERMAL INSULATION IN GENERAL
    • F16DCOUPLINGS FOR TRANSMITTING ROTATION; CLUTCHES; BRAKES
    • F16D25/00Fluid-actuated clutches
    • F16D25/12Details not specific to one of the before-mentioned types

Landscapes

  • Engineering & Computer Science (AREA)
  • General Engineering & Computer Science (AREA)
  • Mechanical Engineering (AREA)
  • Hydraulic Clutches, Magnetic Clutches, Fluid Clutches, And Fluid Joints (AREA)

Description

発明の詳細な説明
本発明は、自動車用クラッチ装置に関する。
本発明の基となっている周知のクラッチ装置には、現在の技術を織り込んだ様々な形態のあることが知られている。実際のクラッチに加えて、各種構成要素が、駆動軸によって駆動端部で燃焼機関に連接されており、また出力軸によって出力端部で変速装置或いは伝動装置に連接されている。例えば、クラッチを作動させると、駆動軸が出力軸に連結される。このようなクラッチ装置は、クラッチを作動させるための作動装置を含んでいる。
本発明は、圧力ピストンを有する作動装置を備えたクラッチ装置に関する。この圧力ピストンは、現在の技術に従ってハウジング内に配置されている。更に、この圧力ピストンは、このハウジング内で移動可能にガイドされている。圧力ピストンによる適切な滑動によって、クラッチを作動させることができる。
従来技術
圧力ピストンをこのように滑動させるためには、相当する圧力を発生させる必要がある。通常は液圧すなわち油圧を使う。具体的には、現在の技術によるハウジングと圧力ピストンは、両者で中空の空間を取り囲むように配置され、この空間を今後圧力室と呼ぶことにするが、この圧力室は、先に述べた圧力を発生させるために、通常はこの目的のために考案された合成油である適した加圧媒体を使って圧力を加えることができるようになっている。
クラッチを作動させた後、圧力ピストンは、その始動位置に戻す必要がある。ピストンの滑動を引き起こす圧力を選択的に測定することが望ましい。従って、ハウジング及び圧力ピストンが駆動軸と共に回転する部品である場合、圧力を制御する必要がある。この場合、先に述べた圧力室内の加圧媒体の圧力は、回転運動の速度と共に上昇するので、一般的には望ましくない結果になる。
圧力ピストンを始動位置まで戻し、更に、ピストンを滑動させる圧力を制御できるようにするため、現在の技術による作動装置は、先に述べた圧力に対抗して作用する反作用圧力を発生させるための機構を備えている。この反作用圧力を発生させるための機構は別のピストンを備えており、これを以後バランスピストンと呼ぶことにする。このバランスピストンは、圧力ピストン及びハウジングと共に中空の空間を取り囲むように配置されており、この空間を以後バランス室と呼ぶことにする。先に述べた圧力室と同様に、このバランス室は、望ましくは合成油である(反対方向)加圧媒体で加圧して、反対方向圧力を発生させることができる。
圧力ピストンに作用する反対方向圧力を発生させるためには、バランス室が(反対方向)加圧媒体によって加圧されるとき、バランスピストンをハウジングに対して動かないように保持する必要がである。現在の技術で知られている、この目的の機構は、クラッチ装置内に追加のスペースを必要とし、その上、製造するのに比較的経費が掛かり、及び/又は組み立てに時間を要するので、最終製品に高い価格となって反映される。
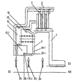
以上、極めて一般的に述べてきた事実を説明するため、問題となっている特性を、ここで再度、図4に示されている現在の技術による多板クラッチ装置に基づく例を使って示す。
図示されている多板クラッチ装置は、基本的にOX軸に関し回転対称に設計され、駆動軸(図示せず)と駆動端部22で連接されているハウジングを備えており、このハウジングは、基本的に中空円筒形の外側プレートディスクキャリア5と、前記基本的に中空円筒形の外側プレートディスクキャリア5と同軸でその内に配置されている基本的に中空円筒形の中心部15.4とで構成されている。多板クラッチ装置のもう1つの構成部品は、出力端部23上で出力軸(図示せず)と連接され、OX軸に関し基本的に回転対称に設計されている、内側プレートディスクキャリア7である。
図面から推察できるように、外側及び内側プレートディスクキャリア5及び7は、いわゆる外側及び内側プレートディスク6及び8のキャリアである。これらプレートディスクは、それぞれ外側及び内側プレートディスクキャリア5及び7に基本的にはきつく、但し限定された軸方向運動ができるように取り付けられている。全体の接続装置(fitting arrangement)は、提示例では3枚の外側プレートディスク6、7と3枚の内側プレートディスク8、10で構成され、ディスクパック4と呼ばれる。外側及び内側プレートディスクは交互に配置され、対をなして摩擦接合を形成することができる。ディスクパック4の一方の端部にあり、その軸方向の運動が一方の端部でロッキングリング27により制限されているディスクプレート(ここでは外側プレートディスク)は、エンドプレートと呼ばれる。図4では、このエンドプレートに参照番号9が付されている。ディスクパック4の他方の端部にあるディスクプレート(ここでは内側プレートディスク)は、圧力プレートと呼ばれる。図4では、この圧力プレートに参照番号10が付されている。
外側及び内側プレートディスクキャリア5、7上の何枚かのプレートディスク(この場合は6枚)で構成されるディスクパック4のこの接続装置は、「実際のクラッチ」と呼ばれる多板クラッチ装置の一部を形成しており、例えば、冷却油室13を経由して供給される冷却油26のような冷却剤によって冷却されるのが望ましい。
図4に示す現在の技術による多板クラッチ装置のもう1つの構成部品は、先にも述べた、このクラッチを作動させるための作動装置である。先に詳細に述べた様に、作動装置は、圧力ピストン1とバランスピストン2を備えている。
圧力ピストン1は基本的に円形に設計されている。ピストンの内壁は、中心部15.4の外壁上を滑るように案内されており、この中心部は基本的に円筒状のジャケットのような形をしている。圧力ピストン1は、適切な滑動により、ディスクパック4の圧力プレート10に対し、ここでは環状に設計されている適切な圧力要素14を介して押し付けられるので、ディスクパック4が一緒に、軸方向の逃げを持たないエンドプレート9に押し付けられ、個々の隣接するディスクプレート6、8が摩擦連接を形成し、クラッチを作動させる。
ハウジングと圧力ピストン1は、互いに嵌合して中空の空間を形成する。この中空の空間が、ここでは2個のシールリング20、21で周囲に対しシールされたいわゆる圧力室であり、図では参照番号11が付されている。
この圧力室11には、中心部15.4内を半径方向に伸びる1つ又は複数の穴を通して、圧力油24を供給できるようになっている。従ってこの穴は圧力油チャネルと呼ばれている。圧力油チャネルの1本を図4に示し、参照番号17を付している。
図4に示す代表的実施形態では、先に作動装置の構成部品として命名したバランスピストン2が、基本的に円形に設計されている。バランスピストン2は、圧力ピストン1及びハウジングの中心部15.4と協働して中空の空間を取り囲むように配置されている。この中空の空間はバランス室と呼ばれ、図4では参照番号12が付されている。
先に述べた圧力室11と同様に、バランス室12は(反対方向)加圧媒体で加圧できるようになっており、この加圧媒体は、今後補償油25と呼ぶことにするが、先に述べた反対方向の圧力を発生させるため適切な穴を通して加えられる。補償油25を加えるための穴を、今後補償油チャネルと呼ぶことにする。図4には、ハウジングの中心部15.4を半径方向に貫通する補償油チャネルの内の1本を示す。これに参照番号18.4を付す。
現在の技術による、提示した代表的な実施形態において、スプリングアッセンブリ3は、バランスピストン2の内壁で支持され、クラッチを作動させる際に圧力ピストン1が滑動する方向とは逆に、圧力ピストン1に対抗して保持されているが、このスプリングアッセンブリ3は、バランス室12内に、更に反対方向の圧力を発生させるように配置されている。
クラッチを作動させる際に、ピストン1の軸方向の滑動でともかくもバランス室12内に適切な反作用圧力が発生するようにするためには、バランス室12をその周囲に対してシールすること、及びバランスピストン2を少なくとも軸方向には動かなくすることの両方が必要である。このうち最初の機能は、圧力ピストン1とバランスピストン2の互いに隣接する壁と壁の間をシールする円周シールリップ19で達成される。軸方向の滑動を止めるのは、現在のの技術によれば、通常、ロックリング16.4で達成される。
この接続装置は、原理的には証明済みであるが、なお、費用が掛からずスペースをとらない代替の解決策を提供する必要性が存在している。
従って、本発明の目的は、既知のクラッチ装置を、製造の費用が下がり、より小型であるのが特徴となるように、磨きを掛け開発することである。
この課題は、本発明による、請求項1の特徴記載部分に述べる特性を備えた包括的なクラッチ装置によって解決される。本発明のクラッチ装置は、クラッチを動かすための圧力を発生させるための圧力ピストンを有し、前記圧力ピストンはハウジング内で滑動するように案内されており、前記ハウジングと前記圧力ピストンとは圧力室を取り囲み、前記圧力室は、圧力を発生させるために加圧媒体によって加圧できるようになっており、前記圧力ピストン上に反作用圧力を発生させるためのバランスピストンを有し、前記バランスピストンは、前記クラッチが前記圧力ピストンの滑動方向に動かされるとき、前記ハウジングに対して基本的に動かないように保持されており、前記ハウジングと前記圧力ピストンと前記バランスピストンとは、反作用圧力を発生させるために反作用加圧媒体によって加圧することのできるバランス室を取り囲んでおり、掛け止め機構は、前記クラッチが前記圧力ピストンの滑動方向に動かされるとき、基本的に、前記バランスピストンを前記ハウジングに対して動かないように保持することに特徴を有する。
本発明の有用な実施形態及びその他の開発内容は、従属請求項に述べられている。
本発明の基本的な概念は、クラッチを作動させる際、基本的にバランスピストンをハウジングに対して動かないように保持するために、掛け止め機構または捕捉機構を設けることで構成されている。この型式の掛け止め又は捕捉機構を使うと、バランスピストンを迅速且つ容易に組み立てることができる。更に、掛け止め又は捕捉機構は他の多くの用途で既知なので、確実に、低コストで製造し、省スペースで設計することができる。
本発明の有用な改良型は、ハウジングに割り当てられた少なくとも1つの第1型の掛け止め要素と、バランスピストンに割り当てられた少なくとも1つの第2型の掛け止め要素を備え、前記第1型及び第2型の掛け止め要素が互いに掛け止め又は捕捉係合するようになっている掛け止め又は捕捉機構で構成されており、以後、簡単のため、掛け止め又は捕捉機構を掛け止め機構と呼ぶことにする。この改良型は、ラッチ又はキャッチロックの最も簡単な形態を呈しているので、複雑なツイストキャッチ又はスクリューキャッチ機構よりも好適であるが、勿論これらも考えられる。
この改良型のある特定の実施形態では、本発明は、バランスピストンの構成部品となる第2型の掛け止め要素を提供している。しかし場合によっては、第2型の掛け止め要素が別体のバランスピストン保持装置の構成部品であると好都合なこともあり、恐らくこれが特に設けられている場合にはそうである。必要ならば、両方の改良型を組み合わせて利用することもできる。
いずれの場合も、提示された課題への解決策が提供される。
ハウジングが、基本的に軸に関し回転対称に設計され、基本的に円筒形ジャケットのような形をした中心部を備えており、中心部の外側壁は、基本的に円形に設計されている圧力ピストンの内側壁を、圧力ピストンが軸方向に滑動するように案内し、中心部の上には、クラッチを圧力ピストンの軸方向の滑動方向に作動させる際には、同様に円形に設計されているバランスピストンが動かないように保持される場合で、特に、図4に示されているように現在の技術による多板クラッチ装置を含んでいる場合には、本発明によれば、中心部の内側壁又は外側壁を基本的に同軸に回転する溝である第1型の掛け止め要素と、前記回転する溝と係合してロックすることのできる少なくとも1つの掛け止めクリップ又はデテントを備えている第2型の掛け止め要素とが提供される。
前記少なくとも1つの掛け止めクリップ又はデテントは、バランスピストン又はバランスピストン保持装置から基本的に軸方向に離れているフィンガの端部に形成されるのが望ましい。フィンガの端部に取り付けられている多数のこれら掛け止めクリップは、通常、バランスピストン又はバランスピストン保持装置の円形の端部に同軸に取り付けられている。この他、本発明によれば、同軸に回転するよう設計された単一の掛け止めクリップも提供されている。
本発明の別の実施形態では、更に、図4のバランスピストンと同様なバランスピストンと嵌合するよう設計されている、円形であるのが望ましいバランスピストン保持装置が提供されている。
本発明の3つの代表的な実施形態を図面に示して、現在の技術による多板クラッチ装置の1つの実例と比較することとする。
発明の実施の形態
本発明の代表的な実施形態を、以下に更に詳しく説明する。
本発明の全ての代表的な実施形態は、上に詳細に説明し、図4に示している既知の多板クラッチ装置から進化させたものである。従って、以下に記載する多板クラッチ装置の全ての代表的実施形態に関し、全ての個々の構成要素は全く同じに説明される。同じ構成要素を割り当て易くするために、全ての図面で、同じ構成要素には同じ参照番号を付している。
以下に言及する全ての多板クラッチ装置は、基本的に軸OXに関し回転対称になるよう設計され、駆動軸(図示せず)に駆動端部22で接合されているハウジングを備えており、ハウジングは、基本的に中空の円筒形の外側プレートディスクキャリア5と、前記基本的に中空の円筒形の外側プレートディスクキャリア5と同軸で、その中に配置されている基本的に中空の円筒形中心部とで構成され、前記中心部には、本発明による改良に基づく本発明の異なる代表的実施形態の各図面で、15.1から15.3の異なる参照番号が割り当てられている。
更に、図4に示す現在の技術による多板クラッチ装置に対応する、図1から図3に示す多板クラッチ装置は、先に述べた軸OXに関し基本的に回転対称に設計され、駆動軸(図示せず)に駆動端部23で接続されている内側プレートディスクキャリア7を備えている。
更に、ディスクパック4を形成する3つの外側ディスクプレート及び3つの内側ディスクプレート6及び8が備えられており、ディスクプレート6、8は、それぞれ外側及び内側ディスクプレートキャリア5及び7に、基本的にはきつく、但し限定された軸方向運動ができるように取り付けられている。
ディスクパック4の一方の端部に位置し、軸方向の運動がその端部で係止リング27によって拘束されている外側ディスクプレート、いわゆるエンドプレートに、図1、2、3では、図4と同じく参照番号9が付されている。ディスクパック4の他方の端部に位置している内側ディスクプレート、いわゆる圧力プレートに、図1、2、3では、図4と同じく参照番号10が付されている。
多板クラッチ装置の構成部品は、この他に、圧力ピストン1とバランスピストン2がある。本発明による全ての代表的実施形態(図1から3)では、圧力ピストン1に、クラッチを動かすための環状に設計された圧力要素14が設けられている。
圧力ピストン1の内側壁は、基本的に円筒形ジャケットのような形をした中心部15.1(図1a)、15.2(図2)、15.3(図3a)の外側壁上を滑動するように案内されている。ハウジングと圧力ピストン1は、協働していわゆる圧力室11を形成するように配置されている。この圧力室11は、その周囲に対し2つのシールリング20、21によってシールされている。図1から3を見ると分かるように、中心部15.1、15.2、15.3内には圧力油チャネルが設けられている。
図1から3の全ての実施形態において、バランスピストン2は基本的に円形に設計されており、各圧力ピストン1及びハウジングの各中心部15.1、15.2、15.3と協働して、いわゆるバランス室12を取り囲むように配置されている。
バランス室12をその周囲に対してシールするため、シールリップ19が、圧力ピストン1とバランスピストン2の互いに隣接する環状壁の間に設けられている。
現在の技術に相当する代表的な実施形態と同じく、本発明による全ての各実施形態においても、スプリングアッセンブリ3は、バランスピストン2の内壁で支持され、クラッチを作動させる際に圧力ピストン1が滑動する方向とは逆に、圧力ピストン1に対抗して保持されており、各バランス室12内に配置されている。
図1a及び図1bは、本発明による掛け止め機構を備えた、自動車用クラッチ装置の第1の代表的実施形態を示している。本例では、掛け止め機構は、基本的にリング状のバランスピストン2の内側周辺上に、独立した(ここでは6個の)フィンガ30.1を、等間隔に、基本的に先端を軸方向に向けて配置し、各フィンガの自由端上に、掛け止めクリップ即ちデテント31.1を半径方向外側に向いた返りとして形成することによって実現されている。これに対応して、中心部15.1には、円筒ジャケット形状の壁の内側に同軸に周回する溝28.1を巡らし、半径方向内側に向いた、同軸に周回する掛け止めクリップ即ちデテント29.1を形成して、この溝に、フィンガ30.1の先端に形成されたバランスピストン2の掛け止めクリップ31.1が係合してバランスピストン2をハウジングにロックすることができるようになっている。なお、個々のフィンガ30.1の間の空隙は、補償油25用の補償油チャネル18.1の役も果たしている。
図2は、本発明による掛け止め機構を備えた自動車用クラッチ装置の第2の代表的実施形態を示している。本実施形態では、掛け止め機構は、基本的にリング状のバランスピストン2の内側周辺上に、独立したフィンガ30.2を、基本的に先端を軸方向に向けて配置し、各フィンガの自由端上に、掛け止めクリップ即ちデテント31.2を半径方向内側に向いた返りとして形成することによって実現されている。これに対応して、中心部15.2には、円筒ジャケット形状の壁の外側に同軸に周回する溝28.2を巡らし、半径方向外側に向いた、同軸に周回する掛け止めクリップ即ちデテント29.2を形成している。この場合も、個々のフィンガ30.2の間の空隙は、補償油25用の補償油チャネル18.2の役も果たしている。
図3a及び図3bは、本発明による掛け止め機構を備えた自動車用クラッチ装置の第3の代表的実施形態を示している。ここで示されている例では、掛け止め機構は、バランスピストン2に、基本的にリング状の専用の円筒形リテイニングリング32.3を設けることによって実現されている。このリテイニングリング32.3の一方の端部は、バランスピストン2の内側周辺を囲んでいる。先に述べたバランスピストン2と同じ様に、このリテイニングリング32.3の他方の側はフィンガ30.3となり、フィンガは基本的に軸方向に伸び、フィンガの端部は、ここでは図1a及び図1bに示した第1の代表的実施形態と同じ掛け止めクリップ即ちデテント31.3を形成している。先の例とは異なり、外向きの掛け止めクリップ即ちデテント31.3は、周回形状(円周方向に連続する形状)に設計されているので、フィンガ30.3の端部は閉じたリングを形成している。当業者には自明であるように、この型式のリテイニングリング32.3の掛け止め機構は、先に述べたバランスピストン2の掛け止め機構と同様に設計することもできるし、その逆でもよい。
完全を期すために述べるが、これに対応して、中心部15.3には、円筒ジャケット形状の壁の内側に同軸に周回する溝28.3を巡らし、半径方向内側に向いた、同軸に周回する掛け止めクリップ即ちデテント29.3を形成して、この溝28.3に、フィンガ30.3の先端に形成されている、リテイニングリング32.2の掛け止めクリップ即ちデテント31.3が係合してバランスピストン2をハウジングにロックすることができるようになっている。
本発明の上記詳細な説明は、解説を目的としたものである。当業者には自明であるように、本発明の範囲から逸脱することなく様々な変更及び修正を施すことができる。従って、上記説明は全て、解説のためのもので限定する意図はなく、本発明の範囲は、特許請求の範囲に述べる事項によってのみ定義されるものと理解されたい。
本発明による多板クラッチ装置の第1の代表的実施形態であり、本発明によるバランスピストンを、軸断面で半分だけ示している。 図1aに示した本発明によるバランスピストンの斜視図である。 本発明による多板クラッチ装置の第2の代表的実施形態であり、本発明によるバランスピストンを、軸断面で半分だけ示している。 本発明による多板クラッチ装置の第3の代表的実施形態であり、バランスピストン用の本発明によるリテイニングリングを、軸断面で半分だけ示している。 図3aに示した本発明によるリテイニングリングの斜視図である。 現在の技術による多板クラッチ装置の代表的実施形態であり、軸断面で半分だけ示している。
1 圧力ピストン 2 バランスピストン
3 スプリングアッセンブリ 4 ディスクパック
5 外側プレートディスクキャリア 6 外側プレートディスク
7 内側プレートディスクキャリア 8 内側プレートディスク
9 エンドプレート 10 圧力プレート
11 圧力室 12 バランス室
15 中心部 27 係止リング
28 溝 29、31 掛け止めクリップ
30 フィンガー 32 リテイニングリング

Claims (11)

  1. クラッチ装置において、
    クラッチ(4、9、8、10、27)を動かすための圧力を発生させるための圧力ピストン(1)を有し、前記圧力ピストン(1)はハウジング(5、15.1、15.2)内で滑動するように案内されており、前記ハウジング(5、15.1、15.2)と前記圧力ピストン(1)とは圧力室(11)を取り囲み、前記圧力室は、圧力を発生させるために加圧媒体(24)によって加圧できるようになっており、前記圧力ピストン(1)上に反作用圧力を発生させるためのバランスピストン(2)を有し、前記バランスピストン(2)は、リング状であり、前記バランスピストン(2)は、前記クラッチ(4、9、8、10、27)が前記圧力ピストン(1)の滑動方向に動かされるとき、前記ハウジング(5、15.1、15.2)に対して動かないように保持されており、前記ハウジング(5、15.1、15.2)と前記圧力ピストン(1)と前記バランスピストン(2)とは、反作用圧力を発生させるために反作用加圧媒体によって加圧することのできるバランス室(12)を取り囲んでおり
    け止め機構(28.1、28.2、29.1、29.2、30.1、30.2、31.1、31.2)は、前記クラッチ(4、9、8、10、27)が前記圧力ピストン(1)の滑動方向に動かされるとき、前記バランスピストン(2)を前記ハウジング(5、15.1、15.2)に対して動かないように保持し、
    前記掛け止め機構(28.1、28.2、29.1、29.2、30.1、30.2、31.1、31.2)は、前記ハウジング(5、15.1、15.2)の一部である少なくとも1つの第1型の掛け止め要素(28.1、28.2、29.1、29.2)と、前記バランスピストン(2)の一部である少なくとも1つの第2型の掛け止め要素とを備えており、前記第2型の掛け止め要素は、軸方向に延在する複数のフィンガ(30.1、30.2)の端部に、半径方向に延在する複数のデテント(31.1、31.2)を有し、前記第1型及び第2型の掛け止め要素(28.1、28.2、29.1、29.2、30.1、30.2、31.1、31.2)が、互いに掛け止め係合するようになっており、
    前記バランスピストン(2)は、前記複数のフィンガ(30.1、30.2)の間に配置された複数の油チャネル(18.1,18.2)を有することを特徴とするクラッチ装置。
  2. クラッチ装置において、
    クラッチ(4、9、8、10、27)を動かすための圧力を発生させるための圧力ピストン(1)を有し、前記圧力ピストン(1)はハウジング(5、15.3)内で滑動するように案内されており、前記ハウジング(5、15.3)と前記圧力ピストン(1)とは圧力室(11)を取り囲み、前記圧力室は、圧力を発生させるために加圧媒体(24)によって加圧できるようになっており、前記圧力ピストン(1)上に反作用圧力を発生させるためのバランスピストン(2)を有し、前記バランスピストン(2)は、リング状であり、前記バランスピストン(2)は、前記クラッチ(4、9、8、10、27)が前記圧力ピストン(1)の滑動方向に動かされるとき、前記ハウジング(5、15.3)に対して動かないように保持されており、前記ハウジング(5、15.3)と前記圧力ピストン(1)と前記バランスピストン(2)とは、反作用圧力を発生させるために反作用加圧媒体によって加圧することのできるバランス室(12)を取り囲んでおり、
    円筒形のバランスピストン保持装置(32.3)は、前記バランスピストンの内側周辺を囲む一方の端部を有し、かつ、軸方向に延在するフィンガと、前記フィンガ(30.)の端部において、半径方向に延在しているデテント(31.3)とを有し、
    掛け止め機構(28.3、29.3、30.3、31.3)は、前記クラッチ(4、9、8、10、27)が前記圧力ピストン(1)の滑動方向に動かされるとき、前記バランスピストン(2)を前記ハウジング(5、15.3)に対して動かないように保持し、
    前記掛け止め機構(28.3、29.3、30.3、31.3)は、前記ハウジング(5、15.3)の一部である少なくとも1つの第1型の掛け止め要素(28.3、29.3)と、前記バランスピストン保持装置(32.3)の一部である少なくとも1つの第2型の掛け止め要素(30.3、31.3)とを備えており、前記第1型及び第2型の掛け止め要素(28.3、29.3、30.3、31.3)が、互いに掛け止め係合するようになっていることを特徴とするクラッチ装置。
  3. クラッチ装置において、
    クラッチ(4、9、8、10、27)を動かすための圧力を発生させるための圧力ピストン(1)を有し、前記圧力ピストン(1)はハウジング(5、15.1、15.2、15.3)内で滑動するように案内されており、前記ハウジング(5、15.1、15.2、15.3)と前記圧力ピストン(1)とは圧力室(11)を取り囲み、前記圧力室は、圧力を発生させるために加圧媒体(24)によって加圧できるようになっており、前記圧力ピストン(1)上に反作用圧力を発生させるためのバランスピストン(2)を有し、前記バランスピストン(2)は、リング状であり、前記バランスピストン(2)は、前記クラッチ(4、9、8、10、27)が前記圧力ピストン(1)の滑動方向に動かされるとき、前記ハウジング(5、15.1、15.2、15.3)に対して動かないように保持されており、前記ハウジング(5、15.1、15.2、15.3)と前記圧力ピストン(1)と前記バランスピストン(2)とは、反作用圧力を発生させるために反作用加圧媒体によって加圧することのできるバランス室(12)を取り囲んでおり
    け止め機構(28.1、28.2、28.3、29.1、29.2、29.3、30.1、30.2、30.3、31.1、31.2、31.3)は、前記クラッチ(4、9、8、10、27)が前記圧力ピストン(1)の滑動方向に動かされるとき、前記バランスピストン(2)を前記ハウジング(5、15.1、15.2、15.3)に対して動かないように保持し、
    前記掛け止め機構(28.1、28.2、28.3、29.1、29.2、29.3、30.1、30.2、30.3、31.1、31.2、31.3)は、前記ハウジング(5、15.1、15.2、15.3)の一部である少なくとも1つの第1型の掛け止め要素(28.1、28.2、28.3、29.1、29.2、29.3)と、前記バランスピストン(2)又はバランスピストン保持装置(32.3)の一部である少なくとも1つの第2型の掛け止め要素とを備えており、前記第2型の掛け止め要素は、軸方向に延在する複数のフィンガ(30.1、30.2、30.3)の端部に、半径方向に延在する複数のデテント(31.1、31.2、31.3)を有し、前記第1型及び第2型の掛け止め要素(28.1、28.2、28.3、29.1、29.2、29.3、30.1、30.2、30.3、31.1、31.2、31.3)が、互いに掛け止め係合するようになっており、
    複数の油チャネル(18.1,18.2、18.3)が前記複数のフィンガ(30.1、30.2)の間に配置されていることを特徴とするクラッチ装置。
  4. 前記ハウジング(5、15.1、15.2、15.3)は、軸(OX)に関し回転対称に設計され、円筒形の中心部(15.1、15.2、15.3)を備えており、前記中心部の外側壁は、円筒形に設計されている前記圧力ピストン(1)の内側壁を、前記圧力ピストン(1)が軸方向に滑動するように案内し、前記中心部(15.1、15.2、15.3)の上には、前記クラッチ(4、9、8、10、27)を前記圧力ピストン(1)の軸方向の滑動方向に作動させる際には、円筒形に設計されている前記バランスピストン(2)又は前記バランスピストン保持装置(32.3)が動かないように保持されており、更に、前記第1型の掛け止め要素は、前記中心部(15.1、15.2、15.3)の内側壁又は外側壁内で同軸に周回する溝(28.1、28.2、28.3)であり、前記第2型の掛け止め要素は、前記周回する溝と係合しロックすることができる少なくとも1つの掛け止めクリップ(31.1、31.2、31.3)を備えていることを特徴とする、請求項1ないし3の何れかに記載のクラッチ装置。
  5. 少なくとも1つの、前記掛け止めクリップ(31.1、31.2、31.3)が、前記バランスピストン(2)又は前記バランスピストン保持装置(32.3)から軸方向に離れているフィンガ(30.1、30.2、30.3)の端部に形成されていることを特徴とする、請求項に記載のクラッチ装置。
  6. 前記掛け止めクリップ(31.1、31.2、31.3)は、前記軸と同軸に回転するように設計されていることを特徴とする、請求項4又は5の何れかに記載のクラッチ装置。
  7. 前記バランスピストン保持装置(32.3)は環状に設計されていることを特徴とする、請求項4、5又は6に記載のクラッチ装置。
  8. 請求項1ないしの何れかに記載のクラッチ装置用のバランスピストン(2)。
  9. 請求項2ないしの何れかに記載のクラッチ装置用のバランスピストン保持装置(32.3)。
  10. 前記半径方向に延在するデテント(31.2)は、半径方向内側へ延在することを特徴とする、請求項1、2又は3に記載のクラッチ装置。
  11. 前記半径方向に延在するデテント(31.1、31.3)は、半径方向外側へ延在することを特徴とする、請求項1、2又は3に記載のクラッチ装置。
JP2009160387A 2002-05-10 2009-07-07 クラッチ装置 Expired - Fee Related JP5084792B2 (ja)

Applications Claiming Priority (2)

Application Number Priority Date Filing Date Title
EP02010541.7 2002-05-10
EP02010541A EP1361374B1 (de) 2002-05-10 2002-05-10 Kupplungseinrichtung für ein Kraftfahrzeug oder dergleichen

Related Parent Applications (1)

Application Number Title Priority Date Filing Date
JP2003128588A Division JP4373124B2 (ja) 2002-05-10 2003-05-07 クラッチ装置

Publications (2)

Publication Number Publication Date
JP2009264593A JP2009264593A (ja) 2009-11-12
JP5084792B2 true JP5084792B2 (ja) 2012-11-28

Family

ID=29225638

Family Applications (2)

Application Number Title Priority Date Filing Date
JP2003128588A Expired - Fee Related JP4373124B2 (ja) 2002-05-10 2003-05-07 クラッチ装置
JP2009160387A Expired - Fee Related JP5084792B2 (ja) 2002-05-10 2009-07-07 クラッチ装置

Family Applications Before (1)

Application Number Title Priority Date Filing Date
JP2003128588A Expired - Fee Related JP4373124B2 (ja) 2002-05-10 2003-05-07 クラッチ装置

Country Status (5)

Country Link
US (1) US6935481B2 (ja)
EP (1) EP1361374B1 (ja)
JP (2) JP4373124B2 (ja)
KR (1) KR20030087529A (ja)
DE (1) DE50213287D1 (ja)

Families Citing this family (9)

* Cited by examiner, † Cited by third party
Publication number Priority date Publication date Assignee Title
GB0508275D0 (en) * 2005-04-25 2005-06-01 Visual Edge Ltd Fastening system
DE102006057915A1 (de) 2006-10-11 2008-05-15 Borg Warner Inc., Auburn Hills Kupplung und Kupplungsanordnung mit einer solchen Kupplung
US9464808B2 (en) * 2008-11-05 2016-10-11 Parker-Hannifin Corporation Nozzle tip assembly with secondary retention device
US8453819B2 (en) 2010-02-22 2013-06-04 Twin Disc, Inc. Balanced clutch system
DE102018201781A1 (de) 2018-02-06 2019-08-08 Zf Friedrichshafen Ag Kupplungsvorrichtung
DE102018201782A1 (de) 2018-02-06 2019-08-08 Zf Friedrichshafen Ag Kupplungsanordnung
KR102089482B1 (ko) * 2018-06-27 2020-04-23 평화오일씰공업 주식회사 자동변속기용 클러치 유니트
US11512747B2 (en) * 2020-01-09 2022-11-29 Cnh Industrial America Llc Balanced piston clutch
DE102020128743B4 (de) 2020-07-22 2024-02-22 Schaeffler Technologies AG & Co. KG Kupplungseinrichtung

Family Cites Families (12)

* Cited by examiner, † Cited by third party
Publication number Priority date Publication date Assignee Title
JPS54163257U (ja) * 1978-05-08 1979-11-15
JPS5682313U (ja) * 1979-11-30 1981-07-03
US4813808A (en) * 1983-08-19 1989-03-21 Gkn Automotive Components Inc. Axial retaining member and method for interconnecting male and female splined members
JP2832440B2 (ja) * 1988-11-04 1998-12-09 アイシン・エィ・ダブリュ株式会社 自動変速機のクラツチの配設構造
US4898493A (en) * 1989-03-16 1990-02-06 Karl Blankenburg Method and apparatus for assembling parts
US5048656A (en) * 1990-08-29 1991-09-17 Eaton Corporation Fluid operated clutch control system having latch member
DE4035686C1 (ja) * 1990-11-09 1992-01-23 Ford-Werke Ag, 5000 Koeln, De
JPH04191530A (ja) * 1990-11-21 1992-07-09 Nissan Motor Co Ltd 湿式多板クラッチ装置
US5172799A (en) * 1991-02-08 1992-12-22 Toyota Jidosha Kabushiki Kaisha Centrifugal hydraulic cancel mechanism for the rotating clutch
JP2768133B2 (ja) * 1992-05-18 1998-06-25 三菱自動車工業株式会社 流体圧クラッチ装置
US6202814B1 (en) * 1999-08-24 2001-03-20 Borgwarner Inc. Automatic transmission having grounded clutch with convergent cooling
JP6003229B2 (ja) * 2012-05-24 2016-10-05 コベルコ建機株式会社 建設機械のブーム駆動装置

Also Published As

Publication number Publication date
DE50213287D1 (de) 2009-04-02
EP1361374A1 (de) 2003-11-12
US6935481B2 (en) 2005-08-30
EP1361374B1 (de) 2009-02-18
KR20030087529A (ko) 2003-11-14
JP4373124B2 (ja) 2009-11-25
JP2004003648A (ja) 2004-01-08
US20050072647A1 (en) 2005-04-07
JP2009264593A (ja) 2009-11-12

Similar Documents

Publication Publication Date Title
JP5084792B2 (ja) クラッチ装置
KR102320710B1 (ko) 습식 이중 클러치용 유압식 제어 시스템
KR102320711B1 (ko) 제어 시스템 상에 지지된 습식 이중 클러치
JP2005527758A (ja) 油圧により操作可能な多重クラッチを有する自動車のための段切替え変速機
JP5282316B2 (ja) シール保持体装置及びシール保持体装置を備えた力伝達装置
JP7293866B2 (ja) 摩擦締結装置
KR102382445B1 (ko) 센터링된 힘 전달 부재를 구비한 습식 이중 클러치
JP2006010080A (ja) 発進クラッチ及びトルク検出装置を有する固定ディスクアセンブリ
JP7255357B2 (ja) 摩擦締結装置
US20080121483A1 (en) Hydrodynamic torque converter
JP2011002054A (ja) 自動変速機の遠心油圧キャンセル構造
JP7051272B2 (ja) 摩擦締結装置
JP2790063B2 (ja) メカニカルシール
JP6779083B2 (ja) トルクコンバータ
JP6976775B2 (ja) トルクコンバータ
CN116438386A (zh) 具有复位弹簧元件的摩擦设备和变速器设备
US10634228B2 (en) Torque converter
US11365769B2 (en) Energy efficient A/C compressor clutch
KR950006273A (ko) 클러치 릴리스 아셈불리
JP7232649B2 (ja) プーリ装置
JP2000039035A (ja) 環状回転部材のスプリング保持構造
JP2005083558A (ja) 油圧式クラッチ遮断装置
JP2007155071A (ja) 車両用自動変速機のピストン
JP6060929B2 (ja) 自動変速機
CN114096757A (zh) 用于多片制动器的致动装置以及包括致动装置和多片制动器的传动装置

Legal Events

Date Code Title Description
A521 Written amendment

Free format text: JAPANESE INTERMEDIATE CODE: A523

Effective date: 20100427

A131 Notification of reasons for refusal

Free format text: JAPANESE INTERMEDIATE CODE: A131

Effective date: 20111209

A977 Report on retrieval

Free format text: JAPANESE INTERMEDIATE CODE: A971007

Effective date: 20111215

A601 Written request for extension of time

Free format text: JAPANESE INTERMEDIATE CODE: A601

Effective date: 20120308

A602 Written permission of extension of time

Free format text: JAPANESE INTERMEDIATE CODE: A602

Effective date: 20120313

A521 Written amendment

Free format text: JAPANESE INTERMEDIATE CODE: A523

Effective date: 20120405

TRDD Decision of grant or rejection written
A01 Written decision to grant a patent or to grant a registration (utility model)

Free format text: JAPANESE INTERMEDIATE CODE: A01

Effective date: 20120806

A01 Written decision to grant a patent or to grant a registration (utility model)

Free format text: JAPANESE INTERMEDIATE CODE: A01

A61 First payment of annual fees (during grant procedure)

Free format text: JAPANESE INTERMEDIATE CODE: A61

Effective date: 20120904

R150 Certificate of patent or registration of utility model

Ref document number: 5084792

Country of ref document: JP

Free format text: JAPANESE INTERMEDIATE CODE: R150

Free format text: JAPANESE INTERMEDIATE CODE: R150

FPAY Renewal fee payment (event date is renewal date of database)

Free format text: PAYMENT UNTIL: 20150914

Year of fee payment: 3

R250 Receipt of annual fees

Free format text: JAPANESE INTERMEDIATE CODE: R250

R250 Receipt of annual fees

Free format text: JAPANESE INTERMEDIATE CODE: R250

R250 Receipt of annual fees

Free format text: JAPANESE INTERMEDIATE CODE: R250

R250 Receipt of annual fees

Free format text: JAPANESE INTERMEDIATE CODE: R250

R250 Receipt of annual fees

Free format text: JAPANESE INTERMEDIATE CODE: R250

LAPS Cancellation because of no payment of annual fees