JP5073775B2 - 塗料管路用絶縁装置、及び、それを用いた塗装装置 - Google Patents

塗料管路用絶縁装置、及び、それを用いた塗装装置 Download PDF

Info

Publication number
JP5073775B2
JP5073775B2 JP2010098665A JP2010098665A JP5073775B2 JP 5073775 B2 JP5073775 B2 JP 5073775B2 JP 2010098665 A JP2010098665 A JP 2010098665A JP 2010098665 A JP2010098665 A JP 2010098665A JP 5073775 B2 JP5073775 B2 JP 5073775B2
Authority
JP
Japan
Prior art keywords
paint
insulating
path
liquid
filling
Prior art date
Legal status (The legal status is an assumption and is not a legal conclusion. Google has not performed a legal analysis and makes no representation as to the accuracy of the status listed.)
Expired - Fee Related
Application number
JP2010098665A
Other languages
English (en)
Other versions
JP2010184241A (ja
Inventor
卓志 久本
竹雄 町田
Current Assignee (The listed assignees may be inaccurate. Google has not performed a legal analysis and makes no representation or warranty as to the accuracy of the list.)
Taikisha Ltd
Original Assignee
Taikisha Ltd
Priority date (The priority date is an assumption and is not a legal conclusion. Google has not performed a legal analysis and makes no representation as to the accuracy of the date listed.)
Filing date
Publication date
Application filed by Taikisha Ltd filed Critical Taikisha Ltd
Priority to JP2010098665A priority Critical patent/JP5073775B2/ja
Publication of JP2010184241A publication Critical patent/JP2010184241A/ja
Application granted granted Critical
Publication of JP5073775B2 publication Critical patent/JP5073775B2/ja
Anticipated expiration legal-status Critical
Expired - Fee Related legal-status Critical Current

Links

Images

Landscapes

  • Electrostatic Spraying Apparatus (AREA)
  • Spray Control Apparatus (AREA)

Description

本発明は塗料管路用の絶縁装置、及び、それを用いた塗装装置に関し、詳しくは、塗料を通流させる塗料管路の途中における絶縁対象部分を塗料に代えての洗浄液の通流により洗浄する洗浄手段を設けるとともに、電気絶縁性を有する絶縁流体が充満する絶縁部を塗料通流が断たれた状態の前記絶縁対象部分に形成する絶縁部形成手段を設けてある塗料管路用絶縁装置、及び、それを用いた塗装装置に関する。
上記の如き塗料管路用絶縁装置では、塗料管路中の導電性塗料を通じての電気的漏洩を防止する必要が生じたとき、塗料管路途中の絶縁対象部分を洗浄液の通流により洗浄し、その洗浄後の絶縁対象部分に上記絶縁部(すなわち、絶縁流体の充満部)を形成することで、その絶縁部において塗料管路中における導電性塗料の連続を断ち、これにより、塗料管路中の導電性塗料を通じての電気的漏洩を防止するが、従来、この種の塗料管路用絶縁装置では、上記絶縁部を形成するのに、それに先立つ洗浄工程で水やシンナなどの洗浄液の通流に続き残留洗浄液を除去する洗浄用空気を絶縁対象部分に通流させることにおいて、その洗浄工程の最後に通流させる洗浄用空気を絶縁対象部分の前後の仕切弁の閉弁により絶縁対象部分に封じ込めることで、その封じ込め空気を絶縁流体として絶縁部を形成していた(例えば、下記特許文献1参照)。
特許2555431号公報
しかし、上記の如く洗浄液及び洗浄用空気の通流による洗浄に続いて単に洗浄用空気を封じ込めることだけで絶縁部を形成する従来の塗料管路用絶縁装置では、洗浄液の通流で除去し切れなかった塗料や洗浄用空気の通流で除去し切れなかった洗浄液が絶縁部(すなわち、洗浄用空気を封じ込めた絶縁対象部分)に残留したり、それら残留塗料の溶剤蒸気や残留洗浄液の蒸気が拡散状態で絶縁部に残存して、それが原因で絶縁部の電気絶縁性が低くなる虞がある問題があった。
また、このような残留物による電気絶縁性の低下を回避して絶縁部の電気絶縁性を高く確保するには、洗浄用空気の封じ込めによる絶縁部の形成に先立つ洗浄工程で洗浄液及び洗浄用空気をかなりの長時間にわたって絶縁対象部分に通流させなければならず、そのことで絶縁部の形成が遅くなって絶縁部形成後の工程への移行が遅くなる問題が生じる。
この実情に鑑み、本発明の主たる課題は、合理的な形成形態をもって絶縁部を形成することで上記の如き問題を効果的に解消する点にある。
〔1〕本発明の第1特徴構成は塗料管路用絶縁装置に係り、その特徴は、
塗料を通流させる塗料管路の途中における絶縁対象部分を塗料に代えての洗浄液の通流により洗浄する洗浄手段を設けるとともに、
電気絶縁性を有する絶縁流体が充満する絶縁部を塗料通流が断たれた状態の前記絶縁対象部分に形成する絶縁部形成手段を設ける構成において、
前記絶縁部形成手段を構成するのに、前記塗料管路において前記絶縁対象部分の両端部夫々に仕切弁を介装するとともに、
電気絶縁性を有する絶縁液を前記絶縁流体として前記絶縁対象部分に供給する絶縁用給液路と、この絶縁液を前記絶縁対象部分から排出する絶縁用排液路とを、それらの前記絶縁対象部分に対する接続箇所が管路長手方向で離間する状態にして、前記仕切弁どうしの間で前記絶縁対象部分に接続し、
これら絶縁用給液路及び絶縁用排液路に開閉弁を介装してある点にある。
つまり、この第1特徴構成では、洗浄液の通流による洗浄に続き、上記開閉弁を開いて絶縁用給液路からの絶縁液供給と絶縁用排液路からの絶縁液排出とにより絶縁対象部分(厳密には、両路の接続箇所の間の部分)に絶縁液を通流させることで、絶縁対象部分に絶縁液を流動状態で充満させて絶縁部を形成する。
したがって、絶縁部の形成において絶縁対象部分における残留物(すなわち、洗浄液の通流で除去し切れなかった塗料や通流後の残留洗浄液、あるいは、残留塗料の溶剤蒸気や残留洗浄液の蒸気など)を絶縁液の上記通流により絶縁対象部分から除去することができ、先述の従来装置の如く絶縁対象部分の前後の仕切弁により洗浄用空気を絶縁流体として単に絶縁対象部分に封じ込めることだけで絶縁部を形成するのに比べ、絶縁対象部分における残留物を絶縁部の形成過程でより確実かつより効率的に除去することができる。
したがって、従来装置に比べ残留物による絶縁性低下の虞の一層少ない良好な絶縁部を確実に形成することができ、また、絶縁部の形成過程で残留物を確実かつ効率的に除去できることで、絶縁部の形成に先立つ洗浄工程も短時間のもので済ませることができて、絶縁部形成後の工程への移行も迅速にすることができる。
なお、第1特徴構成の実施において、絶縁液としては実用上十分な電気絶縁性を有するものであれば種々の液体を使用することができるが、その絶縁液は塗料に悪影響を与えないもの(例えば、ブチルアセテートなど)が望ましい。
また、第1特徴構成の実施においては、絶縁用給液路からの絶縁液供給と絶縁用排液路からの絶縁液排出とによる絶縁対象部分での絶縁液の通流を、絶縁部の必要期間の全体を通じ継続して又は間欠的に実施する形態、あるいは、その通流を絶縁部形成後の一定期間のみ継続的に実施して、その後は絶縁液を絶縁対象部分に封じ込めて絶縁部を維持する形態、あるいはまた、その通流を絶縁部の形成段階でのみ実施し、その後は絶縁液を絶縁対象部分に封じ込めて絶縁部を維持する形態など、種々の実施形態を採ることができる。
洗浄手段は、従来装置と同様、洗浄工程で洗浄液の通流に続き洗浄用気体(例えば空気)を通流するものにしてもよく、また、洗浄用気体の通流を省略して洗浄工程で洗浄液のみを通流するものにしてもよい。
絶縁対象部分を設ける塗料管路としては、代表的には塗装装置における塗装ガンへの塗料供給路を挙げることができるが、これに限られるものではなく、例えばタンクなどへの塗料の輸送管路などであってもよい。
〔2〕本発明の第2特徴構成は、第1特徴構成の実施に好適な実施形態を特定するものであり、その特徴は、
絶縁液を貯留する液タンクを設け、この液タンクから前記絶縁用給液路を通じて前記絶縁対象部分に絶縁液を供給するとともに、この絶縁液供給に伴い前記絶縁対象部分から前記絶縁用排液路へ排出される絶縁液を前記液タンクに戻す構成にしてある点にある。
つまり、この第2特徴構成によれば、絶縁液を循環使用することから、絶縁液の消費量を少なくすることができて装置の運転コストを安価にすることができ、また、絶縁液の廃棄処理も不要ないし軽微なものにすることができる。
なお、第2特徴構成の実施においては、絶縁用排液路からの戻り絶縁液とともに液タンクに持ち込まれる除去残留物(絶縁対象部分から除去した残留物)を絶縁液から分離して絶縁用給液路を通じ絶縁対象部分に送る絶縁液を浄化する分離手段を付加装備するのが望ましい。
また、絶縁用給液路を通じ絶縁対象部分に送る絶縁液の電気伝導度を測定する測定手段を付加装備するのも望ましい。
〔3〕本発明の第3特徴構成は、第1又は第2特徴構成の塗料管路用絶縁装置を用いた塗装装置に係り、その特徴は、
送給タンクから圧送手段により加圧供給される塗料を電圧印加により帯電させた状態で放出する塗装ガンを備え、
この塗装ガンに対し複数の前記送給タンク各々の塗料吐出路を接続するとともに、それら送給タンクのうち前記塗装ガンに対して塗料供給する送給タンクを選択的に切り換えるタンク切換弁を設け、
前記送給タンクの夫々に塗料充填路から分岐した分岐充填路を接続するとともに、複数の前記送給タンクのうち前記塗料充填路からの塗料充填の対象とする送給タンクを選択的に切り換える充填切換弁、及び、前記塗料充填路を通じて前記送給タンクに充填する塗料の塗料種を切り換える塗料切換弁を設け、
この構成において、前記開閉弁を介装した前記絶縁用給液路及び前記絶縁用排液路を接続するとともに前記仕切弁を設けた前記絶縁対象部分を、前記塗料管路としての前記塗料吐出路の夫々及び前記分岐充填路の夫々に設け、
これら絶縁対象部分に対する前記洗浄手段及び前記絶縁部形成手段を装備してある点にある。
つまり、この第3特徴構成の塗装装置では(図18参照)、タンク切換弁11a,11bにより選択したいずれかの送給タンク3A,3Bから塗料吐出路4a,4bを通じて供給される塗料Tを塗装ガン1から放出している間に、塗料切換弁30a〜30nにより選択した塗料Ta〜Tnを塗料充填路13及び各送給タンク3A,3Bに対する分岐充填路13a,13bを通じて、充填切換弁27a,27bにより選択した他の送給タンク3A,3Bに充填する運転形態を採る。
また、各送給タンク3A,3Bからの塗料吐出路4a,4bの夫々及び各送給タンク3A,3Bに対する分岐充填路13a,13bの夫々に上記絶縁対象部分Sを設けるとともに、これら絶縁対象部分Sに対する洗浄手段及び絶縁部形成手段を装備して、塗装ガン1に塗料供給する送給タンク3A,3Bの切り換え、及び、塗料充填の対象とする送給タンク3A,3Bの切り換えに応じ、切り換え後に塗装ガン1に塗料供給する送給タンク3A,3Bへの分岐充填路13a,13bに設けた絶縁対象部分S、及び、切り換え後に塗料充填の対象する送給タンク3A,3Bの塗料吐出路4a,4bに設けた絶縁対象部分Sにおいて選択的に絶縁流体による絶縁部を形成することで、塗料経路中の導電性塗料Tを通じて塗装ガン1での印加電圧が塗料経路の上流側へ漏洩的に及ぶのを防止する。
そして、この第3特徴構成によれば、各部に設ける絶縁対象部分Sの夫々について前述の第1特徴構成(両端部に対する仕切弁の介装、並びに、開閉弁を介装した絶縁用給液路及び絶縁用排液路の接続)を採ることから、先述した従来の塗料管路用絶縁装置を用いて洗浄液及び洗浄用空気の通流に続き単に洗浄用空気を絶縁対象部分に封じ込めることだけで絶縁部を形成するのに比べ、絶縁部の形成過程で絶縁対象部における残留物をより確実かつより効率的に除去することができて、残留物による絶縁性低下の虞の一層少ない良好な絶縁部を確実に形成することができ、これにより、電気漏洩面での安全性に一層優れた塗装装置にすることができる。
また、絶縁部の形成過程で残留物を確実かつ効率的に除去できることで、絶縁部の形成に先立つ洗浄工程も短時間のもので済ませることができ、これにより、塗装ガンに塗料供給する送給タンクを切り換えながら行う塗装作業の作業能率も一層高めることができる。
なお、この種の塗装装置においては、塗装ガンに塗料供給する送給タンクの切り換え時、及び、塗料充填の対象とする送給タンクの切り換え時に塗料切換弁の側からの洗浄液送給により塗料充填路、分岐充填路、送給タンク、塗料吐出路を洗浄する切換時洗浄が一般的に行われることから、第3特徴構成の実施においては、この切換時洗浄の構成を各絶縁対象部分に対する洗浄手段として利用するのが望ましい。
〔4〕本発明の第4特徴構成は、第3特徴構成の実施に好適な実施形態を特定するものであり、その特徴は、
前記タンク切換弁、前記圧送手段、前記充填切換弁、並びに、前記塗料切換弁の動作との連係下において、前記塗料吐出路の夫々及び前記分岐充填路の夫々における前記絶縁対象部分のうち前記絶縁部の形成状態とする絶縁対象部分を自動的に切り換える絶縁切換手段を設け、
この絶縁切換手段は、前記絶縁部の形成状態とした前記絶縁対象部分を前記塗装ガンからの塗料放出の実施中において前記絶縁用給液路及び前記絶縁用排液路を通じての絶縁液の通流状態にする構成にしてある点にある。
つまり、この第4特徴構成によれば、仮に塗装ガンからの塗料放出の開始時点(すなわち、電圧印加の開始時点)において、その開始時点までの絶縁液通流による絶縁部の形成にかかわらず、その絶縁液充填部としての絶縁部に先の洗浄工程での洗浄液が僅かとは言え残存していて、塗装ガンからの塗料放出の開始後、その残存洗浄液の気化により洗浄液の蒸気が絶縁部中に拡がる状況が生じたとしても、塗料放出の実施中における上記通流状態の形成により、絶縁液の流れをもって洗浄液の蒸気を絶縁部から排除することができ、この点で、塗装ガンでの印加電圧が漏洩的に塗料経路の上流側に及ぶことを一層確実に防止し得る絶縁部にすることができて、電気漏洩面で一層高い安全性を得ることができる。
なお、第4特徴構成の実施においては、塗装ガンからの塗料放出の全期間を通じ継続して又は間欠的に上記通流状態を絶縁対象部分において形成する形態、あるいは、塗装ガンからの塗料放出の初期における一定期間のみ上記通流状態を絶縁対象部分において形成し、その後は絶縁液を絶縁対象部分に封じ込めて絶縁部を維持する形態など、種々の実施形態を採ることができる。
参考例を示す塗装装置の回路図 参考例を示す絶縁ユニットの構成図 塗装装置の装備形態を示す側面図 参考例における装置運転の各工程状態を示す回路図 参考例における装置運転の各工程状態を示す回路図 参考例における装置運転の各工程状態を示す回路図 参考例における装置運転の各工程状態を示す回路図 参考例における装置運転の各工程状態を示す回路図 参考例における装置運転の各工程状態を示す回路図 参考例における装置運転の各工程状態を示す回路図 参考例における装置運転の各工程状態を示す回路図 参考例における装置運転の各工程状態を示す回路図 参考例における装置運転の各工程状態を示す回路図 参考例における装置運転の各工程状態を示す回路図 参考例における装置運転の各工程状態を示す回路図 参考例における装置運転の各工程状態を示す回路図 参考例における装置運転の各工程状態を示す回路図 実施形態を示す塗装装置の回路図 実施形態を示す絶縁ユニットの構成図
〔参考例〕
先ず、参考例を説明すると、図1は静電塗装に用いる塗装装置の装置構成を示し、1はベルカップ1aの回転による遠心作用により塗料を霧状にして放出するベル型の塗装ガンであり、この塗装ガン1には、それから放出させる塗料をガン内での電圧印加により帯電させる高電圧発生器2を電気的に接続してある。
また、塗装ガン1には、シリンダ構造の第1送給タンク3Aからの塗料吐出路4a、及び、同じくシリンダ構造の第2送給タンク3Bからの塗料吐出路4bを接続するとともに、後述のガン側洗浄において洗浄液Lの一部及び洗浄用空気Asの一部を排出するダンプ路5a,5b、及び、カップ内部用とカップ外部用との洗浄用路6a,6bを接続してある。
塗装ガン1において、送給タンク3A,3Bからの塗料吐出路4a,4bは、先端をベルカップ1aに対する塗料供給口とする主の塗料吐出路4に対し仕切弁7a,7bを介して接続し、ダンプ路5a,5bは、塗料吐出路4a,4bの塗料流れ方向における下流側部分に対し開閉弁8a,8bを介して接続してある。
塗料吐出路4a,4bは送給タンク3A,3Bの前端部前面から延出させてあり、塗料吐出路4a,4bの塗料流れ方向における上流側部分には、ガン側の洗浄用給気路9a,9bを開閉弁10a,10bを介して接続し、これらガン側洗浄用給気路9a,9bの接続箇所よりも上流側において塗料吐出路4a,4bには、塗装ガン1に対し塗料供給する送給タンク3A,3Bを選択的に切り換える為のタンク切換弁11a,11bを介装してある。
送給タンク3A,3Bの前端部側面には、塗料充填路13から分岐した分岐充填路13a,13bを接続し、シリンダ構造の送給タンク3A,3Bには、ロッド14a,14bを介してサーボモータ15a,15bに連結したピストン16a,16bを内装してあり、送給タンク3A,3Bの各々について、サーボモータ15a,15bの逆転によりピストン16a,16bを後退移動させることで、塗料充填路13及び分岐充填路13a,13bを通じて所要量の塗料Tを高精度な計量制御下で各送給タンク3A,3Bに充填する。
そしてまた、サーボモータ15a,15bの正転によりピストン16a,16bを前進移動させることで、送給タンク3A,3B内の塗料Tを高精度な供給速度制御下で塗料吐出路4a,4bを通じ塗装ガン1に加圧供給して、その供給塗料Tを電圧印加による帯電状態で塗装ガン1から放出させる。
つまり、これらピストン16a,16b、ロッド14a,14b、及び、サーボモータ15a,15bは、送給タンク3A,3Bから塗装ガン1へ塗料Tを加圧供給する圧送手段Pを構成するものである。
送給タンク3A,3Bに対する分岐充填路13a,13bの塗料流れ方向における下流側部分には、ドレン路17a,17bを開閉弁18a,18bを介して接続し、これらドレン路17a,17bの接続箇所よりも下流側において分岐充填路13a,13bには仕切弁19a,19bを介装してある。
また、ドレン路17a,17bにおける開閉弁18a,18bよりも下流側の部分と、塗料吐出路4a,4bにおけるタンク切換弁11a,11bよりも上流側の部分との間には、開閉弁23a,23bを介装した逃がし路24a,24bをわたらせてある。
そして、分岐充填路13a,13bの塗料流れ方向における上流側部分には、塗料充填路13からの塗料充填の対象とする送給タンク3A,3Bを選択的に切り換えるための充填切換弁27a,27bを介装してある。
塗料充填路13の上流側端は、塗料切換弁ユニット28のマニホールド28aに接続してあり、この塗料切換弁ユニット28には、複数の塗料供給路29a〜29nから供給される塗料種の異なる塗料Ta〜Tn(本実施形態では主に、水を溶媒とする水系塗料で互いの色が異なる塗料)のうち、いずれの塗料Ta〜Tnをマニホールド28a及び塗料充填路13を通じて送給タンク3A,3Bに充填するかを選択的に切り換える複数の塗料切換弁30a〜30nを装備してある。
塗料切換弁ユニット28のマニホールド28aには洗浄用路31を接続してあり、この洗浄用路31には、洗浄液弁32aを介して洗浄液Lの供給路32を接続するとともに、洗浄用空気弁33aを介して洗浄用空気Asの供給路33を接続してある。
また、カップ内部用及びカップ外部用の洗浄用路6a,6bには、夫々、洗浄液弁34a,35aを介して洗浄液Lの供給路34,35を接続するとともに、洗浄用空気弁36a,37aを介して洗浄用空気Asの供給路36,37を接続してある。
そして、この塗装装置においては、各送給タンク3A,3Bへの分岐充填路13a,13bにおいて上流側の充填切換弁27a,27bと下流側の仕切弁19a,19bとの間に充填側の絶縁ユニットXを介装するとともに、各送給タンク3A,3Bからの塗料吐出路4a,4bにおいてガン側洗浄用給気路9a,9bの接続箇所と仕切弁7a,7bとの間にガン側の絶縁ユニットXを介装してある。
つまり、第1送給タンク3Aから塗装ガン1に塗料Tを供給し、これに対し、第2送給タンク3Bを分岐充填路13bからの塗料充填の対象とするときには、第1送給タンク3Aに対する分岐充填路13aに設けた充填側の絶縁ユニットX、及び、第2送給タンク3Bからの塗料吐出路4bに設けたガン側の絶縁ユニットXにおいて電気的な絶縁部を形成し、これにより、塗装ガン1での印加電圧が塗料経路を通じて漏洩的に塗料経路の上流側に及ぶのを防止する。
また逆に、第2送給タンク3Bから塗装ガン1に塗料Tを供給し、これに対し、第1送給タンク3Aを分岐充填路13aからの塗料充填の対象とするときには、第2送給タンク3Bに対する分岐充填路13bに設けた充填側の絶縁ユニットX、及び、第1送給タンク3Aからの塗料吐出路4aに設けたガン側の絶縁ユニットXにおいて電気的な絶縁部を形成し、これにより同じく、塗装ガン1での印加電圧が塗料経路を通じて漏洩的に塗料経路の上流側に及ぶのを防止する。
なお、各路を形成する管材、各弁、送給タンク3A,3B、ピストン16a,16b、ロッド14a,14bなど、塗装ガン1での電圧印加による発生電流が導かれる可能性のある部分には、電気絶縁性のある形成材を用いるなどの電気的絶縁処理を施してある。
これら絶縁ユニットXは、図2に示す如く、塗料管路である分岐充填路13a,13bや塗料吐出路4a,4bにおいて絶縁対象部分Sを形成する直管40をユニット基体とするものであり、その直管40には、管内周面に対して摺接する状態で管長手方向に移動自在な清掃用のピグ41を内装してある。
直管40の両端には、ピグ操作流体としての操作用空気Acを直管40の内部に加圧供給する操作用空気Acの加圧供給路42a,42bを接続してあり、それら一端側及び他端側の加圧供給路42a,42bには開閉弁43a,43bを介装してある。
そして、分岐充填路13a,13bや塗料吐出路4a,4bの上流側部分(すなわち、塗料の入口管路)を直管40の一端側において加圧供給路42aの接続箇所よりも管長手方向の中央寄り箇所で、かつ、直管40の管芯に対し直交する向きで直管40に接続するとともに、分岐充填路13a,13bや塗料吐出路4a,4bの下流側部分(すなわち、塗料の出口管路)を他端側の加圧供給路42bとともに直管40の他端に接続し、これらの入口側及び出口側の接続部には仕切弁44a,44bを介装してある。
つまり、直管40の一端側において分岐充填路13a,13bや塗料吐出路4a,4bの上流側部分(塗料入口管路)の接続箇所と加圧供給路42aの接続箇所との間の部分は、ピグ41を塗料経路から退避させた状態で格納するピグ格納部45にしてあり、開閉弁43aを開いて一端側の加圧供給路42aからピグ格納部45に操作用空気Acを加圧供給することで、その操作用空気Acによる押圧によりピグ41を管内周面に対する摺接状態でピグ格納部45から直管40の他端部に移動させ、また、開閉弁43bを開いて他端側の加圧供給路42bから直管40の他端部に操作用空気Acを加圧供給することで、その操作用空気Acによる押圧によりピグ41を管内周面に対する摺接状態で直管40の他端部からピグ格納部45に移動させるようにしてあり、操作用空気Acの加圧供給路42a,42b及びそれらに介装した開閉弁43a,43bは、ピグ格納部45と直管40の他端部とにわたってピグ41を移動させるピグ操作手段を構成する。
すなわち、これらの絶縁ユニットXでは、塗装ガン1に塗料供給する送給タンク3A,3Bの切り換え時、及び、分岐充填路13a,13bからの塗料充填の対象とする送給タンク3A,3Bの切り換え時における洗浄工程で、洗浄液Lと洗浄用空気Asとを順次に塗料吐出路4a,4bや分岐充填路13a,13bに通流させて、それら塗料吐出路4a,4bや分岐充填路13a,13bを洗浄することに続き、仕切弁44a,44bを閉弁して直管40の内部に空気を充満状態で封じ込めることで、その封じ込め空気を絶縁流体として直管40の内部に電気的な絶縁部を形成するが、その封じ込めに先立ちピグ格納部45にあるピグ40を操作用空気Acの供給操作によりピグ格納部45と直管40の他端部との間で往復させることにより、直管40の内部における残留物を確実に直管40の内部(絶縁対象部分S)から排除し、これにより、残留物による電気絶縁性の低下の虞のない良好な絶縁部(本例では、絶縁流体としての空気の充満部)を直管40の内部に形成する。
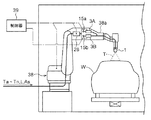
この塗装装置は、図3に示す如く、塗装ロボット38における作業アーム38aの先端部に塗装ガン1を装着するとともに、送給タンク3A,3B、サーボモータ15a,15b、塗料切換弁ユニット28、及び、各弁を作業アーム38aの内部に収納した状態で塗装ロボット38に装備する。
また、この塗装装置には制御器39を付帯装備し、この制御器39をもって塗装ロボット38に対する動作制御との連係下で上記の各弁及びサーボモータ15a,15bを設定プログラムに従い自動操作することにより、いずれかの送給タンク3A,3Bから供給される塗料Tを塗装ガン1から放出して塗装を実施している間に、塗料切換弁30a〜30nにより選択した塗料Tを他の送給タンク3A,3Bに充填する形態で、塗装ガン1からの塗料放出による静電塗装を複数の被塗物Wに対して順次、自動的に実施する。
そしてまた、この塗装装置では、この制御器39により、タンク切換弁11a,11b、サーボモータ15a,15b、充填切換弁27a,27b、並びに、塗料切換弁30a〜30nの動作との連係下において、塗料吐出路4a,4bの夫々及び分岐充填路13a,13bの夫々における絶縁ユニットXのうち絶縁部の形成状態とするものを下記(イ)〜(カ)の如く自動的に切り換える構成にしてある。
図4〜図17は、この塗装装置の運転における各工程を示し、次の(イ)〜(カ)では、この図に沿って工程の進行順に各工程を説明する。なお、図4〜図17において、太い実線は塗料Tの流れを示し、太い一点鎖線は洗浄液Lの流れを示し、太い破線は洗浄用空気Asの流れを示す。また、塗り潰した弁は開弁状態にある弁を示し、白抜きの弁は閉弁状態にある弁を示す。
また、4つの絶縁ユニットXのうち、塗り潰したものは絶縁部の形成状態にある絶縁ユニットを示し、白抜きのものは絶縁部の非形成状態にある絶縁ユニットを示す。
(イ)図4は、第1送給タンク3Aからの塗料供給による塗装に先立って実施する捨吹き工程を示し、この工程では、第1送給タンク3Aから塗料吐出路4aを通じて塗装ガン1に供給する塗料Tのうち初期のものを、電圧印加による帯電を施さない状態で塗装ガン1から排出する。
そして、この工程では、第1送給タンク3Aの分岐充填路13aにおける絶縁ユニットXと、第2送給タンク3Bの塗料吐出路4bにおける絶縁ユニットXとを、ピグ往復操作の後に直管40の内部に空気を封じ込めた絶縁部形成状態にし、これにより、次の塗装工程において塗装ガン1での印加電圧が漏洩的に塗料経路の上流側に及ぶのを確実に防止する。
(ロ)図5は、第1送給タンク3Aからの塗料供給により被塗物Wを塗装する塗装工程に併行して、第2送給タンク3Bへの塗料充填を開始した工程部分を示し、この工程部分では、塗装工程の実施として、第1送給タンク3Aから塗料吐出路4aを通じ塗装ガン1に供給する塗料Tを電圧印加により帯電させた状態で塗装ガン1から放出させる。
また、開閉弁23bを開弁して、第2送給タンク3Bを逃がし路24bを通じドレン路17bに連通させた状態で、次の塗装工程において必要な塗料種の塗料Tを塗料切換弁ユニット28から塗料充填路13及び分岐充填路13bを通じて第2送給タンク3Bに充填することを開始し、この充填塗料Tのうち初期のものは逃がし路24bを通じてドレン路17bへ排出する。
そして、この工程部分では、第1送給タンク3Aからの塗料供給及び第2送給タンク3Bへの塗料充填に対して、先の工程に引き続き、第1送給タンク3Aの分岐充填路13aにおける絶縁ユニットXと、第2送給タンク3Bの塗料吐出路4bにおける絶縁ユニットXとを絶縁部形成状態に維持する。
(ハ)図6は、第1送給タンク3Aからの塗料供給による塗装工程に併行して、先に開始した第2送給タンク3Bへの塗料充填を進行している工程部分を示し、この工程部分では、前記(ロ)と同じく塗装工程の実施として、第1送給タンク3Aから塗料吐出路4aを通じ塗装ガン1に供給する塗料Tを、電圧印加により帯電させた状態で塗装ガン1から放出させる。
また、開閉弁23bを閉弁して充填塗料Tの逃がし路24bへの流出を阻止した状態で、次の塗装工程において必要な塗料種の塗料Tを塗料切換弁ユニット28から塗料充填路13及び分岐充填路13bを通じて第2送給タンク3Bに充填する。
そして、この工程部分では、先の工程部分と同じく、第1送給タンク3Aからの塗料供給及び第2送給タンク3Bへの塗料充填に対して、第1送給タンク3Aの分岐充填路13aにおける絶縁ユニットXと、第2送給タンク3Bの塗料吐出路4bにおける絶縁ユニットXとを引き続き絶縁部形成状態に維持する。
(ニ)図7は、第1送給タンク3Aからの塗料供給による塗装工程に併行して、第2送給タンク3Bへの塗料充填の完了に続く充填側洗浄の前半部を実施している工程部分を示し、この工程部分では、前記(ロ),(ハ)と同じく塗装工程の実施として、第1送給タンク3Aから塗料吐出路4aを通じ塗装ガン1に供給する塗料Tを電圧印加により帯電させた状態で塗装ガン1から放出させる。
また、仕切弁19bを閉弁するとともに、開閉弁18bを開弁して分岐充填路13bをドレン路17bに連通させた状態で、洗浄液弁32aを開弁して洗浄液Lを、塗料切換弁ユニット28から塗料充填路13、分岐充填路13bに通流させてドレン路17bへ排出し、これにより、充填側洗浄の前半部として、次の塗料Tの通流に備え塗料切換弁ユニット28のマニホールド28a、塗料充填路13、分岐充填路13bを洗浄液Lにより洗浄する。
そして、この工程部分では、第1塗料タンク3Aからの塗料供給及び第2送給タンク3Bの分岐充填路13bに対する洗浄液供給に対して、第1送給タンク3Aの分岐充填路13aにおける絶縁ユニットXと、第2送給タンク3Bの塗料吐出路4bにおける絶縁ユニットXとを、先の工程部分に引き続き絶縁部形成状態に維持する。
(ホ)図8は、第1送給タンク3Aからの塗料供給による塗装工程に併行して、第2送給タンク3Bへの塗料充填の完了に続く充填側洗浄の後半部を実施している工程部分を示し、この工程部分では、前記(ロ)〜(ニ)と同じく塗装工程の実施として、第1送給タンク3Aから塗料吐出路4aを通じ塗装ガン1に供給する塗料Tを電圧印加により帯電させた状態で塗装ガン1から放出させる。
また、洗浄液弁32aを閉弁するとともに洗浄用空気弁33aを開弁して、洗浄液Lに代え洗浄用空気Asを、塗料切換弁ユニット28から塗料充填路13、分岐充填路13bに通流させてドレン路17bへ排出し、これにより、充填側洗浄の後半部として、先に洗浄液Lをもって洗浄した塗料切換弁ユニット28のマニホールド28a、塗料充填路13、分岐充填路13bにおける残留洗浄液Lを洗浄用空気Asにより排除して、それらの部分を乾燥させる。
そして、この工程部分では、第1送給タンク3Aからの塗料供給及び第2送給タンク3Bの分岐充填路13bにおける洗浄用空気Asの通流(すなわち、排除した残留洗浄液Lを含む状態となる洗浄用空気Asの通流)に対して、第1送給タンク3Aの分岐充填路13aにおける絶縁ユニットXと、第2送給タンク3Bの塗料吐出路4bにおける絶縁ユニットXとを先の工程部分に引き続き絶縁部形成状態に維持する。
また、この工程部分では、洗浄用空気Asによりマニホールド28a、塗料充填路13、分岐充填路13bにおける残留洗浄液Lを排除して、それらの部分を乾燥させた後、洗浄用空気弁33aを閉弁して洗浄用空気Asの供給を停止した状態で、分岐充填路13bにおける絶縁ユニットXのピグ41を、その絶縁ユニットXにおける開閉弁43a,43bの操作による操作用空気Acの供給操作でピグ格納部45と直管40の他端部との間で往復移動させて、その直管40の内部をピグ41により清掃し、この後、ピグ41をピグ格納部45に戻した状態で、その絶縁ユニットXにおける仕切弁44a,44bを閉弁して直管40の内部に空気(主には直管40の他端部に供給した操作用空気Ac)を封じ込めることにより、分岐充填路13bにおける絶縁ユニットXを絶縁部形成状態にする。
(へ)図9は、第1送給タンク3Aからの塗料供給による塗装工程の終了に続き、ガン側洗浄の前半部を実施している工程部分を示し、この工程部分では、塗装ガン1に対する第1送給タンク3Aからの塗料供給の終了に伴い、第1送給タンク3Aの分岐充填路13aにおける絶縁ユニットXの仕切弁44a,44bを開弁して、その絶縁ユニットXでの直管内部への空気の封じ込めを解除(すなわち、絶縁部の形成を解除)する。
また、塗料充填及びそれに続く充填側洗浄を完了した第2送給タンク3Bの系統では、塗料吐出路4bにおける絶縁ユニットXの仕切弁44a,44bを開弁して、その絶縁ユニットXでの直管内部への空気の封じ込めを解除(絶縁部の形成を解除)し、一方、先の工程部分で絶縁部形成状態にした分岐充填路13bにおける絶縁ユニットXは絶縁部形成状態に維持する。
そして、第2送給タンク3Bの系統の充填切換弁27bを閉弁するとともに、第1送給タンク3Aの系統の充填切換弁27a及び仕切弁19aを開弁して、塗料充填路13を第1送給タンク3Aに連通させ、かつ、仕切弁7aの開弁状態の下で開閉弁8aを開弁して、塗料吐出路4aと主の塗料吐出路4とダンプ路5aの三者を連通させた状態で、洗浄液弁32aを開弁することにより、洗浄液Lを塗料切換弁ユニット28から塗料充填路13、分岐充填路13a、塗料吐出路4aに通流させて、その洗浄液Lの一部を電圧印加停止状態の下で塗装ガン1から排出するとともに、他部をダンプ路5aへ排出する。
すなわち、この洗浄液送給により、ガン側洗浄の前半部として、次の塗料Tの通流に備え第1送給タンク3A、塗料吐出路4a、主の塗料吐出路4を洗浄液Lにより洗浄する。
また、この工程部分では、洗浄液弁34a,35aを開弁して、洗浄液Lをカップ内部用及びカップ外部用の洗浄用路6a,6bを通じて塗装ガン1におけるベルカップ1aの内側及び外側に送給し、これにより、次の塗料Tの放出に備えてベルカップ1aの内側及び外側を洗浄液Lにより洗浄する。
(ト)図10は、第1送給タンク3Aからの塗料供給による塗装工程の終了に続くガン側洗浄の後半部を実施している工程部分を示し、この工程部分では、洗浄液弁32a及びタンク切換弁11aを閉弁するのに対し開閉弁10aを開弁して、洗浄液Lに代え洗浄用空気Asを、ガン側洗浄用給気路9aから塗料吐出路4aに通流させて、その洗浄用空気Asの一部を電圧印加停止状態の下で塗装ガン1から排出するとともに、他部をダンプ路5aへ排出し、これにより、ガン側洗浄の後半部として、先に洗浄液Lをもって洗浄した塗料吐出路4a及び主の塗料吐出路4における残留洗浄液Lをガン側洗浄用給気路9aからの洗浄用空気Asにより排除して、それらの部分を乾燥させる。
また、この塗装工程では、洗浄液弁34a,35aを閉弁するとともに、洗浄用空気弁36a,37aを開弁して、洗浄液Lに代え洗浄用空気Asをカップ内部用及びカップ外部用の洗浄用路6a,6bを通じて塗装ガン1におけるベルカップ1aの内側及び外側に送給し、これにより、先に洗浄液Lをもって洗浄したベルカップ1aの内側及び外側における残留洗浄液Lを洗浄用空気Asにより排除して、それらの部分を乾燥させる。
そして、この工程部分では、ガン側洗浄用給気路9aからの洗浄用空気Asにより塗料吐出路4a及び主の塗料吐出路4における残留洗浄液Lを排除して、それら部分を乾燥させた後、開閉弁10aを閉弁してガン側洗浄用給気路9aからの洗浄用空気Asの供給を停止した状態で、塗料吐出路4aにおける絶縁ユニットXのピグ41を、その絶縁ユニットXにおける開閉弁43a,43bの操作による操作用空気Acの供給操作でピグ格納部45と直管40の他端部との間で往復移動させて、その直管40の内部をピグ41により清掃し、この後、ピグ41をピグ格納部45に戻した状態で、その絶縁ユニットXにおける仕切弁44a,44bを閉弁して直管40の内部に空気(主には直管40の他端部に供給した操作用空気Ac)を封じ込めることにより、塗料吐出路4aにおける絶縁ユニットXを絶縁部形成状態にする。
また、先の工程部分に引き続き、第2送給タンク3Bの分岐充填路13bにおける絶縁ユニットXを絶縁部形成状態に維持する。
(チ)図11は、第2送給タンク3Bからの塗料供給による塗装に先立って実施する捨吹き工程を示し、この工程では、第2送給タンク3Bから塗料吐出路4bを通じて塗装ガン1に供給する塗料Tのうち初期のものを、電圧印加による帯電を施さない状態で塗装ガン1から排出する。
そして、第2送給タンク3Bの分岐充填路13bにおける絶縁ユニットXと、第1送給タンク3Aの塗料吐出路4aにおける絶縁ユニットXとを、先の工程に引き続き直管40の内部に空気を封じ込めた絶縁部形成状態に維持し、これにより、前述(イ)と同様、次の塗装工程において塗装ガン1での印加電圧が漏洩的に塗料経路の上流側に及ぶのを確実に防止する。
(リ)図12は、第2送給タンク3Bからの塗料供給により被塗物Wを塗装する塗装工程に併行して、第1送給タンク3Aへの塗料充填を開始した工程部分を示し、この工程部分では、塗装工程の実施として、第2送給タンク3Bから塗料吐出路4bを通じ塗装ガン1に供給する塗料Tを電圧印加により帯電させた状態で塗装ガン1から放出させる。
また、開閉弁23aを開弁して、第1送給タンク3Aを逃がし路24aを通じドレン路17aに連通させた状態で、次の塗装工程において必要な塗料種の塗料Tを塗料切換弁ユニット28から塗料充填路13及び分岐充填路13aを通じて第1送給タンク3Aに充填することを開始し、この充填塗料Tのうち初期のものは、逃がし路24aを通じてドレン路17aへ排出する。
そして、この工程部分では、第2送給タンク3Bからの塗料供給及び第1送給タンク3Aへの塗料充填に対して、先の工程に引き続き、第2送給タンク3Bの分岐充填路13bにおける絶縁ユニットXと、第2送給タンク3Bの塗料吐出路4bにおける絶縁ユニットXとを絶縁部形成状態に維持する。
(ヌ)図13は、第2送給タンク3Bからの塗料供給による塗装工程に併行して、先に開始した第1送給タンク3Aへの塗料充填を進行している工程部分を示し、この工程部分では、前記(リ)と同じく塗装工程の実施として、第2送給タンク3Bから塗料吐出路4bを通じ塗装ガン1に供給する塗料Tを電圧印加により帯電させた状態で塗装ガン1から放出させる。
また、開閉弁23aを閉弁して充填塗料Tの逃がし路24aへの流出を阻止した状態で、次の塗装工程において必要な塗料種の塗料Tを塗料切換弁ユニット28から塗料充填路13及び分岐充填路13aを通じて第1送給タンク3Aに充填する。
そして、この工程部分では、先の工程部分と同じく、第2送給タンク3Bからの塗料供給及び第1送給タンク3Aへの塗料充填に対して、第2送給タンク3Bの分岐充填路13bにおける絶縁ユニットXと、第1送給タンク3Aの塗料吐出路4aにおける絶縁ユニットXとを引き続き絶縁部形成状態に維持する。
(ル)図14は、第2送給タンク3Bからの塗料供給による塗装工程に併行して、第1送給タンク3Aへの塗料充填の完了に続く充填側洗浄の前半部を実施している工程部分を示し、この工程部分では、前記(リ),(ヌ)と同じく塗装工程の実施として、第2送給タンク3Bから塗料吐出路4bを通じ塗装ガン1に供給する塗料Tを電圧印加により帯電させた状態で塗装ガン1から放出させる。
また、仕切弁19aを閉弁するとともに、開閉弁18aを開弁して分岐充填路13aをドレン路17aに連通させた状態で、洗浄液弁32aを開弁して洗浄液Lを、塗料切換弁ユニット28から塗料充填路13、分岐充填路13aに通流させてドレン路17aへ排出し、これにより、充填側洗浄の前半部として、次の塗料Tの通流に備え塗料切換弁ユニット28のマニホールド28a、塗料充填路13、分岐充填路13aを洗浄液Lにより洗浄する。
そして、この工程部分では、第2塗料タンク3Bからの塗料供給及び第1送給タンク3Aの分岐充填路13aに対する洗浄液供給に対して、第2送給タンク3Bの分岐充填路13bにおける絶縁ユニットXと、第1送給タンク3Aの塗料吐出路4aにおける絶縁ユニットXとを、先の工程部分に引き続き絶縁部形成状態に維持する。
(ヲ)図15は、第2送給タンク3Bからの塗料供給による塗装工程に併行して、第1送給タンク3Aへの塗料充填の完了に続く充填側洗浄の後半部を実施している工程部分を示し、この工程部分では、前記(リ)〜(ル)と同じく塗装工程の実施として、第2送給タンク3Bから塗料吐出路4bを通じ塗装ガン1に供給する塗料Tを電圧印加により帯電させた状態で塗装ガン1から放出させる。
また、洗浄液弁32aを閉弁するとともに洗浄用空気弁33aを開弁して、洗浄液Lに代え洗浄用空気Asを、塗料切換弁ユニット28から塗料充填路13、分岐充填路13aに通流させてドレン路17aへ排出し、これにより、充填側洗浄の後半部として、先に洗浄液Lをもって洗浄した塗料切換弁ユニット28のマニホールド28a、塗料充填路13、分岐充填路13aにおける残留洗浄液Lを洗浄用空気Asにより排除して、それらの部分を乾燥させる。
そして、この工程部分では、第2送給タンク3Bからの塗料供給及び第1送給タンク3Aの分岐充填路13aにおける洗浄用空気Asの通流(すなわち、排除した残留洗浄液Lを含む状態となる洗浄用空気Asの通流)に対して、第2送給タンク3Bの分岐充填路13bにおける絶縁ユニットXと、第1送給タンク3Aからの塗料吐出路4aにおける絶縁ユニットXとを先の工程部分に引き続き絶縁部形成状態に維持する。
また、この工程部分では、洗浄用空気Asによりマニホールド28a、塗料充填路13、分岐充填路13aにおける残留洗浄液Lを排除して、それらの部分を乾燥させた後、洗浄用空気弁33aを閉弁して洗浄用空気Asの供給を停止した状態で、分岐充填路13aにおける絶縁ユニットXのピグ41を、その絶縁ユニットXにおける開閉弁43a,43bの操作による操作用空気Acの供給操作でピグ格納部45と直管40の他端部との間で往復移動させて、その直管40の内部をピグ41により清掃し、この後、ピグ41をピグ格納部45に戻した状態で、その絶縁ユニットXにおける仕切弁44a,44bを閉弁して直管40の内部に空気(主には直管40の他端部に供給した操作用空気Ac)を封じ込めることにより、分岐充填路13aにおける絶縁ユニットXを絶縁部形成状態にする。
(ワ)図16は、第2送給タンク3Bからの塗料供給による塗装工程の終了に続き、ガン側洗浄の前半部を実施している工程部分を示し、この工程部分では、塗装ガン1に対する第2送給タンク3Bからの塗料供給の終了に伴い、第2送給タンク3Bの分岐充填路13bにおける絶縁ユニットXの仕切弁44a,44bを開弁して、その絶縁ユニットXでの直管内部への空気の封じ込めを解除(すなわち、絶縁部の形成を解除)する。
また、塗料充填及びそれに続く充填側洗浄を完了した第1送給タンク3Aの系統では、塗料吐出路4aにおける絶縁ユニットXの仕切弁44a,44bを開弁して、その絶縁ユニットXでの直管内部への空気の封じ込めを解除(絶縁部の形成を解除)し、一方、先の工程部分で絶縁部形成状態にした分岐充填路13aにおける絶縁ユニットXは絶縁部形成状態に維持する。
そして、第1送給タンク3Aの系統の充填切換弁27aを閉弁するとともに、第2送給タンク3Bの系統の充填切換弁27b及び仕切弁19bを開弁して、塗料充填路13を第2送給タンク3Bに連通させ、かつ、仕切弁7bの開弁状態の下で開閉弁8bを開弁して、塗料吐出路4bと主の塗料吐出路4とダンプ路5bの三者を連通させた状態で、洗浄液弁32aを開弁することにより、洗浄液Lを塗料切換弁ユニット28から塗料充填路13、分岐充填路13b、塗料吐出路4bに通流させて、その洗浄液Lの一部を電圧印加停止状態の下で塗装ガン1から排出するとともに、他部をダンプ路5bへ排出する。
すなわち、この洗浄液送給により、ガン側洗浄の前半部として、次の塗料Tの通流に備え第2送給タンク3B、塗料吐出路4b、主の塗料吐出路4を洗浄液Lにより洗浄する。
また、この工程部分では、洗浄液弁34a,35aを開弁して、洗浄液Lをカップ内部用及びカップ外部用の洗浄用路6a,6bを通じて塗装ガン1におけるベルカップ1aの内側及び外側に送給し、これにより、次の塗料Tの放出に備えてベルカップ1aの内側及び外側を洗浄液Lにより洗浄する。
(カ)図17は、第2送給タンク3Bからの塗料供給による塗装工程の終了に続くガン側洗浄の後半部を実施している工程部分を示し、この工程部分では、洗浄液弁32a及びタンク切換弁11bを閉弁するのに対し開閉弁10bを開弁して、洗浄液Lに代え洗浄用空気Asを、ガン側洗浄用給気路9bから塗料吐出路4bに通流させて、その洗浄用空気Asの一部を電圧印加停止状態の下で塗装ガン1から排出するとともに、他部をダンプ路5bへ排出し、これにより、ガン側洗浄の後半部として、先に洗浄液Lをもって洗浄した塗料吐出路4b及び主の塗料吐出路4における残留洗浄液Lをガン側洗浄用給気路9bからの洗浄用空気Asにより排除して、それらの部分を乾燥させる。
また、この塗装工程では、洗浄液弁34a,35aを閉弁するとともに、洗浄用空気弁36a,37aを開弁して、洗浄液Lに代え洗浄用空気Asをカップ内部用及びカップ外部用の洗浄用路6a,6bを通じて塗装ガン1におけるベルカップ1aの内側及び外側に送給し、これにより、先に洗浄液Lをもって洗浄したベルカップ1aの内側及び外側における残留洗浄液Lを洗浄用空気Asにより排除して、それらの部分を乾燥させる。
そして、この工程部分では、ガン側洗浄用給気路9bからの洗浄用空気Asにより塗料吐出路4b及び主の塗料吐出路4における残留洗浄液Lを排除して、それら部分を乾燥させた後、開閉弁10bを閉弁してガン側洗浄用給気路9bからの洗浄用空気Asの供給を停止した状態で、塗料吐出路4bにおける絶縁ユニットXのピグ41を、その絶縁ユニットXにおける開閉弁43a,43bの操作による操作用空気Acの供給操作でピグ格納部45と直管40の他端部との間で往復移動させて、その直管40の内部をピグ41により清掃し、この後、ピグ41をピグ格納部45に戻した状態で、その絶縁ユニットXにおける仕切弁44a,44bを閉弁して直管40の内部に空気(主には直管40の他端部に供給した操作用空気Ac)を封じ込めることにより、塗料吐出路4bにおける絶縁ユニットXを絶縁部形成状態にする。
また、先の工程部分に引き続き、第1送給タンク3Aの分岐充填路13aにおける絶縁ユニットXを絶縁部形成状態に維持する。
つまり、この塗装装置では、上記(イ)〜(カ)を繰り返すことにより、複数の被塗物Wに対して、それぞれ所要塗料種の塗料Ta〜Tnによる塗装を順次に実施する。
以上、この参考例の塗装装置では、送給タンク3A,3Bから圧送手段Pにより加圧供給される塗料Tを電圧印加により帯電させた状態で放出する塗装ガン1を備え、この塗装ガン1に対し複数の送給タンク3A,3B各々の塗料吐出路4a,4bを接続するとともに、それら送給タンク3A,3Bのうち塗装ガン1に対して塗料供給する送給タンク3A,3Bを選択的に切り換えるタンク切換弁11a,11bを設け、送給タンク3A,3Bの夫々に塗料充填路13から分岐した分岐充填路13a,13bを接続するとともに、複数の送給タンク3A,3Bのうち塗料充填路13からの塗料充填の対象とする送給タンク3A,3Bを選択的に切り換える充填切換弁27a,27b、及び、塗料充填路13を通じて送給タンク3A,3Bに充填する塗料Tの塗料種を切り換える塗料切換弁30a〜30nを設ける基本構成を採っている。
そして、この基本構成において、ピグ41を内装するとともにピグ格納部45及びピグ操作手段を設けた絶縁対象部分Sとしての絶縁ユニットXにおける直管40を、塗料管路としての塗料吐出路4a,4bの夫々及び分岐充填路13a,13bの夫々に設けた構成にしてある。
また、洗浄液供給路32及び洗浄液弁32aは、絶縁対象部分Sとしての絶縁ユニットXにおける直管40の内部を塗料Tに代えての洗浄液Lの通流により洗浄する洗浄手段を構成し、絶縁ユニットXにおける操作用空気Asの加圧供給路42a,42b及びそれらに介装した開閉弁43a,43bは、ピグ操作手段を構成するとともに、直管40に供給する操作用空気Asを絶縁流体として、絶縁流体が充満する絶縁部を絶縁対象部分Sとしての絶縁ユニットXにおける直管40の内部に形成する絶縁部形成手段を構成する。
〔本発明の実施形態〕
図18は、前述の参考例で示した塗装装置において、塗料吐出路4a,4b及び分岐充填路13a,13bに介装する絶縁ユニットXを別方式の絶縁ユニットX′に変更した塗装装置を示し、この別方式の絶縁ユニットX′では、図19に示す如く、分岐充填路13a,13bや塗料吐出路4a,4bにおいて絶縁対象部分Sを形成する直管40′をユニット基体とし、分岐充填路13a,13bや塗料吐出路4a,4bにおける上流側部分(塗料の入口管路)と下流側部分(塗料の出口路)とのうち、一方を仕切弁46aを介して直管40′の一端に接続し、他方を仕切弁46bを介して直管40′の他端に接続する。
また、直管40′の一端部には絶縁用排液路47aを接続し、直管40の他端部には絶縁用給液路47bを接続する構造(換言すれば、絶縁用排液路47aと絶縁用給液路47bとを、それらの直管40′に対する接続箇所が管長手方向に離間する状態にして仕切弁46a,46bどうしの間で直管40′に接続する構造)にしてあり、それら絶縁用排液路47a及び絶縁用給液路47bには開閉弁48a,48bを介装してある。
そして、この塗装装置では、塗料吐出路4a,4b及び分岐充填路13a,13bに介装した4つの絶縁ユニットX′夫々の絶縁用排液路47aを、液タンク49における液戻し部に接続するとともに、それらの4つの絶縁ユニットX′夫々の絶縁用給液路47bを、液タンク49からの主の絶縁用給液路50に対し並列的に接続してあり、主の絶縁用給液路50には循環ポンプ51を介装してある。
つまり、4つの絶縁ユニットX′の夫々につき、循環ポンプ51の運転下において、仕切弁46a,46bを閉弁した状態で開閉弁48a,48bを開くことにより、絶縁用給液路47b及び絶縁用排液路47aを通じての循環形態で、液タンク49における絶縁液R(電気絶縁性を有する液体)を直管40′の内部に充満状態で通流させ、これにより、絶縁対象部分Sとしての直管40′の内部に電気的な絶縁部を形成するようにしてある。
前述の参考例で示した(イ)〜(カ)の各工程に対応させて上記4つの絶縁ユニットX′の具体的操作形態について説明すると、(イ)〜(ホ)の工程部分(図4〜図8)では、第1送給タンク3Aの分岐充填路13aにおける絶縁ユニットX′と、第2送給タンク3Bの塗料吐出路4bにおける絶縁ユニットX′とを、仕切弁46a,46bの閉弁下で直管40′の内部に絶縁液Rを通流させる絶縁部形成状態に維持する。
そして、(ホ)の工程部分では、洗浄用空気Asによりマニホールド28a、塗料充填路13、分岐充填路13bにおける残留洗浄液Lを排除して、それらの部分を乾燥させた後、洗浄用空気弁33aを閉弁して洗浄用空気Asの供給を停止した状態で、分岐充填路13bにおける絶縁ユニットX′の仕切弁46a,46bを閉弁するとともに開閉弁48a,48bを開いて、その絶縁ユニットX′の直管40′の内部に絶縁液Rを充満状態で通流させ、これにより、分岐充填路13bにおける絶縁ユニットX′を絶縁部形成状態にする。
(へ)の工程部分(図9参照)では、塗装ガン1に対する第1送給タンク3Aからの塗料供給の終了に伴い、第1送給タンク3Aの分岐充填路13aにおける絶縁ユニットX′の開閉弁48a,48bを閉弁するとともに仕切弁46a,46bを開弁して、その絶縁ユニットX′での直管内部に対する絶縁液Rの通流を終了(すなわち、絶縁部の形成を解除)する。
また、この(ヘ)の工程では、塗料充填及びそれに続く充填側洗浄を完了した第2送給タンク3Bの系統において、塗料吐出路4bにおける絶縁ユニットX′の開閉弁48a,48bを閉弁するとともに仕切弁46a,46bを開弁して、その絶縁ユニットX′での直管内部に対する絶縁液Rの通流を終了(すなわち、絶縁部の形成を解除)し、一方、先の工程部分で絶縁部形成状態にした分岐充填路13bにおける絶縁ユニットX′は仕切弁46a,46bの閉弁下で直管40′の内部に絶縁液Rを通流させる絶縁部形成状態に維持する。
(ト)の工程部分(図10参照)では、ガン側洗浄用給気路9aからの洗浄用空気Asにより塗料吐出路4a及び主の塗料吐出路4における残留洗浄液Lを排除して、それら部分を乾燥させた後、開閉弁10aを閉弁してガン側洗浄用給気路9aからの洗浄用空気Asの供給を停止した状態で、塗料吐出路4aにおける絶縁ユニットX′の仕切弁46a,46bを閉弁するとともに開閉弁48a,48bを開いて、その絶縁ユニットX′の直管40′の内部に絶縁液Rを充満状態で通流させ、これにより、塗料吐出路4aにおける絶縁ユニットX′を絶縁部形成状態にする。
また、この(ト)の工程部分では、第2送給タンク3Bの分岐充填路13bにおける絶縁ユニットX′を、仕切弁46a,46bの閉弁下で直管40′の内部に絶縁液Rを通流させる絶縁部形成状態に維持する。
(チ)〜(ヲ)の工程部分(図11〜図15参照)では、第2送給タンク3Bの分岐充填路13bにおける絶縁ユニットX′と、第1送給タンク3Aの塗料吐出路4aにおける絶縁ユニットX′とを、仕切弁46a,46bの閉弁下で直管40′の内部に絶縁液Rを通流させる絶縁部形成状態に維持する。
そして、(ヲ)の工程部分では、洗浄用空気Asによりマニホールド28a、塗料充填路13、分岐充填路13aにおける残留洗浄液Lを排除して、それらの部分を乾燥させた後、洗浄用空気弁33aを閉弁して洗浄用空気Asの供給を停止した状態で、分岐充填路13aにおける絶縁ユニットX′の仕切弁46a,46bを閉弁するとともに開閉弁48a,48bを開いて、その絶縁ユニットX′の直管40′の内部に絶縁液Rを充満状態で通流させ、これにより、分岐充填路13aにおける絶縁ユニットX′を絶縁部形成状態にする。
(ワ)の工程部分(図16参照)では、塗装ガン1に対する第2送給タンク3Bからの塗料供給の終了に伴い、第2送給タンク3Bの分岐充填路13bにおける絶縁ユニットX′の開閉弁48a,48bを閉弁するとともに仕切弁46a,46bを開弁して、その絶縁ユニットX′での直管内部に対する絶縁液Rの通流を終了(すなわち、絶縁部の形成を解除)する。
また、この(ワ)の工程では、塗料充填及びそれに続く充填側洗浄を完了した第1送給タンク3Aの系統において、塗料吐出路4aにおける絶縁ユニットX′の開閉弁48a,48bを閉弁するとともに仕切弁46a,46bを開弁して、その絶縁ユニットX′での直管内部に対する絶縁液Rの通流を終了(すなわち、絶縁部の形成を解除)し、一方、先の工程部分で絶縁部形成状態にした分岐充填路13aにおける絶縁ユニットX′は仕切弁46a,46bの閉弁下で直管40′の内部に絶縁液Rを通流させる絶縁部形成状態に維持する。
(カ)の工程部分(図17参照)では、ガン側洗浄用給気路9bからの洗浄用空気Asにより塗料吐出路4b及び主の塗料吐出路4における残留洗浄液Lを排除して、それら部分を乾燥させた後、開閉弁10bを閉弁してガン側洗浄用給気路9bからの洗浄用空気Asの供給を停止した状態で、塗料吐出路4bにおける絶縁ユニットX′の仕切弁46a,46bを閉弁するとともに開閉弁48a,48bを開いて、その絶縁ユニットX′の直管40′の内部に絶縁液Rを充満状態で通流させ、これにより、塗料吐出路4bにおける絶縁ユニットX′を絶縁部形成状態にする。
また、この(カ)の工程部分では、第1送給タンク3Aの分岐充填路13aにおける絶縁ユニットX′を、仕切弁46a,46bの閉弁下で直管40′の内部に絶縁液Rを通流させる絶縁部形成状態に維持する。
以上、本実施形態の塗装装置では、絶縁ユニットX′における直管40′の内部を塗料吐出路4a,4bや分岐充填路13a,13bの途中の絶縁対象部分Sとすることにおいて、電気絶縁性を有する絶縁流体が充満する絶縁部を塗料通流が断たれた状態の絶縁対象部分Sに形成する絶縁部形成手段を構成するのに、絶縁対象部分Sの両端部夫々に仕切弁46a,46bを介装するとともに、電気絶縁性を有する絶縁液Rを絶縁流体として絶縁対象部分Sに供給する絶縁用給液路47bと、この絶縁液Rを絶縁対象部分Rから排出する絶縁用排液路47aとを、それらの絶縁対象部分Sに対する接続箇所が管路長手方向で離間する状態にして仕切弁46a,46bどうしの間で絶縁対象部分Sに接続する構造を採っている。
また、前述の参考例と同様、洗浄液供給路32及び洗浄液弁32aは、絶縁対象部分Sとしての絶縁ユニットX′における直管40′の内部を塗料Tに代えての洗浄液Lの通流により洗浄する洗浄手段を構成し、制御器39は、タンク切換弁11a,11b、サーボモータ15a,15b、充填切換弁27a,27b、並びに、塗料切換弁30a〜30nの動作との連係下において、塗料吐出路4a,4bの夫々及び分岐充填路13a,13bの夫々における絶縁ユニットX′のうち絶縁部の形成状態とするものを自動的に切り換える絶縁切換手段を構成する。
そして、本実施形態において、この絶縁切換手段としての制御器39は、絶縁部の形成状態とした絶縁対象部分S(絶縁ユニットX′における直管40′の内部)を塗装ガン1からの塗料放出の実施中において絶縁用給液路47b及び絶縁用排液路47aを通じての絶縁液Rの通流状態にする構成にしてある。
〔別の実施形態〕
次の本発明の別実施形態を列記する。
前述の参考例では、ピグ41を内装する絶縁対象部分Sを直管40で形成し、また、前述の実施形態でも、絶縁液Lを充満状態で通流させる絶縁対象部分Sを直管40′で形成したが、これに代え、これら絶縁対象部分Sを湾曲管や可撓管などで形成してもよい。
前述の参考例では、絶縁対象部分S(直管40の内部)に空気Acを封じ込めて絶縁部を形成する例を示したが、これに代え、ピグ移動による清掃に続き絶縁流体(電気絶縁性を有する気体ないし液体)を絶縁対象部分Sに対し充満状態で継続的又は間欠的に通流させて絶縁部を形成するようにしてもよい。
また、前述の参考例では、絶縁対象部Sにおいてピグ41を往復移動させて絶縁対象部分Sを清掃するようにしたが、絶縁部の形成に先立つ絶縁対象部分Sの清掃をピグ41の片道移動だけで行うようにしてもよい。
本発明による塗料管路用絶縁装置は、塗装ガン1に一本の塗料供給路のみを接続する形式の塗装装置において、その一本の塗料供給路に絶縁部を形成する場合などにも適用でき、また、対象の塗料Tは必ずしも導電性を有する塗料に限られるものではなく、例えば、塗料そのものは非導電性であるにしても、塗料管路の残留洗浄液Lによる電気的な漏洩を防止するなどの目的で本発明の塗料管路用絶縁装置を用いることもできる。
前述の参考例や実施形態ではシリンダ構造の送給タンク3A,3Bを示したが、塗装ガン1に塗料供給する送給タンク3A,3Bは、シリンダ構造のものに限らず、例えばチューブ状のものなど、どのような構造のものであってもよく、また、送給タンク3A,3Bの装備数も2個に限らず、1つの塗装ガン1に対して3個以上の送給タンクを装備してもよい。
そしてまた、送給タンク3A,3Bから塗装ガン1に塗料Tを加圧供給する圧送手段Pも、サーボモータ15a,15bを用いたピストン構造のものに限らず、例えば圧縮空気により塗料Tを塗装ガン1に加圧供給する構造のものなど、どのような構造のものであってもよい。
塗料Tを電圧印加した帯電状態で放出する塗装ガン1は、ベル型の塗装ガンに限られるものではなく、圧縮空気により塗料Tを噴霧する形式のものなど、どのような形式のものであってもよい。
塗料経路の具体的構造、及び、塗料経路に介装する各弁の配置形態は、前述の参考例や実施形態で示した構造、配置形態に限られるものではなく、種々の変更が可能である。
本発明による塗装装置は、前述の参考例や実施形態で示した如く、塗装ガン1とともに送給タンク3A,3B及び塗料切換弁30a〜30nを塗装ロボット38に搭載する装備形態に限らず、種々の装備形態を採ることができ、例えば、塗装ガン1を塗装ロボット38や自動塗装機の作業アーム38aに装備するのに対して、送給タンク3A,3B及び塗料切換弁30a〜30nを塗装ロボット1とは別箇所に設置する装備形態を採るようにしてもよい。
本発明による塗料管路用絶縁装置は、塗料を通流させる塗料管路の途中で塗料の連続を断って電気的な絶縁を施す必要のある種々の用途の塗料管路に適用することができ、また、本発明による塗装装置は、自動車ボディ、単車や自転車の各部、家電製品のケーシング、家具など、どのようなものの塗装にも適用することができる。
T 塗料
4a,4b 塗料管路,塗料吐出路
13a,13b 塗料管路,分岐充填路
S 絶縁対象部分
L 洗浄液
32,32a 洗浄手段
40 直管
3A,3B 送給タンク
P 圧送手段
1 塗装ガン
11a,11b タンク切換弁
13 塗料充填路
27a,27b 充填切換弁
30a〜30n 塗料切換弁
46a,46b 仕切弁
R 絶縁液
47b 絶縁用給液路
47a 絶縁用排液路
48a,48b 開閉弁
49 液タンク
39 絶縁切換手段

Claims (4)

  1. 塗料を通流させる塗料管路の途中における絶縁対象部分を塗料に代えての洗浄液の通流により洗浄する洗浄手段を設けるとともに、
    電気絶縁性を有する絶縁流体が充満する絶縁部を塗料通流が断たれた状態の前記絶縁対象部分に形成する絶縁部形成手段を設けてある塗料管路用絶縁装置であって、
    前記絶縁部形成手段を構成するのに、前記塗料管路において前記絶縁対象部分の両端部夫々に仕切弁を介装するとともに、
    電気絶縁性を有する絶縁液を前記絶縁流体として前記絶縁対象部分に供給する絶縁用給液路と、この絶縁液を前記絶縁対象部分から排出する絶縁用排液路とを、それらの前記絶縁対象部分に対する接続箇所が管路長手方向で離間する状態にして、前記仕切弁どうしの間で前記絶縁対象部分に接続し、
    これら絶縁用給液路及び絶縁用排液路に開閉弁を介装してある塗料管路用絶縁装置。
  2. 絶縁液を貯留する液タンクを設け、この液タンクから前記絶縁用給液路を通じて前記絶縁対象部分に絶縁液を供給するとともに、この絶縁液供給に伴い前記絶縁対象部分から前記絶縁用排液路へ排出される絶縁液を前記液タンクに戻す構成にしてある請求項1記載の塗料管路用絶縁装置。
  3. 請求項1又は2記載の塗料管路用絶縁装置を用いた塗装装置であって、
    送給タンクから圧送手段により加圧供給される塗料を電圧印加により帯電させた状態で放出する塗装ガンを備え、
    この塗装ガンに対し複数の前記送給タンク各々の塗料吐出路を接続するとともに、それら送給タンクのうち前記塗装ガンに対して塗料供給する送給タンクを選択的に切り換えるタンク切換弁を設け、
    前記送給タンクの夫々に塗料充填路から分岐した分岐充填路を接続するとともに、複数の前記送給タンクのうち前記塗料充填路からの塗料充填の対象とする送給タンクを選択的に切り換える充填切換弁、及び、前記塗料充填路を通じて前記送給タンクに充填する塗料の塗料種を切り換える塗料切換弁を設け、
    この構成において、前記開閉弁を介装した前記絶縁用給液路及び前記絶縁用排液路を接続するとともに前記仕切弁を設けた前記絶縁対象部分を、前記塗料管路としての前記塗料吐出路の夫々及び前記分岐充填路の夫々に設け、
    これら絶縁対象部分に対する前記洗浄手段及び前記絶縁部形成手段を装備してある塗装装置。
  4. 前記タンク切換弁、前記圧送手段、前記充填切換弁、並びに、前記塗料切換弁の動作との連係下において、前記塗料吐出路の夫々及び前記分岐充填路の夫々における前記絶縁対象部分のうち前記絶縁部の形成状態とする絶縁対象部分を自動的に切り換える絶縁切換手段を設け、
    この絶縁切換手段は、前記絶縁部の形成状態とした前記絶縁対象部分を前記塗装ガンからの塗料放出の実施中において前記絶縁用給液路及び前記絶縁用排液路を通じての絶縁液の通流状態にする構成にしてある請求項3記載の塗装装置。
JP2010098665A 2010-04-22 2010-04-22 塗料管路用絶縁装置、及び、それを用いた塗装装置 Expired - Fee Related JP5073775B2 (ja)

Priority Applications (1)

Application Number Priority Date Filing Date Title
JP2010098665A JP5073775B2 (ja) 2010-04-22 2010-04-22 塗料管路用絶縁装置、及び、それを用いた塗装装置

Applications Claiming Priority (1)

Application Number Priority Date Filing Date Title
JP2010098665A JP5073775B2 (ja) 2010-04-22 2010-04-22 塗料管路用絶縁装置、及び、それを用いた塗装装置

Related Parent Applications (1)

Application Number Title Priority Date Filing Date
JP2005086482A Division JP4614802B2 (ja) 2005-03-24 2005-03-24 塗料管路用絶縁装置、及び、それを用いた塗装装置

Publications (2)

Publication Number Publication Date
JP2010184241A JP2010184241A (ja) 2010-08-26
JP5073775B2 true JP5073775B2 (ja) 2012-11-14

Family

ID=42765222

Family Applications (1)

Application Number Title Priority Date Filing Date
JP2010098665A Expired - Fee Related JP5073775B2 (ja) 2010-04-22 2010-04-22 塗料管路用絶縁装置、及び、それを用いた塗装装置

Country Status (1)

Country Link
JP (1) JP5073775B2 (ja)

Family Cites Families (4)

* Cited by examiner, † Cited by third party
Publication number Priority date Publication date Assignee Title
JP2791599B2 (ja) * 1990-03-12 1998-08-27 エービービー・インダストリー株式会社 静電塗装装置
JP2000354804A (ja) * 1999-06-15 2000-12-26 Honda Motor Co Ltd 塗装装置
JP2002219394A (ja) * 2001-01-25 2002-08-06 Kokuyo Co Ltd 塗装方法及び塗装装置
JP3742976B2 (ja) * 2002-05-09 2006-02-08 ハイパーテック有限会社 導電性塗料供給装置

Also Published As

Publication number Publication date
JP2010184241A (ja) 2010-08-26

Similar Documents

Publication Publication Date Title
US20050129872A1 (en) Apparatus and method for electrostatic spraying of conductive coating materials
JPH022885A (ja) 塗料色換えシステム
CN1842376B (zh) 静电涂装机及其洗净方法
JP5215170B2 (ja) スプレーコーティング塗布機システムの貯蔵マニホールド・アセンブリ及びコーティング方法
JP2768811B2 (ja) 塗装方法
CN101547747B (zh) 静电涂装方法及其装置
JP4755605B2 (ja) 静電塗装装置
CN107234015B (zh) 用于高导电水性涂料的静电涂装间歇供漆系统和方法
JP4614802B2 (ja) 塗料管路用絶縁装置、及び、それを用いた塗装装置
JP5073775B2 (ja) 塗料管路用絶縁装置、及び、それを用いた塗装装置
JP4764316B2 (ja) 塗装システム
JP3876723B2 (ja) 塗料供給装置
JP4713909B2 (ja) 塗装装置
US10898917B2 (en) Insulation device and coating system comprising said insulation device
JP3754387B2 (ja) 塗装装置
JP3946653B2 (ja) 静電塗装方法
JP2000033293A (ja) 静電塗装装置
KR100849986B1 (ko) 호스의 세척건조장치 및 그 방법
JP2510336B2 (ja) 導電性塗料の静電塗装装置
JP3658085B2 (ja) 静電塗装装置
JP2004344788A (ja) 塗装装置
JP3736198B2 (ja) 塗料供給装置
JP3658086B2 (ja) 静電塗装方法および装置
JP2004275978A (ja) 静電塗装装置
JP2008537907A (ja) 被覆材アプリケータ用のシャトルプッシュシステム

Legal Events

Date Code Title Description
TRDD Decision of grant or rejection written
A01 Written decision to grant a patent or to grant a registration (utility model)

Free format text: JAPANESE INTERMEDIATE CODE: A01

Effective date: 20120816

A977 Report on retrieval

Free format text: JAPANESE INTERMEDIATE CODE: A971007

Effective date: 20120816

A01 Written decision to grant a patent or to grant a registration (utility model)

Free format text: JAPANESE INTERMEDIATE CODE: A01

A61 First payment of annual fees (during grant procedure)

Free format text: JAPANESE INTERMEDIATE CODE: A61

Effective date: 20120822

R150 Certificate of patent or registration of utility model

Free format text: JAPANESE INTERMEDIATE CODE: R150

FPAY Renewal fee payment (event date is renewal date of database)

Free format text: PAYMENT UNTIL: 20150831

Year of fee payment: 3

R250 Receipt of annual fees

Free format text: JAPANESE INTERMEDIATE CODE: R250

R250 Receipt of annual fees

Free format text: JAPANESE INTERMEDIATE CODE: R250

R250 Receipt of annual fees

Free format text: JAPANESE INTERMEDIATE CODE: R250

LAPS Cancellation because of no payment of annual fees