JP4952012B2 - 微細パターン形成用樹脂組成物および微細パターン形成方法 - Google Patents
微細パターン形成用樹脂組成物および微細パターン形成方法 Download PDFInfo
- Publication number
- JP4952012B2 JP4952012B2 JP2006082967A JP2006082967A JP4952012B2 JP 4952012 B2 JP4952012 B2 JP 4952012B2 JP 2006082967 A JP2006082967 A JP 2006082967A JP 2006082967 A JP2006082967 A JP 2006082967A JP 4952012 B2 JP4952012 B2 JP 4952012B2
- Authority
- JP
- Japan
- Prior art keywords
- methyl
- group
- pattern
- pentanol
- fine pattern
- Prior art date
- Legal status (The legal status is an assumption and is not a legal conclusion. Google has not performed a legal analysis and makes no representation as to the accuracy of the status listed.)
- Expired - Fee Related
Links
Images
Landscapes
- Photosensitive Polymer And Photoresist Processing (AREA)
- Compositions Of Macromolecular Compounds (AREA)
- Addition Polymer Or Copolymer, Post-Treatments, Or Chemical Modifications (AREA)
Description
このようなリソグラフィー技術においては、露光波長の制約から、微細化に限界が生じるのを免れないので、これまで、この波長限界をこえる微細パターンの形成を可能にするための研究が行なわれてきた。すなわち、ポリメチルメタクリレートなどの電子線用レジストをパターン化し、該レジストパターン上にポジ型レジストを塗布したのち、加熱処理して該レジストパターンとポジレジスト層との境界に反応層を設け、ポジ型レジストの非反応部分を除去することにより、レジストパターンを微細化する方法(特許文献1)、下層レジストパターンと上層レジストとの間に酸発生剤や酸による熱架橋を利用して反応層を形成させる方法(特許文献2)、上層レジスト塗布液として、感光性成分を含まず、水溶性樹脂や水溶性架橋剤、あるいはこれらの混合物を水溶性溶媒に溶解した微細パターン形成材料を用いて半導体装置を製造する方法(特許文献3)、基板上に化学増幅型レジストからなる感光層を設け、画像形成露光後、現像処理してレジストパターンを形成させ、このレジストパターン上に、ポリビニルアセタールのような水溶性樹脂やテトラ(ヒドロキシメチル)グリコールウリルのような水溶性架橋剤とアミンのような水溶性含窒素有機化合物と、場合によりフッ素およびケイ素含有界面活性剤とを含む塗膜形成剤を塗布したのち、加熱処理してレジストパターンとレジストパターン微細化用塗膜との界面に水不溶性の反応層を形成させ、次いで純水により、レジストパターン微細化用塗膜の非反応部分を除去する方法(特許文献4)などが提案されている。
特に、本発明の重合体を樹脂成分として使用した微細パターン形成用樹脂組成物は、該樹脂の収縮量が大きく、収縮時の温度依存性が低く、収縮後の形状に優れ、ピッチ依存性が低いため、プロセス変動に対するパターン形成マージンであるプロセスウィンドウ(Exposure Depth-Windowともいう)が広い。また、エッチング耐性に優れている。
さらに、このようにして形成された微細レジストパターンをマスクとしてドライエッチングすることにより、半導体基板上に精度よくトレンチパターンやホールを形成することができ、微細トレンチパターンやホールを有する半導体装置等を簡単にかつ歩留まりよく製造することができる。
本発明の微細パターン形成用樹脂組成物に樹脂成分として使用できる重合体は、式(1)で表されるフェノール類に由来する水酸基(−OH)と高分子側鎖内にアミド基とを有する繰返し単位と、式(2)で表される(メタ)アクリル酸誘導体由来の繰返し単位および/または式(3)で表されるスチレン誘導体由来の繰返し単位とを含む重合体である。この重合体を用いることにより、エッチング耐性に優れた微細パターン形成用樹脂組成物が得られる。
また、式(1−1)で表される単量体は、重合体を構成する全単量体に対して、通常30〜95モル%、好ましくは40〜90モル%配合される。30モル%未満であると、微細パターン形成用樹脂組成物の樹脂成分として使用した場合に、後述する架橋成分との反応部位が少なすぎ、パターンの収縮を起こすことができず、95モル%をこえると、アルコール溶剤への溶解不良を起こし、パターン欠陥の原因となるおそれがある。
R1は、式(2)におけるR1と同一であり、1価の有機基を表す。1価の有機基としては、α位の炭素原子にフルオロアルキル基を有するフッ素アルコール基、炭素数1〜20の1価の炭化水素基が挙げられる。
上記の中で、式(2−1−1)としては、R3が2,5−ノルボルニレン基、1,2−プロピレン基が好ましい。
好適な式(2−1−1)としては、4,4,4−トリフルオロ−3−ヒドロキシ−1−メチル−3−トリフルオロメチル−1−ブチルメタクリレートが挙げられる。
また、式(2−1)で表される単量体の酸素原子と結合している炭素原子にメチル基、エチル基等の置換基を有する上記単環式炭化水素環基、架橋環式炭化水素環基等を挙げることができる。
式(2−1)の単量体は、重合体を構成する全単量体に対して、通常5〜70モル%、好ましくは、10〜60モル%できる。
式(3−1)において、R2は水素原子または1価の有機基を表す。1価の有機基としてはフェノール性水酸基またはその誘導体が挙げられる。
式(3−1)で表される単量体としては、スチレン、p−t−ブトキシスチレン、p−ヒドロキシスチレン、m−ヒドロキシスチレン、o−ヒドロキシスチレン、α−メチル−p−ヒドロキシスチレン、α−メチル−m−ヒドロキシスチレン、α−メチル−o−ヒドロキシスチレン、2−アリルフェノール、4−アリルフェノール、2−アリル−6−メチルフェノール、2−アリル−6−メトキシフェノール、4−アリル−2−メトキシフェノール、4−アリル−2,6−ジメトキシフェノール、4−アリルオキシ−2−ヒドロキシベンゾフェノン等を例示することができ、これらの中で、スチレンまたはp−t−ブトキシスチレンが好ましい。
式(3−1)の単量体は、重合体を構成する全単量体に対して、通常5〜70モル%、好ましくは、10〜60モル%配合できる。
上記重合に使用される溶媒としては、例えば、n−ペンタン、n−ヘキサン、n−ヘプタン、n−オクタン、n−ノナン、n−デカン等のアルカン類;シクロヘキサン、シクロヘプタン、シクロオクタン、デカリン、ノルボルナン等のシクロアルカン類;ベンゼン、トルエン、キシレン、エチルベンゼン、クメン等の芳香族炭化水素類;クロロブタン類、ブロモヘキサン類、ジクロロエタン類、ヘキサメチレンジブロミド、クロロベンゼン等のハロゲン化炭化水素類;酢酸エチル、酢酸n−ブチル、酢酸i−ブチル、プロピオン酸メチル、プロピレングリコールモノメチルエーテルアセテート等の飽和カルボン酸エステル類;γ−ブチロラクトン等のアルキルラクトン類;テトラヒドロフラン、ジメトキシエタン類、ジエトキシエタン類等のエーテル類;2−ブタノン、2−ヘプタノン、メチルイソブチルケトン等のアルキルケトン類;シクロヘキサノン等のシクロアルキルケトン類;2−プロパノール、1−ブタノール、4−メチル−2−ペンタノール、プロピレングリコールモノメチルエーテル等のアルコール類等を挙げられる。これらの溶媒は、単独であるいは2種以上を組み合わせて使用することができる。
上記のような方法で得られた重合体の精製方法として、以下の方法が挙げられる。金属等の不純物を除去する方法としては、ゼータ電位フィルターを用いて重合溶液中の金属を吸着させる方法、蓚酸、スルホン酸等の酸性水溶液で重合溶液を洗浄することで金属をキレート状態にして除去する方法等が挙げられる。また、残留する単量体やオリゴマー成分を規定値以下に除去する方法としては、水洗や適切な溶媒を組み合わせることにより残留する単量体やオリゴマー成分を除去する液々抽出法、特定の分子量以下のもののみを抽出除去する透析や限外濾過等の溶液状態での精製方法、重合溶液を貧溶媒へ滴下することで樹脂を貧溶媒中に凝固させることにより残留する単量体等を除去する再沈澱法、濾別した樹脂スラリー貧溶媒で洗浄する等の固体状態での精製方法等が挙げられる。また、これらの方法を組み合わせてもよい。
架橋成分としては、下記式(4)で表される基を含む化合物(以下、「架橋成分I」という)、反応性基として2つ以上の環状エーテルを含む化合物(以下、「架橋成分II」という)、または、「架橋成分I」および「架橋成分II」との混合物が挙げられる。
上記架橋成分は上述した水酸基を含有する樹脂および/または架橋成分が相互に酸の作用により反応する架橋成分(硬化成分)として作用するものである。
市販されている化合物としては、サイメル300、同301、同303、同350、同232、同235、同236、同238、同266、同267、同285、同1123、同1123−10、同1170、同370、同771、同272、同1172、同325、同327、同703、同712、同254、同253、同212、同1128、同701、同202、同207(以上、日本サイテックインダストリーズ社製)、ニカラックMW−30M、同30、同22、同24X、ニカラックMS−21、同11、同001、ニカラックMX−002、同730、同750、同708、同706、同042、同035、同45、同410、同302、同202、ニカラックSM−651、同652、同653、同551、同451、ニカラックSB−401、同355、同303、同301、同255、同203、同201、ニカラックBX−4000、同37、同55H、ニカラックBL−60(以上、三和ケミカル社製)などを挙げることができる。好ましくは、式1におけるR1、R2のどちらか一方が水素原子であり、すなわち、イミノ基を含有する架橋成分であるサイメル325、同327、同703、同712、同254、同253、同212、同1128、同701、同202、同207が好ましい。
上述した架橋成分は、単独であるいは2種以上を組み合わせて使用することができる。
また、上記重合体および架橋成分の合計量は、後述するアルコール溶媒を含めた樹脂組成物全体に対して、0.1〜30質量%、好ましくは1〜20質量%である。上記重合体および架橋成分の合計量が、0.1質量%未満では塗膜が薄くなりすぎパターンエッチ部に膜切れを起こすおそれがあり、30質量%をこえると粘度が高くなりすぎ微細なパターンへ埋め込むことができないおそれがある。
そのような溶媒としては、炭素数1〜8の1価アルコールであることが好ましい。例えば、1−プロパノール、イソプロパノール、1−ブタノール、2−ブタノール、t−ブタノール、1−ペンタノール、2−ペンタノール、3−ペンタノール、2−メチル−1−ブタノール、3−メチル−1−ブタノール、3−メチル−2−ブタノール、1−ヘキサノール、2−ヘキサノール、3−ヘキサノール、2−メチル−1−ペンタノール、2−メチル−2−ペンタノール、2−メチル−3−ペンタノール、3−メチル−1−ペンタノール、3−メチル−2−ペンタノール、3−メチル−3−ペンタノール、4−メチル−1−ペンタノール、4−メチル−2−ペンタノール、1−ヘプタノール、2−ヘプタノール、2−メチル−2−ヘプタノール、2−メチル−3−ヘプタノールなどが挙げられ、1−ブタノール、2−ブタノール、4−メチルー2−ペンタノールが好ましい。これらのアルコール溶媒は、単独であるいは2種以上を組み合わせて使用することができる。
また、アルコール溶媒は、全溶媒に対して10質量%以下、好ましくは1質量%以下の水を含むことができる。10質量%をこえると水酸基を有する樹脂の溶解性が低下する。より好ましくは、水を含有しない無水アルコール溶媒である。
他の溶媒としては、テトラヒドロフラン、ジオキサンなどの環状エーテル類;エチレングリコールモノメチルエーテル、エチレングリコールモノエチルエーテル、エチレングリコールジメチルエーテル、エチレングリコールジエチルエーテル、ジエチレングリコールモノメチルエーテル、ジエチレングリコールモノエチルエーテル、ジエチレングリコールジメチルエーテル、ジエチレングリコールジエチルエーテル、ジエチレングリコールエチルメチルエーテル、プロピレングリコールモノメチルエーテル、プロピレングリコールモノエチルエーテルなどの多価アルコールのアルキルエーテル類;エチレングリコールエチルエーテルアセテート、ジエチレングリコールエチルエーテルアセテート、プロピレングリコールエチルエーテルアセテート、プロピレングリコールモノメチルエーテルアセテートなどの多価アルコールのアルキルエーテルアセテート類;トルエン、キシレンなどの芳香族炭化水素類;アセトン、メチルエチルケトン、メチルイソブチルケトン、シクロヘキサノン、4−ヒドロキシ−4−メチル−2−ペンタノン、ジアセトンアルコールなどのケトン類;酢酸エチル、酢酸ブチル、2−ヒドロキシプロピオン酸エチル、2−ヒドロキシ−2−メチルプロピオン酸エチル、2−ヒドロキシ−2−メチルプロピオン酸エチル、エトキシ酢酸エチル、ヒドロキシ酢酸エチル、2−ヒドロキシ−3−メチルブタン酸メチル、3−メトキシプロピオン酸メチル、3−メトキシプロピオン酸エチル、3−エトキシプロピオン酸エチル、3−エトキシプロピオン酸メチル、酢酸エチル、酢酸ブチルなどのエステル類、水が挙げられる。これらのうち、環状エーテル類、多価アルコールのアルキルエーテル類、多価アルコールのアルキルエーテルアセテート類、ケトン類、エステル類、水が好ましい。
そのような界面活性剤としては、例えばBM−1000、BM−1100(以上、BMケミー社製)、メガファックF142D、同F172、同F173、同F183(以上、大日本インキ化学工業(株)製)、フロラードFC−135、同FC−170C、同FC−430、同FC−431(以上、住友スリーエム(株)製)、サーフロンS−112、同S−113、同S−131、同S−141、同S−145(以上、旭硝子(株)製)、SH−28PA、同−190、同−193、SZ−6032、SF−8428(以上、東レダウコーニングシリコーン(株)製)などの商品名で市販されているフッ素系界面活性剤を使用することができる。
これらの界面活性剤の配合量は、本発明の重合体100質量部に対して好ましくは5質量部以下である。
スピンコートなどの従来公知の方法により8インチあるいは12インチのシリコンウエハ基板上に反射防止膜(有機膜あるいは無機膜)を形成する。次いで、スピンコートなどの従来公知の方法によりフォトレジストを塗布し、例えば、80℃〜140℃程度、60〜120秒程度の条件でプリベーク(PB)を行なう。その後、g線、i線などの紫外線、KrFエキシマレーザー光、ArFエキシマレーザー光、X線、電子線などで露光をし、例えば、80℃〜140℃程度の条件でポストイクスポージャーベーク(PEB)を行なった後、現像し、レジストパターンを形成する。
(2)微細パターンの形成
上記レジストパターンが形成された基板に、スピンコートなどの従来公知の方法により上記微細パターン形成用樹脂組成物を塗布する。スピンコートのみで溶剤が揮散し被覆膜を形成する場合がある。また、必要に応じて、例えば、80℃〜110℃程度、60〜120秒程度のプリベーク(PB)し、微細パターン形成用樹脂組成物の被覆膜を形成する。
次いで、このレジストパターンを微細パターン形成用樹脂組成物により被覆した基板を熱処理する。熱処理により、フォトレジスト由来の酸がフォトレジストとの界面から微細パターン形成用樹脂組成物層中に拡散し、微細パターン形成用樹脂組成物は架橋反応を起こす。フォトレジスト界面からの架橋反応状態は、微細パターン形成用樹脂組成物の材料、使用されるフォトレジスト、ベーク処理温度およびベーク処理時間により決定される。熱処理温度および熱処理時間は、通常90℃〜160℃程度の温度で、60〜120秒程度で行なわれる。
次いで、微細パターン形成用樹脂組成物の被覆膜を、テトラメチルアンモニウムヒドロキシド(TMAH)などのアルカリ水溶液などにより現像処理(例えば、60〜120秒程度)して、未架橋の微細パターン形成用樹脂組成物の被覆膜を溶解させて除去する。最後に水で洗浄処理することにより、ホールパターンや楕円パターン、トレンチパターンなどを微細化することができる。
ポリビニルアルコールとして市販の平均重合度900〜1,100、けん化度96%以上を使用した。この重合体を樹脂P−6とする。
p−ヒドロキシメタクリルアニリド(P−3−1)70g、t−ブチルメタクリレート(P−3−2)30g、アゾビスイソブチロニトリル5g、2,4−ジフェニル−4−メチル−1−ペンテン3gをメタノール/イソプロピルアルコール混合溶剤(1:1)に溶解し、還流条件(70℃)にて8時間重合反応を行なった。重合液をメタノール/水再沈精製およびイソプロピルアルコール/ヘプタン再沈精製し、Mw5,200、Mw/Mn1.67のp−ヒドロキシメタクリルアニリド/t−ブチルメタクリレート=70/30(モル比)からなる重合体75gを得た。この重合体を樹脂P−8とする。
p−ヒドロキシメタクリルアニリド(P−3−1)70g、t−ブチルメタクリレート(P−3−2)30g、アゾビスイソブチロニトリル6g、2,4−ジフェニル−4−メチル−1−ペンテン1gをメタノール/イソプロピルアルコール混合溶剤に溶解し、還流条件(70℃)にて8時間重合反応を行なった。重合液をメタノール/水再沈精製およびイソプロピルアルコール/ヘプタン再沈精製し、Mw8,100、Mw/Mn1.97のp−ヒドロキシメタクリルアニリド/t−ブチルメタクリレート=70/30(モル比)からなる重合体80gを得た。この重合体を樹脂P−9とする。
p−ヒドロキシメタクリルアニリド(P−3−1)60g、t−ブチルメタクリレート(P−3−2)40g、アゾビスイソブチロニトリル7g、2,4−ジフェニル−4−メチル−1−ペンテン1gをメタノール/イソプロピルアルコール混合溶剤に溶解し、還流条件(70℃)にて8時間重合反応を行なった。重合液をメタノール/水再沈精製およびイソプロピルアルコール/ヘプタン再沈精製し、Mw6,900、Mw/Mn1.85のp−ヒドロキシメタクリルアニリド/t−ブチルメタクリレート=60/40(モル比)からなる重合体80gを得た。この重合体を樹脂P−10とする。
表1に示す割合で、実施例1〜実施例8で得られた樹脂、架橋成分、アルコール溶媒およびその他添加剤を加え、攪拌羽根を使用して3時間攪拌した(100rpm)後、孔径100nmのフィルターを使用して濾過して、評価用の微細パターン形成用樹脂組成物No1〜No19を得た。評価例1〜評価例19として表1に示す。また、比較評価例を比較例1〜比較例3として表1に示す。
各評価例および比較評価例に用いた架橋成分およびアルコール溶媒を以下に示す。
架橋成分
C−1:サイメル300(日本サイテックインダストリーズ社製、商品名)
C−2:サイメル325(日本サイテックインダストリーズ社製、商品名)
C−3:ニカラックMX−750(三和ケミカル社製、商品名)
アルコール溶媒その他
S−1:1−ブタノール
S−2:4−メチルー2−ペンタノール
S−3:水
A−1:t−ブチル−1−ピロリジンカルボキシレート
A−2:トリブチルアミン
8インチシリコンウェハ上に下層反射防止膜ARC29A(ブルワーサイエンス社製)をCLEAN TRACK ACT8(東京エレクトロン(株))でスピンコートにより膜厚77nm(PB205℃、60秒)で塗膜を形成した後、JSR ArF AR1244J(JSR株式会社製、脂環族系感放射線性樹脂組成物)のパターニングを実施する。AR1244Jは、スピンコート(CLEAN TRACK ACT8)、PB(130℃、90秒)により膜厚210nmとして塗布し、ArF投影露光装置S306C(ニコン(株))で、NA:0.78、シグマ:0.85、2/3Annの光学条件にて露光(露光量30mJ/cm2)を行ない、同CLEAN TRACK ACT8ホットプレートにてPEB(130℃、90秒)を行ない、同CLEAN TRACK ACT8のLDノズルにてパドル現像(60秒間)、超純水にてリンス、次いで4000rpmで15秒間振り切りによりスピンドライし、評価用基板を得た。この工程で得られた基板を評価用基板Aとする。同一条件で作製した評価用基板Aを複数枚準備した。
得られた評価用基板を走査型電子顕微鏡(日立計測器(株)製S−9360)で100nm径ホールパターン、100nmスペースのマスクパターン(バイアス+30nm/マスク上は130nm径パターン/70nmスペース)に該当するパターンを観察し、レジストパターンのホール径を測定した。
(1)埋め込み性評価
上記評価用基板A上に、表1記載の微細パターン形成用樹脂組成物をCLEAN TRACK ACT8にてスピンコートにより、膜厚300nmの塗膜を得た。ついで、走査型電子顕微鏡(日立計測器(株)製S−4800)を用いて100nm径パターン部の断面を20箇所観察し、パターン内に気泡などの空隙部がないものを埋め込み性良好と判断して「〇」、観察されたものを埋め込み性不良をして「×」とした。
(2)収縮率評価
上記評価用基板A上に、表1記載の微細パターン形成用樹脂組成物をCLEAN TRACK ACT8にてスピンコートにより、膜厚300nm塗布した後、レジストパターンと微細パターン形成用樹脂組成物を反応させるため、表1記載の収縮率評価ベーク条件でベークを行なった。ついで、同CLEAN TRACK ACT8のLDノズルにて2.38質量%TMAH水溶液を現像液としてパドル現像(60秒間)、超純水にてリンス、次いで4000rpmで15秒間振り切りによりスピンドライした。この工程で得られた基板を評価用基板Bとする。
ただし、比較例1〜3の現像は、超純水を現像液として用い同CLEAN TRACK ACT8のLDノズルにてパドル現像(60秒間)、次いで4000rpmで15秒間振り切りによりスピンドライした。
パターン寸法の収縮率は、走査型電子顕微鏡(日立計測器(株)製S−9360)で100nm径ホールパターン、100nmスペースのマスクパターン(バイアス+30nm/マスク上は130nm径パターン/70nmスペース)に該当するパターンを観察し、パターンのホール径を測定し、下記式より収縮率を算出した。
収縮率(%)=[(φ1−φ2)/φ1]×100
φ1:評価用基板Aのレジストパターンホール径(nm)
φ2:評価用基板Bのレジストパターンホール径(nm)
このとき、収縮が確認されたとき「〇」、収縮が確認されないもしくはパターンがつぶれてしまっているとき「×」とした。なお、比較例1〜3は、埋め込み性が均一でなく、収縮率にばらつきが大きく、評価が不可であるため、表2において*印で示してある。さらに評価例2、5、6、14、17〜19は、評価用基板Bにおいて、上記評価方法と同様に100nm径ホールパターン、560nmスペースのマスクパターン(バイアス+40nm/マスク上は140nmパターン/520nmスペース)に該当するパターンも観察し、ピッチ依存性を評価した。評価例2、5、6、14、17〜19のピッチ依存性は小さかった。
(3)残さ評価
評価用基板Bを走査型電子顕微鏡(日立計測器(株)製S−4800)で100nm径ホールパターン、100nmスペースのマスクパターン(バイアス+30nm/マスク上は130nm径パターン/70nmスペース)に該当するパターンの断面を観察し、開口部底部に残さがないとき「〇」、残さが観察されたとき「×」とした。
(4)パターン収縮後形状評価
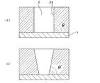
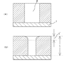
評価用基板Aおよび評価用基板Bにおいて、走査型電子顕微鏡(日立計測器(株)製S−4800)で100nm径ホールパターン、100nmスペースのマスクパターン(バイアス+30nm/マスク上は130nmパターン/70nmスペース)に該当し、かつ同位置に存在するパターンの断面をそれぞれ観察する。断面形状を図1および図2に示す。基板1に対するホールパターン2の側壁2の角度がパターン収縮前の角度θ(図1(a))とパターン収縮後の角度θ’(図1(b))で3度以下の差であること(図1参照)、かつ評価用基板A(図2(a))におけるレジストの膜厚tを100として、基板1から80をこえる部分でのみ評価用基板B上のパターンに劣化t’が認められるものを良好とし(図2(b))、その他は不良とした(図2参照)。なお、比較例1〜3は埋め込み性が均一でなく、収縮率にばらつきが大きく、評価が不可であるため、表2において*印で示してある。
(5)パターン欠陥評価
評価例2、5、12〜14、17〜19および比較例3につき、パターン欠陥評価を行なった。フォトレジストにパターンを形成した後、欠陥測定を行ない、微細パターン形成用樹脂組成物を塗布、ベーク、現像処理後、更に同じ条件にて、欠陥測定装置(KLA-Tencor社製UV明視野パターン付ウェーハ欠陥検査装置2351)を用いて、欠陥測定を行なった。測定条件は、8インチウエハ上に150nmホール/300nmピッチのパターンを形成して37.590cm2の測定範囲の欠陥を測定した。欠陥の種類としては、パターンを微細化させる前後の座標が一致している欠陥と、パターンを微細化させた後の欠陥で、微細化前と座標が一致していない欠陥とを測定した。これらの欠陥数の合計が40個以下を「○」、40個をこえる場合を「×」とした。
(6)エッチング耐性評価
評価用基板Bに対して、PMT社製ドライエッチング装置(Pinnacle8000)を用い、エッチングガスをCF4とし、ガス流量75sccm、圧力2.5mTorr、出力2,500Wの条件でドライエッチングを行なって、主にホールパターンの断面およびホールパターン周辺の荒れを断面SEMから観察した。評価の指標として、観察時に断面および表面の凹凸がくっきりと観察される場合を不良、比較的凹凸の少ない場合を良好とした。
(7)ベーク温度依存性
評価例2、5、6、14、17〜19について、前記収縮率評価と同様の評価を行ない(ただし温度は表1に示されるベーク温度依存性評価温度範囲)、収縮率のベーク温度依存性(%/℃)を測定した。評価結果を表2に示す。
2 ホールパターン
Claims (3)
- 下記式(1)で表される繰返し単位と、下記式(2)および下記式(3)で表される繰返し単位から選ばれる少なくとも1つの繰返し単位とを含み、ゲルパーミエーションクロマトグラフィ法により測定したポリスチレン換算質量平均分子量が1,000〜500,000である重合体からなる樹脂成分と、該樹脂成分を架橋できる架橋成分と、1−プロパノール、イソプロパノール、1−ブタノール、2−ブタノール、t−ブタノール、1−ペンタノール、2−ペンタノール、3−ペンタノール、2−メチル−1−ブタノール、3−メチル−1−ブタノール、3−メチル−2−ブタノール、1−ヘキサノール、2−ヘキサノール、3−ヘキサノール、2−メチル−1−ペンタノール、2−メチル−2−ペンタノール、2−メチル−3−ペンタノール、3−メチル−1−ペンタノール、3−メチル−2−ペンタノール、3−メチル−3−ペンタノール、4−メチル−1−ペンタノール、4−メチル−2−ペンタノール、1−ヘプタノール、2−ヘプタノール、2−メチル−2−ヘプタノール、および、2−メチル−3−ヘプタノールから選ばれる少なくとも1つのアルコールに、全溶媒に対して10質量%以下の水を含む溶媒とを含み、レジストパターン上に形成された被覆膜がフォトレジスト由来の酸により架橋して、前記レジストパターン間隙を微細化することを特徴とする微細パターン形成用樹脂組成物。
(式(1)〜式(3)において、R、R'およびR''は水素原子またはメチル基を表し、R1は1価の有機基を表し、R2は水素原子または1価の有機基を表す。) - 基板上にフォトレジストを用いてレジストパターンを形成する工程と、
前記レジストパターンが形成された基板に微細パターン形成用樹脂組成物を塗布して被覆膜を形成する工程と、
前記フォトレジスト由来の酸により前記微細パターン形成用樹脂組成物を架橋させる工程と、
アルカリ水溶液により現像処理する工程とを含む微細パターン形成方法であって、
前記微細パターン形成用樹脂組成物が請求項1または請求項2記載の微細パターン形成用樹脂組成物であることを特徴とする微細パターン形成方法。
Priority Applications (1)
| Application Number | Priority Date | Filing Date | Title |
|---|---|---|---|
| JP2006082967A JP4952012B2 (ja) | 2005-03-29 | 2006-03-24 | 微細パターン形成用樹脂組成物および微細パターン形成方法 |
Applications Claiming Priority (3)
| Application Number | Priority Date | Filing Date | Title |
|---|---|---|---|
| JP2005093384 | 2005-03-29 | ||
| JP2005093384 | 2005-03-29 | ||
| JP2006082967A JP4952012B2 (ja) | 2005-03-29 | 2006-03-24 | 微細パターン形成用樹脂組成物および微細パターン形成方法 |
Publications (2)
| Publication Number | Publication Date |
|---|---|
| JP2006307179A JP2006307179A (ja) | 2006-11-09 |
| JP4952012B2 true JP4952012B2 (ja) | 2012-06-13 |
Family
ID=37474414
Family Applications (1)
| Application Number | Title | Priority Date | Filing Date |
|---|---|---|---|
| JP2006082967A Expired - Fee Related JP4952012B2 (ja) | 2005-03-29 | 2006-03-24 | 微細パターン形成用樹脂組成物および微細パターン形成方法 |
Country Status (1)
| Country | Link |
|---|---|
| JP (1) | JP4952012B2 (ja) |
Families Citing this family (19)
| Publication number | Priority date | Publication date | Assignee | Title |
|---|---|---|---|---|
| JP4844439B2 (ja) * | 2007-03-14 | 2011-12-28 | Jsr株式会社 | 微細パターン形成用樹脂組成物および微細パターン形成方法 |
| JPWO2008114644A1 (ja) * | 2007-03-16 | 2010-07-01 | Jsr株式会社 | レジストパターン形成方法及びそれに用いるレジストパターン不溶化樹脂組成物 |
| JPWO2008143301A1 (ja) * | 2007-05-23 | 2010-08-12 | Jsr株式会社 | パターン形成方法及びそれに用いる樹脂組成物 |
| WO2008153155A1 (ja) * | 2007-06-15 | 2008-12-18 | Fujifilm Corporation | パターン形成用表面処理剤、及び該処理剤を用いたパターン形成方法 |
| JP2009016657A (ja) * | 2007-07-06 | 2009-01-22 | Tokyo Electron Ltd | レジストパターンの再形成方法 |
| JP5045759B2 (ja) * | 2007-09-27 | 2012-10-10 | Jsr株式会社 | 微細パターン形成用樹脂組成物および微細パターン形成方法 |
| TWI505046B (zh) * | 2008-01-24 | 2015-10-21 | Jsr Corp | 光阻圖型之形成方法及微細化光阻圖型之樹脂組成物 |
| JP5029390B2 (ja) * | 2008-01-28 | 2012-09-19 | Jsr株式会社 | 重合体の精製方法 |
| JP2009265505A (ja) * | 2008-04-28 | 2009-11-12 | Jsr Corp | パターン形成方法及び微細パターン形成用樹脂組成物 |
| TWI497200B (zh) * | 2008-09-19 | 2015-08-21 | Jsr Corp | 光阻圖型塗佈劑及光阻圖型之形成方法 |
| TW201027247A (en) * | 2008-10-21 | 2010-07-16 | Jsr Corp | Resist pattern coating agent and process for producing resist pattern using |
| TW201031696A (en) * | 2008-11-28 | 2010-09-01 | Jsr Corp | Resist pattern coating agent and process for producing resist pattern using the same |
| JP2010250263A (ja) * | 2009-03-25 | 2010-11-04 | Jsr Corp | レジストパターン形成方法及びそれに用いるレジストパターン不溶化樹脂組成物 |
| JP5375412B2 (ja) * | 2009-07-30 | 2013-12-25 | Jsr株式会社 | 微細パターン形成用樹脂組成物および微細パターン形成方法 |
| JP2011033884A (ja) * | 2009-08-03 | 2011-02-17 | Jsr Corp | レジストパターンコーティング剤及びレジストパターン形成方法 |
| JP2011059583A (ja) * | 2009-09-14 | 2011-03-24 | Jsr Corp | 微細パターン形成用樹脂組成物および微細パターン形成方法、ならびに重合体 |
| JP5988050B2 (ja) * | 2011-05-20 | 2016-09-07 | 日産化学工業株式会社 | アクリルアミド構造を含むポリマーを含むリソグラフィー用有機ハードマスク層形成用組成物 |
| JP5705669B2 (ja) * | 2011-07-14 | 2015-04-22 | メルクパフォーマンスマテリアルズIp合同会社 | 微細パターン形成用組成物およびそれを用いた微細化されたパターン形成方法 |
| JP5758263B2 (ja) | 2011-10-11 | 2015-08-05 | メルク、パテント、ゲゼルシャフト、ミット、ベシュレンクテル、ハフツングMerck Patent GmbH | 微細レジストパターン形成用組成物およびそれを用いたパターン形成方法 |
Family Cites Families (5)
| Publication number | Priority date | Publication date | Assignee | Title |
|---|---|---|---|---|
| JPS6452139A (en) * | 1987-05-18 | 1989-02-28 | Konishiroku Photo Ind | Photosensitive composition |
| JP3950584B2 (ja) * | 1999-06-29 | 2007-08-01 | Azエレクトロニックマテリアルズ株式会社 | 水溶性樹脂組成物 |
| JP4348499B2 (ja) * | 2000-08-16 | 2009-10-21 | 信越化学工業株式会社 | 微細めっきパターン形成組成物 |
| JP2003064133A (ja) * | 2001-08-23 | 2003-03-05 | Idemitsu Petrochem Co Ltd | 生分解性重合体とその製造法 |
| JP2003270779A (ja) * | 2002-01-11 | 2003-09-25 | Fuji Photo Film Co Ltd | ネガ型レジスト組成物 |
-
2006
- 2006-03-24 JP JP2006082967A patent/JP4952012B2/ja not_active Expired - Fee Related
Also Published As
| Publication number | Publication date |
|---|---|
| JP2006307179A (ja) | 2006-11-09 |
Similar Documents
| Publication | Publication Date | Title |
|---|---|---|
| JP4893402B2 (ja) | 微細パターン形成方法 | |
| JP4687651B2 (ja) | 微細パターン形成用樹脂組成物および微細パターン形成方法 | |
| JP4952012B2 (ja) | 微細パターン形成用樹脂組成物および微細パターン形成方法 | |
| KR102346806B1 (ko) | 포토레지스트 패턴 트리밍 조성물 및 방법 | |
| KR101433565B1 (ko) | 액침용 상층막 형성용 조성물 및 액침용 상층막 및 포토레지스트 패턴 형성 방법 | |
| JP5392095B2 (ja) | レジストパターン形成方法及びレジストパターン微細化樹脂組成物 | |
| JP2011059583A (ja) | 微細パターン形成用樹脂組成物および微細パターン形成方法、ならびに重合体 | |
| JP5375412B2 (ja) | 微細パターン形成用樹脂組成物および微細パターン形成方法 | |
| JP5045759B2 (ja) | 微細パターン形成用樹脂組成物および微細パターン形成方法 | |
| JP5233985B2 (ja) | 微細パターン形成用樹脂組成物及び微細パターン形成方法 | |
| JP2011081041A (ja) | レジストパターンコーティング剤及びレジストパターン形成方法 | |
| JP2009085989A (ja) | 微細パターン形成用樹脂組成物および微細パターン形成方法 | |
| JP4650375B2 (ja) | 微細パターン形成用樹脂組成物及び微細パターン形成方法 | |
| JP4844439B2 (ja) | 微細パターン形成用樹脂組成物および微細パターン形成方法 | |
| JP5029390B2 (ja) | 重合体の精製方法 | |
| WO2010061833A1 (ja) | レジストパターンコーティング剤およびレジストパターン形成方法 | |
| JP2009235188A (ja) | 重合体 | |
| JP2009265505A (ja) | パターン形成方法及び微細パターン形成用樹脂組成物 | |
| KR100688569B1 (ko) | 플루오르를 함유하는 탑 코팅 조성물과 이를 이용한포토레지스트 패턴 형성 방법 |
Legal Events
| Date | Code | Title | Description |
|---|---|---|---|
| A621 | Written request for application examination |
Free format text: JAPANESE INTERMEDIATE CODE: A621 Effective date: 20081205 |
|
| A977 | Report on retrieval |
Free format text: JAPANESE INTERMEDIATE CODE: A971007 Effective date: 20110516 |
|
| A131 | Notification of reasons for refusal |
Free format text: JAPANESE INTERMEDIATE CODE: A131 Effective date: 20110524 |
|
| A521 | Request for written amendment filed |
Free format text: JAPANESE INTERMEDIATE CODE: A523 Effective date: 20110721 |
|
| A02 | Decision of refusal |
Free format text: JAPANESE INTERMEDIATE CODE: A02 Effective date: 20110816 |
|
| A521 | Request for written amendment filed |
Free format text: JAPANESE INTERMEDIATE CODE: A523 Effective date: 20111114 |
|
| A911 | Transfer to examiner for re-examination before appeal (zenchi) |
Free format text: JAPANESE INTERMEDIATE CODE: A911 Effective date: 20111125 |
|
| TRDD | Decision of grant or rejection written | ||
| A01 | Written decision to grant a patent or to grant a registration (utility model) |
Free format text: JAPANESE INTERMEDIATE CODE: A01 Effective date: 20120214 |
|
| A01 | Written decision to grant a patent or to grant a registration (utility model) |
Free format text: JAPANESE INTERMEDIATE CODE: A01 |
|
| A61 | First payment of annual fees (during grant procedure) |
Free format text: JAPANESE INTERMEDIATE CODE: A61 Effective date: 20120227 |
|
| R150 | Certificate of patent or registration of utility model |
Ref document number: 4952012 Country of ref document: JP Free format text: JAPANESE INTERMEDIATE CODE: R150 Free format text: JAPANESE INTERMEDIATE CODE: R150 |
|
| FPAY | Renewal fee payment (event date is renewal date of database) |
Free format text: PAYMENT UNTIL: 20150323 Year of fee payment: 3 |
|
| FPAY | Renewal fee payment (event date is renewal date of database) |
Free format text: PAYMENT UNTIL: 20150323 Year of fee payment: 3 |
|
| R250 | Receipt of annual fees |
Free format text: JAPANESE INTERMEDIATE CODE: R250 |
|
| R250 | Receipt of annual fees |
Free format text: JAPANESE INTERMEDIATE CODE: R250 |
|
| R250 | Receipt of annual fees |
Free format text: JAPANESE INTERMEDIATE CODE: R250 |
|
| R250 | Receipt of annual fees |
Free format text: JAPANESE INTERMEDIATE CODE: R250 |
|
| R250 | Receipt of annual fees |
Free format text: JAPANESE INTERMEDIATE CODE: R250 |
|
| R250 | Receipt of annual fees |
Free format text: JAPANESE INTERMEDIATE CODE: R250 |
|
| R250 | Receipt of annual fees |
Free format text: JAPANESE INTERMEDIATE CODE: R250 |
|
| R250 | Receipt of annual fees |
Free format text: JAPANESE INTERMEDIATE CODE: R250 |
|
| R250 | Receipt of annual fees |
Free format text: JAPANESE INTERMEDIATE CODE: R250 |
|
| R250 | Receipt of annual fees |
Free format text: JAPANESE INTERMEDIATE CODE: R250 |
|
| LAPS | Cancellation because of no payment of annual fees |
