JP4944722B2 - 防水床パン積載用の緩衝材 - Google Patents

防水床パン積載用の緩衝材 Download PDF

Info

Publication number
JP4944722B2
JP4944722B2 JP2007248152A JP2007248152A JP4944722B2 JP 4944722 B2 JP4944722 B2 JP 4944722B2 JP 2007248152 A JP2007248152 A JP 2007248152A JP 2007248152 A JP2007248152 A JP 2007248152A JP 4944722 B2 JP4944722 B2 JP 4944722B2
Authority
JP
Japan
Prior art keywords
waterproof floor
floor pan
leg
bathtub
rib
Prior art date
Legal status (The legal status is an assumption and is not a legal conclusion. Google has not performed a legal analysis and makes no representation as to the accuracy of the status listed.)
Expired - Fee Related
Application number
JP2007248152A
Other languages
English (en)
Other versions
JP2009078823A (ja
Inventor
久義 野木
Current Assignee (The listed assignees may be inaccurate. Google has not performed a legal analysis and makes no representation or warranty as to the accuracy of the list.)
Panasonic Corp
Panasonic Holdings Corp
Original Assignee
Panasonic Corp
Matsushita Electric Industrial Co Ltd
Priority date (The priority date is an assumption and is not a legal conclusion. Google has not performed a legal analysis and makes no representation as to the accuracy of the date listed.)
Filing date
Publication date
Application filed by Panasonic Corp, Matsushita Electric Industrial Co Ltd filed Critical Panasonic Corp
Priority to JP2007248152A priority Critical patent/JP4944722B2/ja
Publication of JP2009078823A publication Critical patent/JP2009078823A/ja
Application granted granted Critical
Publication of JP4944722B2 publication Critical patent/JP4944722B2/ja
Expired - Fee Related legal-status Critical Current
Anticipated expiration legal-status Critical

Links

Images

Landscapes

  • Packaging Of Machine Parts And Wound Products (AREA)
  • Sink And Installation For Waste Water (AREA)

Description

本発明は、防水床パンをその裏面同士を対向させて載置する際に介在させる緩衝材に関するものである。
従来から、製造した防水床パンを保存又は運搬する際に積載するが(例えば特許文献1参照)、積載するにあたって、その裏面同士を対向させて載置する方法が採られている。
防水床パンは、洗い場部及び浴槽部を一体に形成したもので、裏面に脚部及び格子状のリブを備えている。脚部は、主にアジャスターボルトからなり、床スラブ等の床下地上に載置される。また、格子状のリブは、防水床パンの強度を向上させるために洗い場部及び浴槽部の裏面の大部分に形成してある。
この防水床パンを積載するには、図5に示すように、まず二つの防水床パン1の表面側を、一方の洗い場部11を他方の浴槽部12と対向すると共に一方の浴槽部12を他方の洗い場部11と対向するように重ね合わせて単位ユニットUを形成する。そして、下側の単位ユニットUに平面視において重なるように上側の単位ユニットUを載置して、平面視における面積が大きくならないように積載していくものである。
この時、従来においては、図5に示すように、上下に線対称となるように配置して、上下単位ユニットUの裏面に緩衝材4’を介在させていた。緩衝材4’には上側と下側の端面にリブ嵌入溝が形成してあり、リブ嵌入溝に上下単位ユニットUの裏面のリブ3をそれぞれ嵌入させることで、上下単位ユニットUの相対的な位置を固定することができるものである。
特開平11−245947号公報
しかしながら、上記従来例においては、上下単位ユニットUをそれぞれ上下に線対称となるように配置するため、上下両方の裏面から突出する脚部2が同じ位置になってしまい、干渉を避けるため対向する裏面間の距離を脚部2の長さを合わせた長さよりも長くする必要があり、積載した際の高さが高くなってしまうものであった。
本発明は上記従来の問題点に鑑みて発明したものであって、その目的とするところは、 防水床パンの裏面同士を対向させて載置する際、上下の防水床パンの位置決めがなされると共に積載高さが高くなるのを抑える防水床パン積載用の緩衝材を提供することを課題とするものである。
上記課題を解決するために請求項1に係る発明にあっては、裏面に脚部2及び格子状のリブ3を設けた防水床パン1の裏面同士を対向させて載置する際に裏面間に介在させる防水床パン1積載用の緩衝材4であって、一端面に脚部2の端部が嵌入される脚部嵌入部5を凹設すると共に、前記一端面と反対側の他端面にリブ3が嵌入されるリブ嵌入部6を形成して成ることを特徴とするものである。
このような構成とすることで、上側の防水床パン1の洗い場部11の裏面と、下側の防水床パン1の浴槽部12の裏面とが対向すると共に、上側の防水床パン1の浴槽部12の裏面と、下側の防水床パン1の洗い場部11の裏面とが対向するように、且つ、平面視において上下防水床パン1が重なるようにした状態で、裏面間に緩衝材4を介在させて積載することで、上下の防水床パン1の位置決めを行うと共に積載高さが高くなるのを抑えることが可能となる。
また、請求項2に係る発明は、請求項1に係る発明において、脚部嵌入部5として、一端面から所定の深さの大径凹部52を凹設すると共に、大径凹部52の底面に小径凹部51を凹設して成ることを特徴とするものである。
このような構成とすることで、脚部2の大きさに応じて適当な凹部を大径凹部52、小径凹部51のうちから選択して使用することができ、一種類で二種類の脚部2に対応することが可能となるものである。
本発明にあっては、上側の防水床パンの洗い場部の裏面と、下側の防水床パンの浴槽部の裏面とが対向すると共に、上側の防水床パンの浴槽部の裏面と、下側の防水床パンの洗い場部の裏面とが対向するように、且つ、平面視において上下防水床パンが重なるようにした状態で、裏面間に緩衝材を介在させて積載することで、上下の脚部の位置をずらして干渉を回避することができて、上下の防水床パンの位置決めを行うと共に積載高さが高くなるのを抑えることが可能となる。
以下、本発明の一実施形態について添付図面に基づいて説明する。
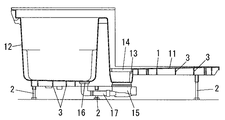
図2に防水床パン1を示す。本例の場合、防水床パン1は洗い場を構成する洗い場部11と浴槽を構成する浴槽部12とを一体に設けてある。この防水床パン1や浴槽部12はFRP、人造大理石等の樹脂成形品である。防水床パン1の裏面側には格子状のリブ3を一体に設けてあり、このリブ3にて防水床パン1を補強してある。このリブ3は一般的に数十cm四方で形成され、高さは30mm〜60mm程度である。本例の場合、浴槽部12の裏面にもリブ3を一体に設けてある。
防水床パン1には洗い場の水を排水する排水口13が設けられ、排水口13には目皿14が装着される。排水口13の下には排水トラップ15が配置され、排水口13が排水トラップ15に連通させられている。浴槽部12の排水口16は連結管17にて排水トラップ15に連通させられており、排水トラップ15が外部に排水する排水管(図示せず)に連結されている。
上記防水床パン1はアジャターボルトからなる脚部2にて床スラブのような床下地の上に設置される。アジャスターボルトからなる脚部2は、防水床パン1の裏面にアジャスターボルトと螺合するナットを埋設したりして螺合孔を形成し、この防水床パン1の裏面に形成した螺合孔にアジャスターボルトを螺合させる。この時、アジャスターボルトの螺進度合いを変えてアジャスターボルトの突出長さを調節することで、床下地上に設置した際の防水床パン1の設置高さを調節するものである。
この防水床パン1の積載について説明する。防水床パン1を積載するには、まず二つの防水床パン1の表面側を、一方の洗い場部11を他方の浴槽部12と対向すると共に一方の浴槽部12を他方の洗い場部11と対向するように重ね合わせて単位ユニットUを形成する。
次に、単位ユニットUを積載するのであるが、ここで、上側の単位ユニットUの下側の防水床パン1の洗い場部11の裏面と、下側の単位ユニットUの上側の防水床パン1の浴槽部12の裏面とが対向すると共に、上側の単位ユニットUの下側の防水床パン1の浴槽部12の裏面と、下側の単位ユニットUの上側の防水床パン1の洗い場部11の裏面とが対向するように、且つ、平面視において上下単位ユニットUが重なるようにした状態で、緩衝材4を介在させて積載する。
ここで、アジャスターボルトは、本実施形態では、浴槽部12の洗い場部11側と反対側の端部(浴槽部12側端部という)近傍の両側に2箇所、洗い場部11の浴槽部12側と反対側の端部(洗い場部11側端部という)近傍の両側に2箇所、洗い場部11の浴槽部12側の端部近傍の両側に2箇所の計6箇所に突設してある。そして、浴槽部12側端部近傍の2箇所のアジャスターボルトの浴槽部12側端部からの距離と、洗い場部11側端部近傍の2箇所のアジャスターボルトの洗い場部11側端部からの距離は、異なっている。また、洗い場部11の浴槽部12側の端部近傍の2箇所のアジャスターボルトは、浴槽部12側端部と洗い場部11側端部の中央からいずれかの側にずれた位置に設けてある。これにより、上記のように単位ユニットUを積載した時に、上側の単位ユニットUのアジャスターボルトと下側の単位ユニットUのアジャスターボルトの平面視における位置を異ならせることができる。
緩衝材4は、図1に示すように、一端面に脚部2の端部が嵌入される脚部嵌入部5を凹設すると共に、前記一端面と反対側の他端面にリブ3が嵌入されるリブ嵌入部6を形成したものである。詳述すると、本実施形態では、略円柱状をした本体部41と、本体部41の上下の一面(ここでは便宜上、下面)から下方に突出する円筒部42とで主体が構成される。本体部41の上面には脚部2としてのアジャスターボルトの下端部(頭部)が嵌入される脚部嵌入部5が凹設してある。また、円筒部42には、円周角を4等分する位置にそれぞれリブ3の厚みと略同じ幅のスリットを円筒方向に形成してあり、このスリットをリブ嵌入部6としてある。リブ嵌入部6は、防水床パン1の裏面のリブ3が交差する部分を円筒部42の中心に位置させて、前記交差する部分から4方向に延びるリブ3がそれぞれ4つのリブ嵌入部6に嵌入されて、円筒部42がリブ3により位置決めされた状態で固定される。
上記緩衝材4は、単位ユニットUを上下に積載する際、上下の一方の単位ユニットUの脚部2の端部に緩衝材4の脚部嵌入部5に被嵌させると共に、平面視においてこの脚部2に対応する他方の単位ユニットUのリブ3に緩衝材4のリブ嵌入部6を被嵌させることで、位置決めを行うことが可能となるものである。この時、図3に示すように上下の脚部2(図3中において、上側の脚部2’、下側の脚部2”)は互いに側方にずれて位置しており、上下方向に回避せずに干渉を回避することができて、積載高さが高くなるのを抑えることが可能となるものである。
また本実施形態では、図1に示すように緩衝材4の脚部嵌入部5として、一端面から所定の深さの大径凹部52を凹設すると共に、大径凹部52の底面に小径凹部51を凹設して、径の異なる凹部を二段形成してある。
このような構成とすることで、脚部2の大きさ(すなわち本実施形態ではアジャスターボルトの頭部の径)に応じて適当な凹部を大径凹部52、小径凹部51のうちから選択して使用することができ、一種類で二種類の脚部2に対応することが可能となるものである。
本発明の一実施形態の緩衝材を示し、(a)は上方から見た斜視図であり、(b)は下方から見た斜視図であり、(c)は側断面図である。 防水床パンの側面図である。 防水床パンを載積した状態を示し、(a)は全体側面図(脚部と緩衝材の嵌合部のみ断面図)であり、(b)は(a)のA部拡大図である。 防水床パンを積載した状態の裏面を説明する図である。 従来の防水床パンを載積した状態の側面図である。
符号の説明
1 防水床パン
11 洗い場部
12 浴槽部
13 排水口
14 目皿
15 排水トラップ
16 排水口
17 連結管
2 脚部
3 リブ
4 緩衝材
41 本体部
42 円筒部
5 脚部嵌入部
51 小径凹部
52 大径凹部
6 リブ嵌入部

Claims (2)

  1. 裏面に脚部及び格子状のリブを設けた防水床パンの裏面同士を対向させて載置する際に裏面間に介在させる防水床パン積載用の緩衝材であって、一端面に脚部の端部が嵌入される脚部嵌入部を凹設すると共に、前記一端面と反対側の他端面にリブが嵌入されるリブ嵌入部を形成して成ることを特徴とする防水床パン積載用の緩衝材。
  2. 脚部嵌入部として、一端面から所定の深さの大径凹部を凹設すると共に、大径凹部の底面に小径凹部を凹設して成ることを特徴とする請求項1記載の防水床パン積載用の緩衝材。
JP2007248152A 2007-09-25 2007-09-25 防水床パン積載用の緩衝材 Expired - Fee Related JP4944722B2 (ja)

Priority Applications (1)

Application Number Priority Date Filing Date Title
JP2007248152A JP4944722B2 (ja) 2007-09-25 2007-09-25 防水床パン積載用の緩衝材

Applications Claiming Priority (1)

Application Number Priority Date Filing Date Title
JP2007248152A JP4944722B2 (ja) 2007-09-25 2007-09-25 防水床パン積載用の緩衝材

Publications (2)

Publication Number Publication Date
JP2009078823A JP2009078823A (ja) 2009-04-16
JP4944722B2 true JP4944722B2 (ja) 2012-06-06

Family

ID=40653888

Family Applications (1)

Application Number Title Priority Date Filing Date
JP2007248152A Expired - Fee Related JP4944722B2 (ja) 2007-09-25 2007-09-25 防水床パン積載用の緩衝材

Country Status (1)

Country Link
JP (1) JP4944722B2 (ja)

Family Cites Families (3)

* Cited by examiner, † Cited by third party
Publication number Priority date Publication date Assignee Title
JPS6266582A (ja) * 1985-09-18 1987-03-26 ヤマギワ株式会社 配線器具の連結端子
JPH0633372B2 (ja) * 1986-01-10 1994-05-02 中部瓦斯株式会社 都市ガス製造方法
JPH09169341A (ja) * 1995-12-21 1997-06-30 Toto Ltd 緩衝材

Also Published As

Publication number Publication date
JP2009078823A (ja) 2009-04-16

Similar Documents

Publication Publication Date Title
EP2480734B1 (en) Bar system
JP6550134B2 (ja) 二重床部材
JP6587183B2 (ja) 柱脚金具、およびこれに用いられるカバー
KR100902552B1 (ko) 건축공사 파이프 서포트
JP4944722B2 (ja) 防水床パン積載用の緩衝材
KR20120008159U (ko) 가구용 높이조절 받침대
JP6118686B2 (ja) 免震装置及び荷重伝達プレート
ES2302445B1 (es) Nuevo sistema de nivelacion y de amortiguacion de vibraciones.
KR20150120676A (ko) 열변형 방지용 조립장치
JP6144304B2 (ja) 分離帯構造体
KR200372824Y1 (ko) 이중바닥시스템
JP2017186777A (ja) 構造物用支承装置
JP6461026B2 (ja) 型枠浮かし支持具
JP7396079B2 (ja) トイレ装置
JP5849653B2 (ja) テーブル
KR20140142890A (ko) 도로용 맨홀
JP4821729B2 (ja) 収納家具の固定構造
KR20160018083A (ko) 금속제 장선을 이용한 마루틀
KR101486935B1 (ko) 금속제 장선을 이용한 마루틀
KR101292012B1 (ko) 부반력 제어 기능을 갖는 교좌장치
JP4839849B2 (ja) 浴槽
KR200372306Y1 (ko) 보강용 클린룸 높이조절장치
JP4813522B2 (ja) 防水パン用支持脚
JP2025027641A (ja) 振動吸収台座
JP3127233U (ja) 収納家具の棚板昇降固定構造及び本構造を有する棚付き収納家具

Legal Events

Date Code Title Description
A711 Notification of change in applicant

Free format text: JAPANESE INTERMEDIATE CODE: A712

Effective date: 20100408

A521 Written amendment

Free format text: JAPANESE INTERMEDIATE CODE: A821

Effective date: 20100416

RD02 Notification of acceptance of power of attorney

Free format text: JAPANESE INTERMEDIATE CODE: A7422

Effective date: 20100416

A621 Written request for application examination

Free format text: JAPANESE INTERMEDIATE CODE: A621

Effective date: 20100518

RD04 Notification of resignation of power of attorney

Free format text: JAPANESE INTERMEDIATE CODE: A7424

Effective date: 20100817

A711 Notification of change in applicant

Free format text: JAPANESE INTERMEDIATE CODE: A712

Effective date: 20120112

A977 Report on retrieval

Free format text: JAPANESE INTERMEDIATE CODE: A971007

Effective date: 20120117

TRDD Decision of grant or rejection written
A01 Written decision to grant a patent or to grant a registration (utility model)

Free format text: JAPANESE INTERMEDIATE CODE: A01

Effective date: 20120207

A01 Written decision to grant a patent or to grant a registration (utility model)

Free format text: JAPANESE INTERMEDIATE CODE: A01

A61 First payment of annual fees (during grant procedure)

Free format text: JAPANESE INTERMEDIATE CODE: A61

Effective date: 20120302

R150 Certificate of patent or registration of utility model

Free format text: JAPANESE INTERMEDIATE CODE: R150

FPAY Renewal fee payment (event date is renewal date of database)

Free format text: PAYMENT UNTIL: 20150309

Year of fee payment: 3

LAPS Cancellation because of no payment of annual fees