JP4938534B2 - 真空溶解装置およびルツボユニット - Google Patents

真空溶解装置およびルツボユニット Download PDF

Info

Publication number
JP4938534B2
JP4938534B2 JP2007105088A JP2007105088A JP4938534B2 JP 4938534 B2 JP4938534 B2 JP 4938534B2 JP 2007105088 A JP2007105088 A JP 2007105088A JP 2007105088 A JP2007105088 A JP 2007105088A JP 4938534 B2 JP4938534 B2 JP 4938534B2
Authority
JP
Japan
Prior art keywords
crucible
inner crucible
container
ball member
vacuum
Prior art date
Legal status (The legal status is an assumption and is not a legal conclusion. Google has not performed a legal analysis and makes no representation as to the accuracy of the status listed.)
Active
Application number
JP2007105088A
Other languages
English (en)
Other versions
JP2008261573A (ja
Inventor
泰 石丸
謙策 小西
佳成 黒澤
浩樹 土本
良二 長谷川
晃 今村
義之 千々岩
浩二 野田
Current Assignee (The listed assignees may be inaccurate. Google has not performed a legal analysis and makes no representation or warranty as to the accuracy of the list.)
Nippon Steel Corp
Ulvac Techno Ltd
Original Assignee
Nippon Steel Corp
Ulvac Techno Ltd
Priority date (The priority date is an assumption and is not a legal conclusion. Google has not performed a legal analysis and makes no representation as to the accuracy of the date listed.)
Filing date
Publication date
Application filed by Nippon Steel Corp, Ulvac Techno Ltd filed Critical Nippon Steel Corp
Priority to JP2007105088A priority Critical patent/JP4938534B2/ja
Publication of JP2008261573A publication Critical patent/JP2008261573A/ja
Application granted granted Critical
Publication of JP4938534B2 publication Critical patent/JP4938534B2/ja
Active legal-status Critical Current
Anticipated expiration legal-status Critical

Links

Images

Landscapes

  • Crucibles And Fluidized-Bed Furnaces (AREA)

Description

本発明は、金属を真空溶解させるための真空溶解装置および当該真空溶解装置で用いられるルツボユニットに関する。
従来より、鉄等の金属原料を、真空中で誘導加熱することにより溶解させる、真空溶解装置が存在する。かかるルツボは、真空吸引可能な真空チャンバを備えており、さらにこの真空チャンバの内部に、溶解炉が設けられている。溶解炉には、アルミナやマグネシア等のセラミックを材質とするルツボが設置される。また、このルツボの外周には、中空状のコイルが配置されていて、このコイルに高周波電流を印加することにより、磁界の変化を生じさせ、ルツボ内の金属原料にうず電流を発生させる。そして、このうず電流の導通によりジュール熱が生じ、金属原料が溶融させられる。
ところで、ルツボは、セラミックスから形成されている。そのため、ルツボは、圧縮力には強いものの引っ張り力には弱い、という特質を有している。それにより、上述の真空溶解装置においては、バックアップ用のセメント(バックアップセメント)を用いてルツボを箱体の内部(コイルの空芯部)に固定する、いわゆる築炉作業が行われている。この築炉作業は、セメントで固めたコイルの空芯部にルツボを設置し、コイルとルツボとの間の隙間にバックアップ用のセメントを充填し、時間の経過を待って、充填したセメントを凝固させる。また、セメントの凝固後に、多量に残存している水分を蒸発させるため、所定の時間だけ自然乾燥させる。さらにその後に、真空脱ガスを行う。この真空脱ガスでは、真空ポンプを作動させて、チャンバの内部の真空吸引を行う。それにより、自然乾燥後も残存している水分を、ほぼ完全に取り除くことを可能としている。
なお、上述のルツボを有する真空溶解装置の概要を示すものとして、特許文献1に示す技術内容がある。
特開2004−154788号公報
上述のように、築炉作業は、バックアップセメントの充填、自然乾燥、および真空脱ガスの各作業を必要としている。そのため、築炉作業には、非常に手間が掛かる。加えて、築炉作業では、真空脱ガスまでの間に多大な時間を要しており、直ぐに真空溶解装置を用いて原料を溶解させることができない、という問題がある。
また、既設置のルツボが破損した場合、新しいルツボに交換する必要がある。また、溶解させる原料の材質・組成を変更する場合にも、既設置のルツボに付着している付着物が溶湯に混入する、いわゆるコンタミネーションの問題から、新たなルツボに交換する必要がある。しかしながら、築炉により既に設置してあるルツボを取り除く場合、上記の築炉〜真空脱ガスまでのプロセス以外に、バックアップセメントを破壊する作業や、重いルツボを取り出したり、新たなルツボを設置したりする作業を要する。そのため、一般に、ルツボの築炉は、非常に手間および時間が掛かるものとなっている。
本発明は上記の事情にもとづきなされたもので、その目的とするところは、ルツボを築炉する際に、手間および時間を軽減することが可能な真空溶解装置と、当該真空溶解装置で用いられるルツボユニットを提供しよう、とするものである。
上記課題を解決するために、本発明は、真空吸引されるチャンバ内でコイルに高周波電流を導通させることにより、原料に誘導加熱を生じさせ、当該原料を溶解させるための真空溶解装置であって、外側に配置されると共に絶縁性の材質から形成される第1の容器と、第1の容器の内筒部に配置されると共に、材質をセラミックスとする内ルツボと、第1の容器の内筒面と内ルツボの外周面との間の隙間部分に、固着されない状態で充填される充填部材と、を具備し、充填部材は、セラミックスを材質とする球状のボール部材であり、第1の容器の底部は、ボール部材が充填されない状態で内ルツボの底部と当接するように設けられているものである。
このように構成する場合、本発明の真空溶解装置は、第1の容器と内ルツボの間の隙間部分には、充填部材が設けられている。しかも、この充填部材は、固着されない状態で存在している。このため、第1の容器の内筒部から内ルツボの取り出しが容易となり、交換作業が容易となる。それにより、内ルツボの交換に際して、バックアップセメントの充填、自然乾燥および真空脱ガス等を経る築炉作業を行う必要がなく、加えて既に設置してある内ルツボを取り除く作業時にバックアップセメントの破壊等を行う必要がない。それにより、内ルツボの設置・交換に際して、その手間を大幅に削減することが可能となる。また、内ルツボの設置・交換後、直ぐに本発明の真空溶解装置を用いて、原料を溶解させることが可能となり、生産性を高めることが可能となる。
また、本発明では、溶解させる原料の材質・組成を多少変更する場合でも、内ルツボの交換を容易に行える。そのため、原料の溶解に際して、いわゆるコンタミネーションが生じるのを極力防止することが可能となり、溶解後に生成される製品(インゴット等)の品質を向上させることが可能となる。
また、隙間部分に充填部材が存在するため、内ルツボが熱膨張しようとしても、この充填部材の存在により、第1の容器側から圧縮力が及ぼされる。ここで、内ルツボの材質はセラミックスであるため、圧縮力には強い。そのため、原料の溶解の際には、内ルツボに圧縮力が及ぼされる状態となるので、内ルツボに割れが生じたり、割れの原因となる変形が生じるのを極力抑えることが可能となる。
また、このように構成する場合、隙間部分にボール部材を充填すると、そのボール部材は、隙間部分の下方側から、その隙間部分を埋める状態で充填されていく。そして、充填後には、内ルツボを多点支持する状態となる。そのため、誘導加熱時においては、内ルツボには、多数の支点により、熱膨張に抗する圧縮力が与えられ、当該内ルツボの割れ・変形を抑えることが可能となる。また、第1の容器から内ルツボを取り出す場合、ボール部材には、いわゆる「コロ」の役割を奏させることが可能となり、取り出し時の内ルツボの外周面と内筒面との間の抵抗が少なくなる。そのため、内ルツボの取り出しが容易となる。また、ボール部材は、その材質がセラミックスであるため、圧縮力に対して相対的に強く、内ルツボの熱膨張を良好に抑えることが可能となる。
さらに、他の発明は、上述の発明に加えて更に、第1の容器の内筒面と内ルツボの外周面との間の隙間部分の上端側には、ボール部材が脱落するのを防止する蓋部材が取り付けられるものである。
このように構成する場合、蓋部材の存在により、ボール部材が隙間部分から脱落する(こぼれ落ちる)のが防止される。
また、他の発明は、上述の各発明に加えて更に、ボール部材は、内筒面から外周面に向かい、少なくとも3層を為す状態で隙間部分に配置されるものである。
このように構成する場合、隙間部分には、十分な個数のボール部材が存在する状態となる。また、ボール部材の直径は、隙間部分と比較して小さいものとなる。このため、内ルツボを、比較的少ない箇所で支持するのを防止することが可能となり、内ルツボに生じる圧縮応力に、局所的に大きな部分が発生するのを防止可能となる。それにより、内ルツボに割れ・変形が生じるのを防止可能となる。
さらに、他の発明は、上述の各発明に加えて更に、第1の容器は、その材質をセラミックスとするルツボとしたものである。
このように構成する場合、外側に位置するセラミック製のルツボの内筒部に、内ルツボを挿入する構成となる。このため、第1の容器をセメントの成型等によって製作する必要がなく、しかも既製品であるルツボを用いるため、一定の精度があり、内ルツボの挿入が比較的容易となる。また、内ルツボに割れ等が発生し、湯漏れが生じた場合でも、漏れ出した湯を受け止めることが可能となる。それにより、湯がコイル等に接触して、水蒸気爆発等が生じるのを防止可能となる。
また、他の発明は、上述の各発明に加えて更に、内ルツボは、第1の容器よりも熱膨張係数が大きなセラミックスを材質として形成されているものである。
このように構成する場合、内ルツボが熱膨張する際に、第1の容器側から大きな圧縮力を受ける状態となる。ここで、内ルツボの材質はセラミックスであるため、圧縮力には強く、内ルツボに割れが生じたり、割れの原因となる変形が生じるのを極力抑えることが可能となる。
さらに、他の発明は、真空吸引される真空溶解装置のチャンバ内でコイルに高周波電流を導通させることにより、原料に誘導加熱を生じさせ、当該原料を溶解させるために用いられるルツボユニットであって、外側に配置されると共に絶縁性の材質から形成される第1の容器と、第1の容器の内筒部に配置されると共に、材質をセラミックスとする内ルツボと、第1の容器の内筒面と内ルツボの外周面との間の隙間部分に、固着されない状態で充填される充填部材と、を具備し、充填部材は、セラミックスを材質とする球状のボール部材であり、第1の容器の底部は、ボール部材が充填されない状態で内ルツボの底部と当接するように設けられているものである。
このように構成する場合、本発明のルツボユニットは、第1の容器と内ルツボの間の隙間部分には、充填部材が設けられている。しかも、この充填部材は、固着されない状態で存在している。このため、第1の容器の内筒部から内ルツボの取り出しが容易となり、交換作業が容易となる。それにより、内ルツボの交換に際して、バックアップセメントの充填、自然乾燥および真空脱ガス等を経る築炉作業を行う必要がなく、加えて既に設置してある内ルツボを取り除く作業時にバックアップセメントの破壊等を行う必要がない。それにより、内ルツボの設置・交換に際して、その手間を大幅に削減することが可能となる。また、内ルツボの設置・交換後、直ぐに本発明のルツボユニットが設置された真空溶解装置を用いて、原料を溶解させることが可能となり、生産性を高めることが可能となる。
また、本発明では、溶解させる原料の材質・組成を多少変更する場合でも、内ルツボの交換を容易に行える。そのため、原料の溶解に際して、いわゆるコンタミネーションが生じるのを極力防止することが可能となり、溶解後に生成される製品(インゴット等)の品質を向上させることが可能となる。
また、隙間部分に充填部材が存在するため、内ルツボが熱膨張しようとしても、この充填部材の存在により、第1の容器側から圧縮力が及ぼされる。ここで、内ルツボの材質はセラミックスであるため、圧縮力には強い。そのため、原料の溶解の際には、内ルツボに圧縮力が及ぼされる状態となるので、内ルツボに割れが生じたり、割れの原因となる変形が生じるのを極力抑えることが可能となる。
また、このように構成する場合、隙間部分にボール部材を充填すると、そのボール部材は、隙間部分の下方側から、その隙間部分を埋める状態で充填されていく。そして、充填後には、内ルツボを多点支持する状態となる。そのため、誘導加熱時においては、内ルツボには、多数の支点により、熱膨張に抗する圧縮力が与えられ、当該内ルツボの割れ・変形を抑えることが可能となる。また、第1の容器から内ルツボを取り出す場合、ボール部材には、いわゆる「コロ」の役割を奏させることが可能となり、取り出し時の内ルツボの外周面と内筒面との間の抵抗が少なくなる。そのため、内ルツボの取り出しが容易となる。また、ボール部材は、その材質がセラミックスであるため、圧縮力に対して相対的に強く、内ルツボの熱膨張を良好に抑えることが可能となる。
さらに、他の発明は、上述の発明に加えて更に、第1の容器の内筒面と内ルツボの外周面との間の隙間部分の上端側には、ボール部材が脱落するのを防止する蓋部材が取り付けられるものである。
このように構成する場合、蓋部材の存在により、ボール部材が隙間部分から脱落する(こぼれ落ちる)のが防止される。
また、他の発明は、上述の各発明に加えて更に、ボール部材は、内筒面から外周面に向かい、少なくとも3層を為す状態で隙間部分に配置されるものである。
このように構成する場合、隙間部分には、十分な個数のボール部材が存在する状態となる。また、ボール部材の直径は、隙間部分と比較して小さいものとなる。このため、内ルツボを、比較的少ない箇所で支持するのを防止することが可能となり、内ルツボに生じる圧縮応力に、局所的に大きな部分が発生するのを防止可能となる。それにより、内ルツボに割れ・変形が生じるのを防止可能となる。
さらに、他の発明は、上述の各発明に加えて更に、第1の容器は、その材質をセラミックスとするルツボとしたものである。
このように構成する場合、外側に位置するセラミック製のルツボの内筒部に、内ルツボを挿入する構成となる。このため、第1の容器をセメントの成型等によって製作する必要がなく、しかも既製品であるルツボを用いるため、一定の精度があり、内ルツボの挿入が比較的容易となる。また、内ルツボに割れ等が発生し、湯漏れが生じた場合でも、漏れ出した湯を受け止めることが可能となる。それにより、湯がコイル等に接触して、水蒸気爆発等が生じるのを防止可能となる。
また、他の発明は、上述の各発明に加えて更に、内ルツボは、第1の容器よりも熱膨張係数が大きなセラミックスを材質として形成されているものである。
このように構成する場合、内ルツボが熱膨張する際に、第1の容器側から大きな圧縮力を受ける状態となる。ここで、内ルツボの材質はセラミックスであるため、圧縮力には強く、内ルツボに割れが生じたり、割れの原因となる変形が生じるのを極力抑えることが可能となる。
さらに、他の発明は、真空吸引されるチャンバ内でコイルに高周波電流を導通させることにより、原料に誘導加熱を生じさせ、当該原料を溶解させるための真空溶解装置であって、上述の各発明に係るルツボユニットを、当該ルツボユニットの外ルツボがコイルの空芯部に配置される状態で備えているものである。
このように構成する場合、本発明の真空溶解装置は、外ルツボと内ルツボの2つのルツボを備えている。このため、外ルツボの内筒部から内ルツボのみを取り出して、容易に交換することが可能となる。それにより、内ルツボの交換に際して、バックアップセメントの充填、自然乾燥および真空脱ガス等を経る築炉作業を行う必要がなく、加えて既に設置してある内ルツボを取り除く作業時にバックアップセメントの破壊等を行う必要がない。それにより、内ルツボの設置・交換に際して、その手間を大幅に削減することが可能となっている。また、内ルツボの設置・交換後、直ぐに本発明の真空溶解装置を用いて、原料を溶解させることが可能となり、生産性を高めることが可能となる。
また、本発明では、溶解させる原料の材質・組成を変更する場合でも、内ルツボの交換を容易に行える。そのため、原料の溶解に際して、いわゆるコンタミネーションが生じるのを防止することが可能となり、溶解後に生成される製品(インゴット等)の品質を向上させることが可能となる。
また、内ルツボは、外ルツボよりも熱膨張係数の大きな材質として形成されている。しかも、外ルツボの内筒面と内ルツボの外周面との間の隙間の寸法は、原料の溶解の際の熱膨張において外ルツボ側から内ルツボ側へ圧力を及ぼす状態に設定されている。このため、内ルツボが熱膨張するに従い、外ルツボの内筒面と内ルツボの外周面との間の隙間が徐々に小さくなっていき、いずれは内ルツボの外周面が外ルツボの内筒面に、圧力を及ぼす状態で接触する。そのため、内ルツボには、その圧力の反力である、圧縮力が及ぼされる。そのため、内ルツボが熱膨張に伴う引っ張り力に弱い材質から形成されていても、内ルツボに圧縮力が及ぼされ、内ルツボに割れが生じたり、割れの原因となる変形が生じるのを極力抑えることが可能となる。
本発明によると、真空溶解装置において、ルツボを築炉する際に、手間および時間を軽減することが可能となる。
(第1の実施の形態)
以下、本発明の第1の実施の形態に係る真空溶解装置10について、図1から図7に基づいて説明する。図1は、本発明の真空溶解装置10の概略構成を示す図である。
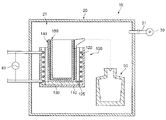
図1に示すように、この真空溶解装置10は、真空チャンバ20(チャンバに対応)と、真空ポンプ30と、高周波電源40と、モールド50と、溶解炉100と、を主要な構成要素としている。
これらのうち、真空チャンバ20は、内部にチャンバ室21を具備している。この真空チャンバ20は、その内部がチャンバ室21となっており、このチャンバ室21を所定の真空度に維持可能とするための気密性を備えている。また、真空チャンバ20は、真空吸引時に付与される外部からの圧力に抗し得るだけの強度を備えている。
また、真空ポンプ30は、チャンバ室21を真空吸引するためのものである。この真空ポンプ30は、真空管路31を介してチャンバ室21と連通している。また、高周波電源40は、後述するコイル120に、例えば所定の周波数の高周波電流(交流電流またはパルス電流等)を供給するためのものである。また、モールド50は、誘導加熱により液体状となっている原料(湯)を、注ぎ入れる部分であり、冷却後に所定形状のインゴットが形成される部分である。なお、このモールド50は、真空チャンバ20に設置される構成を採用しても良く、また真空チャンバ20とは別室のチャンバを設け、そのチャンバが真空吸引可能に設けられる構成を採用しても良い。
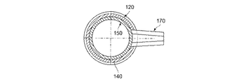
また、図1および図2に示すように、溶解炉100は、箱体110と、コイル120と、プレート130と、外ルツボ140と、内ルツボ150と、を主要な構成要素としている。これらのうち、箱体110は、絶縁性を備える材質から形成されていて、コイル120で発生する高周波の影響を受けない。
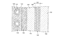
また、コイル120は、外ルツボ140の周囲に配置されている。このコイル120は、例えば銅等のような導電性に優れる材質から形成されている。また、図7等に示すように、コイル120は、中空部122を備える導電パイプ121を所定の巻数だけ巻回することにより構成されている。そのため、導電パイプ121の管肉部123を高周波電流が導通すると共に、中空部122を水等の冷却媒体が流通する。また、コイル120は、コイルセメントが凝固したもの(図7では、コイルセメントの凝固状態が示されているが、この部分を、セメント硬化部124とする。)によって、固結されている。そのため、このコイル120は、外見上、筒状を為すように設けられている。さらに、このコイル120は、外径側に向かって延伸する、不図示の支持ロッドによって支持されている。これらセメント硬化部124および支持ロッドの存在により、高周波電流の導通に伴い強力な電磁力が発生しても、当該コイル120が拡がるのを抑え、そのコイル120で発生する振動等を抑制している。
また、図1に示すように、コイル120の下方側には、基台となるプレート130が設置されている。このプレート130は、例えば耐熱性を有するセラミックスを材質として形成されている。
<外ルツボおよび内ルツボの構成について>
以下、本実施の形態における特徴部分は、外ルツボ140と、内ルツボ150の2つを、コイル120の空芯部125に、二重構造を為す状態で配置すると共に、以下の条件を満たす点に特徴がある。以下、その詳細について説明する。なお、外ルツボ140と内ルツボ150とにより、ルツボユニットが構成される。
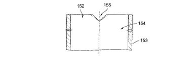
図2〜図6に示すように、外ルツボ140および内ルツボ150は、有底筒状に設けられていて、一方側(下方側)のみに底部141,151が存在し、他方側(上方側)には底部141,151が存在せずに開放するように設けられている。なお、以下の説明では、他方側(上方側)の開放している部分を開口部142,152とする。また、外ルツボ140、内ルツボ150のうち、底部141,151に連続する筒状の壁面部分を周壁部143,153とし、周壁部143,153および底部141,151で囲まれる部分を、内筒部144,154とする。
外ルツボ140と内ルツボ150は、その外観は略円筒形状に設けられている。しかしながら、内筒部144に対する内ルツボ150の挿入性を良好にするため、および外ルツボ140および内ルツボ150の制作性を良好とするために、上方側(開口部142,152側)から下方側(底部141,151側)に向かうにつれて、若干だけ徐々に直径が小さくなるように設けられている。
上述のうち、外ルツボ140は、コイル120の空芯部125に、築炉により予め取り付けられる。すなわち、外ルツボ140を空芯部125に挿入し、プレート130の上部に設置した後に、コイル120と外ルツボ140との間の部位にバックアップセメント(図7等では、凝固状態が示されているが、この凝固した部分をセメント凝固部160とする。)を流し込む。そして、このバックアップセメントが固結され、セメント凝固部160が形成されることにより、外ルツボ140が空芯部125に取付固定される。なお、取付固定の状態では、誘導加熱による温度上昇が生じると、外ルツボ140は温度膨張しようとするが、外ルツボ140はセメント凝固部160等により押さえ付けられるため、セメント凝固部160側から外ルツボ140に向かい、圧縮応力が付与される状態となる。
また、外ルツボ140の上方側の周壁部143には、湯を流すガイド170を取り付けるための切欠部145が設けられている。この切欠部145を正面視すると、その形状が略矩形状を為している。また、内ルツボ150の上方側の周壁部153にも、湯を良好に流れ出させるための、切欠部155が設けられている。この切欠部155は、切欠部145よりも小さく設けられている。また、切欠部155を正面視すると、その形状が略二等辺三角形を為すように設けられている。
外ルツボ140の内筒部144には、内ルツボ150が配置される。すなわち、外ルツボ140の内径L1(内筒部144の直径)は、内ルツボ150の外径L2(周壁部153の外周面153aの直径)よりも、大きく設けられている。ここで、本実施の形態では、外ルツボ140の内筒部144に、内ルツボ150が良好に挿入されると共に、内筒部144に内ルツボ150が設置されている場合、内ルツボ150が良好に取り出せるように、内径L1と外径L2とが設定されている。
なお、以下の説明においては、外ルツボ140の内筒面144aと内ルツボ150の外周面153aとの間の部分を隙間部分146とすると共に、外ルツボ140の内径L1と外径L2との間の差(すなわち、外ルツボ140の内筒面144aと内ルツボ150の外周面153aとの差)である隙間寸法を、隙間寸法Sとして説明する。このため、図7では、片側のみが図示されているので、図7に図示されている部分の寸法はS/2となる。
また、外ルツボ140と内ルツボ150は、共にセラミックスを材質としているが、これら2つの材質は、異なっている。すなわち、原料(金属原料)の誘導加熱により、温度上昇が生じると、外ルツボ140と内ルツボ150は、共に温度膨張する。しかしながら、セラミックスは、圧縮応力に対しては相対的に強いが、引っ張り応力と曲げ応力(せん断応力)に対しては相対的に弱い(圧縮応力の付与に対して圧倒的に弱い)、という特質を有している。このため、内ルツボ150の熱膨張係数α2(線膨張係数)が、外ルツボ140の熱膨張係数α1(線膨張係数)よりも大きくなるように(内ルツボ150の熱膨張係数α2>外ルツボ140の熱膨張係数α1)、外ルツボ140と内ルツボ150の材質が選定されている。
ここで、外ルツボ140の熱膨張係数α1および熱膨張係数α2は、外ルツボ140の内径L1および内ルツボ150の外径L2との関係で、以下の要件をも満たす。すなわち、誘導加熱による熱膨張で、内ルツボ150が外ルツボ140に接触し、外ルツボ140側から内ルツボ150側へ圧力を及ぼすことが必要とされる。このように、誘導加熱の際の熱膨張により、内ルツボ150が外ルツボ140に接触すると(すなわち、隙間寸法Sがゼロになると)、その接触状態よりも更に内ルツボ150が熱膨張しようとしても、外ルツボ140により、その熱膨張が抑えられる。それにより、外ルツボ140から内ルツボ150に対して圧縮力が付与される状態となる。ここで、上述のように、セラミックスは、圧縮力に対しては相対的に強い。そのため、熱膨張により内ルツボ150が外ルツボ140に接触する場合、当該内ルツボ150の割れを良好に防ぐことが可能となっている。
なお、上述のような熱膨張係数を有する、外ルツボ140と内ルツボ150との組み合わせとしては、内ルツボ150をマグネシア(熱膨張係数:約12.5×10-6)とすると共に、外ルツボ140をアルミナ(熱膨張係数:約7.5×10-6)とする場合がある。なお、真空溶解用のセラミックスを材質とするルツボとしては、アルミナ、マグネシア、ジルコニアが主流であり、その中のジルコニアは、約9.5×10-6の熱膨張係数を有している。
ここで、上述の熱膨張係数の関係から、アルミナを材質とするルツボは、外ルツボ140として、マグネシアを材質とするルツボは内ルツボ150として用いるのが好適である。また、ジルコニアを材質とするルツボは、主に外ルツボ140として用いるのが好適であるが、アルミナとの組み合わせでは、アルミナを材質とするルツボを外ルツボ140として用いると共に、ジルコニアを材質とするルツボを内ルツボ150として用いることも可能である。
また、外ルツボ140の内径L1と内ルツボ150の外径L2との寸法の関係は、外ルツボ140の内筒部144に対して、内ルツボ150が良好に挿脱可能となる寸法(隙間寸法Sが所定以上)である必要がある。ここで、内筒部144に対して、内ルツボ150を良好に挿脱させるためには、隙間寸法Sが、外ルツボ140と内ルツボ150の生産に際して、外ルツボ140の内筒面144aと内ルツボ150の外周面のうちの少なくとも一方の寸法誤差(製造誤差)以上に設定されることが望ましい。また、隙間寸法Sは、原料の溶解時における熱膨張により、内ルツボ150が外ルツボ140に良好に接触する程度の隙間であることが必要である。かかる要件を満たすものとしては、隙間寸法Sが内ルツボ150の外径L2の2%以内であることが好ましい。
また、上述したように、外ルツボ140の切欠部145には、ガイド170が取り付けられる。ガイド170は、嘴状の部材であり、湯を流通させるための溝部171を有している。また、溶解炉100には、不図示の傾斜機構が取り付けられている。そのため、この傾斜機構が作動して、溶解炉100が傾斜させられると、内ルツボ150に存在する湯が、ガイド170を介して流通し、モールド50に注がれる。なお、モールド50では、所定時間後に湯が凝固し、インゴットが形成される。
<実験結果について>
以上のような構成を有する真空溶解装置10を用いて、原料を溶解させ、内ルツボ150に割れが生じないか否かに関する実験を行った。その実験結果を、以下に示す。
(実験例1)
実験例1では、鉄換算で50kg用のルツボを用いて、実験を行った。このとき、内ルツボ150の材質としてマグネシアを選定し、外ルツボ140の材質としてアルミナを選定した。また、内ルツボ150の外径L2は230mmであり、外ルツボ140の内径L1は234mmであるので、隙間寸法Sは4mmである。以上のような外ルツボ140および内ルツボ150を用いて、鉄換算で50kgの原料を投入して真空溶解を行ったところ、その実験後に、外ルツボ140と内ルツボ150の双方に変形がなく、かつ割れがないことが確認された。
(実験例2)
実験例2では、鉄換算で100kg以上(300kg)用の大型のルツボを用いて、実験を行った。このとき、内ルツボ150の材質としてマグネシアを選定し、外ルツボ140の材質としてアルミナを選定した。また、内ルツボ150の外径L2は400mmであり、外ルツボ140の内径L1は406mmであるので、隙間寸法Sは6mmである。以上のような外ルツボ140および内ルツボ150を用いて、鉄換算で300kgの原料を投入して真空溶解を行ったところ、その実験後に、外ルツボ140と内ルツボ150の双方に変形がなく、かつ割れがないことが確認された。
(実験例3)
実験例3では、鉄換算で100kg以上(300kg)用のルツボを用いて、実験を行った。このとき、内ルツボ150の材質としてマグネシアを選定し、外ルツボ140の材質としてアルミナを選定した。また、内ルツボ150の外径L2は400mmであり、外ルツボ140の内径L1は410mmであるので、隙間寸法Sは10mmである。以上のような外ルツボ140および内ルツボ150を用いて、鉄換算で300kgの原料を投入して真空溶解を行ったところ、内ルツボ150が変形し、割れ発生と同時に湯流れが発生したことが確認された。
以上の実験例1〜3から、隙間寸法Sが、内ルツボ150の外径L2の2%を超えた状態(実験例3では2.5%)では、内ルツボ150の割れ・変形が確認された。また、隙間寸法Sが、内ルツボ150の外径L2の2%を超えない状態(実験例1では1.74%であり、実験例2では1.5%)では、内ルツボ150の割れ・変形が確認されなかった。このため、隙間寸法Sが、内ルツボ150の外径L2の2%程度であれば、相当の確率で内ルツボ150に割れ・変形が生じないと考えられる。なお、確実に確認された、一層好適な結果としては、隙間寸法Sが、内ルツボ150の外径L2の1.74%以内であることが挙げられる。
<本実施の形態を適用した場合における効果>
上述の真空溶解装置10は、外ルツボ140と内ルツボ150の2つのルツボからなるルツボユニットを備えている。このため、内筒部144から内ルツボ150のみを取り出し、容易に交換することが可能となる。それにより、内ルツボ150の交換に際して、バックアップセメントの流し込み、自然乾燥および真空脱ガス等を経る築炉作業を行う必要がなく、加えて既に設置してある内ルツボ150を取り除く作業(バックアップセメントの破壊等)も行う必要がない。それにより、内ルツボ150の設置・交換に際して、その手間を大幅に削減することが可能となる。
また、内ルツボ150の設置・交換後、直ぐに本発明のルツボユニットを有する真空溶解装置10を用いて、原料を溶解させることが可能となる。それにより、生産性を高めることが可能となる。
また、溶解させる原料の材質・組成を多少変更する場合でも、内ルツボ150の交換を容易に行える。そのため、原料の溶解に際して、いわゆるコンタミネーションが生じるのを極力防止することが可能となり、溶解後に生成される製品(インゴット等)の品質を向上させることが可能となる。また、内ルツボ150の設置・交換に、さほど時間を要さなく、容易に交換可能であるため、本発明の真空溶解装置10は、異なる原料が混入され、かつ比較的小ロッドの製品の製造に適したものとなる。
また、内ルツボ150は、外ルツボ140よりも熱膨張係数の大きなセラミックスを材質として形成されている。しかも、この隙間寸法Sは、原料の溶解の際の熱膨張において外ルツボ140側から内ルツボ150側へ圧力を及ぼす状態に設定されている。このため、内ルツボ150が熱膨張するに従い、内筒面144aと外周面153aとの間の隙間が徐々に小さくなっていき、いずれは外周面153aが内筒面144aに、圧力を及ぼす状態で接触する。そのため、内ルツボ150には、その圧力の反力である、圧縮力が及ぼされる。ここで、内ルツボ150の材質はセラミックスであるため、圧縮力には強い。そのため、原料の溶解の際には、内ルツボ150に圧縮力が及ぼされる状態となるので、内ルツボ150に割れが生じたり、割れの原因となる変形が生じるのを極力抑えることが可能となる。
また、外ルツボ140は、その外周側に位置するセメント硬化部124に対して、セメント凝固部160(バックアップセメントの硬化したもの)を介して取付固定されている。このため、原料の溶解時に外ルツボ140に温度上昇が生じても、外ルツボ140の熱膨張が抑えられ、外ルツボ140に圧縮力を及ぼすことが可能となる。それにより、外ルツボ140に割れや変形が生じるのを抑えることが可能となる。また、内ルツボ150の熱膨張により、外ルツボ140を広げる向きの力(引っ張り力)が作用しても、セメント硬化部124、セメント凝固部160の存在により、その力に抗させることが可能となる。
さらに、隙間寸法Sは、外ルツボ140と内ルツボ150の生産に際して、外ルツボ140の内筒面144aと内ルツボ150の外周面153aのうちの少なくとも一方の寸法誤差以上に設定されている。このため、外ルツボ140の内筒部144に、内ルツボ150を挿入し易くなり、内ルツボ150の設置が容易となる。
また、本実施の形態では、隙間寸法Sは、内ルツボ150の直径(外周面153aの直径)の2%以内に設定されている。このため、原料の誘導加熱時に内ルツボ150が熱膨張すると、内ルツボ150の外周面153aが外ルツボ140の内筒面144aに、圧力を及ぼしながら接触する状態となる。このため、内ルツボ150には、圧縮力が及ぼされる状態となり、内ルツボ150の割れ・変形を良好に防止することが可能となる。
また、内ルツボ150は、その材質をマグネシアとする一方、外ルツボ140は、その材質をアルミナとしている。ここで、マグネシアの熱膨張率は、アルミナの熱膨張率よりも大きい。そのため、内ルツボ150が熱膨張すると、その外周面153aが外ルツボ140の内筒面144aに、圧力を及ぼしながら接触する状態となる。このため、内ルツボ150には、圧縮力が及ぼされる状態となり、内ルツボ150の割れ・変形を良好に防止することが可能となる。
(第2の実施の形態)
以下、本発明の第2の実施の形態について、図8および図9に基づいて説明する。なお、本実施の形態では、上述の第1の実施の形態と同様の部分については、同じ符号を用いて説明する。また、本実施の形態では、上述の第1の実施の形態と相違する部分について説明する。
本実施の形態では、上述の第1の実施の形態と同様に、外ルツボ140(第1の容器に対応)の内筒部144に内ルツボ150を配置している。しかしながら、本実施の形態では、外ルツボ140の内筒面144aと、内ルツボ150の外周面153aとの間の隙間部分146には、多数のボール部材180(充填部材に対応)が配置されている。そして、誘導加熱に際して、このボール部材180を介して、内ルツボ150に圧縮応力を与えるように構成されている。また、ボール部材180が、いわゆる「コロ」の役割を果たすことにより、内ルツボ150を交換する際に、当該内ルツボ150を内筒部144から容易に取り出すことが可能となっている。
なお、本実施の形態では、上述の第1の実施の形態とは異なり、ボール部材180もルツボユニットを構成する。すなわち、本実施の形態では、ルツボユニットは、外ルツボ140と、内ルツボ150と、ボール部材180とが対応する。
ここで、ボール部材180は、その材質をセラミックスとしており、誘導加熱に対して十分な耐熱性を有している。また、このボール部材180は、球状に形成されていると共に、その直径は、隙間寸法Sよりも十分に小さく設けられている。また、ボール部材180は、その表面が略滑らかに設けられている。
また、ボール部材180が内ルツボ150の外周面に接触する箇所の数が多いほど、熱膨張時に内ルツボ150の膨張に抗する支持点が多くなる。また、一般に、ボール部材180の直径が小さくなるほど、当該ボール部材180は、荷重の負荷等に強くなる(破損し難くなる)。そのため、隙間部分146に配置されるボール部材180は、その断面図において1層ではなく、複数層を為すように配置されることが好ましい。なお、ボール部材180は、隙間部分146に3層以上配置されることが好ましい。ここで、隙間寸法Sの両側の合計が、例えば10mm程度の場合(片側の隙間部分146が5mm程度の場合)には、隙間部分146にボール部材180が3層以上配置される点を考慮すると、ボール部材180の直径は、2mm以下(2mmの直径であっても、隣り合うボール部材180の間の空間部を埋めるように、他のボール部材180が入り込むため。)であることが望ましい。
また、本実施の形態における隙間寸法Sは、第1の実施の形態における隙間寸法Sよりも大きい値となるように選定可能である。すなわち、本実施の形態では、隙間部分146にボール部材180が配置されることにより、内ルツボ150の熱膨張に対して、当該内ルツボ150は、ボール部材180を外ルツボ140側へ押し付ける反面、ボール部材180の径方向の移動が、外ルツボ140により制限されることを起因として、内ルツボ150は、ボール部材180を介して自身を圧縮する向きの力を受ける。このため、隙間寸法Sを第1の実施の形態におけるものよりも大きくしても、内ルツボ150に割れが生じるのを抑えることが可能となっている。
また、本実施の形態では、外ルツボ140の材質と、内ルツボ150の材質は、互いに同じもの(熱膨張係数が同等のもの)であっても良く、また互いに異なるものであっても良い。例えば、外ルツボ140の材質をアルミナとすると共に、内ルツボ150の材質を、上述の第1の実施の形態と同様にマグネシアとしたり、同じ材質であるアルミナとすることも可能である。
また、隙間部分146の上端側には、蓋部材190が設けられている。この蓋部材190は、不図示の傾斜機構の作動により、溶解炉100が傾斜させられる場合に、ボール部材180が隙間部分146から溢れ出るのを防止している。なお、蓋部材190としては、例えばアルミナを材質とする、フェルトを詰める等が挙げられる。しかしながら、蓋部材190は、アルミナ製のフェルトには限定されず、例えばセラミック製の耐熱性を備えるリング状のプレート部材を用いる等、種々のものを用いることが可能となっている。
<実験結果について>
上述の第2の実施の形態に係る真空溶解装置10を用いて、原料を溶解させ、内ルツボ150に割れが生じないか否かに関する実験を行った。その実験結果を、以下に示す。
(実験例4)
実験例4では、鉄換算で100kg以上(300kg)用のルツボを用いて、実験を行った。このとき、内ルツボ150の材質としてマグネシアを選定し、外ルツボ140の材質としてアルミナを選定した。また、内ルツボ150の外径L2は400mmであり、外ルツボ140の内径L1は410mmであるので、隙間寸法Sは10mmである。また、隙間部分146には、流動性の良いボール部材180を、隙間部分146を埋めるように充填した。以上のような構成を用いて、鉄換算で300kgの原料を投入して真空溶解を行ったところ、その実験後に、外ルツボ140と内ルツボ150の双方に変形がなく、かつ割れがないことが確認された。
なお、上述の第1の実施の形態における実験例3は、ボール部材180が隙間部分146に存在しないのみで、その他の条件は同一である。この実験例3では、実験後に内ルツボ150が変形し、割れ発生と同時に湯流れが発生したことが確認されている。そのため、実験例3と実験例4との比較により、ボール部材180を充填することで、内ルツボ150の割れ・変形を防止できることが確認された。
<本実施の形態を適用した場合における効果>
本実施の形態におけるルツボユニットを有する真空溶解装置10では、上述の第1の実施の形態におけるものと同様に、内ルツボ150の交換に際して、バックアップセメントの流し込み、自然乾燥および真空脱ガス等を経る築炉作業を行う必要がなく、加えて既に設置してある内ルツボ150を取り除く作業(バックアップセメントの破壊等)も行う必要がない。それに加えて、本実施の形態では、隙間部分146には、ボール部材180が充填される。しかも、このボール部材180は、固着されない状態で隙間部分146に存在する。そのため、内筒部144から内ルツボ150の取り出しが容易となり、交換作業が容易となる。
また、隙間部分146にボール部材180が充填されるため、内ルツボ150が熱膨張しようとしても、このボール部材180の存在により、外ルツボ140側から圧縮力が及ぼされる。ここで、内ルツボ150の材質はセラミックスであるため、圧縮力には強い。しかも、本実施の形態では、内ルツボ150は、ボール部材180により、多点支持されている。そのため、誘導加熱時においては、多数の支点(ボール部材180)を介して、内ルツボ150に圧縮力が及ぼされる状態となるので、内ルツボ150に割れが生じたり、割れの原因となる変形が生じるのを極力抑えることが可能となる。
また、ボール部材180は、セラミックスを材質として形成されている。このため、ボール部材180は、圧縮力に対して相対的に強く、内ルツボの熱膨張を良好に抑えることが可能となる。
また、内ルツボ150を取り出す場合、ボール部材180には、いわゆる「コロ」の役割を奏させることが可能となり、取り出し時の内ルツボ150の外周面153aと内筒面144aとの間の抵抗が少なくなる。そのため、内ルツボ150の取り出しが容易となる。
さらに、隙間部分146の上端側には、蓋部材190が取り付けられている。このため、蓋部材190が取り付けられた状態では、ボール部材180が隙間部分146から脱落する(こぼれ落ちる)のを防止可能となる。
また、本実施の形態では、ボール部材180は、内筒面144aから外周面153aに向かい、少なくとも3層を為す状態で隙間部分146に配置されている。このため、隙間部分146には、十分な個数のボール部材180が存在する状態となる。また、ボール部材180の直径は、隙間部分146と比較して小さいものとなる。このため、内ルツボ150を、比較的少ない箇所で支持するのを防止可能となり、内ルツボ150に生じる圧縮応力に、局所的に大きな部分が発生するのを防止可能となる。それにより、内ルツボ150に割れ・変形が生じるのを防止可能となる。
さらに、本実施の形態では、第1の実施の形態と同様に、セラミックス製の外ルツボ140を用いているため、内ルツボ150を受け止める部分を、セメントの成型等によって製作する必要がない。また、本実施の形態では、既製品であるルツボを用いるため、一定の精度があり、内ルツボ150の挿入が比較的容易となる。また、内ルツボ150に割れ等が発生し、湯漏れが生じた場合でも、漏れ出した湯を受け止めることが可能となる。それにより、湯がコイル120等に接触して、水蒸気爆発等が生じるのを防止可能となる。
また、内ルツボ150は、外ルツボ140よりも熱膨張係数が大きなセラミックスを材質とすることも可能である。このように構成する場合、内ルツボ150が熱膨張する際に、外ルツボ140側から大きな圧縮力を受ける状態となる。ここで、内ルツボ150の材質はセラミックスであるため、圧縮力には強い。それにより、内ルツボ150に割れが生じたり、割れの原因となる変形が生じるのを極力抑えることが可能となる。
<変形例>
以上、本発明の各実施の形態に係るルツボユニットを有する真空溶解装置10について説明したが、本発明はこれ以外にも種々変形可能となっている。以下、それについて述べる。
上述の各実施の形態では、真空チャンバ20を備える真空溶解装置10に、本発明の要部である、外ルツボ140と内ルツボ150の構成を適用しているが、真空チャンバ20を備えない溶解装置に、本発明を適用することも可能である。また、チャンバ室21の真空吸引を行わずに、窒素やアルゴン等の不活性ガスを供給し、当該不活性ガスの雰囲気化で原料を溶解する溶解装置に、本発明を適用することも可能である。
また、上述の実施の形態では、外ルツボ140と内ルツボ150の材質として、アルミナ、マグネシアおよびジルコニアを例示している。しかしながら、外ルツボ140と内ルツボ150の材質は、これには限られず、耐熱性を備える種々のセラミックスを用いることが可能である。その他のセラミックスの例としては、ムライト(3Al2O3・2SiO2)、カルシア(CaO)、チタニア(TiO2 )、シリカ(SiO2 )、窒化ホウ素(BN)、窒化アルミニウム(AlN)、炭化ケイ素(SiC)、窒化ケイ素(Si3 N4 )、チタンカーバイド(TiC)、および列記のもの(アルミナ、マグネシア、ジルコニアを含む)との複合体等が挙げられる。なお、代表的な複合体としては、アルミナとチタニアの複合体であるチタン酸アルミナ等が挙げられる。また、セラミックス以外の材質を用いても良く、その例としては、黒鉛が挙げられる。また、例えば表面に炭化ケイ素(SiC)のコーティングがされ、その内側がカーボンのような、セラミックスとセラミックス以外の材質の複合体を用いても良い。また、外ルツボ140と内ルツボ150の組み合せとしては、いずれか一方の材質をセラミックスとすると共に、残りの他方をセラミックス以外の材質としても良い。
また、上述の実施の形態では、外ルツボ140と内ルツボ150のテーパ角度を、更に大きくしても良い。この場合、内ルツボ150を挿入する深さによって、隙間寸法Sが変化する。そこで、外ルツボ140の底部141にスペーサを配置して、隙間寸法Sの調整を行えるように構成しても良い。なお、スペーサを外ルツボ140の底部141に配置すると、そのスペーサの厚み寸法だけ、内ルツボ150が上方に突出し、熱膨張に際して外ルツボ140と接触しない部分が生じる。しかしながら、原料の溶解を行って形成される湯は、内ルツボ150の60%程度の体積を占め、しかも内ルツボ150への荷重の付与は、下方側に向かうにつれて大きくなる。そのため、スペーサの厚み寸法の分だけ多少突出しても、内ルツボ150に割れ等が生じ難くなっている。
また、上述の第2の実施の形態では、第1の容器として、外ルツボ140を用いる場合について説明している。しかしながら、第1の容器は、外ルツボ140には限られず、例えば密閉性を有するように、セメント等を硬化させたものを、第1の容器としても良い。
また、上述の実施の形態では、充填部材として、セラミックスを材質とするボール部材180を用いる場合について説明している。しかしながら、充填部材は、ボール部材には限られない。例えば、充填部材の「コロ」としての機能を犠牲にしても良い場合には、セラミックスを材質とするフェルト、セラミックスを材質とする砂状の部材等を、充填部材として用いても良い。なお、上述の実施の形態におけるボール部材180は、自身が傾斜面で転動することが可能な程度に、その表面がなだらかであって凹凸が少ないことが望ましい。
また、上述の第2の実施の形態では、ボール部材180を、隙間部分146の高さ方向の上端側まで充填している(図8参照)。しかしながら、ボール部材180は、隙間部分146の上端側まで充填する必要はなく、隙間部分146の上端側まで達しない状態で充填しても良い。ここで、隙間部分146の下方側においては、熱膨張による圧力以外に、湯等の自重の圧力も作用する。そこで、例えば隙間部分146の下端側から、略1/3程度か、それよりも上回りかつ隙間部分146の上端側に達しない程度に、ボール部材180を充填するようにしても良い。
また、上述の第2の実施の形態では、外ルツボ140の底部141には、ボール部材180を充填していない。しかしながら、底部141にもボール部材180を充填するようにしても良い。なお、底部141にボール部材180を充填する場合、内ルツボ150の高さ位置の調整(例えば、面合わせ等)を行うことが容易に可能となる。また、底部141にボール部材180を充填する場合、内ルツボ150を外ルツボ140の内筒部144に設置した後であっても、当該内ルツボ150を傾斜させたり、内筒部144で移動させる等の調整を行うことが可能となり、従来は困難であった隙間部分146の全周に亘る、均一寸法化等も図ることが可能となる。
本発明のルツボユニットおよび真空溶解装置は、鉄等の金属を精錬する分野において利用することができる。
本発明の第1の実施の形態に係る真空溶解装置の概略構成を示す図である。 図1の真空溶解装置のうち、溶解炉付近の構成を示す側断面図である。 図1の真空溶解装置のうち、溶解炉付近の構成を示す平面図である。 図1の真空溶解装置が備えるルツボユニットのうち、外ルツボの構成を示す側断面図である。 図1の真空溶解装置が備えるルツボユニットのうち、内ルツボの構成を示す側断面図である。 図1の真空溶解装置が備えるルツボユニットのうち、内ルツボの切欠部付近の構成を示す側断面図である。 図1の真空溶解装置が備えるルツボユニットのうち、主として外ルツボと内ルツボの配置関係を拡大して示す部分断面図である。 本発明の第2の実施の形態に係るルツボユニットの構成のうち、外ルツボと内ルツボの配置関係の概略を示す側断面図である。 図8のうち、外ルツボと内ルツボの配置関係を拡大して示す部分断面図である。
符号の説明
10…真空溶解装置
20…真空チャンバ(チャンバに対応)
100…溶解炉
120…コイル
124…セメント硬化部
130…プレート
140…外ルツボ(第2の実施の形態では、第1の容器に対応、ルツボユニットの一部に対応)
143,153…周壁部
144,154…内筒部
144a…内筒面
150…内ルツボ(ルツボユニットの一部に対応)
153a…外周面
160…セメント凝固部
170…ガイド
180…ボール部材(充填部材に対応、ルツボユニットの一部に対応)

Claims (10)

  1. 真空吸引されるチャンバ内でコイルに高周波電流を導通させることにより、原料に誘導加熱を生じさせ、当該原料を溶解させるための真空溶解装置であって、
    外側に配置されると共に絶縁性の材質から形成される第1の容器と、
    上記第1の容器の内筒部に配置されると共に、材質をセラミックスとする内ルツボと、
    上記第1の容器の内筒面と上記内ルツボの外周面との間の隙間部分に、固着されない状態で充填される充填部材と、
    を具備し、
    上記充填部材は、セラミックスを材質とする球状のボール部材であり、上記第1の容器の底部は、上記ボール部材が充填されない状態で上記内ルツボの底部と当接するように設けられていることを特徴とする真空溶解装置。
  2. 前記隙間部分の上端側には、前記ボール部材が脱落するのを防止する蓋部材が取り付けられることを特徴とする請求項記載の真空溶解装置。
  3. 前記ボール部材は、前記内筒面から前記外周面に向かい、少なくとも3層を為す状態で前記隙間部分に配置されていることを特徴とする請求項1または2記載の真空溶解装置。
  4. 前記第1の容器は、その材質をセラミックスとするルツボであることを特徴とする請求項1から3のいずれか1項に記載の真空溶解装置。
  5. 前記内ルツボは、前記第1の容器よりも熱膨張係数が大きなセラミックスを材質として形成されていることを特徴とする請求項記載の真空溶解装置。
  6. 真空吸引される真空溶解装置のチャンバ内でコイルに高周波電流を導通させることにより、原料に誘導加熱を生じさせ、当該原料を溶解させるために用いられるルツボユニットであって、
    外側に配置されると共に絶縁性の材質から形成される第1の容器と、
    上記第1の容器の内筒部に配置されると共に、材質をセラミックスとする内ルツボと、
    上記第1の容器の内筒面と上記内ルツボの外周面との間の隙間部分に、固着されない状態で充填される充填部材と、
    を具備し、
    上記充填部材は、セラミックスを材質とする球状のボール部材であり、上記第1の容器の底部は、上記ボール部材が充填されない状態で上記内ルツボの底部と当接するように設けられていることを特徴とするルツボユニット。
  7. 前記隙間部分の上端側には、前記ボール部材が脱落するのを防止する蓋部材が取り付けられることを特徴とする請求項記載のルツボユニット。
  8. 前記ボール部材は、前記内筒面から前記外周面に向かい、少なくとも3層を為す状態で前記隙間部分に配置されていることを特徴とする請求項6または7記載のルツボユニット。
  9. 前記第1の容器は、その材質をセラミックスとするルツボであることを特徴とする請求項6から8のいずれか1項に記載のルツボユニット。
  10. 前記内ルツボは、前記第1の容器よりも熱膨張係数が大きなセラミックスを材質として形成されていることを特徴とする請求項記載のルツボユニット。
JP2007105088A 2007-04-12 2007-04-12 真空溶解装置およびルツボユニット Active JP4938534B2 (ja)

Priority Applications (1)

Application Number Priority Date Filing Date Title
JP2007105088A JP4938534B2 (ja) 2007-04-12 2007-04-12 真空溶解装置およびルツボユニット

Applications Claiming Priority (1)

Application Number Priority Date Filing Date Title
JP2007105088A JP4938534B2 (ja) 2007-04-12 2007-04-12 真空溶解装置およびルツボユニット

Related Child Applications (1)

Application Number Title Priority Date Filing Date
JP2011262768A Division JP2012068017A (ja) 2011-11-30 2011-11-30 真空溶解装置およびルツボユニット

Publications (2)

Publication Number Publication Date
JP2008261573A JP2008261573A (ja) 2008-10-30
JP4938534B2 true JP4938534B2 (ja) 2012-05-23

Family

ID=39984180

Family Applications (1)

Application Number Title Priority Date Filing Date
JP2007105088A Active JP4938534B2 (ja) 2007-04-12 2007-04-12 真空溶解装置およびルツボユニット

Country Status (1)

Country Link
JP (1) JP4938534B2 (ja)

Families Citing this family (6)

* Cited by examiner, † Cited by third party
Publication number Priority date Publication date Assignee Title
JP5180256B2 (ja) * 2010-04-27 2013-04-10 日本炉機工業株式会社 石化遺骨灰の製造方法及び真空溶融炉
KR102004760B1 (ko) * 2012-09-04 2019-07-29 삼성전기주식회사 니켈 분말 제조용 내화물 구조체 및 니켈 분말의 제조방법
JP6012897B1 (ja) * 2016-03-08 2016-10-25 日本坩堝株式会社 誘導加熱炉用坩堝
CN106423329A (zh) * 2016-09-17 2017-02-22 德阳市科瑞仪器设备厂 一种熔样杯及其加工工艺
CN116793084A (zh) * 2023-06-28 2023-09-22 北京航空材料研究院股份有限公司 一种用于真空感应熔炼高温合金的多层复合成型坩埚
CN118274614B (zh) * 2024-05-29 2024-08-02 长沙中瓷新材料科技有限公司 一种锂电池负极石墨化用内壳可换式坩埚及替换方法

Family Cites Families (7)

* Cited by examiner, † Cited by third party
Publication number Priority date Publication date Assignee Title
JPS5521023B2 (ja) * 1974-05-30 1980-06-06
EP0344352B1 (en) * 1988-06-03 1994-09-28 International Business Machines Corporation Method for making artificial layered high-Tc superconductors
JPH01244276A (ja) * 1988-03-23 1989-09-28 Tanaka Kikinzoku Kogyo Kk 金地金高周波溶解用るつぼ
JPH02104172A (ja) * 1988-10-13 1990-04-17 Sony Corp 画像表示のディジタル調整装置
JPH06279983A (ja) * 1993-03-29 1994-10-04 Honda Motor Co Ltd 溶融塩浴炉
JPH07113581A (ja) * 1993-10-18 1995-05-02 Vacuum Metallurgical Co Ltd 誘導加熱溶解装置
JP4363765B2 (ja) * 2000-09-13 2009-11-11 新日本製鐵株式会社 坩堝型誘導溶解炉

Also Published As

Publication number Publication date
JP2008261573A (ja) 2008-10-30

Similar Documents

Publication Publication Date Title
JP4938534B2 (ja) 真空溶解装置およびルツボユニット
US3492383A (en) Process of manufacturing a crack resistant multi-layer furnace lining
CN104399930A (zh) 一种离心铸造陶瓷-金属蜂窝复合材料立磨磨辊的方法
JP4210518B2 (ja) 炉冷却装置の製造方法
JP6576193B2 (ja) 電鋳耐火物製タックストーンおよび溶融窯
US4675879A (en) Induction furnaces
CN101718496A (zh) 耐火衬里构件
US20090090481A1 (en) Continuous casting nozzle and production method therefor
JP2012068017A (ja) 真空溶解装置およびルツボユニット
TW202231381A (zh) 耐火鑄件的材料、設備和方法
JP4361824B2 (ja) 真空脱ガス装置の浸漬管
JP5491815B2 (ja) 精錬装置用浸漬管
JP2008238216A (ja) 溶湯金属攪拌用回転体およびこれを用いた溶湯金属の脱ガス処理装置
JP4589425B2 (ja) 連続鋳造用ノズル及びその製造方法
US3329201A (en) Pouring tube for pressure pouring apparatus
JP2000094098A (ja) タンディシュ注入管
JP2003042667A (ja) 溶湯容器の保護構造
CN115698341A (zh) 用于气体喷吹的鼓风喷枪、其用途和生产方法
JP4931432B2 (ja) 多結晶シリコン鋳片製造用の鋳型
JP5391810B2 (ja) 溶融金属容器のガス吹き込み部構造
JP2015116571A (ja) 受湯容器及びその製造方法
JP2001262219A (ja) 真空脱ガス装置下部槽の内張り施工方法
JPH10298632A (ja) Rh設備用の浸漬管
JPH1177285A (ja) 取 鍋
WO2000049185A1 (en) Taphole assembly for a molten metal manufacturing furnace and method of forming the same

Legal Events

Date Code Title Description
A977 Report on retrieval

Free format text: JAPANESE INTERMEDIATE CODE: A971007

Effective date: 20100402

A521 Request for written amendment filed

Free format text: JAPANESE INTERMEDIATE CODE: A523

Effective date: 20101215

A711 Notification of change in applicant

Free format text: JAPANESE INTERMEDIATE CODE: A711

Effective date: 20101215

A521 Request for written amendment filed

Free format text: JAPANESE INTERMEDIATE CODE: A523

Effective date: 20101215

Free format text: JAPANESE INTERMEDIATE CODE: A821

Effective date: 20101215

A521 Request for written amendment filed

Free format text: JAPANESE INTERMEDIATE CODE: A523

Effective date: 20110207

A131 Notification of reasons for refusal

Free format text: JAPANESE INTERMEDIATE CODE: A131

Effective date: 20110322

A521 Request for written amendment filed

Free format text: JAPANESE INTERMEDIATE CODE: A523

Effective date: 20110523

A02 Decision of refusal

Free format text: JAPANESE INTERMEDIATE CODE: A02

Effective date: 20110830

A521 Request for written amendment filed

Free format text: JAPANESE INTERMEDIATE CODE: A523

Effective date: 20111130

A911 Transfer to examiner for re-examination before appeal (zenchi)

Free format text: JAPANESE INTERMEDIATE CODE: A911

Effective date: 20111213

TRDD Decision of grant or rejection written
A01 Written decision to grant a patent or to grant a registration (utility model)

Free format text: JAPANESE INTERMEDIATE CODE: A01

Effective date: 20120207

A01 Written decision to grant a patent or to grant a registration (utility model)

Free format text: JAPANESE INTERMEDIATE CODE: A01

A61 First payment of annual fees (during grant procedure)

Free format text: JAPANESE INTERMEDIATE CODE: A61

Effective date: 20120223

FPAY Renewal fee payment (event date is renewal date of database)

Free format text: PAYMENT UNTIL: 20150302

Year of fee payment: 3

R150 Certificate of patent or registration of utility model

Ref document number: 4938534

Country of ref document: JP

Free format text: JAPANESE INTERMEDIATE CODE: R150

Free format text: JAPANESE INTERMEDIATE CODE: R150

S533 Written request for registration of change of name

Free format text: JAPANESE INTERMEDIATE CODE: R313533

FPAY Renewal fee payment (event date is renewal date of database)

Free format text: PAYMENT UNTIL: 20150302

Year of fee payment: 3

R350 Written notification of registration of transfer

Free format text: JAPANESE INTERMEDIATE CODE: R350

R250 Receipt of annual fees

Free format text: JAPANESE INTERMEDIATE CODE: R250

R250 Receipt of annual fees

Free format text: JAPANESE INTERMEDIATE CODE: R250

R250 Receipt of annual fees

Free format text: JAPANESE INTERMEDIATE CODE: R250

R250 Receipt of annual fees

Free format text: JAPANESE INTERMEDIATE CODE: R250

R250 Receipt of annual fees

Free format text: JAPANESE INTERMEDIATE CODE: R250

S533 Written request for registration of change of name

Free format text: JAPANESE INTERMEDIATE CODE: R313533

R350 Written notification of registration of transfer

Free format text: JAPANESE INTERMEDIATE CODE: R350

R250 Receipt of annual fees

Free format text: JAPANESE INTERMEDIATE CODE: R250

R250 Receipt of annual fees

Free format text: JAPANESE INTERMEDIATE CODE: R250

R250 Receipt of annual fees

Free format text: JAPANESE INTERMEDIATE CODE: R250

R250 Receipt of annual fees

Free format text: JAPANESE INTERMEDIATE CODE: R250

R250 Receipt of annual fees

Free format text: JAPANESE INTERMEDIATE CODE: R250

R250 Receipt of annual fees

Free format text: JAPANESE INTERMEDIATE CODE: R250

R250 Receipt of annual fees

Free format text: JAPANESE INTERMEDIATE CODE: R250