JP4935599B2 - 表示装置の製造方法 - Google Patents
表示装置の製造方法 Download PDFInfo
- Publication number
- JP4935599B2 JP4935599B2 JP2007249142A JP2007249142A JP4935599B2 JP 4935599 B2 JP4935599 B2 JP 4935599B2 JP 2007249142 A JP2007249142 A JP 2007249142A JP 2007249142 A JP2007249142 A JP 2007249142A JP 4935599 B2 JP4935599 B2 JP 4935599B2
- Authority
- JP
- Japan
- Prior art keywords
- insulating film
- layer
- display device
- resist
- liquid repellent
- Prior art date
- Legal status (The legal status is an assumption and is not a legal conclusion. Google has not performed a legal analysis and makes no representation as to the accuracy of the status listed.)
- Expired - Fee Related
Links
Images
Landscapes
- Devices For Indicating Variable Information By Combining Individual Elements (AREA)
- Electroluminescent Light Sources (AREA)
Description
電極が設けられた基板の面上に形成された絶縁膜上に撥液層を形成する撥液層形成工程と、
前記撥液層上に形成されたレジストをマスクとして前記撥液層及び前記絶縁膜をエッチングして前記電極の少なくとも一部を露出するとともに前記絶縁膜の側壁を露出させる絶縁膜側壁形成工程と、
前記絶縁膜側壁形成工程後に、露出された前記電極及び前記絶縁膜の側壁に親液化処理を施す親液化処理工程と、
前記親液化処理工程後に、前記レジストを除去して、前記撥液層を露出させる撥液層露出工程と、
前記絶縁膜の側壁に囲まれた領域に電荷輸送層となる材料を含有する電荷輸送材料含有液を滴下する電荷輸送材料含有液滴下工程と、
を備える。
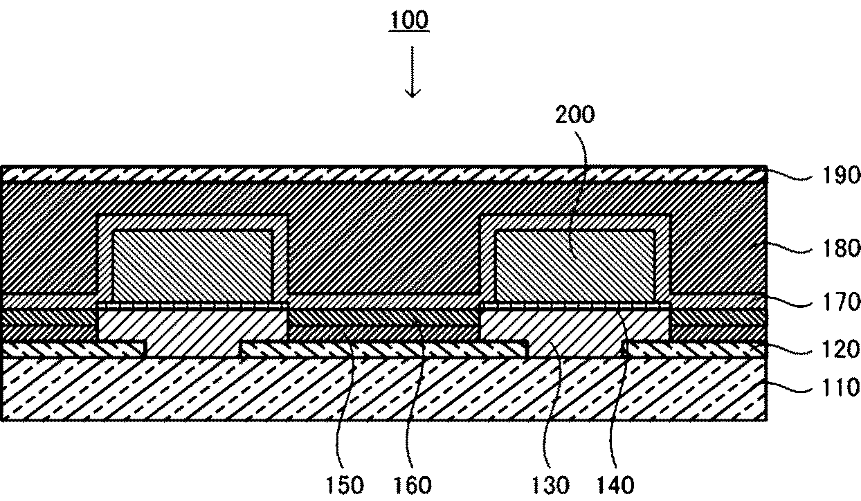
まず、本実施の形態に係る表示装置の製造方法により製造される表示装置100について説明する。表示装置100の発光方式は、有機エレクトロルミネッセンス(以下、有機ELと称す。)層を備えたアクティブマトリクス駆動によるボトムエミッション型である。有機EL層は、発光素子として有機材料を塗布して形成される発光層やキャリアを輸送する性質を持った材料を塗布して形成される正孔輸送層・電子輸送層等から構成される。本実施の形態に係る表示装置100の有機EL層は、一例として正孔輸送層と発光層との二層構造からなる。
次に、上述した表示装置100の製造方法について図3を参照して説明する。なお、以下の説明においては、表示装置100の表示部分、即ち、パネル基板110に表示画素が形成された領域の形成方法を主に説明する。正孔輸送層150及び発光層160に駆動電流を供給する駆動制御素子(薄膜トランジスタ)の製造方法は、従来と同様である。また、画素駆動回路を構成するトランジスタや配線層は、パネル基板110の一面に設定された画素ごとに形成される。
Claims (5)
- 電極が設けられた基板の面上に形成された絶縁膜上に撥液層を形成する撥液層形成工程と、
前記撥液層上に形成されたレジストをマスクとして前記撥液層及び前記絶縁膜をエッチングして前記電極の少なくとも一部を露出するとともに前記絶縁膜の側壁を露出させる絶縁膜側壁形成工程と、
前記絶縁膜側壁形成工程後に、露出された前記電極及び前記絶縁膜の側壁に親液化処理を施す親液化処理工程と、
前記親液化処理工程後に、前記レジストを除去して、前記撥液層を露出させる撥液層露出工程と、
前記絶縁膜の側壁に囲まれた領域に電荷輸送層となる材料を含有する電荷輸送材料含有液を滴下する電荷輸送材料含有液滴下工程と、
を備えることを特徴とする表示装置の製造方法。 - 前記レジストは、ドライフィルムレジストであることを特徴とする請求項1に記載の表示装置の製造方法。
- 前記撥液層は、少なくとも1つのフッ素を含む官能基を有する化合物を含むことを特徴とする請求項1又は2に記載の表示装置の製造方法。
- 前記親液化処理工程は、大気雰囲気中で酸素を処理ガスとする酸素プラズマ処理、又は、紫外線を照射する紫外線照射処理を施すことを特徴とする請求項1に記載の表示装置の製造方法。
- 前記撥液層露出工程は、前記基板を有機アルカリ系の剥離剤に浸漬することにより、前記レジストを剥離することを特徴とする請求項1乃至4の何れか1項に記載の表示装置の製造方法。
Priority Applications (1)
| Application Number | Priority Date | Filing Date | Title |
|---|---|---|---|
| JP2007249142A JP4935599B2 (ja) | 2007-09-26 | 2007-09-26 | 表示装置の製造方法 |
Applications Claiming Priority (1)
| Application Number | Priority Date | Filing Date | Title |
|---|---|---|---|
| JP2007249142A JP4935599B2 (ja) | 2007-09-26 | 2007-09-26 | 表示装置の製造方法 |
Publications (2)
| Publication Number | Publication Date |
|---|---|
| JP2009081035A JP2009081035A (ja) | 2009-04-16 |
| JP4935599B2 true JP4935599B2 (ja) | 2012-05-23 |
Family
ID=40655628
Family Applications (1)
| Application Number | Title | Priority Date | Filing Date |
|---|---|---|---|
| JP2007249142A Expired - Fee Related JP4935599B2 (ja) | 2007-09-26 | 2007-09-26 | 表示装置の製造方法 |
Country Status (1)
| Country | Link |
|---|---|
| JP (1) | JP4935599B2 (ja) |
Families Citing this family (1)
| Publication number | Priority date | Publication date | Assignee | Title |
|---|---|---|---|---|
| JP5343815B2 (ja) * | 2009-11-11 | 2013-11-13 | セイコーエプソン株式会社 | 有機el素子、有機el素子の製造方法、有機el装置、電子機器 |
Family Cites Families (5)
| Publication number | Priority date | Publication date | Assignee | Title |
|---|---|---|---|---|
| JPH08288064A (ja) * | 1995-04-18 | 1996-11-01 | Mitsubishi Chem Corp | 有機電界発光素子の製造方法 |
| JP4517569B2 (ja) * | 2002-10-18 | 2010-08-04 | カシオ計算機株式会社 | 表示パネルの製造方法 |
| JP2006049172A (ja) * | 2004-08-06 | 2006-02-16 | Seiko Epson Corp | 電気光学装置、電気光学装置の製造方法、電子機器 |
| JP2007005056A (ja) * | 2005-06-22 | 2007-01-11 | Seiko Epson Corp | 有機el装置、及びその製造方法 |
| JP2007165215A (ja) * | 2005-12-16 | 2007-06-28 | Seiko Epson Corp | エレクトロルミネッセンス装置の製造方法 |
-
2007
- 2007-09-26 JP JP2007249142A patent/JP4935599B2/ja not_active Expired - Fee Related
Also Published As
| Publication number | Publication date |
|---|---|
| JP2009081035A (ja) | 2009-04-16 |
Similar Documents
| Publication | Publication Date | Title |
|---|---|---|
| JP5575094B2 (ja) | 液滴堆積ウェルの形成方法、有機電子デバイス、有機電子デバイスの形成方法 | |
| JP6016407B2 (ja) | 有機el表示装置の製造方法 | |
| CN103413819B (zh) | 一种有机发光显示面板、像素界定层及其制作方法 | |
| KR100394290B1 (ko) | 유기 전계발광 소자의 제조 방법, 유기 전계발광 소자 | |
| US7902750B2 (en) | Electro-optical device, electronic apparatus, and method of manufacturing the same | |
| US7892059B2 (en) | Manufacturing method for organic electroluminescent display device including etching partition wall after imparting lyophilicity to partion wall and pixel electrode | |
| JP2009506490A5 (ja) | ||
| JP2014232568A (ja) | 有機el装置 | |
| KR20140067645A (ko) | 유기전계 발광소자 및 이의 제조 방법 | |
| KR20070079569A (ko) | 발광 장치, 발광 장치의 제조 방법, 노광 장치, 및 전자기기 | |
| JP5336524B2 (ja) | 発光素子の製造方法と発光素子、および発光装置の製造方法と発光装置 | |
| JP4692415B2 (ja) | エレクトロルミネッセンス素子の製造方法 | |
| US20120252143A1 (en) | Method of manufacturing organic light emitting device | |
| JP5114952B2 (ja) | エレクトロルミネッセンス素子、及びエレクトロルミネッセンス素子の製造方法 | |
| KR20070011105A (ko) | 자발광 패널의 제조 방법 및 자발광 패널 | |
| JP4520997B2 (ja) | 有機エレクトロルミネセンス表示パネル及びその製造方法 | |
| JP2006004743A (ja) | 表示装置及びその製造方法 | |
| JP4935599B2 (ja) | 表示装置の製造方法 | |
| JP2009070704A (ja) | 表示装置及びその製造方法 | |
| JP4742317B2 (ja) | 表示装置及びその製造方法 | |
| JP4366721B2 (ja) | 表示装置及びその製造方法 | |
| JP2007533091A (ja) | 基板に機能材料をパターン形成する方法 | |
| JP2007019072A (ja) | 配線及びそのパターニング方法並びにディスプレイパネル及びその製造方法 | |
| JP2007095379A (ja) | 有機el表示装置とその製造方法 | |
| JP2005142118A (ja) | 基板装置の製造方法 |
Legal Events
| Date | Code | Title | Description |
|---|---|---|---|
| A621 | Written request for application examination |
Free format text: JAPANESE INTERMEDIATE CODE: A621 Effective date: 20100401 |
|
| A977 | Report on retrieval |
Free format text: JAPANESE INTERMEDIATE CODE: A971007 Effective date: 20111013 |
|
| A131 | Notification of reasons for refusal |
Free format text: JAPANESE INTERMEDIATE CODE: A131 Effective date: 20111101 |
|
| A521 | Request for written amendment filed |
Free format text: JAPANESE INTERMEDIATE CODE: A523 Effective date: 20111228 |
|
| TRDD | Decision of grant or rejection written | ||
| A01 | Written decision to grant a patent or to grant a registration (utility model) |
Free format text: JAPANESE INTERMEDIATE CODE: A01 Effective date: 20120124 |
|
| A01 | Written decision to grant a patent or to grant a registration (utility model) |
Free format text: JAPANESE INTERMEDIATE CODE: A01 |
|
| A61 | First payment of annual fees (during grant procedure) |
Free format text: JAPANESE INTERMEDIATE CODE: A61 Effective date: 20120206 |
|
| FPAY | Renewal fee payment (event date is renewal date of database) |
Free format text: PAYMENT UNTIL: 20150302 Year of fee payment: 3 |
|
| R150 | Certificate of patent or registration of utility model |
Ref document number: 4935599 Country of ref document: JP Free format text: JAPANESE INTERMEDIATE CODE: R150 Free format text: JAPANESE INTERMEDIATE CODE: R150 |
|
| S111 | Request for change of ownership or part of ownership |
Free format text: JAPANESE INTERMEDIATE CODE: R313113 |
|
| R350 | Written notification of registration of transfer |
Free format text: JAPANESE INTERMEDIATE CODE: R350 |
|
| R250 | Receipt of annual fees |
Free format text: JAPANESE INTERMEDIATE CODE: R250 |
|
| R250 | Receipt of annual fees |
Free format text: JAPANESE INTERMEDIATE CODE: R250 |
|
| R250 | Receipt of annual fees |
Free format text: JAPANESE INTERMEDIATE CODE: R250 |
|
| LAPS | Cancellation because of no payment of annual fees |
