JP4913583B2 - コネクタ - Google Patents

コネクタ Download PDF

Info

Publication number
JP4913583B2
JP4913583B2 JP2006352303A JP2006352303A JP4913583B2 JP 4913583 B2 JP4913583 B2 JP 4913583B2 JP 2006352303 A JP2006352303 A JP 2006352303A JP 2006352303 A JP2006352303 A JP 2006352303A JP 4913583 B2 JP4913583 B2 JP 4913583B2
Authority
JP
Japan
Prior art keywords
piece
male terminal
tab
tip
contact substrate
Prior art date
Legal status (The legal status is an assumption and is not a legal conclusion. Google has not performed a legal analysis and makes no representation as to the accuracy of the status listed.)
Expired - Fee Related
Application number
JP2006352303A
Other languages
English (en)
Other versions
JP2008166044A (ja
Inventor
智明 虎谷
悟 磯貝
智和 北村
Current Assignee (The listed assignees may be inaccurate. Google has not performed a legal analysis and makes no representation or warranty as to the accuracy of the list.)
Furukawa Electric Co Ltd
Original Assignee
Furukawa Electric Co Ltd
Priority date (The priority date is an assumption and is not a legal conclusion. Google has not performed a legal analysis and makes no representation as to the accuracy of the date listed.)
Filing date
Publication date
Application filed by Furukawa Electric Co Ltd filed Critical Furukawa Electric Co Ltd
Priority to JP2006352303A priority Critical patent/JP4913583B2/ja
Publication of JP2008166044A publication Critical patent/JP2008166044A/ja
Application granted granted Critical
Publication of JP4913583B2 publication Critical patent/JP4913583B2/ja
Expired - Fee Related legal-status Critical Current
Anticipated expiration legal-status Critical

Links

Images

Landscapes

  • Coupling Device And Connection With Printed Circuit (AREA)

Description

本発明は、メス端子とオス端子を備えたコネクタに関するものである。
メス端子とオス端子を備えた従来のコネクタは、メス端子内に、入口側から内部へ折り返す形の弾性舌片を設けておき、メス端子にオス端子を挿入したときに、オス端子が前記弾性舌片を押し退けることにより発生する弾性反発力で、電気的接続に必要な接触圧を得るものが一般的である。
しかしながら、このタイプのコネクタは、オス端子を挿入するときに、弾性舌片でオス端子に押付け力を加えた状態で、オス端子の挿入が進行するため、摩擦抵抗が大きく、大きな挿入力が必要になることから、作業者に大きな負担がかかるという問題がある。特に、自動車の電源回路などに使用される通電電流の大きいコネクタでは、振動による微摺動摩耗を回避するため、押付け力を大きくする必要があることから、オス端子挿入時の摩擦抵抗が大きな問題となっている。
オス端子挿入時の摩擦抵抗を低減する手段としては、特許文献1に、メス端子を収容するハウジングに、メス端子内の弾性舌片を押し下げるロックアームを設け、オス端子を挿入する際に、前記ロックアームで弾性舌片を押し下げておくことが提案されている。
特開2006−216272号公報
しかし、引用文献1記載のコネクタは、メス端子側ハウジングのロックアームを、オス端子側ハウジングで押し下げながら、オス端子とメス端子の嵌合を進行させるものであるから、結局、オス端子とメス端子の挿入摩擦を、ハウジングの挿入摩擦に置き換えただけであり、作業者の負担を大きく低減することは困難である。また、引用文献1記載のコネクタは、ハウジングの構造が複雑になり、多芯、特に多層のコネクタへの適用は困難になるという問題がある。
本発明の目的は、ハウジングに工夫を施すことなく、メス端子及びオス端子自体で、オス端子の挿入力を小さくできる、接続作業の容易なコネクタを提供することにある。
上記目的を達成するため本発明は、メス端子とオス端子を備えたコネクタであって、
前記メス端子のオス端子挿入部は、オス端子のタブの片面と摺動して接触する接触基板部と、前記オス端子のタブの反対側の面を摺動なしで前記接触基板部に向けて押圧する押圧部とを有しており、
前記押圧部は、前記接触基板部と対向するように設けられた片持ち梁形の弾性片と、この弾性片の自由端側にヒンジ部を介して回動可能に取り付けられた突っ張り片とで構成されており、
前記突っ張り片は、外力がかからない初期状態では、その内面と接触基板部との角度αが鋭角になるように、かつその先端と接触基板部との間隔d が前記タブの厚さtと同等かそれより大きくなるように保持されており、さらに、前記初期状態から弾性片を変形させることなく突っ張り片をヒンジ部を中心に回動させると、突っ張り片の先端と接触基板部との間隔の最小値d が前記タブの厚さtより小さくなるように形成されており、
前記オス端子のタブは、前記メス端子の接触基板部と突っ張り片の先端との間に挿入したときに当該突っ張り片の先端に引っ掛かる引っ掛かり部を有しており、
前記オス端子のタブをメス端子の接触基板部と突っ張り片の先端との間に挿入すると、前記突っ張り片がその先端をオス端子の引っ掛かり部に押されてヒンジ部を中心に回動すると共に、前記弾性片が押し上げられて変形し、この変形により発生する押圧力で前記タブを接触基板部に押し付けるようになっており、
電気的接続に必要な押圧力が発生する範囲で、前記突っ張り片が、その内面と接触基板部との角度αが鈍角になるまで回動すると、突っ張り片のそれ以上の回動を規制する回動規制手段が設けられていることを特徴とするものである。
また、本発明に係るコネクタにおいて、前記突っ張り片の回動規制手段は、突っ張り片の内面が突き当たる回動規制部で構成されていることが好ましい。
また、本発明に係るコネクタにおいて、前記突っ張り片の回動規制手段は、オス端子のタブの先端が突き当たる押し込み規制部で構成されていてもよい。
また、本発明に係るコネクタにおいて、オス端子のタブの、突っ張り片の先端との引っ掛かり部は、タブに形成された突起で構成されていることが好ましい。
本発明によれば、オス端子を挿入する際に、オス端子とメス端子が摺動するのは、オス端子のタブとメス端子の接触基板部との接触面だけであり、オス端子の反対側の面は押圧部によって押圧されるだけで挿入摩擦がないので、オス端子の挿入力を大幅に小さくできる。その上、押圧力がかかった状態でのオス端子の挿入距離も短くできるので、オス端子の挿入に必要な仕事量も大幅に小さくすることができる。さらに、メス端子とオス端子の構造だけでオス端子の挿入力を小さくできるので、ハウジングの構造が複雑化することもない。
また、押圧部を構成する突っ張り片を、初期状態で突っ張り片の内面と接触基板部との角度を鋭角に保ち、オス端子の押し込みにより突っ張り片をヒンジ部を中心に回動させて押圧力を発生させる場合、突っ張り片の内面と接触基板部との角度が鈍角になったところで、突っ張り片のそれ以上の回動を規制する回動規制手段を設けておくと、突っ張り片が元へ戻る方向へ回動し難くなるので、メス端子とオス端子の接続状態を安定に保つことができる。
〔実施形態1〕図1は本発明の一実施形態を示す。このコネクタは、メス端子11とオス端子13とを備えている(ハウジングは図示省略)。(A)はメス端子11とオス端子13を接続する前の状態、(B)は接続途中の状態、(C)は接続後の状態を示している。
メス端子11は、オス端子挿入部15、中間胴部17、電線接続部19などを有している。21は電線接続部19に接続された電線である。オス端子13は、先端側にタブ23を有し、後端側に電線接続部(図示省略)などを有している。
メス端子11のオス端子挿入部15は、オス端子13のタブ23の下面と接触する接触基板部25と、この接触基板部25と対向するように中間胴部17の上部から延び出した片持ち梁形の弾性片27と、この弾性片27の自由端にヒンジ部29を介して回動可能に取り付けられた突っ張り片31と、この突っ張り片31の回動限界を定める回動規制部33などから構成されている。接触基板部25、弾性片27及び回動規制部33は中間胴部17と一体に形成されている。
前記突っ張り片31は、外力がかからない初期状態では、図1(A)に示すように、その内面と接触基板部25との角度αが鋭角になるように、かつその先端と接触基板部25との間隔dが前記タブ23の厚さtと同等かそれより大きくなるように保持されている。さらに突っ張り片31は、前記初期状態から弾性片27を弾性変形させることなく突っ張り片31をヒンジ部29を中心として回動させ、前記角度αを直角にすると(2点鎖線参照)、その先端と接触基板部25との間隔dが前記タブ23の厚さtより小さくなるように寸法が定められている。なおこの実施形態では、初期状態での突っ張り片31の角度αは、弾性片27に基端部を固定された板ばね35によって保たれている。この板ばね35のばね力はオス端子11の挿入力にほとんど影響しない程度のごく弱いもので十分である。
一方、オス端子13のタブ23の上面には、タブ23を前記メス端子の接触基板部25と突っ張り片31の先端との間に挿入したときに、当該突っ張り片31の先端に引っ掛かる突起37が形成されている。
したがって、オス端子のタブ23をメス端子の接触基板部25と突っ張り片31の先端との間に挿入すると、図1(B)に示すように、突っ張り片31がその先端をオス端子13の突起37に押されて回動すると共に、弾性片31が突っ張り片31により押し上げられて弾性変形し、突っ張り片31と接触基板部25との角度が直角になったところで弾性片27の弾性変形量が最大になり、タブ23を接触基板部25に最大の押圧力(弾性反発力)で押し付けることになる。
図1(B)の状態を保持して接続を終了してもよいが、接続状態を安定させるためには、オス端子13を、図1(C)に示すように、突っ張り片31の内面と接触基板部25との角度αが直角より少し大きい鈍角になるまで押し込むとよい。この実施形態では、オス端子13がこの位置まで押し込まれると、突っ張り片31の内面が回動規制部33に突き当たって、突っ張り片31がそれ以上回動できなくなる。角度αが鈍角になると、突っ張り片31が元へ戻る方向へ回動することは難しくなるので、メス端子とオス端子の接続状態を安定に維持することができる。なお、図1(C)の状態でも、弾性片27は弾性変形したままであり、タブ23に電気的接続に必要な押付け力(弾性反発力)がかかっていることは勿論である。
なお、突っ張り片31が図1(C)の位置以上に回動できなくするには、オス端子挿入部15内に、タブ23の先端が突き当たってオス端子13の押し込みがそれ以上できなくなる押し込み規制部39(2点鎖線)を設けておいてもよい。
このコネクタは、メス端子11とオス端子13の接続が以上のようにして行われるため、接続の際に挿入摩擦が発生するのは、オス端子11の下面側だけであり、オス端子11の上面側は、突っ張り片31が回動するだけで、挿入摩擦がないので、オス端子の両面で挿入摩擦が発生する従来のコネクタよりも、オス端子の挿入力を大幅に小さくすることができる。さらに、弾性反発力がかかった状態でのオス端子の挿入距離(突っ張り片31が弾性片27を押し上げ始めてから回動規制部33に突き当たるまでのオス端子の移動距離)を、従来のコネクタの同じく弾性反発力がかかった状態でのオス端子の挿入距離(オス端子が弾性舌片を押し上げ始めてから所定の接続位置に到達するまでのオス端子の移動距離)よりも短くできるので、オス端子の挿入に必要な仕事量も大幅に小さくすることができる。
この点を図解すると図2のとおりである。図2(A)は本発明のコネクタにおけるオス端子の挿入力(縦軸)と挿入距離(横軸)の関係を示し、(B)は従来のコネクタにおけるオス端子の挿入力(縦軸)と挿入距離(横軸)の関係を示す。本発明のコネクタの方が、従来のコネクタよりも、挿入力、挿入距離とも大幅に小さくなる。
〔実施形態2〕図3(A)、(B)は本発明の他の実施形態を示す。図3において、図1と同一部分には同一符号を付してある。このコネクタが実施形態1のコネクタと異なる点は、ヒンジ部29及び突っ張り片31が薄い弾性金属板(ステンレス板等)により一体に形成されていることである。ヒンジ部29は薄い弾性金属板の折り曲げ部により形成され、突っ張り片31は薄い弾性金属板の両側縁を折り立てることにより突っ張りに必要な剛性をもたせている。ヒンジ部29の弾性片27側は、溶接その他の固定手段により弾性片27に固定されている。
上記以外の構成は実施形態1と実質的に同じであり、このような構成でも実施形態1と同等の効果を得ることができる。
〔実施形態3〕図4は本発明のさらに他の実施形態を示す。図4において、図3と同一部分には同一符号を付してある。このコネクタが実施形態2のコネクタと異なる点は、メス端子11の接触基板部25に、隆起部41を形成したことである。この場合は、隆起部41の上面がタブ23との接触面となる。接触基板部25は、平板状とせずに、このような隆起部41を形成した方が、オス端子11の挿入摩擦を減らすことができる。隆起部41は、オス端子11の挿入方向に細長く、複数本形成することが好ましい。
上記以外の構成は実施形態2と実質的に同じであり、このような構成でも実施形態2と同等の効果を得ることができる。
〔実施形態4〕図5は本発明のさらに他の実施形態を示す。図5において、図1と同一部分には同一符号を付してある。このコネクタが実施形態1のコネクタと異なる点は、オス端子13のタブ23がクサビ状に形成されていることである。メス端子11の構成は実施形態1と同じである。タブ23のクサビ部分の厚さは、先端側が突っ張り片31の先端と接触基板部25との間隔dより薄く、基端側が前記間隔dより厚くなるように設定されている。このため、タブ23を、メス端子11の接触基板部25と突っ張り片31の先端との間に挿入すると、タブ23のクサビ部分の中間部が突っ張り片31の先端に引っ掛かり、突っ張り片31の先端がタブ23の上面に押されて回動する。それ以降の動作は実施形態1と同じである。つまり、この実施形態では、オス端子13のクサビ状のタブ23の中間部が突っ張り片31の先端との引っ掛かり部となっている。
上記以外の構成は実施形態1と同じであり、このような構成でも実施形態1と同等の効果を得ることができる。
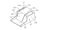
関連技術1〕図6は本発明の関連技術を示す。図6ではメス端子11だけを示したが、オス端子の構成は実施形態1又は4と同様である。このメス端子11は、オス端子を接触基板部に押し付ける押圧部を、接触基板部25の両側から立ち上がる両側壁部17b、17b(中間胴部17の一部)と、この両側壁部17b、17bの間隔より幅がく前記接触基板部25と平行な天板部17aと、この天板部17aの両側縁と前記両側壁部17b、17bの上端縁とを連結する連結部17c、17cと、前記天板部17aの先端側にヒンジ部29を介して回動可能に取り付けられた突っ張り片31とで構成したものである。
突っ張り片31は、実施形態1と同様、外力がかからない初期状態では、その内面と接触基板部との角度αが鋭角になるように、かつその先端と接触基板部との間隔dが前記タブの厚さtと同等かそれより大きくなるように保持されており、さらに、前記初期状態から前記連結部17c、17cを弾性変形させることなく突っ張り片31をヒンジ部29を中心に回動させると、突っ張り片31の先端と接触基板部25との間隔の最小値dがオス端子のタブの厚さtより小さくなるように形成されている。
したがって、オス端子のタブをメス端子11の接触基板部25と突っ張り片31の先端との間に挿入すると、前記突っ張り片31がその先端をオス端子の引っ掛かり部に押されてヒンジ部31を中心に回動し、これにより天板部17aの先端側が押し上げられるため前記連結部17c、17cが引っ張られて弾性変形する(この場合は両側壁部17b、17bも若干内側へ倒れ込むように弾性変形する)。このときの弾性反発力で突っ張り片31がオス端子のタブを接触基板部25に強く押し付けることになる。したがって、このような構成でも実施形態1と同等の効果を得ることができる。
なお、図6では、突っ張り片31を天板部17aと同じ金属板で形成する場合を示したが、突っ張り片31は、図3と同様に、薄い弾性金属板で形成し、天板部17aに固定するようにしてもよい。また、図6では、天板部17aの幅を両側壁部17b、17bの間隔より狭くして連結部17c、17cを内向きに傾斜させたが、連結部17c、17cは天板部17aと同一平面にあってもよく、また、天板部17aの幅を両側壁部17b、17bの間隔より広くして連結部17c、17cを外向きに傾斜させてもよく、さらに、天板部17aの幅を両側壁部17b、17bの間隔と同じにして連結部17c、17cを湾曲させてもよい。
本発明に係るコネクタの一実施形態を示す、(A)は接続前、(B)は接続途中、(C)は接続後の側面図。 (A)は本発明のコネクタにおけるオス端子の挿入力を示す説明図、(B)は従来のコネクタにおけるオス端子の挿入力を示す説明図。 本発明に係るコネクタの他の実施形態を示す、(A)は一部切開側面図、(B)はメス端子の斜視図。 本発明に係るコネクタのさらに他の実施形態を示す一部切開側面図。 本発明に係るコネクタのさらに他の実施形態を示す、(A)は接続前、(B)は接続途中、(C)は接続後の側面図。 本発明の関連技術を示す、メス端子の斜視図。
符号の説明
11:メス端子
13:オス端子
15:オス端子挿入部
17:中間胴部
17a:天板部
17b:側壁部
17c:連結部
19:電線接続部
21:電線
23:タブ
25:接触基板部
27:弾性片
29:ヒンジ部
31:突っ張り片
33:回動規制部
35:板ばね
37:突起
39:押し込み規制部
41:隆起部

Claims (4)

  1. メス端子とオス端子を備えたコネクタであって、
    前記メス端子のオス端子挿入部は、オス端子のタブの片面と摺動して接触する接触基板部と、前記オス端子のタブの反対側の面を摺動なしで前記接触基板部に向けて押圧する押圧部とを有しており、
    前記押圧部は、前記接触基板部と対向するように設けられた片持ち梁形の弾性片と、この弾性片の自由端側にヒンジ部を介して回動可能に取り付けられた突っ張り片とで構成されており、
    前記突っ張り片は、外力がかからない初期状態では、その内面と接触基板部との角度αが鋭角になるように、かつその先端と接触基板部との間隔d が前記タブの厚さtと同等かそれより大きくなるように保持されており、さらに、前記初期状態から弾性片を変形させることなく突っ張り片をヒンジ部を中心に回動させると、突っ張り片の先端と接触基板部との間隔の最小値d が前記タブの厚さtより小さくなるように形成されており、
    前記オス端子のタブは、前記メス端子の接触基板部と突っ張り片の先端との間に挿入したときに当該突っ張り片の先端に引っ掛かる引っ掛かり部を有しており、
    前記オス端子のタブをメス端子の接触基板部と突っ張り片の先端との間に挿入すると、前記突っ張り片がその先端をオス端子の引っ掛かり部に押されてヒンジ部を中心に回動すると共に、前記弾性片が押し上げられて変形し、この変形により発生する押圧力で前記タブを接触基板部に押し付けるようになっており、
    電気的接続に必要な押圧力が発生する範囲で、前記突っ張り片が、その内面と接触基板部との角度αが鈍角になるまで回動すると、突っ張り片のそれ以上の回動を規制する回動規制手段が設けられていることを特徴とするコネクタ。
  2. 突っ張り片の回動規制手段は、突っ張り片の内面が突き当たる回動規制部で構成されていることを特徴とする請求項記載のコネクタ。
  3. 突っ張り片の回動規制手段は、オス端子のタブの先端が突き当たる押し込み規制部で構成されていることを特徴とする請求項記載のコネクタ。
  4. オス端子のタブの、突っ張り片の先端との引っ掛かり部は、タブに形成された突起で構成されていることを特徴とする請求項記載のコネクタ。
JP2006352303A 2006-12-27 2006-12-27 コネクタ Expired - Fee Related JP4913583B2 (ja)

Priority Applications (1)

Application Number Priority Date Filing Date Title
JP2006352303A JP4913583B2 (ja) 2006-12-27 2006-12-27 コネクタ

Applications Claiming Priority (1)

Application Number Priority Date Filing Date Title
JP2006352303A JP4913583B2 (ja) 2006-12-27 2006-12-27 コネクタ

Publications (2)

Publication Number Publication Date
JP2008166044A JP2008166044A (ja) 2008-07-17
JP4913583B2 true JP4913583B2 (ja) 2012-04-11

Family

ID=39695245

Family Applications (1)

Application Number Title Priority Date Filing Date
JP2006352303A Expired - Fee Related JP4913583B2 (ja) 2006-12-27 2006-12-27 コネクタ

Country Status (1)

Country Link
JP (1) JP4913583B2 (ja)

Family Cites Families (3)

* Cited by examiner, † Cited by third party
Publication number Priority date Publication date Assignee Title
JP2002110276A (ja) * 2000-10-02 2002-04-12 Sumitomo Wiring Syst Ltd 端子構造
JP2003036913A (ja) * 2001-07-25 2003-02-07 Sumitomo Wiring Syst Ltd 端子構造
JP2005228555A (ja) * 2004-02-12 2005-08-25 Yazaki Corp 雌端子

Also Published As

Publication number Publication date
JP2008166044A (ja) 2008-07-17

Similar Documents

Publication Publication Date Title
JP3533536B2 (ja) 雌端子金具
JP4858249B2 (ja) コネクタ
JP2506098Y2 (ja) 雄型コネクタ
JP5251819B2 (ja) 雌端子金具
JP4858293B2 (ja) 雌端子金具
US3550069A (en) Electrical connector tab receptacles
JP5227379B2 (ja) 平型導体用電気コネクタ
JP3770205B2 (ja) 端子金具
JP2001023715A (ja) 端子金具
JP2008123720A (ja) 雌型コンタクト
JP2012089500A (ja) 電気コネクタ
JP2004022169A (ja) 回路基板用端子
CN106663891A (zh) 接触元件
US9871306B2 (en) Electrical connector for a flat conductor
JP2001043918A (ja) 電気コネクタ
JP2020042914A (ja) 端子金具
JP2000251023A (ja) メモリカード・コネクタ
JP2011113823A (ja) コネクタロック装置
JP4913583B2 (ja) コネクタ
JP3632106B2 (ja) Fpc用コネクタ
CN109301540A (zh) 具有接触片的端子、连接器以及连接器装置
TWI670898B (zh) 電連接器與撓性基板的組裝體
JP2004362832A (ja) 端子金具
JPH0414779A (ja) 低挿入力コネクタ
JP2003346958A (ja) 雌端子金具

Legal Events

Date Code Title Description
A621 Written request for application examination

Free format text: JAPANESE INTERMEDIATE CODE: A621

Effective date: 20090901

A521 Written amendment

Free format text: JAPANESE INTERMEDIATE CODE: A523

Effective date: 20100827

A977 Report on retrieval

Free format text: JAPANESE INTERMEDIATE CODE: A971007

Effective date: 20110525

A131 Notification of reasons for refusal

Free format text: JAPANESE INTERMEDIATE CODE: A131

Effective date: 20110613

A521 Written amendment

Free format text: JAPANESE INTERMEDIATE CODE: A523

Effective date: 20110729

TRDD Decision of grant or rejection written
A01 Written decision to grant a patent or to grant a registration (utility model)

Free format text: JAPANESE INTERMEDIATE CODE: A01

Effective date: 20120116

A01 Written decision to grant a patent or to grant a registration (utility model)

Free format text: JAPANESE INTERMEDIATE CODE: A01

A61 First payment of annual fees (during grant procedure)

Free format text: JAPANESE INTERMEDIATE CODE: A61

Effective date: 20120119

FPAY Renewal fee payment (event date is renewal date of database)

Free format text: PAYMENT UNTIL: 20150127

Year of fee payment: 3

LAPS Cancellation because of no payment of annual fees