JP4875472B2 - 多重引き式引戸装置 - Google Patents

多重引き式引戸装置 Download PDF

Info

Publication number
JP4875472B2
JP4875472B2 JP2006319003A JP2006319003A JP4875472B2 JP 4875472 B2 JP4875472 B2 JP 4875472B2 JP 2006319003 A JP2006319003 A JP 2006319003A JP 2006319003 A JP2006319003 A JP 2006319003A JP 4875472 B2 JP4875472 B2 JP 4875472B2
Authority
JP
Japan
Prior art keywords
door
door body
opening
sliding
bodies
Prior art date
Legal status (The legal status is an assumption and is not a legal conclusion. Google has not performed a legal analysis and makes no representation as to the accuracy of the status listed.)
Active
Application number
JP2006319003A
Other languages
English (en)
Other versions
JP2008133614A (ja
Inventor
聡 猪俣
顕 宮本
勝 大井
Current Assignee (The listed assignees may be inaccurate. Google has not performed a legal analysis and makes no representation or warranty as to the accuracy of the list.)
Bunka Shutter Co Ltd
Original Assignee
Bunka Shutter Co Ltd
Priority date (The priority date is an assumption and is not a legal conclusion. Google has not performed a legal analysis and makes no representation as to the accuracy of the date listed.)
Filing date
Publication date
Application filed by Bunka Shutter Co Ltd filed Critical Bunka Shutter Co Ltd
Priority to JP2006319003A priority Critical patent/JP4875472B2/ja
Publication of JP2008133614A publication Critical patent/JP2008133614A/ja
Application granted granted Critical
Publication of JP4875472B2 publication Critical patent/JP4875472B2/ja
Active legal-status Critical Current
Anticipated expiration legal-status Critical

Links

Images

Landscapes

  • Wing Frames And Configurations (AREA)
  • Support Devices For Sliding Doors (AREA)

Description

本発明は、ガイドレール等のガイド部材で案内される複数個の扉体を備え、それぞれの扉体が上方に配置されたガイド部材から吊り下げられた上吊り式の多重引き式引戸装置に係り、例えば、2個の上吊り式扉体で構成される二重引き式引戸装置等に利用できるものである。
下記の特許文献1には、第1及び第2の2個の扉体と、これらの扉体を開閉移動方向へ案内する第1及び第2ガイド部材となっている第1及び第2ガイドレールとを備え、第1及び第2扉体の同一方向への移動によって開口部が開閉されるとともに、この開口部は、第1扉体よりも第2扉体が閉じ側へ前進することにより前記開閉移動方向へずれた第1及び第2扉体によって閉じられる多重引き式引戸装置である二重引き式引戸装置が示されている。
この引戸装置の第1ガイドレールは第1扉体の上方に配置され、第2ガイドレールは第1扉体に取り付けられ、この第2ガイドレールの戸先側(閉じ側)の部分は第1扉体の戸先側の端部から突出している。第1扉体は、前記開閉移動方向に2個設けられていて第1ガイドレールに移動自在に係合する第1係合部となっている第1ローラを備え、これらの第1ローラのうちの戸先側の第1ローラは第2ガイドレールの前記突出部分に設けられ、第1扉体はこれらの第1ローラで第1ガイドレールから吊り下げられた上吊り式扉体となっている。第2扉体の上部には、第2ガイドレールに移動自在に係合する第2係合部となっている第2ローラが前記開閉移動方向に2個設けられ、第2扉体はこれらの第2ローラで第2ガイドレールから吊り下げられた上吊り式扉体となっている。
特開2006−104830号公報(図2)
上記特許文献1に示されている二重引き式引戸装置では、第1及び第2扉体の全閉時において、第2扉体の2個の第2ローラのうちの戸先側の第2ローラの前記開閉移動方向における位置は、第1扉体の2個の第1ローラのうち戸先側の第1ローラの前記開閉移動方向における位置よりも戸先側の位置となっている。これによると、第2扉体の重量が2個の第2ローラと第2ガイドレールとを介して第1扉体に作用しているため、この第1扉体の開閉移動方向(言い換えると、左右方向である第1扉体の幅方向)の重量バランスが悪くなり、第1扉体がこの第1扉体の厚さ方向に通る水平軸を中心として揺動するおそれがある。このため、この水平軸廻りの第1扉体の姿勢を安定させる工夫が求められている。
本発明の目的は、第2扉体と共に開口部を開閉するための第1扉体の姿勢の安定化を図ることができるようになる多重引き式引戸装置を提供すること。
本発明に係る多重引き式引戸装置は、少なくとも第1及び第2の2個の扉体と、これらの扉体を開閉移動方向へ案内する第1及び第2ガイド部材とを備え、この第1ガイド部材は前記第1扉体の上方に配置され、前記第2ガイド部材は前記第1扉体に取り付けられ、この第2ガイド部材の戸先側の部分は前記第1扉体の戸先側の端部から突出しており、前記第1扉体は、前記開閉移動方向に複数個設けられていて前記第1ガイド部材に移動自在に係合する第1係合部を備え、これらの第1係合部のうちの最も戸先側の前記第1係合部は前記第2ガイド部材の前記突出部分に設けられ、前記第1扉体はこれらの第1係合部で前記第1ガイド部材から吊り下げられた上吊り式扉体であり、前記第2扉体の上部には、前記第2ガイド部材に移動自在に係合する第2係合部が前記開閉移動方向に複数個設けられ、前記第2扉体はこれらの第2係合部で前記第2ガイド部材から吊り下げられた上吊り式扉体であり、前記第1及び第2扉体の同一方向への移動によって開口部が開閉されるとともに、この開口部は、前記第1扉体よりも前記第2扉体が閉じ側へ前進することにより前記開閉移動方向へずれた前記第1及び第2扉体によって閉じられる多重引き式引戸装置において、前記複数個の第2係合部のうちの最も戸先側の前記第2係合部の前記開閉移動方向における位置は、前記第1及び第2扉体の全開から全閉までの全移動行程を通して、前記最も戸先側の前記第1係合部の前記開閉移動方向における位置と同じ位置又は略同じ位置、又はこの位置よりも戸尻側の位置となっていることを特徴とするものである。
本発明では、第2扉体の上部に設けられている最も戸先側(言い換えると、閉じ側)の第2係合部の前記開閉移動方向における位置が、第1及び第2扉体の全開から全閉までの全移動行程を通して、第2ガイド部材の前記突出部分に設けられている最も戸先側の第1係合部の前記開閉移動方向における位置と同じ位置又は略同じ位置、又はこの位置よりも戸尻側(言い換えると、開き側)の位置となっている。言い換えると、第2ガイド部材の前記突出部分に設けられている最も戸先側の第1係合部の前記開閉移動方向における位置は、第1及び第2扉体の全開から全閉までの全移動行程を通して、第2扉体の上部に設けられている最も戸先側の第2係合部の前記開閉移動方向における位置と同じ位置又は略同じ位置、又はこの位置よりも戸先側の位置となっている。
これによると、第2扉体の重量が2個の第2ローラと第2ガイドレールとを介して第1扉体に作用しても、第1扉体の開閉移動方向(言い換えると、左右方向である第1扉体の幅方向)の重量バランスは、従来の多重引き式引戸装置の第1扉体と比較して、第1及び第2扉体の全開から全閉までの全移動行程を通して(特に、全閉時において)良くなるので、第1扉体がこの第1扉体の厚さ方向に通る水平軸を中心として揺動することを有効に抑えることができるようになる。
このため、本発明によると、第2扉体と共に開口部を開閉するための第1扉体の姿勢の安定化を図ることができるようになる。また、これにより、第1扉体及び第2扉体の円滑な開閉移動が達成できる。
本発明において、第2ガイド部材が第1扉体に取り付けられる位置は任意であり、例えば、第1扉体の上部でもよく、第1扉体の側部等でもよい。
また、本発明において、第1扉体が備える複数個の第1係合部のうちの最も戸尻側の第1係合部の前記開閉移動方向における位置は任意であるが、第1及び第2扉体の全開から全閉までの全移動行程を通して、第2扉体の上部に設けられている最も戸尻側の第2係合部の前記開閉移動方向における位置と同じ位置又は略同じ位置、又はこの位置よりも戸尻側の位置となっていることがより好ましい。これによると、第1扉体の開閉移動方向の重量バランスがより良くなり、第1扉体がこの第1扉体の厚さ方向に通る水平軸を中心として揺動することをより有効に抑えることができるようになる。
以上の本発明において、第1扉体が備える複数個の第1係合部のうちの最も戸先側の第1係合部の前記開閉移動方向における位置は、第1及び第2扉体の全閉から全閉までの全移動行程を通して、第2扉体の前記開閉移動方向における中央位置(言い換えると、重心位置)と同じ又は略同じ位置、又はこの位置よりも戸先側の位置となっていることがより好ましい。これによると、第2扉体の重心位置が、前記最も戸先側の前記第1係合部の前記開閉移動方向における位置と同じ位置又は略同じ位置、又はこの位置よりも戸尻側の位置となるので、第1扉体の開閉移動方向の重量バランスがさらにより良くなり、第1扉体がこの第1扉体の厚さ方向に通る水平軸を中心として揺動することをさらにより有効に抑えることができるようになる。
以上の本発明において、第1扉体が備える複数個の第1係合部のうちの最も戸先側の第1係合部が設けられる位置は任意であるが、第2ガイド部材の前記突出部分における戸先側の端部に設けられることがより好ましい。これによると、第1ガイド部材に係合する最も戸先側の第1係合部と、最も戸尻側の第1係合部との間隔がそれだけ長くなるので、第1ガイド部材に吊り下げられた第1扉体の開閉移動方向の重量バランスがより良くなり、第1扉体がこの第1扉体の厚さ方向に通る水平軸を中心として揺動することをより有効に抑えることができるようになる。
以上の本発明において、第1扉体と第2扉体を連動機構によって連動可能に連結してもよい。
ここで、連動機構の形式、構造は任意であるが、その一例として、第1及び第2扉体の開閉移動方向に離れて第1扉体に配置された2個の回転部材と、これらの回転部材に掛け回され、かつ第1及び第2扉体に対して不動となっている不動部材に結合されているとともに、前記2個の回転部材を間に挟んで前記不動部材との結合箇所とは反対側においても第2扉体に結合されている紐状部材とを含んで構成されているものを挙げることができる。
この連動機構の例によると、第1扉体と第2扉体とのうちの一方を開閉方向へ移動させると、この一方の扉体の移動は他方の扉体へ2個の回転体と紐状部材とを介して伝達されることになるとともに、移動距離の短い第1扉体は低速で開閉移動する低速扉体となり、移動距離の長い第2扉体は高速で開閉移動する高速扉体となる。これらの扉体を開閉移動させるためには、第1扉体に手操作による操作力等を作用させてもよく、第2扉体に手操作による操作力等を作用させてもよい。
なお、この紐状部材は、金属製ワイヤーでもよく、合成樹脂製紐でもよく、繊維製紐でもよく、これらの複合材でもよく、さらには、平ベルトでもよく、タイミングベルトでもよく、チェーン等でもよく、任意である。また、この紐状部材は1本の部材をループ状に形成したものでもよく、複数本の紐状片を直列に連結してループ状に形成したものでもよい。
以上のように、連動機構を第1扉体に配置された2個の回転部材に掛け回される紐状部材を有するものとした場合において、2個の回転部材が配置される位置は任意であるが、これらの回転部材の第1の配置例として、2個の回転部材のうちの戸先側の回転部材は、第2ガイド部材の前記突出部分に配置され、戸尻側の回転部材は、第1扉体の上部に配置されているものを挙げることができ、また、第2の配置例として、2個の回転部材のうちの戸先側の回転部材は、最も戸先側の第1係合部を第2ガイド部材の前記突出部分に取り付けるためのブラケットに配置され、戸尻側の回転部材は、第1扉体の上部に配置されているものを挙げることできる。
前述した特許文献1に示されている引戸装置においても、第1扉体と第2扉体を連動可能に連結する連動機構を備えているが、この連動機構では、前記第1の配置例のように、戸先側の回転部材は、第2ガイド部材の前記突出部分に取り付けられている。このため、最も戸先側の前記第1係合部をこの突出部分に設けるときには、前記戸先側の回転部材が邪魔になってしまう場合が生じる。
一方、前記第2の配置例によると、戸先側の回転部材が、最も戸先側の第1係合部を第2ガイド部材の前記突出部分に取り付けるためのブラケットに配置されているので、最も戸先側の第1係合部をこの突出部分に設けるときには、前記戸先側の回転部材が邪魔になるということがなくなる。すなわち、最も戸先側の第1係合部を第2ガイド部材の前記突出部分の任意の位置に設けることができるようになる。
このため、連動機構を第1扉体に配置された2個の回転部材に掛け回される紐状部材を有するものとした場合においては、2個の回転部材のうちの戸先側の回転部材は、最も戸先側の第1係合部を第2ガイド部材の前記突出部分に取り付けるためのブラケットに配置され、戸尻側の回転部材は、第1扉体の上部に配置されていることがより好ましい。
なお、以上のように、連動機構を第1扉体に配置された2個の回転部材に掛け回される紐状部材を有するものとし、2個の回転部材のうちの戸先側の回転部材は、最も戸先側の第1係合部を第2ガイド部材の前記突出部分に取り付けるためのブラケットに配置され、戸尻側の回転部材は、第1扉体の上部に配置されるようにした場合において、前記ブラケットが配置される位置は任意であるが、第2ガイド部材の前記突出部分における戸先側の端部又はその近傍に配置されることがより好ましい。
これによると、第1ガイド部材に係合する最も戸先側の第1係合部と、最も戸尻側の第1係合部との間隔をそれだけ長くすることができるので、前述したように、第1ガイド部材に吊り下げられた第1扉体の開閉移動方向の重量バランスがより良くなり、第1扉体がこの第1扉体の厚さ方向に通る水平軸を中心として揺動することをより有効に抑えることができるようになる。
なお、第1扉体と第2扉体とを連動機構によって連動可能に連結するのではなく、第1扉体と第2扉体のうち、一方の扉体に、この一方の扉体が所定距離移動すると、他方の扉体に設けられた被係止部に係止する係止部を設け、この係止後は、係止部と被係止部によって第1扉体と第2扉体が一体となって移動するようにしてもよい。
以上の本発明において、第1扉体に対して第2扉体を、第1扉体の厚さ方向にずれて配置してもよく、第1扉体の厚さ方向にずれて配置しなくてもよい。
後者の場合における2個の扉体の配置例として、第2扉体が第1扉体の内部に出入り可能となっているもの等を挙げることができる。言い換えると、第1扉体を外側扉体とし、第2扉体をこの外側扉体の内部に入れ子式に収納される内側扉体としたもの等を挙げることができる。
以上の本発明において、第1及び第2ガイド部材は、ガイドレールでもよく、スライドレール(スライディングレール)でもよい。そして、第1ガイド部材と第2ガイド部材の両方がガイドレールとなっていてもよく、第1ガイド部材と第2ガイド部材の両方がスライドレールとなっていてもよく、第1ガイド部材と第2ガイド部材のいずれか一方がガイドレールで、他方がスライドレールとなっていてもよい。第1ガイド部材と第2ガイド部材の両方がガイドレールとなっている場合には、第1ガイド部材は第1ガイドレールであり、第2ガイド部材は第2ガイドレールであり、第1ガイド部材の第1係合部は第1ガイドレールに転動自在に係合する第1ローラであり、第2ガイド部材の第2係合部は第2ガイドレールに転動自在に係合する第2ローラとなる。また、第1ガイド部材と第2ガイド部材の両方がスライドレールとなっている場合には、第1ガイド部材は第1スライドレールであり、第2ガイド部材は第2スライドレールであり、第1ガイド部材の第1係合部は第1スライドレールにスライド自在に係合する第1スライド部であり、第2ガイド部材の第2係合部は第2スライドレールにスライド自在に係合する第2スライド部となる。
以上の本発明において、第2ガイド部材を第1扉体に取り付ける位置は任意であり、例えば、第1扉体の上部の外側でもよく、第1扉体の上部の内側でもよく、第1扉体の側部の外側でもよく、第1扉体の側部の内側等でもよい。
以上の本発明において、第1扉体は複数個の扉体構成部分の組み合わせで構成され、これらの扉体構成部分が互いに連結可能となっているものでもよい。ここで、複数個の扉体構成部分の組み合わせの一例として、第2ガイド部材が取り付けられる上側の第1構成部分と、この第1構成部分に連結される下側の第2構成部分とが含まれるものを挙げることができる。なお、第2扉体も複数個の扉体構成部分の組み合わせで構成され、これらの扉体構成部分が互いに連結可能となっているものでもよい。
以上説明した本発明に係る多重引き式引戸装置は、全閉位置まで達した第1及び第2扉体を収納する戸袋を備えたものでもよく、戸袋を備えないものでもよい。
ここで、戸袋は、外部に露出した戸袋、言い換えると、外部から視認できる戸袋でもよく、壁の内部に収納された壁収納式の戸袋でもよい。また、上記戸袋は、この戸袋に収納された前記第1及び第2扉体の一方の片面だけを隠し、他方の片面を外部に露出させる片面式の戸袋でもよい。
また、第1及び第2ガイド部材で案内される第1及び第2扉体の開閉移動形態は任意である。すなわち、第1及び第2扉体を案内する第1及び第2ガイド部材は、第1及び第2扉体を直線的に案内するものでもよく、曲線的に案内するものでもよく、さらに、例えば、第1及び第2扉体を建物躯体等に近づけながら全閉とさせるために、第1及び第2ガイド部材は、第1及び第2扉体をこの第1及び第2扉体の厚さ方向に略平行移動させながら第1及び第2扉体の幅方向(第1及び第2扉体の開閉移動方向)に移動させるものでもよい。
また、以上説明した本発明が適用される第1及び第2扉体は、片引き式のものでもよく、引分け式のもの(例えば、左右2組の第1及び第2扉体により開口部が開閉されるもの)でもよい。引分け式(戸袋を備えたもの)を採用した場合には、片引き式の場合と比較して、開口部の左右に配置される戸袋の幅寸法(左右寸法)を小さくすることができる。このため、片引き式では戸袋のスペースが十分確保できない場合には、引分け式の多重引き式引戸装置を設置するようにすればよい。
また、以上説明した本発明において、第1及び第2扉体の開閉移動は、手動により行われるものでもよく、電動により行われるものでもよい。また、第1及び第2扉体の開閉移動は、ばね力や重力を利用して行われるものでもよい。
本発明によると、第2扉体と共に開口部を開閉するための第1扉体の姿勢の安定化を図ることができるようになるという効果を得られる。
以下に本発明を実施するための形態を図面に基づいて説明する。本実施形態に係る多重引き式引戸装置は、2個の扉体21,22が、それぞれのガイド部材となっているガイドレール30,39から吊り下げられ、これらのガイドレール30,39が扉体21,22を開閉移動方向へ案内する上吊り式の多重引き式引戸装置である。2個の扉体21,22のうちの一方の扉体21を案内するためのガイドレール30はこの扉体21の上方に配置されており、他方の扉体22を案内するためのガイドレール39は扉体21の上部に取り付けられている。
また、この引戸装置は、第1扉体となっている扉体21及び第2扉体となっている扉体22の同一方向への移動によって開口部が開閉されるとともに、この開口部は、扉体21より扉体22が閉じ側へ前進することにより開閉移動方向へずれた扉体21,22によって閉じられるものである。なお、この引戸装置は、全開位置まで達した扉体21,22を収納するための戸袋3を有するものであって、本実施形態においてはその一例として、この戸袋3は、壁5の内部に収納された壁収納式の戸袋となっている。
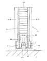
図1は、例えば、建物内における廊下と部屋との間に配置され、開閉移動方向が同じとなっている第1扉体21と第2扉体22で開閉される開口部が、出入口2となっているこの引戸装置の全体を示す正面図である。
この引戸装置の外枠組みは、扉体21,22に対して不動となっている不動部材である上枠部材10と、図1で示すように第1及び第2扉体21,22で出入口2が全閉となったときに第2扉体22の先端が当接する戸先側の竪枠部材11と、この戸先側の竪枠部材11とは扉体21,22の移動方向反対側に配置されている戸尻側の竪枠部材12と、これらの竪枠部材11と12の間に配置されているとともに、出入口2を開けたときの扉体21,22が収納される戸袋3における出入口2の側の端部に配置された竪額縁部材13と、床4における戸袋3の下端に配置された幅木14とを含んで形成されている。
出入口2は、これらの枠部材10〜14で形成された外枠組みの内側の一部の空間となっている。上枠部材10は、戸先側の竪枠部材11から戸尻側の竪枠部材12まで延びているため、この上枠部材10は出入口2と戸袋3に跨る長さを有し、竪額縁部材13は、戸袋3における出入口2側の見切り部材となっている。
戸袋3は、上枠部材10と幅木14の長手方向(図1では左右方向であって、扉体21,22の開閉移動方向)に連続している補強部材20によって補強された構造となっており、長手方向の両端が竪枠部材12と竪額縁部材13に結合されているこの補強部材20は、竪枠部材11,12と竪額縁部材13の長手方向である上下方向に複数個配設されている。そして、これらの補強部材20の上下において、上枠部材10と幅木14の長手方向に細長い形状となっている内側壁材が接着テープ等による結合具で補強部材20に結合され、これらの内側壁材の外側に大面積を有する外側壁材が配置され、補強部材20にビスやステープル等の結合具で結合されているこの外側壁材の表面に、クロス等の壁仕上げ材が取り付けられている。このため、これらの内側壁材と外側壁材と壁仕上げ材により、戸袋3の部分の壁5が形成され、戸袋3は、補強部材20が構造材となって壁5の内部に形成されている。
上枠部材10の全長のうち、出入口2と対応する部分は、点検カバー23で開閉可能に塞がれる開口部10Aとなっている。また、上枠部材10の内部には、扉体21,22を開閉移動させるための扉体移動機構が収納配置されている。
図2及び図3は、点検カバー23を取り外し、かつ竪額縁部材13と戸袋3と壁5を除外して示した扉体移動機構の全体正面図であり、図2は、第1扉体21と第2扉体22が出入口2を全閉とする位置に達していて出入口2が閉じられているときであり、図3は、第1扉体2と第2扉体22が出入口2を全開とする位置に達していて出入口2が開けられているときである。図4は、図2のときにおける第1扉体21と第2扉体22と扉体移動機構の要部を拡大して示した正面図である。図5は、図2のときにおける第1扉体21と扉体移動機構の一部を拡大して示した正面図であり、図6は、図2のときにおける第2扉体22と扉体移動機構の一部を拡大して示した正面図である。図7は、点検カバー23を2点鎖線で示した図4のS7−S7線断面図であり、図8は、点検カバー23を2点鎖線で示した図4のS8−S8線断面図である。なお、図7では、具体的な構造を後述する自動閉鎖装置60の表示は省略されている。
図7に示されているとおり、点検カバー23は、上端に斜め下向きに形成され、上枠部材10の上面10Bの端部の傾斜延出部10Cに係止される係止部23Aと、この係止部23Aから鉛直又は略鉛直下向きに延びている正面部23Bと、この正面部23Bの下端から上枠部材10の内側へ水平又は略水平に屈曲している下面部23Cとを有する。上枠部材10の開口部10Aを塞いでいるときの点検カバー23は、係止部23Aが上枠部材10の傾斜延出部10Cに係止され、これにより点検カバー23の重量が上枠部材10で支持され、また、図1から分かるように、下面部23Cが、戸先側の竪枠部材11と竪額縁部材13に取り付けられているブラケット24,25にビス等の止着具26,27で止められている。
点検カバー23を取り外して上枠部材10の開口部10Aを開けるときには、止着具26,27を取り外し、これにより、点検カバー23は、上端の係止部23Aを中心に上枠部材10の内外方向に揺動可能となるため、上枠部材10の外側方向へ揺動させることにより、係止部23Aを上枠部材10の傾斜延出部10Cから抜き取る。これにより、点検カバー23が取り外されて上枠部材10の開口部10Aが開けられることになり、また、以上とは逆の作業を行うことにより、開口部10Aを点検カバー23で塞ぐことができる。
次に、前述の扉体移動機構について説明する。
図2及び図3に示されているように、上枠部材10の内部には、この上枠部材10の全長より若干短い長さとなった第1ガイドレール30が、扉体21の上方において配置され、この第1扉体21を直線となっている開閉移動方向へ案内するための本実施形態の第1ガイド部材となっているこの第1ガイドレール30は、図7に示されているように、上下に延びる基端部30Aと、この基端部30Aの下端から扉体21の厚さ方向へ水平又は略水平に延びるアーム部30Bとを有する断面略L字形状となっている。そして、基端部30Aは、上枠部材10の内部に補強等のために配置されている取付部材29を介して上枠部材10にビス等の結合具31で結合されている。このため、第1ガイドレール30は、扉体21,22に対して不動部材となっている上枠部材10に取り付けられている。
第1扉体21は、第1ガイドレール30のアーム部30Bの先端に上向きに形成されたローラ載置部30Cの上に転動自在に載っている第1ローラ32を備えており、この第1ローラ32は、図4に示すように、上枠部材10の長手方向である第1扉体21の開閉移動方向に2個設けられている。
2個の第1ローラ32のうちの(最も)戸先側の第1ローラ32Aは、ブラケット33とブラケット45とを介して具体的な構造を後述する第2ガイドレール39に取り付けられており、(最も)戸尻側の第1ローラ32Bは、ブラケット38を介して第1扉体の上部である上面部21Aに取り付けられている。
このため、第1扉体21は、この第1扉体21の上方に配置された第1ガイドレール30に第1ローラ32が載っていて、第1ガイドレール30に吊り下げられた上吊り式の扉体になっている。そして、第1ローラ32は、第1ガイドレール30に転動自在に係合した第1扉体21の第1係合部となっており、第1扉体21は、第1ガイドレール30に案内される第1ローラ32の転動によって開閉移動自在となっている。
図9は、図7では示されていない第1扉体21と第2扉体22の下部を示す断面図であり、第1扉体21の下端部には、この扉体21の開閉移動方向に連続する溝34が形成され、下向きに開口しているこの溝34の内部には、図1で示した床4に配置された第1ガイドローラ35が挿入されている。このため、第1ガイドレール30で案内される第1扉体21の開閉移動は、第1扉体21の下端部がこの第1ガイドローラ35で案内されることによっても行われる。
前述した第2扉体22に対して戸尻側(言い換えると、開き側)の扉体となっている第1扉体21は、図7及び図8に示されているように、板材の折り曲げによる枠部材で形成されており、この第1扉体21の厚さ方向の一方の側は、上部である上面部21Aから垂下する側面部である第1垂下部21Bとなっており、他方の側は、上面部21Aから垂下する側面部である第2垂下部21Cとなっている。このため、断面箱形となっているこの第1扉体21の内部は、扉体21,22の開閉移動方向に連続する空洞部となっている。
また、図8に示されているように、第1扉体21の第1垂下部21Bの上部の内側には、この第1扉体21に対して戸先側(言い換えると、閉じ側)の扉体となっている前記第2扉体22のための前記第2ガイドレール39が取り付けられている。本実施形態の第2ガイド部材となっているこの第2ガイドレール39は、第1ガイドレール30と同じく、上下に延びる基端部39Aと、この基端部39Aの下端から扉体22の厚さ方向へ水平又は略水平に延びるアーム部39Bとを有する断面略L字形状である。
図2及び図3に示されているように、第2ガイドレール39の左右方向である長手方向の長さは、第1扉体21の左右方向である幅方向の長さの約2倍となっている。そして、図5に示されているように、この第2ガイドレール39は、戸尻側の端部が第1扉体の戸尻側の端部と一致は又は略一致し、戸先側の部分(長手方向の約左半分)が第1扉体21の戸先側の端部から突出するように第1扉体21に取り付けられている。なお、第2ガイドレール39は、図5及び図8に示されているように、この第2ガイドレール39と同じ又は略同じ長手方向の長さを有するブラケット45を介して、第1扉体21の第1垂下部21Bの内側の上部にビス等の結合具で結合されている。
また、図5に示されているように、第2ガイドレール39のうちの第1扉体21の戸先側の端部から突出している部分39D(以下、「突出部分39D」という)の戸先側の端部39Eの近傍には、前記ブラケット33が配置されており、図5及び図8に示すように、2個の第1ローラ32のうちの戸先側の第1ローラ32Aは、このブラケット33と前記ブラケット45を介して第2ガイドレール39に取り付けられている。このため、戸先側の第1係合部である第1ローラ32Aは、第2ガイドレール39の突出部分39Dにおける戸先側の端部39Eの近傍に設けられている。
図7に示されているように、ブラケット33は、第1水平部33Bと、この第1水平部33Bにおける第1扉体21の厚さ方向の両端部のうちの上枠部材10側とは反対側の端部から立ち上がった立上り部33Aと、前記第1水平部33Bにおける第1扉体21の厚さ方向の両端部のうちの上枠部材10側の端部から垂下する垂下部33Cと、この垂下部33Cの先端から上枠部材10から遠ざかる方向(言い換えると、点検カバー23に向かう方向)に水平に延出する第2水平部33Dとを有している(図5と後述の図11も参照)。そして、戸先側の第1ローラ32Aは、前記立上り部33Aに取り付けられている。
図6及び図7に示されているように、第2扉体22の上部である上面部22Aには、第2ガイドレール39のアーム部39Bの先端に上向きに形成されたローラ載置部39Cの上に転動自在に載っている第2ローラ40がブラケット41を介して取り付けられており、これらの第2ローラ40とブラケット41は、図6で示されているとおり、第2扉体22の開閉移動方向に2個設けられている。これらの第2ローラ40のうちの戸先側の第2ローラ40Aは戸先側のブラケット41Aを介して第2扉体22の上部である上面部22Aに取り付けられており、戸尻側の第2ローラ40Bも戸尻側のブラケット41Bを介して第2扉体の上面部22Aに取り付けられている。
このため、第2扉体22は、この第2扉体22の上方に配置された第2ガイドレール39に第2ローラ40が載っていて、この第2ガイドレール39に吊り下げられた上吊り式の扉体になっている。そして、第2ローラ40は、第2ガイドレール39に転動自在に係合した第2扉体22の第2係合部となっており、第2扉体22は、第2ガイドレール39に案内される第2ローラ40の転動によって開閉移動自在となっている。
図9に示すとおり、第2扉体22の下端部には、この第2扉体22の開閉移動方向に連続する溝42が形成され、下向きに開口しているこの溝42の内部には、第1扉体21の前記溝34を形成している下部フレーム部材43に取り付けられた第2ガイドローラ44が挿入されている。このため、第2ガイドレール39で案内される第2扉体22の開閉移動は、第2扉体22の下端部がこの第2ガイドローラ44で案内されることによっても行われる。
また、図7及び図9で示されているように、第2扉体22の厚さは第1扉体21の厚さよりも小さく、そして、第1扉体21の内部は、前記上面部21Aの下面から前記第1及び第2垂下部21B,21Cの下部まで達する空洞部となっており、この空洞部に、開口した端面となっている第1扉体21の戸先側の端面から第2扉体22が出入り可能となっている。すなわち、第1扉体21と開閉移動方向が同じになっている第2扉体22は、第1扉体21の内部に出没可能な入れ子式となっている。なお、第1扉体21の戸尻側の端面も開口した端面となっており、このため、第2扉体22は第1扉体21の内部を貫通可能となっている。
これらの第1扉体21と第2扉体22は連動機構によって連結され、この連動機構により、第1扉体21と第2扉体22は連動して開閉移動するようになっている。この連動機構は、図4及びこの図4のS10−S10線断面図である図10に示されている。
連動機構50は、戸先側の第1ローラ32Aを第2ガイドレール39の前記突出部分39Dに取り付けるための前記ブラケット33の第1水平部33Bの上面に支持部材51を介して回転自在に取り付けられた第1回転部材52と、この第1回転部材52とは第1扉体21の開閉移動方向に離れて配置され、戸尻側の第1ローラ32Bを第1扉体21に取り付けるための前記ブラケット38に支持部材53を介して回転自在に取り付けられた第2回転部材54と、これらの回転部材52と54に緊張力をもって掛け回された紐状部材55とを含んで構成され、金属製ワイヤー又は合成樹脂製紐又は繊維製紐又はこれらの複合材等で形成されている紐状部材55は、回転部材52,54を回転させながら走行する走行部材となっている。
このため、連動機構50の2個の回転部材52,54のうちの戸先側の回転部材である第1回転部材52は、支持部材51を介して、戸先側の第1ローラ32Aを第2ガイドレール39の突出部分39Dに取り付けるためのブラケット33に配置されており、戸尻側の回転部材である第2回転部材54は、支持部材53とブラケット38とを介して、第1扉体21の上部である上面部21Aに配置されている。
図7に示されているように、第2ガイドレール39に取り付けられた状態の戸先側のブラケット33の第1水平部33Bの高さ位置は、第1扉体21の上面部21Aよりも若干上の高さ位置となっており、このため、このブラケット33の第1水平部33Bに取り付けられている第1回転部材52の高さ位置は、戸尻側のブラケット38に取り付けられている第2回転部材54の高さ位置と同じ又は略同じとなっている。
図7、図8及び図10に示されているように、紐状部材55の一部は、不動部材となっている前述の上枠部材10の取付部材29に結合部材56で結合され、また、紐状部材55の両端部は、図4、図6及び図10で示されているとおり、第2扉体22の前記第2ローラ40ごとに設けられている2個の前記ブラケット41のうち、戸先側のブラケット41Aに結合された連結部材57にビス等の止着具で止着されている。このため、図10に示すように、紐状部材55の両端部は連結部材57を介して連結されているため、この紐状部材55は実質的に無端の紐状部材になっているとともに、この紐状部材55の一部に第2扉体22が連結されていることになる。
以上のように、紐状部材55は、2個の回転部材52,54に掛け回され、かつ第1及び第2扉体21,22に対して不動部材となっている上枠部材10に結合されているとともに、2個の回転部材52,54を間に挟んで前記上枠部材10とは反対側においても第2扉体22に結合されているものである。
ここで、前記連結部材57は、図7に示されているように、戸先側の第2ローラ40Aを第2扉体22に取り付けるための戸先側のブラケット41Aに取り付けられており、図6及び図7に示されているように、水平部57Bと、この水平部57Bにおける第2扉体22の厚さ方向の両端部のうちの点検カバー23側の端部から立ち上がった立上り部57Aと、この水平部57Bにおける第2扉体22の厚さ方向の両端部のうちの点検カバー23側とは反対側(言い換えると、上枠部材10側)の端部から垂下する垂下部57Cとを有し、この垂下部57Cは、図6に示されているように、第2扉体22の開閉移動方向に長い長さを有している。
図1で示されている把持部58を把持した手によって第2扉体22を移動させると、この移動は、紐状部材55の走行と回転部材52,54の回転とによって第1扉体21に伝達され、この伝達により、第1扉体21は、第2扉体22の速度の半分の速度で第2扉体22と同じ方向へ移動し、第1扉体21は低速扉体となり、第2扉体22は高速扉体となる。
図1に示した戸尻側の竪枠部材12には、戸先側(閉じ側)へ水平方向に延出した2個のストップ部材59が、図示されていないが、第1扉体21の厚さ方向に離間して取り付けられており、2個のストップ部材59のうちの一方が、第1扉体21の第1垂下部21Bに当接可能な位置に配置されており、他方が、第1扉体21の第2垂下部21Cに当接可能な位置に配置されている。開き側へ移動した第1扉体21の第1垂下部21Bが、前記2個のストップ部材59のうちの一方に当接すると同時に、第2垂下部21Cが他方に当接することにより、第1扉体21は前記出入口2を全開又は略全開とする図3の位置(開き限位置)に達する。なお、ストップ部材59は1個でもよい。この場合には、ストップ部材59は、第1扉体21の第1垂下部21B又は第2垂下部21Cのいずれか一方に当接可能なものであればよい。
また、開き側へ移動し、第1扉体21の内部に侵入している第2扉体22は、図7に示されているように、前記連結部材57の水平部57Bが、第1扉体21の第2垂下部21Cに当接することにより、図3の位置に達する。このため、連結部材57の水平部57Bは、第2扉体21のためのストップ部材となっている。なお、前記ストップ部材59のように、第2扉体22の戸尻側の端面に当接可能なストップ部材を戸尻側の竪枠部材12に取り付けてもよい。
図3に示されているように、第1及び第2扉体21,22が全開位置に達した時には、第1扉体21の全部又は略全部は図1で説明した戸袋3の内部に収納されているとともに、第2扉体22の大部分は第1扉体21の内部に侵入し、さらに、この第2扉体22の戸尻側の端部は、第1扉体21の内部を貫通してこの第1扉体21の戸尻側の端部から突出している。
なお、竪枠部材12に第1扉体21のためのストップ部材59を設ける代わりに、第1扉体21の戸尻側のブラケット38に当接部材を設けるとともに、第1ガイドレール30の戸尻側の端部近くにはこの当接部材が当接するストップ部材を設けるようにし、第1扉体21が開き側へ移動して前記当接部材が前記ストップ部材に当接することにより、第1扉体21が開き限位置(後退限位置)に達するようにしてもよい。
また、第1扉体21の戸尻側の端面に、この第1扉体21の第1垂下部21Bの戸尻側の端部と、第2垂下部21Cの戸尻側の端部との間の隙間を覆うための板材等で形成されたカバー部材を取り付け、開き側へ移動した第2扉体22の戸尻側の端面がこのカバー部材に当接することにより、第2扉体22が開き限位置(後退限位置)に達するようにしてよい。なお、この場合には、第2扉体22は第1扉体21の内部を貫通しないことになる。
なお、扉体を引分け式や子扉付きのものなどとした場合には、閉じ移動方向に互いに対向する扉体同士のうちの一方の扉体や子扉が開いているとき等において、全閉時に扉体の戸先が当接する受け部材が存在しない場合に、扉体が閉じ移動限位置を超えて閉じ移動するのを防止するためのストップ部材を設けるようにしてもよい。
なお、図面では示されていないが、第1扉体21と第2扉体22が出入口2を全開又は略全開とする図3の位置に達したときに、これらの扉体21,22のうちの一方をその位置に停止させて他方の扉体も連動機構50を介して停止させ、把持部58によって第2扉体22を閉じ側へ移動操作したときには、上記一方と上記他方が閉じ側へ移動することを許容する全開位置停止装置を上枠部材10や竪枠部材12等の不動部材に取り付けてもよい。
また、図4に示されているように、上枠部材10の内部空間には、2個の扉体21,22を自動的に閉じ移動させるための渦巻きばね式の自動閉鎖装置60が配置され、この自動閉鎖装置60は、竪枠部材11に取り付けられている。自動閉鎖装置60からは、この自動閉鎖装置60の内部に設けられている渦巻きばね機構に一端が連結された金属製ワイヤー又は合成樹脂製紐等による紐状部材61が導出され、この紐状部材61の他端は前記戸先側のブラケット41Aに連結されている。
第2扉体22の戸先側の端部が戸先側の竪枠部材11に当接していて2個の扉体21,22が前記出入口2を全閉としているときに、把持部58(図1参照)を握った手によって第2扉体22を第2ガイドレール39に案内させて開き移動させ、第1扉体21も連動機構50を介して第2扉体22の速度の半分の速度で開き移動させると、自動閉鎖装置60から繰り出される紐状部材61により、上記渦巻きばね機構の渦巻きばねにばね力が蓄圧される。そして、把持部58から手を離すと、この蓄圧されたばね力によって第2扉体22が自動的に閉じ移動し、第1扉体21も連動機構50を介して第2扉体22の速度の半分の速度で閉じ移動する。このため、本実施形態に係る引戸装置は、2個の扉体21,22が、前記出入口2を全閉とする図1及び図2の位置まで自動的に移動する自動閉鎖式の引戸装置になっている。
また、図4に示されているように、第1扉体21に取り付けられている第2ガイドレール39の突出部分39Dの上部にはロータリー式ブレーキ装置70が配置されており、図11には、図4におけるこのブレーキ装置70を拡大した図が示されている。収納ケースが2点鎖線で示されているこのブレーキ装置70は、図4に示すように、第1扉体21の前記第1ローラ32ごとに設けられている2個の前記ブラケット33,38のうち、戸先側のブラケット33に取り付けられている。すなわち、本実施形態では、このブラケット33は、第2ガイドレール39に戸先側の第1ローラ32Aと、ブレーキ装置70と、連動機構50の第1回転部材52を取り付けるための部材となっており、部材の兼用化が図られている。
ロータリー式ブレーキ装置70は、図11に示すように、ラック部材71に噛合するピニオンギア72を有し、このピニオンギア72の回転中心軸73は、図7に示すように、第1扉体21の厚さ方向に延びているとともに、この回転中心軸73の軸方向は水平又は略水平方向となっており、この回転中心軸73と上記戸先側の第1ローラ32Aの回転中心軸74とは、平行又は略平行となっている。図7で示されているように、ラック部材71は、上枠部材10の内部の前記取付部材29に取り付けられた保持部材75で下向きに保持されている。
ラック部材71と保持部材75は、第1扉体21の開閉移動方向への長さを有しているとともに、これらのラック部材71と保持部材75は、図2及び図11で示されているように、第1ガイドレール30の全長に渡る長さとなっておらず、ラック部材71と保持部材75の戸先側の端部の位置は、図11に示されているように、第1扉体21が第2扉体22と共に前記出入口2を全閉とする位置に達したときに、ピニオンギア72が到達している位置と同じ位置又はこれよりも少し戸先側の位置となっている。また、ラック部材71と保持部材75の戸尻側の端部の位置は、第2扉体22の戸先側の端部と戸先側の竪枠部材11との間に人の肩幅と同じ程度の間隔が開いている位置まで第1扉体21が達しているときに、この第2ガイドレール39におけるピニオンギア72と同じ位置又は略同じ位置となっている。
ロータリー式ブレーキ装置70の内部には、シリコンオイル等の粘性流体が充填され、この粘性流体の内部には、ピニオンギア72に前記回転中心軸73を介して結合されたブレードが収納され、ピニオンギア72が回転すると、このブレードも回転中心軸73を介して回転する。
このため、第1扉体21と第2扉体22が、前述した自動閉鎖装置60の渦巻きばね機構の渦巻きばねに蓄圧されたばね力による自動閉鎖力によって全開側から全閉側へ閉じ移動し、この閉じ移動の途中において、ピニオンギア72がラック部材71に噛合し始めたときには、このときからピニオンギア72がラック部材71によって回転することにより、第1扉体21には、ロータリー式ブレーキ装置70の上記粘性流体がブレードで撹拌されることで生ずる粘性力による制動力が発生し、連動機構50を介して第1扉体21と連結されている第2扉体22にも制動力が生じ、これにより、2個の扉体21,22は、ロータリー式ブレーキ装置70で制動されて減速しながら出入口2を全閉とする位置まで達する。
また、前述したように、図1で示した把持部58を握った手によって第2扉体22を開き移動させ、連動機構50を介して第2扉体22と連結されている第1扉体21も開き移動させる場合にも、ラック部材71と噛合しているピニオンギア72は回転するが、このピニオンギア72と、ピニオンギア72の前記回転中心軸73との間には一方向クラッチが介設されており、第1扉体21が開き側へ移動しているときのピニオンギア72の回転については、この一方向クラッチの接続は断絶されるため、2個の扉体21,22の開き移動を、ロータリー式ブレーキ装置70による制動力を発生させずに小さな力で軽く行うことができる。
なお、全閉側へ移動している2個の扉体21,22を減速させるためのブレーキ装置は、上記ロータリー式のものに限らず任意な形式のものを採用でき、例えば、シリンダ式のものでもよい。
前述したように、第1扉体21は、上面部21Aと、第1及び第2垂下部21B,21Cとを有する枠部材で形成されているが、図9に示されているように、第1垂下部21Bと第2垂下部21Cの間には、前記下部フレーム部材43が配置されており、第1及び第2垂下部21B,21Cの下端部と、下部フレーム部材43は、図9で示すビス等の結合具91,92で結合されている。
なお、第1及び第2垂下部21B,21Cの外面(戸先側及び戸尻側の端面を含む)には表面板が被せられており、また、第1及び第2垂下部21B,21Cの内面には、第1扉体21に耐火性を付与するための耐火材が取り付けられている。そして、第2扉体22の内部にも、図7及び図9に示されているように、耐火材95が充填されている。
図3に示されているように、第2扉体22の2個の第2ローラ40のうちの戸先側の第2ローラ40Aの第1及び第2扉体21,22の開閉移動方向における位置P2は、第1及び第2扉体21,22の全開時において、第1扉体21の2個の第1ローラ32のうちの戸先側の第1ローラ32Aの前記開閉移動方向における位置P1よりも戸尻側の位置となっている。また、図2に示されてように、第1及び第2扉体21,22の全閉時においても、第2扉体22の戸先側の第2ローラ40Aの前記位置P2は、第1扉体21の戸先側の第1ローラ32Aの前記位置P1よりも戸尻側の位置となっている。
そして、第2扉体22の戸先側の第2ローラ40Aの前記位置P2と、第1扉体21の戸先側の第1ローラ32Aの前記位置P1との関係は、第1及び第2扉体21,22の全開から全閉までの全移動行程を通して、上記の関係となっている。すなわち、第2扉体22の戸先側の第2ローラ40Aの前記位置P2は、第1及び第2扉体21,22の全開から全閉までの全移動行程を通して、第1扉体21の戸先側の第1ローラ32Aの前記位置P1よりも戸尻側(開き側)の位置となっている。
また、図3に示されているように、第1扉体21の戸先側の第1ローラ32Aの前記位置P1は、第1及び第2扉体21,22の全開時において、第2扉体22の前記開閉移動方向における中央位置(重心位置)Mよりも戸先側の位置となっている。また、図2に示されているように、第1及び第2扉体21,22の全閉時においても、第1扉体21の戸先側の第1ローラ32Aの前記位置P1は、第2扉体22の前記中央位置Mよりも戸先側の位置となっている。
そして、第1扉体21の戸先側の第1ローラ32Aの前記位置P1と、第2扉体22の前記中央位置Mとの関係は、第1及び第2扉体21,22の全開から全閉までの全移動行程を通して、上記の関係となっている。すなわち、戸先側の第1ローラ32Aの前記位置P1は、第1及び第2扉体21,22の全開から全閉までの全移動行程を通して、第2扉体22の前記中央位置Mよりも戸先側(閉じ側)の位置となっている。
次に、以上説明した本実施形態に係る引戸装置の組立作業について説明する。
前述した引戸装置の外枠組みを形成する上枠部材10や、竪枠部材11,12、竪額縁部材13等は、工場において生産され、第1扉体21と第2扉体22も工場で生産され、これらは、引戸装置の設置現場に搬送される。この搬送時には、上枠部材10の取付部材29に、第1ガイドレール30と、ラック部材71を保持する保持部材75等が取り付けられており、連動機構50の紐状部材55も結合部材56で結合されている。また、第1扉体21の第1垂下部21Bの内側には第2ガイドレール39が取り付けられ、この第2ガイドレール39の突出部分39Dの戸先側の端部39Eの近傍に、戸先側の第1ローラ32A及びロータリー式ブレーキ装置70がブラケット33を介して取り付けられている。また、連動機構50の第1回転部材52は、支持部材51を介してブラケット33の第1水平部33Bの上面に取り付けられている。また、戸尻側の第1ローラ32Bは、ブラケット38を介して第1扉体21の上面部21Aの上面に取り付けられ、連動機構50の第2回転部材54は支持部材53を介して前記ブラケット38に取り付けられており、このように、工場で実施可能の各種作業は予め工場で行われている。
引戸装置の設置現場において、まず、竪枠部材11,12や上枠部材10によって前記外枠組みを形成する。なお、上枠部材10は、図7に示されているように、上側の壁5の下地材15にアンカー部材16を介して結合される。また、このとき、前記補強部材20や前記内側壁材と外側壁材と壁仕上げ材による戸袋3の部分の壁5のうちの前記点検カバー23が取り付けられる側とは反対側の壁5を形成する作業や、扉体21,22の厚さ方向両側に配置される2個の竪額縁部材13(図7及び図10参照)のうちの前記点検カバー23が取り付けられる側とは反対側に配置される竪額縁部材13を取り付ける作業も行われる。なお、点検カバー23が取り付けられる側の壁5を形成する作業や、点検カバー23が取り付けられる側に配置される竪額縁部材13を取り付ける作業や、上枠部材10に点検カバー23を取り付ける作業は、扉体21,22を設置した後に行う。
竪枠部材11,12や上枠部材10によって外枠組みを形成した後、第2ガイドレール39にブラケット33を介して取り付けられている戸先側の第1ローラ32Aと、第1扉体21の上面部21Aの上面にブラケット38を介して取り付けられている戸尻側の第1ローラ32Bを、上枠部材10の取付部材29に取り付けられている第1ガイドレール30の上に載せる作業、すなわち、2個の第1ローラ32を第1ガイドレール30に係合させることによって第1扉体21を第1ガイドレール30に吊り込む作業を行う。この吊り込み作業は、第1扉体21の下部フレーム部材43の溝34に前記第1ガイドローラ35を挿入しながら行う。また、この作業は、ブレーキ装置70のピニオンギア72を、上枠部材10の取付部材29に結合された保持部材75に保持されているラック部材71に噛合させながら行う。
この後、第2扉体22にブラケット41を介して取り付けられている2個の第2ローラ40を、第1扉体21の第1垂下部21Bの内側に取り付けられている第2ガイドレール39の上に載せる作業、すなわち、2個の第2ローラ40を第2ガイドレール39に係合させることによって第2扉体22を第2ガイドレール39に吊り込む作業を行う。なお、この作業は、先に第1ガイドレール30に吊り下げられている第1扉体21が、第2ガイドレール39に吊り込もうとする第2扉体22と干渉しないように、予め第1扉体21を戸尻側へ開き移動させておく必要がある。なお、図1に示されているストップ部材59は、この作業の後に竪枠部材12に取り付ける。
第2扉体22を第2ガイドレール39に吊り込んだ後は、この第2扉体22を戸尻側へ開き移動させて、図9で示されている第2扉体22の下端部の溝42に、第1扉体21に取り付けられている下部フレーム部材43に配置された第2ガイドローラ44を挿入する。
以上の作業を行った後、前記自動閉鎖装置60を戸先側の竪枠部材11に取り付ける。この後、一部が結合部材56で上枠部材10の取付部材29に結合されている連動機構50の紐状部材55を2個の回転部材52,54に掛け回しながらこの紐状部材55の両端部を、第2扉体22の戸先側のブラケット41Aに結合されている連結部材57に止着具で止着する作業と、自動閉鎖装置60から導出されている紐状部材61の端部を、第2扉体22の戸先側のブラケット41Aに結合する作業を行う。
この後、前記補強部材20や前記内側壁材と外側壁材と壁仕上げ材による戸袋3の部分の壁5のうちの点検カバー23が取り付けられる側の壁5を形成する作業や、点検カバー23が取り付けられる側に配置される竪額縁部材13を取り付ける作業を行う。そして、最後に、上枠部材10に点検カバー23を取り付けセットする作業等を行うことにより、引戸装置は設置現場において組み立てられることになる。
以上説明した本実施形態では、第2扉体22の2個の第2ローラ40のうちの戸先側の第2ローラ40Aの第1及び第2扉体21,22の開閉移動方向における位置P2は、第1及び第2扉体21,22の全開から全閉までの全移動行程を通して、第1扉体21の2個の第1ローラ32のうちの戸先側の第1ローラ32Aの前記開閉移動方向における位置P1よりも戸尻側(開き側)の位置となっている。また、第1扉体21の戸先側の第1ローラ32Aの前記位置P1は、第1及び第2扉体21,22の全開から全閉までの全移動行程を通して、第2扉体22の前記開閉移動方向における中央位置Mよりも戸先側(閉じ側)の位置となっている。
これによると、第2扉体22の重量が2個の第2ローラ40と第2ガイドレール39とを介して第1扉体21に作用しても、この第1扉体21の開閉移動方向の重量バランスは、前述した従来の多重引き式引戸装置の第1扉体と比較して、第1及び第2扉体21,22の全開から全閉までの全移動行程を通して(特に、全閉時において)良くなるので、第1扉体21がこの第1扉体21の厚さ方向に通る水平軸を中心として揺動することを有効に抑えることができるようになる。
このため、本実施形態によると、第2扉体22と共に開口部である出入口2を開閉するための第1扉体21の姿勢の安定化を図ることができるようになる。また、これにより、第1扉体21及び第2扉体22の円滑な開閉移動が達成できる。
また、本実施形態では、第1扉体21の戸先側の第1ローラ32Aは、第2ガイドレール39の突出部分39Dにおける戸先側の端部39Eの近傍にブラケット33を介して取り付けられている。このため、戸先側の第1ローラ32Aと戸尻側の第1ローラ32Bとの間隔が、従来の多重引き式引戸装置の第1扉体と比較してより長くなるので、第1ガイドレール30に吊り下げられた第1扉体21の開閉移動方向の重量バランスがより良くなり、第1扉体21がこの第1扉体21の厚さ方向に通る水平軸を中心として揺動することをより有効に抑えることができるようになる。
また、本実施形態では、連動機構50の2個の回転部材のうちの戸先側の回転部材である第1回転部材52は、第1扉体21の戸先側の第1ローラ32Aを第2ガイドレール39の前記突出部分39Dに取り付けるためのブラケット33の第1水平部33Bの上面に支持部材51を介して取り付けられている。一方、前述したように、従来の多重引き式引戸装置に備えられている連動機構では、戸先側の回転部材は第2ガイドレールの突出部分に取り付けられているため、戸先側の第1ローラのためのブラケットをこの突出部分に設けるときには、前記戸先側の回転部材(正確には、この回転部材を回転自在に支持する支持部材)が邪魔になってしまう場合が生じる。
しかし、本実施形態では、戸先側の第1回転部材52が前記ブラケット33に取り付けられているので、戸先側の第1ローラ32Aを第2ガイドレール39の前記突出部分39Dの任意の位置に設けることができるようになっている。これにより、戸先側の第1ローラ32Aを第2ガイドレール39の突出部分39Dの端部39E又はその近傍に設けることが可能となっている。
図12及び図13には、第2扉体21の第2ローラ40の配置位置の別実施形態が示されている。図12は、本実施形態に係る第1扉体2と第2扉体22が出入口2を全開とする位置に達していて出入口2が開けられているときの図3と同様の図であり、図13は、本実施形態に係る第1扉体21と第2扉体22が出入口2を全閉とする位置に達していて出入口2が閉じられているときの図2と同様の図である。
図12及び図13に示すように、本実施形態においても、第2扉体22の戸先側の第2ローラ40Aの第1及び第2扉体21,22の開閉移動方向における位置P2は、第1及び第2扉体21,22の全開から全閉までの全移動行程を通して、第1扉体21の戸先側の第1ローラ32Aの前記開閉移動方向における位置P1よりも戸尻側の位置となっている。また、第1扉体21の戸先側の第1ローラ32Aの前記位置P1は、第1及び第2扉体21,22の全開から全閉までの全移動行程を通して、第2扉体22の前記開閉移動方向における中央位置Mよりも戸先側の位置となっている。
さらに、本実施形態では、図12及び図13に示すように、第2扉体22の戸尻側の第2ローラ40Bの第1及び第2扉体21,22の開閉移動方向における位置P4が、第1及び第2扉体21,22の全開から全閉までの全移動行程を通して、第1扉体21の戸尻側の第1ローラ32Bの前記開閉移動方向における位置P3よりも戸先側(閉じ側)の位置となっている。
このように、本実施形態では、第2扉体22の2個の第2ローラ40は、第1及び第2扉体21,22の全開から全閉までの全移動行程を通して、第1扉体21の2個の第1ローラ32の間に位置するようになっている。
これにより、第1扉体21の開閉移動方向の重量バランスは、前述した図1〜図11の実施形態の第1扉体21と比較して、第1及び第2扉体21,22の全開から全閉までの全移動行程を通してより良くなるので、第1扉体21がこの第1扉体21の厚さ方向に通る水平軸を中心として揺動することをより有効に抑えることができるようになる。
なお、以上説明した実施形態では、第1及び第2扉体を開閉移動方向へ案内する第1及び第2ガイド部材はガイドレールであったが、スライドレール(スライディングレール)でもよい。
また、以上説明した実施形態における連動機構50の紐状部材55は、平ベルトでもよく、タイミングベルトでもよく、チェーン等でもよい。
また、以上説明した実施形態に係る多重引き式引戸装置は、第2扉体が第1扉体の内部に出入り可能となっている入れ子式のものであったが、本発明は、第1扉体に対して第2扉体を、第1扉体の厚さ方向にずれて配置した多重引き式引戸装置等にも適用できる。また、以上説明した実施形態では、扉体の数は2個であったが、本発明は、3個以上の扉体を備えている多重引き式引戸装置にも適用できる。
また、以上説明した実施形態では、第1及び第2扉体21,22に設けられている第1及び第2ローラ32,40の個数はそれぞれ2個であったが、3個以上でもよい。
なお、以上説明した実施形態において、第1及び第2扉体21,22が全閉位置に達したとき、第2扉体22の戸先側の第2ローラ40Aの第1及び第2扉体21,22の開閉移動方向における位置P2(図2及び図13参照)は、第1扉体21の戸先側の第1ローラ32Aの前記開閉移動方向における位置P1(図2及び図13参照)と同じ位置又は略同じ位置(重量バランスへの影響をほとんど無視できる範囲内で前記位置P1よりわずかに戸先側にずれていることを含む)にあってもよい。
また、第1及び第2扉体21,22が全閉位置に達したとき、前記位置P1は、第2扉体22の前記開閉移動方向における中央位置M(図2及び図13参照)と同じ位置又は略同じ位置(重量バランスへの影響をほとんど無視できる範囲内で前記位置Mよりわずかに戸尻側にずれていることを含む)にあってもよい。
なお、以上説明した実施形態によると、第1扉体21の戸先側の第1ローラ32Aと戸尻側の第1ローラ32Bとの間隔が大きくなるため、第1ガイドレール30(図2及び図13参照)において、戸先側の第1ローラ32A及び戸尻側の第1ローラ32Bが転動しない範囲が存在すれば、第1ガイドレール30は前記範囲を省略した分割構成としてもよい。さらに、前記範囲を省略することにより形成されたスペースには、リニアモータなどの駆動源装置を配置するようにしてもよい。
本発明は、少なくとも第1及び第2の2個の扉体がガイドレール等のガイド部材に吊り下げられた上吊り式の多重引き式引戸装置であって、第2扉体のためのガイド部材が第1扉体に取り付けられている多重引き式引戸装置に利用することができる。
本発明の一実施形態に係る多重引き式引戸装置の全体を示す正面図である。 図1の上枠部材の内部に収納配置されている扉体移動機構を示す全体正面図であって、図1で示されている点検カバーを取り外し、かつ堅額縁部材と戸袋と壁を除外し、第1扉体と第2扉体が出入口を全閉とする位置に達しているときを示した図である。 第1扉体と第2扉体が出入口を全開とする位置に達しているときを示す図2と同様の図である。 図2のときの第1扉体と第2扉体と扉体移動機構の要部を拡大して示した正面図である。 図2のときの第1扉体と扉体移動機構の一部を拡大して示した正面図である。 図2のときの第2扉体と扉体移動機構の一部を拡大して示した正面図である。 点検カバーを2点鎖線で示した図4のS7−S7線断面図である。 点検カバーを2点鎖線で示した図4のS8−S8線断面図である。 第1扉体と第2扉体の下部を示す断面図である。 第1扉体と第2扉体を連動させる連動機構を示す図4のS10−S10線断面図である。 図4で示されているロータリー式ブレーキ装置を拡大し、収納ケースを2点鎖線で示した図である。 第2扉体の第2ローラの配置位置の別実施形態を示す図であって、第1扉体と第2扉体が出入口を全開とする位置に達しているときを示した図3と同様の図である。 図12で示されている第1扉体と第2扉体が出入口を全閉とする位置に達しているときを示した図2と同様の図である。
符号の説明
2 開口部である出入口
21 第1扉体
21A 第1扉体の上部である上面部
22 第2扉体
22A 第2扉体の上部である上面部
30 第1ガイド部材である第1ガイドレール
32 第1扉体の第1係合部である第1ローラ
32A (最も)戸先側の第1係合部である第1ローラ
33 戸先側の第1ローラを第2ガイドレールに取り付けるためのブラケット
39 第2ガイド部材である第2ガイドレール
39D 第2ガイドレールの突出部分
39E 第2ガイドレールの突出部分における戸先側の端部
40 第2扉体の第2係合部である第2ローラ
40A (最も)戸先側の第2係合部である第2ローラ
50 連動機構
52 戸先側の回転部材である第1回転部材
54 戸尻側の回転部材である第2回転部材
55 紐状部材
56 紐状部材が結合される不動部材である結合部材
M 第2扉体の第1及び第2扉体の開閉移動方向における中央位置
P1 (最も)戸先側の第1ローラの前記開閉移動方向における位置
P2 (最も)戸先側の第2ローラの前記開閉移動方向における位置
P3 (最も)戸尻側の第1ローラの前記開閉移動方向における位置
P4 (最も)戸尻側の第2ローラの前記開閉移動方向における位置

Claims (7)

  1. 少なくとも第1及び第2の2個の扉体と、これらの扉体を開閉移動方向へ案内する第1及び第2ガイド部材とを備え、この第1ガイド部材は前記第1扉体の上方に配置され、前記第2ガイド部材は前記第1扉体に取り付けられ、この第2ガイド部材の戸先側の部分は前記第1扉体の戸先側の端部から突出しており、前記第1扉体は、前記開閉移動方向に複数個設けられていて前記第1ガイド部材に移動自在に係合する第1係合部を備え、これらの第1係合部のうちの最も戸先側の前記第1係合部は前記第2ガイド部材の前記突出部分に設けられ、前記第1扉体はこれらの第1係合部で前記第1ガイド部材から吊り下げられた上吊り式扉体であり、前記第2扉体の上部には、前記第2ガイド部材に移動自在に係合する第2係合部が前記開閉移動方向に複数個設けられ、前記第2扉体はこれらの第2係合部で前記第2ガイド部材から吊り下げられた上吊り式扉体であり、前記第1及び第2扉体の同一方向への移動によって開口部が開閉されるとともに、この開口部は、前記第1扉体よりも前記第2扉体が閉じ側へ前進することにより前記開閉移動方向へずれた前記第1及び第2扉体によって閉じられる多重引き式引戸装置において、
    前記複数個の第2係合部のうちの最も戸先側の前記第2係合部の前記開閉移動方向における位置は、前記第1及び第2扉体の全開から全閉までの全移動行程を通して、前記最も戸先側の前記第1係合部の前記開閉移動方向における位置と同じ位置又はこの位置よりも戸尻側の位置となっていることを特徴とする多重引き式引戸装置。
  2. 請求項1に記載の多重引き式引戸装置において、前記最も戸先側の前記第1係合部の前記開閉移動方向における位置は、前記第1及び第2扉体の全開から全閉までの全移動行程を通して、前記第2扉体の前記開閉移動方向における中央位置と同じ位置又はこの位置よりも戸先側の位置となっていることを特徴とする多重引き式引戸装置。
  3. 請求項1又は2に記載の多重引き式引戸装置において、前記最も戸先側の前記第1係合部は、前記第2ガイド部材の前記突出部分における戸先側の端部に設けられていることを特徴とする多重引き式引戸装置。
  4. 請求項1〜3のいずれかに記載の多重引き式引戸装置において、前記第1扉体と前記第2扉体は連動機構で連結され、この連動機構は、前記開閉移動方向に離れて前記第1扉体に配置された2個の回転部材と、これらの回転部材に掛け回され、かつ前記第1及び第2扉体に対して不動となっている不動部材に結合されているとともに、前記2個の回転部材を間に挟んで前記不動部材との結合箇所とは反対側においても前記第2扉体に結合されている紐状部材とを含んで構成されており、前記2個の回転部材のうちの戸先側の前記回転部材は、前記最も戸先側の前記第1係合部を前記第2ガイド部材の前記突出部分に取り付けるためのブラケットに配置され、戸尻側の前記回転部材は、前記第1扉体の上部に配置されていることを特徴とする多重引き式引戸装置。
  5. 請求項4に記載の多重引き式引戸装置において、前記ブラケットは、前記第2ガイド部材の前記突出部分における戸先側の端部又はその近傍に配置されていることを特徴とする多重引き式引戸装置。
  6. 請求項1〜5のいずれかに記載の多重引き式引戸装置において、前記第2扉体は前記第1扉体の内部に出入り可能となっていることを特徴とすることを特徴とする多重引き式引戸装置。
  7. 請求項1〜6のいずれかに記載の多重引き式引戸装置において、前記第1ガイド部材は第1ガイドレールであり、前記第2ガイド部材は第2ガイドレールであり、前記複数個の第1係合部は前記第1ガイドレールに転動自在に係合する第1ローラであり、前記複数個の第2係合部は前記第2ガイドレールに転動自在に係合する第2ローラであることを特徴とする多重引き式引戸装置。
JP2006319003A 2006-11-27 2006-11-27 多重引き式引戸装置 Active JP4875472B2 (ja)

Priority Applications (1)

Application Number Priority Date Filing Date Title
JP2006319003A JP4875472B2 (ja) 2006-11-27 2006-11-27 多重引き式引戸装置

Applications Claiming Priority (1)

Application Number Priority Date Filing Date Title
JP2006319003A JP4875472B2 (ja) 2006-11-27 2006-11-27 多重引き式引戸装置

Publications (2)

Publication Number Publication Date
JP2008133614A JP2008133614A (ja) 2008-06-12
JP4875472B2 true JP4875472B2 (ja) 2012-02-15

Family

ID=39558649

Family Applications (1)

Application Number Title Priority Date Filing Date
JP2006319003A Active JP4875472B2 (ja) 2006-11-27 2006-11-27 多重引き式引戸装置

Country Status (1)

Country Link
JP (1) JP4875472B2 (ja)

Families Citing this family (6)

* Cited by examiner, † Cited by third party
Publication number Priority date Publication date Assignee Title
KR101399354B1 (ko) * 2009-05-20 2014-05-27 닛도오 고오기 가부시키가이샤 방화용 미닫이 장치 및 그 도어롤러 장치
JP4709310B2 (ja) * 2009-05-20 2011-06-22 日東工器株式会社 防火用引戸装置及びその戸車装置
JP6495763B2 (ja) * 2015-06-24 2019-04-03 株式会社泉陽商会 引戸連動装置
JP7079457B2 (ja) * 2018-07-27 2022-06-02 株式会社ベスト 収納型連動式引戸
JP7743292B2 (ja) * 2021-12-10 2025-09-24 文化シヤッター株式会社 引戸装置
KR102893957B1 (ko) * 2023-12-27 2025-12-01 맹진영 중량물 도어 개폐 시스템

Family Cites Families (2)

* Cited by examiner, † Cited by third party
Publication number Priority date Publication date Assignee Title
JP2005146832A (ja) * 2003-03-11 2005-06-09 Bunka Shutter Co Ltd 多重引き式引戸装置
JP4274099B2 (ja) * 2004-10-07 2009-06-03 三和シヤッター工業株式会社 引き戸装置

Also Published As

Publication number Publication date
JP2008133614A (ja) 2008-06-12

Similar Documents

Publication Publication Date Title
JP4875472B2 (ja) 多重引き式引戸装置
JP5294481B2 (ja) トンネル用避難扉
JP2009255724A (ja) 車両用自動開閉装置
JP6304013B2 (ja) 可動ホーム柵
JP5955932B2 (ja) プラットホームドア装置
JP2564036B2 (ja) 建設機械用キャビンのフロントウインド開閉装置
JP4870620B2 (ja) 多重引き式引戸装置
JP2012021399A (ja) ブレーキ装置付き開閉装置
JP5031339B2 (ja) 引戸装置及びその組立方法
JP5612911B2 (ja) 引戸装置の無目構造
JP5085093B2 (ja) 多重引き式引戸装置
JP5623780B2 (ja) 引戸装置
JP4274099B2 (ja) 引き戸装置
JP4943097B2 (ja) 戸袋付き引戸装置
JP6140409B2 (ja) 開閉装置
JP5649350B2 (ja) エレベータの乗り場三方枠装置
JP5189794B2 (ja) 引戸装置のガイド部材支持構造
JP4850921B2 (ja) 引戸装置の枠体構造
JP2016216956A (ja) シートシャッタ用シートのガイド構造
JP5813148B2 (ja) 引戸装置の無目構造
JP5107642B2 (ja) 開閉装置
JP2007218073A (ja) ブレーキ装置付き開閉装置
JP3913607B2 (ja) 多重引き式引戸装置
JP4749597B2 (ja) 引戸装置
JP3664042B2 (ja) スライドドア自動開閉装置

Legal Events

Date Code Title Description
A621 Written request for application examination

Free format text: JAPANESE INTERMEDIATE CODE: A621

Effective date: 20090902

A131 Notification of reasons for refusal

Free format text: JAPANESE INTERMEDIATE CODE: A131

Effective date: 20110913

A521 Request for written amendment filed

Free format text: JAPANESE INTERMEDIATE CODE: A523

Effective date: 20111026

TRDD Decision of grant or rejection written
A01 Written decision to grant a patent or to grant a registration (utility model)

Free format text: JAPANESE INTERMEDIATE CODE: A01

Effective date: 20111122

A01 Written decision to grant a patent or to grant a registration (utility model)

Free format text: JAPANESE INTERMEDIATE CODE: A01

A61 First payment of annual fees (during grant procedure)

Free format text: JAPANESE INTERMEDIATE CODE: A61

Effective date: 20111125

FPAY Renewal fee payment (event date is renewal date of database)

Free format text: PAYMENT UNTIL: 20141202

Year of fee payment: 3

R150 Certificate of patent or registration of utility model

Ref document number: 4875472

Country of ref document: JP

Free format text: JAPANESE INTERMEDIATE CODE: R150

Free format text: JAPANESE INTERMEDIATE CODE: R150

R250 Receipt of annual fees

Free format text: JAPANESE INTERMEDIATE CODE: R250

R250 Receipt of annual fees

Free format text: JAPANESE INTERMEDIATE CODE: R250

R250 Receipt of annual fees

Free format text: JAPANESE INTERMEDIATE CODE: R250

R250 Receipt of annual fees

Free format text: JAPANESE INTERMEDIATE CODE: R250